| Обозначение: |  ГОСТ 29038-91 |
| Статус: | действующий |
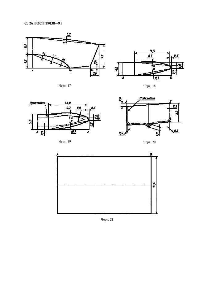
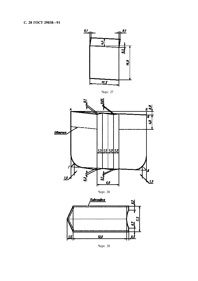
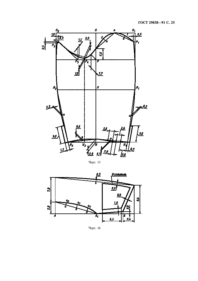
| Название рус.: | Кители и брюки для морской пехоты. Технические условия |
| Название англ.: | Tunics and trousers for mariners. Specifications |
| Дата актуализации текста: | 06.04.2015 |
| Дата актуализации описания: | 01.07.2023 |
| Дата издания: | 01.09.2004 |
| Дата введения: | 01.07.1992 |
| Код ОКП: | 858220;858250 |
| Взамен: | ГОСТ 17801-85; ГОСТ 18851-85 |
| Нормативные ссылки: | ГОСТ 4103-82; ГОСТ 5665-77; ГОСТ 6309-93; ГОСТ 11259-79; ГОСТ 12807-88; ГОСТ 19159-85; ГОСТ 19902-89; ГОСТ 20272-96; ГОСТ 22665-83; ГОСТ 23167-91; ГОСТ 24782-90; ГОСТ 27541-87; ГОСТ 28554-90;ОСТ 17-48-88;ОСТ 17-165-79;ОСТ 17-257-84;ОСТ 17-705-88;ОСТ 17-805-85;ОСТ 17-835-80;ОСТ 17-921-88;ТУ 6-19-137-79;ТУ 17-09-320-90;ТУ 17-21-335-80;ТУ 17 РСФСР 44-3808-85;ТУ 17 РСФСР 60-10724-84;ТУ 17 РСФСР 67-11035-85;ТУ 17 РСФСР 67-11-035-85;ТУ 17 РСФСР 21.2-234-4-90;ТУ 17 Уз ССР 02-01-28-90;СТП 10-56-90 |
| Область применения: | Настоящий стандарт распространяется на шерстяные кители и брюки для военнослужащих |
|