| Обозначение: |  ГОСТ 28941.24-91 |
| Статус: | действующий |
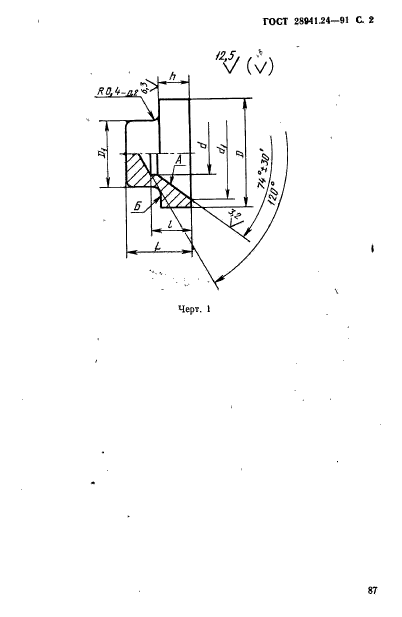
| Название рус.: | Соединения трубопроводов с развальцовкой трубы. Крышки глухие. Конструкция |
| Название англ.: | Flare fittings. Snugle covers. Construction |
| Дата актуализации текста: | 06.04.2015 |
| Дата актуализации описания: | 01.07.2023 |
| Дата издания: | 03.09.1991 |
| Дата введения: | 01.01.1992 |
| Код ОКП: | 419361 |
| Нормативные ссылки: | ГОСТ 15763-91; ГОСТ 22525-77; ГОСТ 28941.26-91 |
| Область применения: | Настоящий стандарт распространяется на глухие крышки для соединений трубопроводов с развальцовкой трубы с углом конуса 74° |
|