Скачать ГОСТ 29113-91 Комбикорма, белково-витаминные добавки, карбамидный концентрат. Методы определения массовой доли карбамидаДата актуализации: 01.06.2025 ГОСТ 29113-91
Комбикорма, белково-витаминные добавки, карбамидный концентрат. Методы определения массовой доли карбамида
| Обозначение: |  ГОСТ 29113-91 |
| Статус: | заменён |
| Название рус.: | Комбикорма, белково-витаминные добавки, карбамидный концентрат. Методы определения массовой доли карбамида | | Название англ.: | Mixed fooders, feeds protein and vitamin supplements, carbamide concentrate. Methods of determining carbamide mass portion | | Дата актуализации текста: | 06.04.2015 | | Дата актуализации описания: | 01.07.2023 | | Дата издания: | 01.03.2004 | | Дата введения: | 01.01.1993 | | Дата окончания срока действия: | 01.01.2018 | | Взамен: | ОСТ 8-22-81 | | Заменяющий: | ГОСТ 29113-2016 | | Нормативные ссылки: | ГОСТ 61-75; ГОСТ 450-77; ГОСТ 1770-74; ГОСТ 2081-75; ГОСТ 3118-77; ГОСТ 4207-75; ГОСТ 4328-77; ГОСТ 5823-78; ГОСТ 5962-67; ГОСТ 6217-74; ГОСТ 6709-72; ГОСТ 9147-80; ГОСТ 10854-88; ГОСТ 12026-76; ГОСТ 13496.0-80; ГОСТ 17109-88; ГОСТ 20292-74; ГОСТ 24104-88; ГОСТ 25336-82 | | Область применения: | Настоящий стандарт распространяется на комбикорма, белково-витаминные добавки, содержащие карбамид, карбамидный концентрат и устанавливает методы определения массовой доли карбамида | | Список изменений: | №0 от 15.06.2005 (рег. 15.06.2005) «Дата введения перенесена» | | Приложение №1: | Поправка к ГОСТ 29113-91 | |
       
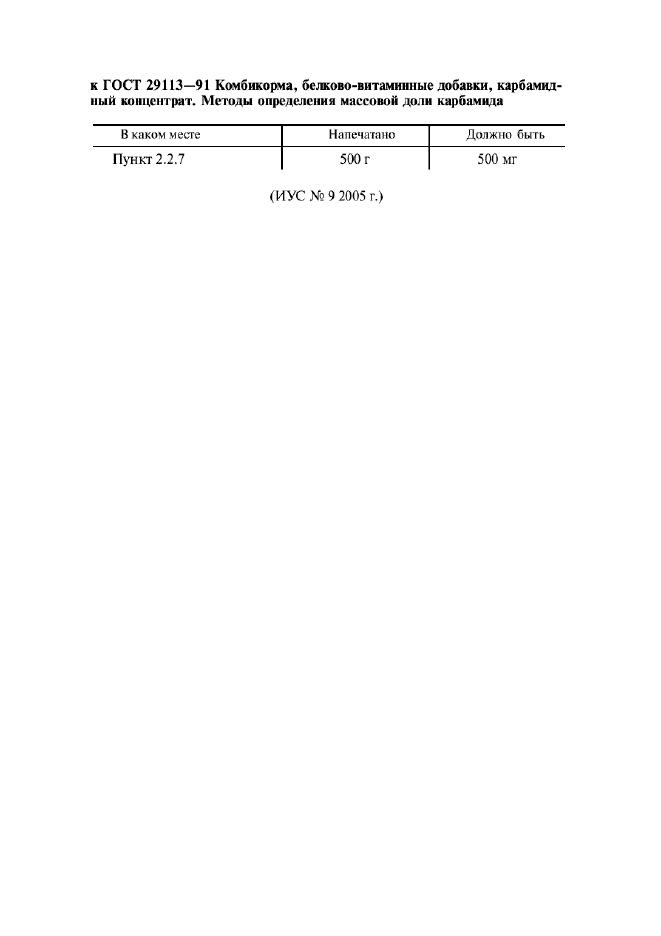
Поправка к ГОСТ 29113-91
| Обозначение: | Поправка к ГОСТ 29113-91 |
| Дата введения: | 16.06.2005 |
|