| Обозначение: |  ГОСТ 22254-92 |
| Статус: | действующий |
| Название рус.: | Топливо дизельное. Метод определения предельной температуры фильтруемости на холодном фильтре |
| Название англ.: | Diesel fuels. Cold filter method for determination of lowest filtering temperature |
| Дата актуализации текста: | 06.04.2015 |
| Дата актуализации описания: | 01.07.2023 |
| Дата издания: | 13.04.1992 |
| Дата введения: | 01.01.1993 |
| Взамен: | ГОСТ 22254-76 |
| Нормативные ссылки: | ГОСТ 131-67; ГОСТ 400-80; ГОСТ 2517-85; ГОСТ 2603-79; ГОСТ 6613-86; ГОСТ 8505-80; ГОСТ 9150-81; ГОСТ 12162-77; ГОСТ 18300-87; ГОСТ 20287-91;ТУ 6-021244-88;ТУ 38.44710263-90 |
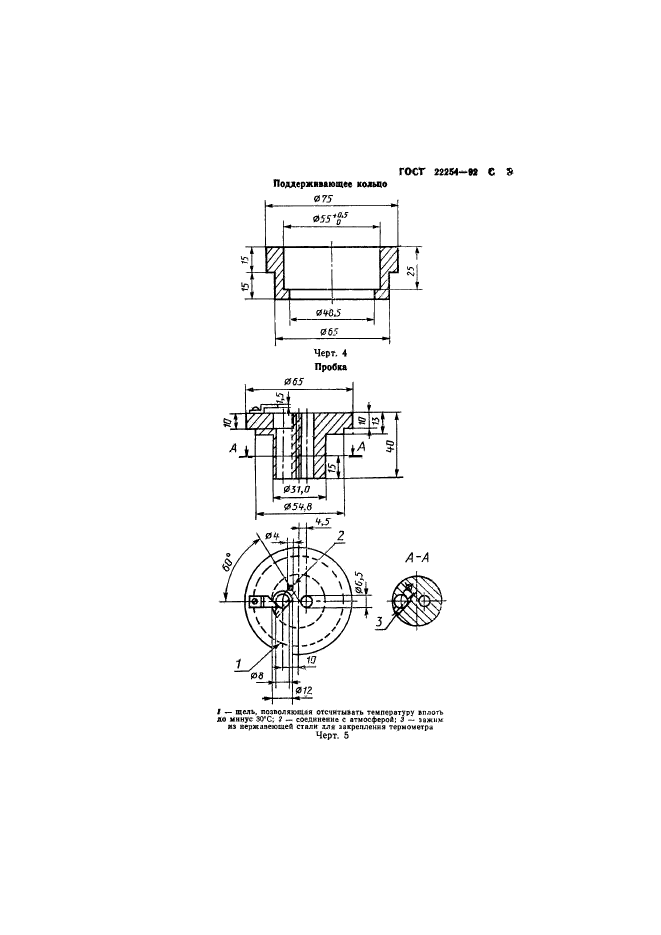
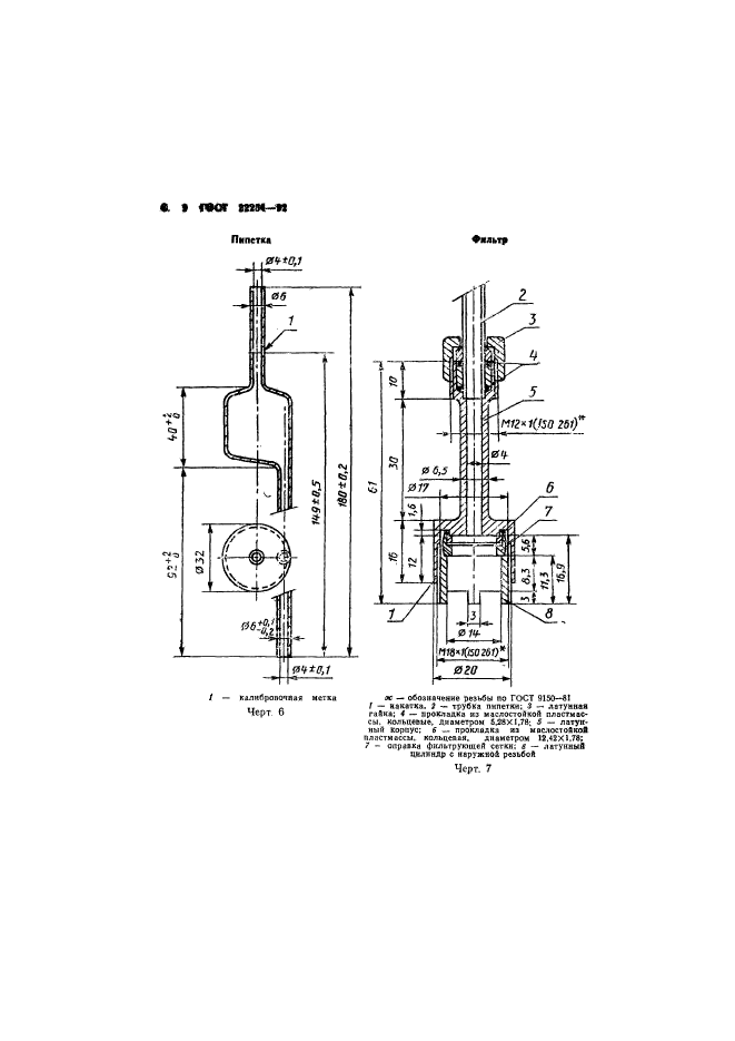
| Область применения: | Настоящий стандарт устанавливает метод определения предельной температуры фильтруемости на холодном фильтре дизельных и бытовых печных топлив, предназначенных для народного хозяйства и для экспорта Метод распространяется на дизельные топлива без присадок и с присадками, а также на топлива, применяемые в домашних отопительных системах |
|