| Обозначение: |  ГОСТ 26378.1-84 |
| Статус: | заменён |
| Название рус.: | Нефтепродукты отработанные. Метод определения воды |
| Название англ.: | Used petroleum products. Method for the determination of water |
| Дата актуализации текста: | 06.04.2015 |
| Дата актуализации описания: | 01.07.2023 |
| Дата издания: | 01.02.2006 |
| Дата введения: | 01.01.1987 |
| Дата окончания срока действия: | 01.01.2017 |
| Заменяющий: | ГОСТ 26378.1-2015 |
| Нормативные ссылки: | ГОСТ 305-82; ГОСТ 4165-78; ГОСТ 10227-86; ГОСТ 25336-82; ГОСТ 26378.0-84 |
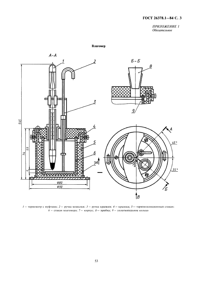
| Область применения: | Настоящий стандарт устанавливает метод определения воды. Сущность метода заключается в определении теплового эффекта реакции гидратации сернокислой меди с водой, содержащейся в отработанном нефтепродукте |
| Список изменений: | №1 от 01.10.1991 (рег. 02.04.1991) «Срок действия продлен» |
|