| Обозначение: |  ГОСТ 28370-89 |
| Статус: | действующий |
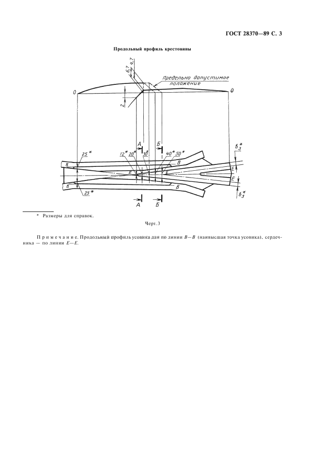
| Название рус.: | Крестовины сборные марок 1/11 и 1/9. Основные размеры |
| Название англ.: | Railbound frogs of 1/11 and 1/9 marks. Basic dimensions |
| Дата актуализации текста: | 06.04.2015 |
| Дата актуализации описания: | 01.07.2023 |
| Дата издания: | 01.12.2005 |
| Дата введения: | 01.07.1990 |
| Код ОКП: | 318543 |
| Взамен: | ОСТ 32.51-83 |
| Нормативные ссылки: | ГОСТ 7370-86 |
| Область применения: | Настоящий стандарт распространяется на острые крестовины стрелочных переводов марок 1/11 и 1/9 к рельсам типов Р75, Р65, Р50 с литыми сердечниками в общей отливке с наиболее изнашиваемой частью усовиков, применяемые на железных дорогах МПС СССР |
|