| Обозначение: |  ГОСТ 28448-90 |
| Статус: | действующий |
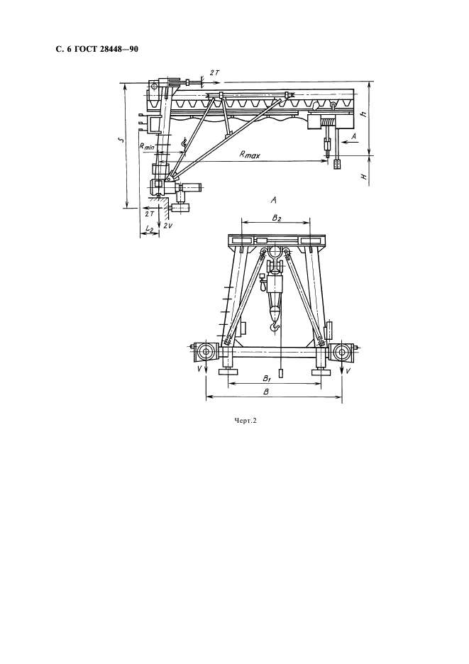
| Название рус.: | Краны консольные электрические передвижные. Типы |
| Название англ.: | Movable electric cantilever cranes. Types |
| Дата актуализации текста: | 06.04.2015 |
| Дата актуализации описания: | 01.07.2023 |
| Дата издания: | 01.11.2005 |
| Дата введения: | 01.01.1991 |
| Код ОКП: | 315922 |
| Нормативные ссылки: | ГОСТ 15150-69; ГОСТ 22584-96; ГОСТ 25546-82 |
| Область применения: | Настоящий стандарт распространяется на консольные электрические передвижные краны групп режима 6К и 4К по ГОСТ 25546. Настоящий стандарт не распространяется на краны, предназначенные для работы во взрывоопасной и пожароопасной средах, в помещениях с парами кислот и щелочей |
|