| Обозначение: |  ГОСТ 23683-89 |
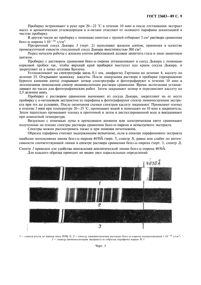
| Статус: | заменён |
| Название рус.: | Парафины нефтяные твердые. Технические условия |
| Название англ.: | Petroleum paraffin waxes. Specifications |
| Дата актуализации текста: | 06.04.2015 |
| Дата актуализации описания: | 01.07.2023 |
| Дата издания: | 01.03.2007 |
| Дата введения: | 01.01.1991 |
| Дата окончания срока действия: | 01.01.2022 |
| Код ОКП: | 025511 |
| Взамен: | ГОСТ 23683-79 |
| Заменяющий: | ГОСТ 23683-2021 |
| Нормативные ссылки: | ГОСТ 244-76; ГОСТ 400-80; ГОСТ 1057-88; ГОСТ 1437-75; ГОСТ 1510-84; ГОСТ 1520-84; ГОСТ 1770-74; ГОСТ 2226-88; ГОСТ 2517-85; ГОСТ 3145-84; ГОСТ 4160-74; ГОСТ 4255-75; ГОСТ 5100-85; ГОСТ 5644-75; ГОСТ 6307-75; ГОСТ 6356-75; ГОСТ 6370-83; ГОСТ 6709-72; ГОСТ 7402-84; ГОСТ 9090-2000; ГОСТ 9293-74; ГОСТ 10120-71; ГОСТ 19433-88; ГОСТ 19627-74; ГОСТ 25336-82; ГОСТ 25337-82; ГОСТ 25664-83; ГОСТ 25706-83; ГОСТ 25771-83; ГОСТ 29169-91; ГОСТ 29227-91 |
| Область применения: | Настоящий стандарт распространяется на очищенные твердые нефтяные парафины кристаллического строения, получаемые из дистиллятного сырья и предназначенные для применения в различных отраслях промышленности |
| Список изменений: | №1 от 01.01.1998 (рег. 14.10.1997) «Срок действия продлен» |
|