| Обозначение: |  ГОСТ Р ИСО 10303-515-2007 |
| Статус: | действующий |
| Название рус.: | Системы автоматизации производства и их интеграция. Представление данных об изделии и обмен этими данными. Часть 515. Прикладные интерпретированные конструкции. Конструктивная блочная геометрия |
| Название англ.: | Industrial automation systems and integration. Product data representation and exchange. Part 515. Application interpreted constructions. Constructive solid geometry |
| Дата актуализации текста: | 06.04.2015 |
| Дата актуализации описания: | 01.07.2023 |
| Дата издания: | 06.04.2020 |
| Дата введения: | 01.09.2007 |
| Аутентичен стандартам: | ISO 10303-515:2000 |
| Нормативные ссылки: | ISO/IEC 8824-1:1995;ISO 10303-1:1994;ISO 10303-11:1994;ISO 10303-41:1994;ISO 10303-42:1994;ISO 10303-43:1994;ISO 10303-202:1996;ISO 10303-511:2001;ISO10303-512-1999;ISO 10303-514:1999 |
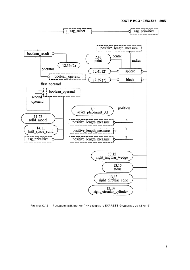
| Область применения: | Настоящий стандарт определяет интерпретацию интегрированных ресурсов, обеспечивающую соответствие требованиям к представлению формы изделия с использованием конструктивной блочной геометрии. Требования настоящего стандарта распространяются на: - трехмерные примитивы; - регуляризованные булевы операции - объединение, пресечение и исключение с трехмерными примитивами, разнообразными граничными представлениями и другими объемными телами; - объекты extruded face solids и swept face solids, чтобы определять новые простые формы; - булевы результаты, полученные после применения операторов к объемным телам |
|