Скачать ГОСТ 6996-66 Сварные соединения. Методы определения механических свойствДата актуализации: 01.06.2025
| ||||||||||||||||||||||||||||||||||
| Обозначение: | ![]() ГОСТ 6996-66 |
| Статус: | действующий |
| Название рус.: | Сварные соединения. Методы определения механических свойств |
| Название англ.: | Welded joints. Methods of mechanical properties determination |
| Дата актуализации текста: | 06.04.2015 |
| Дата актуализации описания: | 01.07.2023 |
| Дата издания: | 01.11.2006 |
| Дата введения: | 01.01.1967 |
| Взамен: | ГОСТ 6996-54 |
| Содержит требования: | ISO 4136:1989;ISO 5173:1981;ISO 5177:1981 |
| Нормативные ссылки: | ГОСТ 1497-84; ГОСТ 2999-75; ГОСТ 9012-59; ГОСТ 9013-59; ГОСТ 9454-78; ГОСТ 9651-84; ГОСТ 11150-84 |
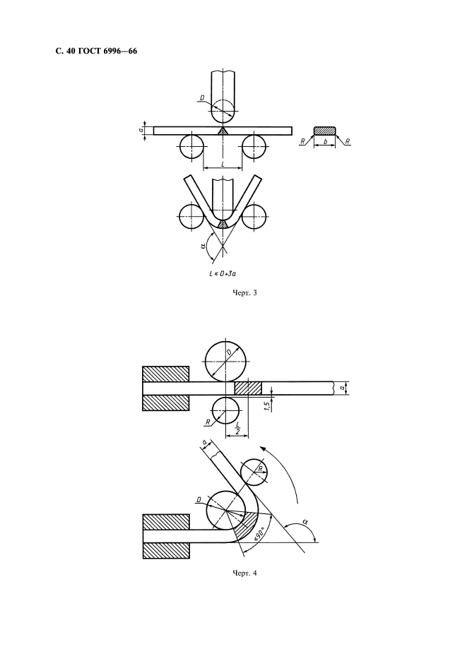
| Область применения: | Настоящий стандарт устанавливает методы определения механических свойств сварного соединения в целом и его отдельных участков, а также наплавленного металла при всех видах сварки металлов и их сплавов. Настоящий стандарт распространяется на испытания, проводимые при определении качества продукции и сварочных материалов, пригодности способов и режимов сварки, при установлении квалификации сварщиков и показателей свариваемости металлов и сплавов |
| Список изменений: | №1 от 01.10.1980 (рег. 06.06.1980) «Срок действия продлен» №2 от 01.01.1985 (рег. 29.09.1983) «Срок действия продлен» №3 от 01.07.1991 (рег. 29.12.1990) «Срок действия продлен» №4 от 01.01.2005 (рег. 08.10.2004) «Текстовое изменение; Изменены ссылочные НД» |
| Приложение №1: | Изменение №4 к ГОСТ 6996-66 |













































| Обозначение: | Изменение №4 к ГОСТ 6996-66 |
| Дата введения: | 01.01.2005 |
















