Всесоюзный ордена Трудового
Красного Знамени
комплексный научно-исследовательский и конструкторско-
технологический институт водоснабжения,
канализации, гидротехнических сооружений и инженерной
гидрологии
(ВНИИ ВОДГЕО) Госстроя СССР
Справочное пособие к СНиП
Серия основана в 1989
году
Проектирование
сооружений
для обезвоживания
осадков станций очистки
природных вод
![]()
Москва Стройиздат 1990
Рекомендовано к изданию секцией водоснабжения Научно-технического совета ВНИИ ВОДГЕО Госстроя СССР.
Редактор издательства Л. М. Климова.
Разработано к СНиП 2.04.02-84 «Водоснабжение. Наружные сети и сооружения». Дана классификация и характеристика технологических сбросов станций водоподготовки и приведены данные для проектирования сооружений по обезвоживанию осадка в естественных условиях. Даны примеры расчета сгустителей, накопителей, площадок замораживания и подсушивания.
Для инженерно-технических работников проектных, строительных организаций и служб эксплуатации водного хозяйства.
1.1. Настоящее пособие разработано к СНиП 2.04.02-84 разделу «Обработка промывных вод и осадка станций водоподготовки» и прил. 9.
Требования Пособия распространяются на обработку технологических сбросов от станций осветления, обезжелезивания и реагентного умягчения воды и обезвоживание осадка в естественных условиях.
1.2. Проекты водоотведения и обработки осадков надлежит разрабатывать одновременно с проектами водоснабжения объектов.
1.3. При проектировании необходимо рассматривать целесообразность кооперирования систем водоотведения и обработки осадков объектов независимо от их ведомственной принадлежности.
1.4. Необходимо предусматривать повторное использование воды, выделившейся в процессах обработки технологических сбросов и обезвоживания осадка. Допускается повторное использование воды, выделившейся в накопителях.
1.5. Технологические сбросы при обосновании и по согласованию со службой эксплуатации допускается сбрасывать на канализационные очистные сооружения, в золошлакоотвалы ТЭС. При соблюдении требований «Правил охраны поверхностных вод от загрязнения сточными водами» Минводхоза, Минздрава и Минрыбхоза СССР (М., 1975) технологические сбросы допускается сбрасывать в водотоки и водоемы.
1.6. Осадок технологических сбросов при обосновании допускается обезвоживать на механическом оборудовании, в том числе совместно с осадком от канализационных очистных сооружений или осадком от технологических процессов на промышленных предприятиях.
2.1. Технологические сбросы от сооружений очистки воды без применения коагулянтов: характерные загрязнения представлены крупнодисперсными минеральными и органическими веществами с гидравлической крупностью более 5 мм/с и близкой или равной нулю.
2.2. Технологические сбросы от сооружений очистки воды с применением коагулянта: характерные загрязнения представлены среднедисперсными и мелкодисперсными минеральными и органическими веществами в виде гидроксидов металлов, солей, ила, планктона, коллоидной взвеси.
Сбросы характеризуются следующими усредненными показателями: содержание взвешенных веществ 800 - 8000 мг/л; БПК5 = 30 - 80 мг/л; ХПК = 50 - 1500 мг/л. Гидравлическая крупность взвеси более 0,35 мм/с. Осадки сбросов имеют серо-коричневый цвет, гелеобразную структуру, плохо обезвоживаются, быстро кольматируют фильтрующие материалы. Удельное сопротивление фильтрованию изменяется от (7 - 20) 1010 см/г для осадков, полученных обработкой высокомутных вод до (1200 - 1400) 1010 см/г для осадков, полученных коагулированием маломутных вод высокой цветности.
2.3. Технологические сбросы от промывки фильтров и вода над осадком в отстойниках, сгустителях, площадках обезвоживания, накопителях: характерные загрязнения представлены мелкодисперсной взвесью с преимущественным содержанием продуктов гидролиза коагулянта и среднедисперсной взвесью от частичного выноса фильтрующей загрузки.
В промывной воде фильтров и контактных осветвителей среднее содержание взвешенных веществ составляет 400 - 2000 мг/л; БПК5 = 3 - 10 мг/л; ХПК = 10 - 25 мг/л. В воде над осадком в сгустителях, накопителях, площадках обезвоживания среднее содержание взвешенных веществ 8 - 50 мг/л; БПК5 = 3 - 10 мг/л; ХПК = 10 - 20 мг/л. Среднее количество кишечных палочек в 1 л (коли-индекс) воды над осадком после зимнего промораживания от 10 - 100 до 1000, а в летний и осенний периоды от 250 - 2500 до 200000.
3.1. Выбор технологической схемы и состава сооружений по обработке технологических сбросов объекта определяется составом сооружений и способом подготовки воды, климатическими и инженерно-геологическими условиями.
3.2. Промывную воду микрофильтров после хлорирования следует коагулировать повышенной дозой коагулянта и отстаивать с подачей осветленной воды в трубопроводы перед смесителями. Полученный осадок надлежит направлять на дренажные площадки обезвоживания с последующим вывозом осадка не более чем через 1 год.
Примечание. При использовании обезвоженного сэстона в качестве удобрения или кормовой добавки допускается обработка промывной воды микрофильтров без применения коагулянта путем введения хлора не менее чем за 15 - 20 мин до поступления промывной воды на дренажные площадки обезвоживания.
Промывную воду барабанных сеток и фильтров следует направлять в отстойники промывных вод с последующим равномерным перекачиванием осветленной воды в трубопроводы перед смесителями.
Осадок от отстойных сооружений, разбавленный водой, при выпуске надлежит направлять в накопители с отстаиванием или без него.
3.3. На станциях осветления и обезжелезивания воды фильтрованием с применением коагулянта промывную воду фильтров следует направлять в отстойники. Осветленную воду надлежит равномерно перекачивать в трубопроводы перед смесителями.
На станциях осветления воды отстаиванием с последующим фильтрованием и на станциях реагентного умягчения промывную воду фильтров следует равномерно перекачивать в трубопроводы перед смесителями с отстаиванием или без него в зависимости от качества воды.
3.4. Для улавливания песка, выносимого при промывке фильтров и контактных осветлителей, надлежит предусматривать песколовки, рассчитываемые по СНиП 2.04.03-85, пп. 6.26 - 6.35.
3.5. Осадок от всех отстойных сооружений надлежит направлять на обезвоживание и складирование с предварительным сгущением или без него.
3.6. Осветленную воду над осадком в отстойниках перед их опорожнением в отстойниках промывных вод, в сгустителях, в накопителях и площадках обезвоживания надлежит направлять в резервуары промывных вод или подавать в трубопроводы перед смесителями, а также допускается сбрасывать ее в водоток или в водоем с учетом указаний п. 1.4 настоящего пособия.
При отсутствии предварительного хлорирования исходной воды повторно используемую воду надлежит хлорировать дозой от 2 до 4 мг/л.
4.1. Резервуары промывных вод надлежит предусматривать на станциях подготовки воды с отстаиванием и последующим фильтрованием для приема периодически поступающей воды от промывки фильтров и ее равномерного перекачивания без отстаивания в трубопроводы перед смесителями. Допускается возможность подачи в эти резервуары других видов технологических сбросов в соответствии с указаниями п. 3.6.
4.2. При разработке конструкции резервуаров промывной воды следует учитывать возможность постепенного накапливания на дне резервуаров осадка, удаляемого при периодической промывке резервуаров в сгустители или на сооружения для обезвоживания осадка.
4.3. Резервуаров промывных вод должно быть не менее двух. Вместимость каждого резервуара следует определять по графику периодического поступления и равномерного откачивания технологических сбросов по п. 3.6, но не менее объема воды от одной промывки фильтра продолжительностью 10 мин.
4.4. Насосы и трубопроводы перекачивания промывной воды должны проверяться на работу фильтров при форсированном режиме.
4.5. Отстойники промывных вод надлежит предусматривать при одноступенчатом фильтровании и обезжелезивании для приема периодически поступающих промывных вод, отстаивания и равномерного перекачивания осветленной воды в трубопроводы перед смесителями с учетом указаний п. 4.4. Допускается возможность сброса в отстойники промывных вод воды от промывки барабанных сеток.
Осадок, накопившийся в отстойниках промывных вод, следует направлять в сгустители или на сооружения для обезвоживания осадка.
При технико-экономическом обосновании допускается применять вместо отстойников промывных вод сгустители.
4.6. Длительность рабочего цикла отстойников промывных вод определяется режимом подачи промывных вод, длительностью их отстаивания, длительностью перекачивания осветлившейся воды и уплотненного осадка.
Длительность отстаивания промывных вод надлежит принимать для станций осветления воды и реагентного обезжелезивания - 2 ч, для станций безреагентного осветления и обезжелезивания воды - 4 ч. При введении полиакриламида дозой 0,03 - 0,04 % массы твердого вещества в осадке длительность отстаивания следует снижать до 1 ч.
4.7. Вместимость отстойника промывных вод следует принимать на 20 % более объема воды от одной промывки фильтра с учетом дополнительного объема зоны накопления осадка.
4.8. При определении объема зоны накопления осадка в отстойнике промывных вод общую длительность накопления осадка (интервал между выпусками осадка из отстойника промывных вод при многократном периодическом наполнении отстойника) надлежит принимать не менее 8 - 12 ч. Расчетную влажность осадка в отстойнике следует принимать 99 % для станций осветления воды и реагентного обезжелезивания и 96,5 % для станций безреагентного обезжелезивания.
4.9. Сгустители с медленным механическим перемешиванием надлежит применять для ускорения уплотнения осадка из горизонтальных и вертикальных отстойников, осветлителей, реагентного хозяйства и осадка отстойников промывных вод на станциях водоподготовки с применением коагулянта при среднегодовой мутности исходной воды до 300 мг/л.
4.10. Сгустители следует выполнять радиальными с вертикально-лопастными мешалками на вращающейся раме или прямоугольными с вертикально-лопастными мешалками на продольно перемещающихся рамах.
4.11. Основные конструктивные параметры радиальных сгустителей:
рекомендуемый ряд диаметров, м 9, 12, 15, 18
уклон дна к центральному приямку, град от 8 до 10
средняя рабочая глубина, м не менее 3
рама со скребками и вертикальными лопастями при диаметре сгустителя, м:
15 и менее двухконцевая
18 и более четырехконцевая
сечение лопастей прямоугольный треугольник с соотношением катетов 1 : 1,4 или круглое
отношение общего поперечного
сечения всех лопастей на конце
рамы к площади поперечного сечения
перемешиваемого ими объема осадка от 0,25 до 0,3
крепление лопастей меньшим катетом сечения лопасти к раме с обращением гипотенузы к оси вращения рамы
шаг лопастей переменный от 3в у оси вращения и на конце рамы, до 5в в середине рамы, где в - ширина лопасти
ввод осадка на 1 - 1,5 м выше дна в центре сгустителя
отвод сгущенного осадка из центрального приямка
отвод осветленной воды поплавковыми водозаборниками
4.12. Основные конструктивные параметры прямоугольных сгустителей:
длина, м 15
ширина, м 6
глубина, м 4,5
число рам с вертикальными лопастями
на цепном конвейере от 4 до 5
сечение лопастей в виде треугольника или уголка
шаг лопастей равный 3в
число скребков на спаренных рамах от 8 до 10
ввод осадка двумя продольными перфорированными трубами над цепным конвейером
отвод сгущенного осадка из приямка
отвод осветленной воды поплавковыми водозаборниками
4.13. Режим работы сгустителей - периодический. Длительность цикла сгущения определяется длительностью следующих операций, мин:
наполнение сгустителя от 10 до 30
перемешивание определяется по данным эксплуатации аналоговых сгустителей или при их отсутствии (табл. 1)
перекачивание осветленной воды в головные
сооружения станций водоподготовки от 30 до 40
перекачивание сгущенного осадка на
обезвоживание от 30 до 40
Сгущенный осадок следует последовательно накапливать в сгустителе и перекачивать через несколько циклов сгущения.
Допускается работа сгустителей в режиме непрерывной подачи осадка и непрерывного отвода воды.
4.14. Вместимость сгустителя Wсг, м3, следует определять по формуле
Wсг = 1,3 kpWoc, (1)
где kp - коэффициент разбавления осадка при выпуске из сооружений подготовки воды, принимаемый равным: 1,2 - при механическом удалении осадка; 1,5 - при гидравлическом удалении осадка; 2 - 3 - при напорном смыве осадка; Woc - вместимость зоны накопления осадка сооружений водоподготовки, м3.
Таблица 1
|
Способ обработки воды, среднее содержание взвешенных веществ С, реагенты |
Наибольшая скорость движения конца лопасти, м/с |
Длительность перемешивания, ч |
Средняя влажность осадка на выпуске из сгустителя, % |
|
|
1 |
Осветление: |
|
|
|
|
С = 30 мг/л: |
|
|
|
|
|
коагулянт |
0,015 |
10 |
98,2 |
|
|
коагулянт, ПАА |
0,015 |
9 |
97,8 |
|
|
коагулянт, ПАА, известь |
0,015 |
8 |
97,5 |
|
|
С = 150 мг/л: |
|
|
|
|
|
коагулянт |
0,025 |
8 |
97,3 |
|
|
коагулянт, ПАА |
0,025 |
7 |
96,8 |
|
|
С = 600 мг/л: |
|
|
|
|
|
коагулянт |
0,03 |
6 |
91,8 |
|
|
коагулянт, ПАА |
0,03 |
5 |
90 |
|
|
С = 1200 мг/л: |
|
|
|
|
|
коагулянт |
0,03 |
6 |
84 |
|
|
коагулянт, ПАА |
0,03 |
5 |
82 |
|
|
2 |
Умягчение при магниевой жесткости, %: |
|
|
|
|
более 25 |
0,015 |
8 |
88 |
|
|
менее 25 |
0,025 |
4 |
78 |
|
|
3 |
Обезжелезивание: |
|
|
|
|
с реагентами |
0,015 |
9 |
97,2 |
|
|
без реагентов |
0,025 |
7 |
92,5 |
Примечания: 1. При введении полиакриламида дозой 0,03 - 0,09 % массы твердого вещества в осадке длительность цикла сгущения следует уменьшать в два раза.
2. Среднее содержание взвешенных веществ С следует определять по формуле (11) СНиП 2.04.02-84.
4.15. Число сгустителей необходимо определять из условий периодического приема в соответствии с режимом выпуска осадка из сооружений и обеспечения требуемой длительности цикла сгущения.
4.16. Подачу осадка к сгустителям, как правило, следует предусматривать самотеком. Гидравлический расчет трубопроводов рекомендуется производить с учетом свойств транспортируемого осадка. При отсутствии данных гидравлический расчет следует выполнять по условиям транспортирования воды, принимая скорость движения осадка 1,2 ÷ 1,5 м/с. Подача сгущенного осадка на малые расстояния допускается центробежными насосами, на значительные расстояния - поршневыми насосами, на установки механического обезвоживания - монжусами или поршневыми насосами.
Предельные значения влажности осадков, транспортируемых по напорным трубопроводам, составляют: для осадков маломутных цветных вод - 94 - 95 % (сохранение свойства текучести до влажности 92 %); для осадков станций реагентного умягчения воды - 78 - 82 % (сохранение свойства текучести до влажности 75 %).
5.1. Накопители следует предусматривать для обезвоживания и складирования осадка при многолетнем его уплотнении с удалением выделившейся осветленной воды. В качестве накопителей надлежит использовать овраги, отработанные карьеры или обвалованные грунтом спланированные площадки на естественном основании глубиной не менее 2 м. Расчетный период подачи осадка в накопитель следует принимать не менее пяти лет.
5.2. Предпочтительно устройство накопителей на хорошо фильтрующих грунтах со сбором и удалением частично профильтрованной воды. При наличии в осадке токсичных веществ в накопителях следует предусматривать устройство противофильтрационного экрана.
Очистку накопителя от осадка, как правило, не предусматривают. Очистка накопителя с последующим вывозом осадка или обвалованием накопителя осадком допускается при устройстве накопителя на хорошо фильтрующих грунтах и уровне грунтовых вод относительно дна накопителя не менее 1,5 м через 3 - 10 лет после завершения срока эксплуатации накопителя.
5.3. Секций накопителей должно быть не менее двух. Это позволяет ускорить процесс уплотнения осадка за счет изменения водоотдающей способности части осадка при его частичном сезонном замораживании и подсушивании. Секции накопителя работают попеременно по годам, при этом подачу осадка следует предусматривать в одну секцию по годам, при этом подачу осадка следует предусматривать в одну секцию в течение года с непрерывным удалением осветленной воды. В остальных секциях будет происходить обезвоживание и уплотнение ранее поданного осадка с замораживанием в зимний период и подсушиванием в летний период с удалением воды, выделившейся при уплотнении осадка.
5.4. Общую вместимость накопителя Wнак, м3, следует определять по формуле
Wнак = 10-4 Q Tn C 1 / (100 - P1) ρ1 + 1 / (100 - P2) ρ2 + ...
... + 1 / (100 - Pn-1) ρn-1 + 1 /(100 - Pn) ρn (2)
где Q - расчетный расход воды на станции водоподготовки, м3/сут; С - среднегодовая концентрация взвешенных веществ в исходной воде, г/м3, определяемая по формуле (11) СНиП 2.04.02-84. Для n года С - среднее значение для характерных периодов года; Тn - длительность подачи осадка в году, сут; Р1, Р2, ... , Рn-1, и ρ1, ρ2, ... , ρn-1 - соответственно средние значения влажности и плотности осадка первого, второго ... (n - 1) года эксплуатации, принимаемые по табл. 2, а Рn и ρn по табл. 3 для средней длительности уплотнения осадка Ту в расчетном году или в характерный период года. Например, для Тn = 10 лет, Тy первого года подачи осадка в накопитель равно 9,5 годам, ... десятого года - 0,5 годам.
5.5. Накопитель, как правило, следует рассчитывать на постоянный сброс осветленной воды, в том числе в зимний период под слоем льда. В этом случае С n-го года, Рn и ρn в формуле (2) являются среднегодовыми показателями.
При отсутствии сброса осветленной воды из накопителя в зимний период возрастает роль сгустителей осадка, обеспечивающих уменьшение расчетной вместимости накопителя за счет уменьшения объема осадка, подаваемого в накопитель в зимний период.
5.6. Накопители надлежит оборудовать устройствами для подачи осадка и отвода выделившейся при уплотнении осадка воды. Устройства для подачи осадка и отвода воды следует располагать на противоположных сторонах накопителя. Расстояние между устройствами для подачи осадка, а также между устройствами для отвода воды надлежит принимать не более 60 м. Конструкция устройств для отвода воды должна обеспечивать ее отвод с любого уровня по глубине накопителя.
Таблица 2
|
Способ обработки воды, среднее содержание взвешенных веществ, С, реагенты |
Длительность уплотнения осадка Т, годы; средняя влажность осадка Р, %; плотность осадка ρ, т/м3 |
||||||||||||||||
|
Т = 1 |
Т = 2 |
Т = 3 |
Т = 4 |
Т = 5 |
Т = 6 |
Т = 8 |
Т = 10 |
||||||||||
|
Р |
ρ |
Р |
ρ |
Р |
ρ |
Р |
ρ |
Р |
ρ |
Р |
ρ |
Р |
ρ |
Р |
ρ |
||
|
1 |
Осветление: |
|
|
|
|
|
|
|
|
|
|
|
|
|
|
|
|
|
С = 30 мг/л: |
|
|
|
|
|
|
|
|
|
|
|
|
|
|
|
|
|
|
коагулянт |
91 |
1,03 |
88 |
1,05 |
85 |
1,07 |
82,5 |
1,08 |
81 |
1,08 |
80 |
1,09 |
79 |
1,09 |
77 |
1,1 |
|
|
коагулянт, ПАА |
89 |
1,05 |
84 |
1,08 |
81 |
1,1 |
80 |
1,11 |
79,5 |
1,11 |
78 |
1,12 |
77,5 |
1,12 |
77 |
1,13 |
|
|
коагулянт, ПАА, известь |
88 |
1,05 |
83,5 |
1,1 |
80,5 |
1,12 |
79,5 |
1,12 |
78,5 |
1,13 |
77,5 |
1,13 |
77 |
1,13 |
76,5 |
1,13 |
|
|
С = 150 мг/л: |
|
|
|
|
|
|
|
|
|
|
|
|
|
|
|
|
|
|
коагулянт |
83 |
1,10 |
79 |
1,13 |
76,5 |
1,15 |
75,5 |
1,16 |
73,5 |
1,17 |
72,5 |
1,17 |
72 |
1,17 |
72 |
1,17 |
|
|
коагулянт, ПАА |
82 |
1,11 |
78 |
1,14 |
75,5 |
1,16 |
74 |
1,16 |
72,5 |
1,17 |
71 |
1,17 |
70 |
1,17 |
70 |
1,17 |
|
|
С = 600 мг/л: |
|
|
|
|
|
|
|
|
|
|
|
|
|
|
|
|
|
|
коагулянт |
72 |
1,20 |
69 |
1,22 |
68 |
1,23 |
67,5 |
1,23 |
67 |
1,23 |
67 |
1,23 |
67 |
1,23 |
67 |
1,23 |
|
|
коагулянт, ПАА |
71,5 |
1,20 |
68,5 |
1,22 |
67,5 |
1,23 |
67 |
1,23 |
66,5 |
1,23 |
66,5 |
1,23 |
66,5 |
1,23 |
66,5 |
1,23 |
|
|
С = 1200 мг/л: |
|
|
|
|
|
|
|
|
|
|
|
|
|
|
|
|
|
|
коагулянт |
65 |
1,27 |
64 |
1,24 |
63 |
1,23 |
63 |
1,23 |
63 |
1,23 |
63 |
1,23 |
63 |
1,23 |
63 |
1,23 |
|
|
коагулянт, ПАА |
64,5 |
1,25 |
63,5 |
1,24 |
62,5 |
1,23 |
62,5 |
1,23 |
62,5 |
1,23 |
62,5 |
1,23 |
62,5 |
1,23 |
62,5 |
1,23 |
|
|
С = 1500 мг/л: |
|
|
|
|
|
|
|
|
|
|
|
|
|
|
|
|
|
|
коагулянт, ПАА |
50 |
1,45 |
49 |
1,46 |
48 |
1,48 |
48 |
1,48 |
48 |
1,48 |
48 |
1,48 |
48 |
1,48 |
48 |
1,48 |
|
|
ПАА |
42 |
1,55 |
41 |
1,57 |
40 |
1,58 |
40 |
1,58 |
40 |
1,58 |
40 |
1,58 |
40 |
1,58 |
40 |
1,58 |
|
|
2 |
Умягчение при магниевой жесткости, %: |
|
|
|
|
|
|
|
|
|
|
|
|
|
|
|
|
|
более 25 |
68,5 |
1,23 |
67 |
1,24 |
66,5 |
1,25 |
66,2 |
1,25 |
66 |
1,26 |
65,8 |
1,26 |
65,5 |
1,26 |
65,5 |
1,26 |
|
|
менее 25 |
52 |
1,45 |
51,5 |
1,46 |
51 |
1,47 |
51 |
1,47 |
51 |
1,47 |
51 |
1,47 |
51 |
1,47 |
51 |
1,47 |
|
|
3 |
Обезжелезивание: |
|
|
|
|
|
|
|
|
|
|
|
|
|
|
|
|
|
с реагентами |
90,5 |
1,06 |
87,5 |
1,10 |
83 |
1,12 |
81,5 |
1,14 |
80 |
1,15 |
79 |
1,16 |
78 |
1,17 |
77 |
1,17 |
|
|
без реагентов |
79 |
1,17 |
74 |
1,19 |
72 |
1,22 |
71 |
1,23 |
70 |
1,24 |
69 |
1,24 |
69 |
1,24 |
69 |
1,24 |
|
Таблица 3
|
Способ обработки воды, среднее содержание взвешенных веществ, С, реагенты |
Длительность уплотнения осадка Т, мес.; средняя влажность осадка Р, %; плотность осадка ρ, т/м3 |
||||||||||||||
|
Т = 1 |
Т = 2 |
Т = 4 |
Т = 6 |
Т = 8 |
Т = 10 |
Т = 12 |
|||||||||
|
Р |
ρ |
Р |
ρ |
Р |
ρ |
Р |
ρ |
Р |
ρ |
Р |
ρ |
Р |
ρ |
||
|
1 |
Осветление: |
|
|
|
|
|
|
|
|
|
|
|
|
|
|
|
С = 30 мг/л: |
|
|
|
|
|
|
|
|
|
|
|
|
|
|
|
|
коагулянт |
98,2 |
1,01 |
97,5 |
1,02 |
96,3 |
1,02 |
95,0 |
1,02 |
94,2 |
1,02 |
93,5 |
1,02 |
93 |
1,02 |
|
|
коагулянт, ПАА |
97,8 |
1,02 |
96,8 |
1,02 |
95,2 |
1,03 |
94,0 |
1,04 |
93,2 |
1,04 |
92,3 |
1,04 |
91,8 |
1,05 |
|
|
коагулянт, ПАА, известь |
97,5 |
1,02 |
96,5 |
1,02 |
94,5 |
1,03 |
93 |
1,04 |
91,5 |
1,05 |
91 |
1,05 |
90,5 |
1,05 |
|
|
С = 150 мг/л: |
|
|
|
|
|
|
|
|
|
|
|
|
|
|
|
|
коагулянт |
93,6 |
1,02 |
94 |
1,03 |
91,5 |
1,05 |
89,5 |
1,06 |
87,7 |
1,07 |
86 |
1,08 |
84,5 |
1,09 |
|
|
коагулянт, ПАА |
95,8 |
1,02 |
93 |
1,04 |
90,7 |
1,05 |
88,5 |
1,07 |
86,7 |
1,08 |
85,2 |
1,08 |
83,8 |
1,09 |
|
|
С = 600 мг/л: |
|
|
|
|
|
|
|
|
|
|
|
|
|
|
|
|
коагулянт |
90 |
1,06 |
87 |
1,09 |
82 |
1,11 |
79 |
1,14 |
77 |
1,16 |
75 |
1,17 |
73 |
1,18 |
|
|
коагулянт, ПАА |
88,5 |
1,08 |
85 |
1,1 |
81 |
1,12 |
78 |
1,15 |
75,8 |
1,17 |
74 |
1,17 |
72,2 |
1,19 |
|
|
С = 1200 мг/л: |
|
|
|
|
|
|
|
|
|
|
|
|
|
|
|
|
коагулянт |
84 |
1,11 |
78,5 |
1,16 |
73,7 |
1,19 |
71 |
1,23 |
68,8 |
1,25 |
67,5 |
1,26 |
66,2 |
1,27 |
|
|
коагулянт, ПАА |
81,5 |
1,14 |
77,2 |
1,17 |
73 |
1,2 |
70,4 |
1,23 |
68,2 |
1,25 |
66,9 |
1,26 |
65,7 |
1,28 |
|
|
С = 1500 мг/л: |
|
|
|
|
|
|
|
|
|
|
|
|
|
|
|
|
коагулянт, ПАА |
72 |
1,21 |
68 |
1,25 |
61,5 |
1,32 |
58,5 |
1,35 |
56 |
1,38 |
53,5 |
1,4 |
52 |
1,43 |
|
|
ПАА |
61 |
1,32 |
57 |
1,37 |
51,5 |
1,42 |
48 |
1,47 |
46 |
1,5 |
44,5 |
1,53 |
43 |
1,54 |
|
|
2 |
Умягчение при магниевой жесткости, %: |
|
|
|
|
|
|
|
|
|
|
|
|
|
|
|
более 25 |
86 |
1,09 |
81 |
1,13 |
76 |
1,17 |
73 |
1,18 |
71,7 |
1,2 |
70,5 |
1,21 |
69,5 |
1,22 |
|
|
менее 25 |
75 |
1,23 |
68 |
1,29 |
62,5 |
1,35 |
58,5 |
1,39 |
56,5 |
1,43 |
54,5 |
1,45 |
53 |
1,47 |
|
|
3 |
Обезжелезивание: |
|
|
|
|
|
|
|
|
|
|
|
|
|
|
|
с реагентами |
97 |
1,02 |
95,8 |
1,03 |
94,7 |
1,04 |
93,8 |
1,05 |
93 |
1,05 |
92,2 |
1,06 |
91,5 |
1,06 |
|
|
без реагентов |
92,5 |
1,06 |
90 |
1,07 |
87,5 |
1,09 |
85 |
1,11 |
83 |
1,12 |
81 |
1,14 |
80 |
1,15 |
|
5.7. Площадки замораживания следует предусматривать для интенсификации обезвоживания осадка в естественных условиях за счет резкого увеличения водоотдачи после полного замораживания и оттаивания осадка.
Площадки замораживания надлежит применять в районах с периодом устойчивой среднесуточной отрицательной температуры воздуха не менее двух месяцев в году, рассчитывать на очистку от осадка через 1 - 3 года и вывоз его на площадки складирования.
Площадки замораживания следует выполнять преимущественно в виде земляных сооружений, имеющих спланированное грунтовое основание, обвалованное грунтом, с устройствами для напуска осадка и отвода выделившейся осветленной воды.
Допускается устройство площадок замораживания с твердым основанием с дренажной системой. Глубина площадок замораживания определяется глубиной промерзания осадка в зимний период.
5.8. Замораживание наиболее эффективно для труднообезвоживаемых осадков станций осветления маломутных цветных вод, станций обезжелезивания воды и станций реагентного умягчения воды, имеющих магниевую жесткость более 25 % общей, и нецелесообразно для осадков станций осветления высокомутных вод.
5.9. Площадки замораживания следует проектировать при условии залегания грунтовых вод на глубине не менее 1,5 м от основания площадок.
Для использования дополнительного фактора обезвоживания осадков - незначительного фильтрования через основание и ограждающее обвалование площадок, целесообразно устраивать площадки на хорошо фильтрующих грунтах.
Для предотвращения подтапливания площадок талой водой, сбора и отвода воды, фильтрующейся через грунтовое основание площадок, необходимо предусматривать устройство водоотводных канав или дренажных устройств вдоль фронта площадок.
5.10. Площадки замораживания условно подразделяют на летне-осенние, зимние, весенние - 1 и весенние - 2.
В период положительной и неустойчивой отрицательной среднесуточной температуры воздуха осадок от станции водоподготовки надлежит направлять на весенние и летне-осенние площадки для уплотнения и удаления выделившейся из осадка осветленной воды. Напуск осадка на площадки следует заканчивать с наступлением периода устойчивой отрицательной температуры. Общий слой уплотненного осадка не должен превышать глубины полного промерзания осадка в зимний период.
В период устойчивой отрицательной температуры осадок следует для ускорения замораживания подавать на зимние площадки тонкими слоями.
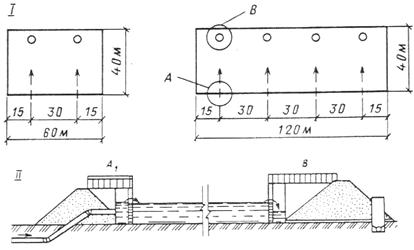
5.11. Конструктивные схемы и размеры площадок следует принимать в соответствии с рис. 1 и 2, принимая расстояние между устройствами для напуска осадка и отвода осветленной воды равным 40 м, а расстояние между устройствами соответственно 30 м (рис. 1) и 60 м (рис. 2).
5.12. Распределение осадка между площадками надлежит осуществлять трубопроводами диаметром не менее 150 мм, отведение осветленной воды с площадок самотечными трубопроводами с уклоном 0,01.

Рис. 1. Площадки для обезвоживания осадка
I - конструктивные схемы площадок; II - устройства для напуска осадка (А) и отвода осветленной воды (В): А1 и В - колодец; А2 - подъемный поперечный лоток на гибком рукаве; А3 - подъемный поперечный лоток на шарнире
Для надежной эксплуатации трубопроводов необходимо предусматривать их промывку, а также соответствующее утепление или заглубление в грунт. Для устранения случайных засорений следует устанавливать ревизии. Запорную арматуру (задвижки или поворотные затворы) на трубопроводах следует размещать в утепленных незатапливаемых водой колодцах с выносом колонок управления арматурой на поверхность.

Рис. 2. Площадки для обезвоживания с центральной каскадной подачей осадка
I - конструктивные схемы площадок; II - устройства для напуска осадка (А) в виде центральной тарельчатой колонны и отвода воды (В) в виде подъемной поперечной перфорированной трубы на гибком рукаве
5.13. Устройства для подачи осадка на площадки должны обеспечивать равномерное их распределение по площадкам без размывания площадки или слоя замерзшего осадка. В связи с возможностью образования в зимнее время прослойки воздуха между слоем льда и осадка, а также выпадением снега на поверхность льда, резко уменьшается скорость замораживания осадка. Конструкция устройств должна обеспечивать возможность напуска осадка в зимнее время как под слой льда для вытеснения воздуха через шурфы в слое льда, так и на поверхность льда тонким слоем для замачивания и последующего замораживания мокрого снега.
Примерами решения такой конструкции являются устройства в виде колодцев с изменяющимся по высоте водосливом (см. рис. 1б, А1); подъемных поперечных лотков на гибком рукаве (см. рис. 1б, А2) и на шарнире (см. рис. 1б, А3).
Размещение устройств напуска осадка в центре модуля площадки (см. рис. 2) имеет технико-экономические преимущества перед размещением этих устройств по длинной стороне площадки (см. рис. 1), а центральный каскадный напуск осадка на зимние площадки (см. рис. 2, А) позволяет улучшить условия послойного замораживания осадка и уменьшить высоту обвалования площадки. Трубопровод верхней подачи осадка в центр площадки следует выполнять с уклоном к рассекателю осадка, предназначенному для разбрызгивания осадка и предотвращения размывания дна площадки.
5.14. Устройства для отведения воды с площадок должны обеспечивать возможно более полное удаление осветленной воды, выделившейся при уплотнении осадка и атмосферной воды. На рис. 1, 2 приведены примеры конструктивных решений устройств для отвода воды с разного уровня: колодцы и устройство в виде подъемной поперечной перфорированной трубы на гибком рукаве, заглубленное относительно основания площадки на 0,5 м и огражденное щебеночной отсыпкой высотой 0,5 м.
5.15. Расчет площадок замораживания следует начинать с анализа климатических условий района их размещения. Год условно надлежит разделить на три характерных периода; весенний, летне-осенний, зимний, определив их длительность. За зимний период принимают период устойчивых отрицательных среднесуточных температур (период устойчивого мороза), для которого определяют среднесуточную температуру каждого месяца.
Расчетные данные находят в «Справочнике по климату СССР» Гидрометиздата одного выпуска, соответственно району размещения площадок по разделам «Температура воздуха и почвы», «Влажность воздуха, атмосферные осадки, снежный покров».
Длительность зимнего периода надлежит принимать по среднемноголетней продолжительности устойчивого мороза.
Длительность весеннего периода следует принимать от завершения периода устойчивого мороза до наступления периода положительной температуры (спустя один месяц после наступления среднесуточной температуры воздуха выше 0 °С для районов с периодом устойчивого мороза менее трех месяцев и спустя два месяца - для районов с периодом устойчивого мороза более трех месяцев).
Длительность летне-осеннего периода надлежит принимать как разность между продолжительностью календарного года (365 дней) и общей длительностью зимнего и весеннего периода.
5.16. Общую полезную площадь площадок замораживания F, м2, следует определять по формуле
F = 2 Fв + Fл-о + Fз, (3)
где Fв, Fл-о, Fз - площадь площадок, м2, определяемая по зеркалу осадка при заполнении площадок на половину глубины соответственно для весеннего, летне-осеннего и зимнего напусков осадка.
5.17. Объем осадка, подвергаемого замораживанию на весенних или летне-осенних площадках Wв,л-о необходимо рассчитывать с учетом его уплотнения на площадках и удаления выделившейся при уплотнении осадка воды по формуле
(4)
где Q - расчетный расход воды на станции водоподготовки, м3/сут; Св,л-о - средняя за весенний или летне-осенний периоды концентрация взвешенных веществ в исходной воде, г/м3, определяемая по формуле (11) СНиП 2.04.02-84; Тв,л-о - длительность весеннего или летне-осеннего периода, сут. (см. п. 5.15); Рв,л-о и ρв,л-о - средняя влажность, %, и плотность, г/м3, осадка, определяемые по табл. 3 в зависимости от длительности уплотнения осадка Ту, мес., принимаемой от середины весеннего или летне-осеннего периодов до наступления периода устойчивого мороза.
5.18. Полезную площадь F, м2, весенних или летне-осенних площадок следует определять по формуле
Fв, л-о = Wв,л-о / Нв,л-о, (5)
где Нв,л-о - слой осадка на площадке перед замораживанием, м, равный глубине промерзания осадка в период устойчивого мороза определяется по формуле
где St - сумма абсолютных значений отрицательных среднесуточных температур воздуха за период устойчивого мороза, °С, принимаемая по данным ближайшей метеорологической станции.
5.19. Объем осадка, подвергаемого замораживанию на зимней площадке, Wз, следует рассчитывать из условия размещения всего осадка, поступившего в период устойчивого мороза, без учета уплотнения осадка на площадке
где Сз - средняя за зимний период концентрация взвешенных веществ в исходной воде, г/м3, определяемая по формуле (11) СНиП 2.04.02-84; Тз - длительность зимнего периода, сут (см. п. 5.15); Рз и ρз - средняя влажность, %, и плотность, г/м3, осадка, направляемого на зимнюю площадку.
5.20. Зимнюю площадку надлежит предусматривать секционной.
Площадь одной секции Fз.с, м2, следует определять по формуле
Fз.с = Wсб / hсб, (8)
где Wсб - объем одного залпового сброса осадка на зимнюю площадку, м3; hсб - расчетный слой осадка на секции зимней площадки, равный 0,06 - 0,1 м.
При определении Fз.с следует учитывать рекомендованную конструктивную схему площадок (см. рис. 12).
5.21. Число секций зимней площадки Nз.с надлежит принимать по формуле
Nз.с = t / Dt, (9)
где t - длительность замораживания осадка расчетным слоем от 0,06 до 0,1 м в месяц периода устойчивого мороза с наиболее высокой среднесуточной температурой воздуха, сут, принимаемая по рис. 3; Dt - периодичность напуска осадка на зимнюю площадку, сут.
5.22. Строительную высоту оградительного обвалования весенних или летних площадок замораживания Нстр.в = Нстр.л-о, м, следует определять по формуле
где Wв - годовой объем уплотненного осадка на весенних площадках перед началом периода устойчивого мороза, м3; Fв - полезная площадь весенних площадок, м2; N - число лет накапливания уплотненного осадка на весенних площадках; Wо.в - годовой объем обезвоженного осадка на весенних площадках влажностью, %, принимаемой по табл. 2 для длительности уплотнения осадка Ту = 10 лет.
Рис. 3. Длительность замораживания осадка в зависимости от толщины слоя и среднесуточной температуры воздуха
5.23. Строительную высоту оградительного обвалования зимних площадок Нстр.з определять по формуле
где Wз - годовой объем осадка, замораживаемый на зимней площадке, м3; Fз - полезная площадь зимней площадки, м2; N - число лет накапливания осадка на зимней площадке, N = 1 - 3; Wо.з - годовой объем обезвоженного осадка на зимней площадке, м3, влажностью, принимаемой по табл. 2 для длительности уплотнения Ту = 10 лет; D - для конструктивной схемы площадки, показанной на рис. 1, D = + 0,2 м; для конструктивной схемы площадки, показанной на рис. 2, D = - 0,5 м.
5.24. Для очистки площадок от обезвоженного осадка надлежит предусматривать устройство подъездных дорог и пандусов для въезда бульдозера на площадки, сдвигания осадка в зону действия грузоподъемных механизмов.
Для многократного использования площадок замораживания следует учитывать необходимость проведения восстановительных работ по планировке дна площадок, увеличению высоты оградительных валиков после очистки площадок от осадка.
5.25. Площадки подсушивания следует предусматривать для интенсификации процесса обезвоживания осадков в естественных условиях за счет испарения воды.
Площадки подсушивания надлежит применять в районах с устойчивым дефицитом влажности 800 мм и более рассчитывать на ежегодный вывоз подсушенного осадка на площадки складирования.
Площадки подсушивания следует выполнять в виде земляных сооружений, имеющих спланированное грунтовое основание, обвалованное грунтом с устройствами для напуска осадка и отвода выделившейся при уплотнении осадка осветленной воды и воды атмосферных осадков.
5.26. Осадок от станций водоподготовки следует направлять на площадки подсушивания только после сгущения. Целесообразно устраивать площадки на хорошо фильтрующих грунтах.
5.27. Расчет площадок подсушивания следует начинать с выявления в «Справочнике по климату СССР» длительности периода устойчивого дефицита влажности Dу, мм > 0 района размещения площадок и значения Dу этого периода, которое определяют по формуле
Dу = E - A, (12)
где Е - количество воды, испарившейся за период устойчивого дефицита влажности, мм; А - количество атмосферных осадков за период устойчивого дефицита влажности, мм.
Значение Е вычисляют по формуле
(13)
где Ту - длительность периода устойчивого дефицита влажности, сут; l0 - средняя упругость насыщенных водяных паров, соответствующая температуре осадка, миллибар; l200 - средняя упругость водяных паров, соответствующая абсолютной влажности воздуха на высоте 200 см от водной поверхности, миллибар; v200 - средняя скорость ветра на высоте 200 см, м/с.
5.28. Общую полезную площадь площадок подсушивания F надлежит определять по формуле
F = Fн + Fу, (14)
где Fн и Fу - соответственно, полезная площадь площадок периода неустойчивого дефицита влажности и площадок периода устойчивого дефицита влажности, м2
5.29. Объем осадка на площадках периода неустойчивого дефицита влажности Wн, м3, надлежит определять по формуле
(15)
где Q - расчетный расход воды на станции водоподготовки, м3/сут; Тн - длительность периода неустойчивого дефицита влажности (периода напуска осадка на площадки), сут; Сн - средняя за период неустойчивого дефицита влажности концентрация взвешенных веществ в исходной воде, г/м3; Рн и ρн - средние влажность, %, и плотность осадка, г/м3, определяемые по табл. 3 в зависимости от длительности уплотнения осадка Ту, мес., принимаемой от середины периода неустойчивого дефицита влажности до начала периода устойчивого дефицита влажности.
5.30. Объем осадка на площадках периода устойчивого дефицита влажности Wу, м3, следует определять по формуле
(16)
где Су - средняя за период устойчивого дефицита влажности концентрация взвешенных веществ в исходной воде, г/м3; Ру - средняя влажность осадка, %, определяемая по табл. 1 в зависимости от Су; ρу - плотность осадка, г/м3, соответствующая Ру, принимаемая по табл. 3.
5.31. Полезную площадь площадок периода неустойчивого дефицита влажности Fн надлежит определять по формуле
Fн = Wн / Hн, (17)
где Hн - слой уплотненного осадка на площадках периода неустойчивого дефицита влажности перед наступлением периода устойчивого дефицита влажности, м. Hн = 0,3 м при Dу 1000 мм, Hн = 0,5 м при Dу > 1000 мм.
5.32. Полезную площадь площадок периода устойчивого дефицита влажности Fу следует определять по формуле
Fу = 1000 Wу / Dу. (18)
5.33. Строительную высоту оградительного обвалования площадок подсушивания Нстр, м, надлежит определять по формуле
Нстр = W / F + 0,2, (19)
где W - принимают по пп. 5.29 и 5.30; Fу по пп. 5.31 и 5.32.
5.34. Конструктивные решения площадок подсушивания следует принимать по рис. 1. Распределять осадок по площадкам подсушивания предпочтительно лотками.
Для очистки площадок от подсушенного осадка надлежит предусматривать устройство подъездных дорог и пандусов для въезда бульдозера на площадки, сдвигания осадка в зону действия грузоподъемных механизмов.
Для многократного использования площадок подсушивания следует учитывать необходимость проведения восстановительных работ по планировке дна площадки и увеличению высоты оградительных валиков после очистки площадки от осадка.
6.1. К сооружениям для складирования осадка следует относить накопители осадка (см. раздел «Накопители») и наземные грунтовые или с твердым покрытием площадки, специально оборудованные для приема и складирования осадков, обезвоженных на площадках замораживания, на площадках подсушивания, на установках фильтрационного обезвоживания.
6.2. Периодичность поступления осадка на специальные сооружения для складирования определяют графиком их вывоза автотранспортом из сооружений обезвоживания осадка.
Объем поступающего осадка надлежит определять по расчетной влажности обезвоженного осадка, принимаемой по табл. 2, для длительности уплотнения 10 лет.
6.3. Сооружения для складирования осадка надлежит предохранять от подтапливания ливневыми водами, предусматривая устройства отвода воды с площади сооружений.
6.4. При складировании промороженного и подсушенного осадка на площадках следует предусматривать обвалование площадок грунтом высотой 1 м с учетом дальнейшего наращивания обвалования обезвоженным осадком.
Осадок целесообразно распределять по площадкам, последовательно увеличивая высоту слоя до 3 - 4 м.
Для укрепления образованных отвалов следует засевать наружную поверхность обвалования травами.
6.5. Обезвоженные осадки в сооружениях складирования следует рассматривать как возможные источники сырья в производстве керамзита, кирпича, бетона, облицовочной плитки, удобрения, компоста и др.
Исходные данные
Производительность станции подготовки воды для производственных нужд - 50 тыс. м3/сут.
Состав сооружений осветления воды - горизонтальные отстойники Np = 6 шт.
Вместимость зоны накопления осадка отстойника
м3.
Удаление осадка из отстойника - гидравлическое.
Водоисточник - водоток, среднемесячные показатели качества воды и дозы реагентов приведены в табл. 4.
Таблица 4
|
Месяц |
Взвешенные вещества в исходной воде, мг/л |
Цветность воды, град |
Доза коагулянта, мг/л |
Доза извести, мг/л |
Концентрация взвешенных веществ в воде, поступающей в отстойник, С, мг/л |
|
|
Зима |
Ноябрь |
30 |
80 |
30 |
- |
65 |
|
Декабрь |
20 |
60 |
30 |
- |
50 |
|
|
Январь |
20 |
60 |
30 |
- |
50 |
|
|
Февраль |
20 |
60 |
30 |
- |
50 |
|
|
Март |
50 |
80 |
40 |
- |
90 |
|
|
Весна |
Апрель |
300 |
100 |
50 |
10 |
360 |
|
Май |
50 |
100 |
40 |
10 |
105 |
|
|
Лето |
Июнь |
50 |
80 |
30 |
- |
85 |
|
Июль |
50 |
60 |
30 |
- |
80 |
|
|
Август |
50 |
60 |
30 |
- |
80 |
|
|
Сентябрь |
50 |
60 |
30 |
- |
80 |
|
|
Осень |
Октябрь |
40 |
80 |
30 |
- |
75 |
Реагенты - сульфат алюминия, известь, полиакриламид.
Концентрацию взвешенных веществ в воде, поступающей в отстойник (см. табл. 4), следует определять по формуле (11), а период работы отстойника между сбросами осадка - по формуле (10) СНиП 2.04.02-84.
Расчет сгустителей надлежит выполнять для двух-трех периодов года с характерной концентрацией взвешенных веществ в воде, поступающей в отстойники. Выделяют три периода: с наименьшей концентрацией взвеси - 50 мг/л, характерной - 80 мг/л и наибольшей - 360 мг/л.
Результаты расчетов по определению периодичности выпуска осадка и отстойников, влажности и количества осадка, выпускаемого из горизонтальных отстойников, приведены в табл. 5.
Таблица 5
|
Расчетные параметры |
Концентрация взвешенных веществ в воде, поступающей в отстойник, С, мг/л |
Основание для расчета |
|||
|
50 |
80 |
360 |
|||
|
1 |
Средняя концентрация сухого вещества в осадке в отстойнике Сот, мг/л |
15000 |
18000 |
44840 |
Сот принимают по СНиП 2.04.02-84, табл. 19 |
|
2 |
Повышающий коэффициент на применение полиакриламида kб |
1,25 |
1,15 |
- |
То же, прим. к табл. 19 |
|
3 |
Средняя концентрация сухого вещества в осадке с учетом повышающего коэффициента Сб, мг/л |
18750 |
20700 |
44840 |
Сб = kб Сот |
|
4 |
Средняя концентрация сухого вещества в осадке, выпускаемом из отстойника с учетом повышающего коэффициента и коэффициента разбавления, Св, мг/л |
12100 |
13800 |
29900 |
Св = kрСб, где: kр - коэффициент разбавления осадка, принимают по СНиП 2.04.02-84 п. 6.74 |
|
5 |
Расчетная влажность осадка, выпускаемого из отстойника, Рв, % |
98,81 |
98,65 |
97,07 |
где ρв - плотность, принимают по табл. 3, ρв = 1,02 т/м3 |
|
6 |
Расчетный период между выпусками осадка из одного отстойника Т1, сут |
19 |
12 |
5,2 |
Т1 определяют по СНиП 2.04.02-84, формула 10 |
|
7 |
Расчетный период между выпусками осадка из шести отстойников Т6, сут |
3,17 |
2 |
0,87 |
|
|
8 |
Расчетный объем осадка одного выпуска из отстойника W1, м3 |
507 |
507 |
507 |
|
|
9 |
Суточный расход осадка, выпускаемого из отстойников, Qс, м3/сут |
160 |
254 |
583 |
|
Расчетный объем осадка и число сгустителей следует принимать в соответствии с графиком выпуска осадка из горизонтальных отстойников и длительностью цикла сгущения осадка, включающего наполнение сгустителей, перемешивание осадка, перекачивание осветленной воды на повторное использование, перекачивание сгущенного осадка на обезвоживание. Объем осадка от реагентного хозяйства по сравнению с объемом осадка от горизонтальных отстойников незначителен, поэтому в расчете вместимости сгустителей его учитывать не следует.
Работа сгустителей возможна в двух режимах: в режиме последовательного циклического наполнения, сгущения и перекачивания выделившейся осветленной воды и сгущенного осадка, а также в режиме циклического наполнения, сгущения и перекачивания воды с последовательным наполнением сгущенного осадка от нескольких циклов. Расчет сгустителей в двух режимах приведен в табл. 6 и 7.
Таблица 6
|
Расчетные параметры |
Концентрация взвешенных веществ в воде, поступающей в отстойник, С, мг/л |
Основание для расчета |
|||
|
1 |
Расчетная вместимость сгустителей Wo.сг, м3 |
660 |
660 |
660 |
Настоящее Пособие, формула (1) |
|
2 |
Число сгустителей Nсг, шт. |
2 |
2 |
2 |
|
|
3 |
Расчетная вместимость одного сгустителя Wсг, м3 |
330 |
330 |
330 |
|
|
4 |
Фактические параметры радиального сгустителя: |
|
|
|
Типовой проект № 901-3-236-87 |
|
диаметр D, м |
12 |
12 |
12 |
||
|
глубина средняя Н, м |
3,1 |
3,1 |
3,1 |
||
|
вместимость V, м3 |
335 |
335 |
335 |
||
|
5 |
Длительность цикла сгущения Тс, сут |
3,17 |
2 |
0,87 |
Тс = Т6 где Т6 см. в табл. 5 п. 7 |
|
6 |
Влажность подаваемого в сгуститель осадка Рв, % |
98,81 |
98,65 |
97,07 |
Рв см. в табл. 5 п. 5 |
|
7 |
Влажность сгущенного осадка Рс, % |
97,67 |
97,5 |
93,6 |
Рс см. в табл. 1 |
|
8 |
Объем сгущенного осадка, перекачиваемого из сгустителя, W1с, м3 |
166 |
178 |
151 |
|
|
9 |
Масса сухого вещества в перекачиваемом сгущенном осадке М1с, т |
3,95 |
4,54 |
9,86 |
|
|
10 |
Объем перекачиваемой осветленной воды, W1в, м3 |
164 |
152 |
179 |
|
Таблица 7
|
Расчетные параметры |
Концентрация взвешенных веществ в воде, поступающей в отстойник, С, мг/л |
Примечания |
|||
|
50 |
80 |
360 |
|||
|
1 |
Длительность цикла сгущения Тс.ф, сут |
2,5 |
1,5 |
0,5 |
Тс.ф £ Т6, где Т6 см. в табл. 5, п. 7 |
|
2 |
Период между выпусками осадка из одного отстойника Т1ф, сут |
15 |
9 |
13 |
Т1ф £ Т1, где Т1 см. в табл. 5 п. 6 |
|
3 |
Объем осадка одного выпуска из отстойника W1, м3 |
400 |
380 |
292 |
|
|
4 |
Объем осадка, направляемого в один сгуститель за n циклов сгущения, м3: |
|
|
|
|
|
первого W1n |
200 |
190 |
146 |
|
|
|
второго W2n |
200 |
190 |
146 |
|
|
|
третьего W3n |
165 |
163 |
146 |
|
|
|
четвертого W4n |
- |
- |
146 |
|
|
|
5 |
Влажность осадка, направляемого в сгуститель Ро, % |
98,81 |
98,65 |
97,07 |
Ро = Рв, см. табл. 5, п. 5 |
|
6 |
Влажность сгущенного осадка с учетом повышающего коэффициента 1,2 на последовательное накопление осадка Рn.c, % |
97,2 |
97 |
92,3 |
где Рс см. табл. 6. п. 7 |
|
7 |
Общая длительность сгущения осадка Тос, сут |
7,38 |
4,38 |
1,84 |
|
|
8 |
Объем сгущенного осадка от n циклов сгущения, м3: |
|
|
|
|
|
первого W1n.c |
85 |
86 |
56 |
|
|
|
второго W2n.c |
170 |
172 |
112 |
|
|
|
третьего W3n.c |
240 |
245 |
168 |
|
|
|
четвертого W4n.c |
- |
|
224 |
|
|
|
9 |
Объем сгущенного осадка, удаляемого из сгустителя после n циклов сгущения Wn.c м3 |
240 |
245 |
224 |
|
|
10 |
Масса сухого вещества в удаляемом из сгустителя осадке Мn.c, т |
6,85 |
7,5 |
17,94 |
|
|
11 |
Объем перекачиваемого из сгустителя осветленной воды за n циклов сгущения Wn.в |
325 |
298 |
360 |
|
Сравнительные данные табл. 6 и 7 свидетельствуют о преимуществе режима работы сгустителей с последовательным накоплением сгущенного осадка от нескольких циклов сгущения. Накопление осадка от трех-четырех циклов сгущения приводит к увеличению средней концентрации сухого вещества в осадке на 20 %, объема сгущенного осадка в 1,4 - 1,5 раза, массы сухого вещества в осадке в 1,6 - 1,8 раза за счет большого слоя осадка в сгустителе, средней длительности цикла сгущения в 1,4 - 1,6 раза, уменьшения разбавления осадка водой при перекачивании его на сооружения обезвоживания.
При расчете сгустителей, как правило, следует принимать режим с последовательным накапливанием сгущенного осадка от нескольких циклов сгущения.
Объем осадка, направляемого в один сгуститель (табл. 7, п. 4) последнего цикла сгущения надлежит определять как разность вместимости сгустителя и суммарного накопленного объема сгущенного осадка от предыдущих циклов сгущения, которая должна составлять не менее 90 % объема осадка каждого из предыдущих циклов сгущения. Уменьшение объема напускаемого в сгуститель осадка приводит к постепенному приросту объема осадка в отстойнике перед его выпуском, что должно находить отражение в регламенте эксплуатации сгустителей. Например, уменьшение объема осадка, направляемого в сгуститель, с 200 до 165 м3 (см. табл. 7, поз. 4) на 90 %, приведет к необходимости работы сгустителей в следующем режиме: откачивание сгущенного осадка через три цикла сгущения длительностью 7,5 сут в течение 30 сут (4 раза); затем после заполнения зоны накапливания осадка в отстойниках перекачивание сгущенного осадка через два цикла сгущения и т.д.
Расчет объема сгущенного осадка (табл. 7, п. 8) следует выполнять для объема осадка, направляемого в сгуститель в каждом цикле сгущения с учетом накапливания осадка от n циклов сгущения.
Длительность каждой вспомогательной операции принята 30 мин.
Исходные данные приняты аналогичными приведенным в примере расчета сгустителей.
Определить вместимость накопителя, рассчитанного на 10 лет приема и накапливания осадка от станции подготовки воды.
Для сравнения рассмотрены три варианта: накопитель, работающий со сбросом осветленной воды в зимний период под слоем льда; накопитель, работающий в зимний период только на прием осадка без сброса осветленной воды без предварительного сгущения осадка; накопитель, работающий в зимний период только на прием осадка без сброса осветленной воды с предварительным сгущением осадка.
Вариант 1. Расчет вместимости накопителя, работающего со сбросом осветленной воды в зимний период под слоем льда.
Принимают две секции накопителя. Вместимость двух секций накопителя определяют по формуле (2)
![]()
![]()

= 189800 (0,0311 + 0,0316 + 0,0318 + 0,0326 + 0,0334 + 0,0356 + 0,0375 + 0,0417 +
+ 0,0506 + 0,1014) = 5903 + 5998 + 6036 + 6187 + 6339 + 6757 + 7118 + 7915 +
+ 9604 + 19135 = 80992 ≈ 81000 м3
Расчет объема накопителя, предназначенного для приема осадка в последний десятый год эксплуатации, выполненный по среднегодовой концентрации взвешенных веществ в исходной воде 104 мг/л, надлежит сопоставить с расчетом суммарного объема осадка по отдельным характерным периодам года и большее значение объема осадка десятого года учесть в приведенной формуле определения объема накопителя.
Начало эксплуатации накопителя принимают с начала весеннего периода - апреля. Определяют среднее для периода содержание взвешенных веществ в исходной воде С, мг/л, длительность подачи осадка в накопитель в каждый период Тn, сут, среднюю длительность уплотнения осадка в каждый период года Ту. Расчетный объем накопителя, предназначенного для приема осадка от каждого периода последнего года эксплуатации Wв, Wл-о, Wз.
Весенний период (апрель, май). Тn = 2 ´ 30 = 60 сут; Ту = 11 мес.; Св = 250 мг/л;
м3.
Летне-осенний период (июнь - октябрь). Тn = 5 ´ 31 = 155 сут; Ту = 9,5 мес.; Сл-о = 80 мг/л;
м3
Зимний период (ноябрь - март). Тn = 5 ´ 30 = 150 сут; Ту = 2,5 мес.; Сз = 60 мг/л,
м3
Объем накопителя для приема годового количества осадка составит: W10 = Wв + Wл-о + Wз = 3606 + 5968 + 9544 = 19118 м3.
Сопоставление объема осадка десятого года, полученного по среднегодовой концентрации взвешенных веществ в исходной воде по формуле (2) с соответствующим объемом, полученным суммированием объема осадка от каждого характерного периода года, соответственно 19135 и 19118 м3, показывает правомерность проведения упрощенного расчета по формуле (2), с использованием среднегодовой концентрации взвешенных веществ в исходной воде.
Таким образом, расчетная вместимость накопителя по варианту 1 составит 81 тыс. м3. Расчет следует выполнять по формуле (2).
Вариант 2. Расчет вместимости накопителя, работающего без сброса осветленной воды в зимний период и без предварительного сгущения осадка.
Принимают две секции накопителя. Рассчитывают объем накопителя, предназначенного для приема осадка десятого года эксплуатации по характерным периодам года.
Весенний период (апрель, май). Тn = 60 сут; Ту = 11 мес.; Св = 250 мг/л;
м3.
Летне-осенний период (июнь - октябрь). Тn = 155 сут; Ту = 9,5 мес.; Сл-о = 80 мг/л;
м3.
Зимний период (ноябрь - март). Тn = 150 сут; Ту = 2,5 мес.; Сз = 60 мг/л;
м3.
Объем накопителя для приема годового количества осадка десятого года эксплуатации составит:
W10 = 3606 + 5968 + 36520 = 46094 м3.
Вместимость накопителя, определенная по формуле (2), составит:
Wнак = ![]()
![]()
![]()
= 5903 + 5998 + 6036 + 6187 + 6339 + 6757 + 7118 + 7915 + 9604 + 46094 = 107951 ≈
≈ 108000 м3
Поверочный расчет Wнак вместимости накопителя, выполненный путем определения годовых объемов осадка в первой и второй секциях накопителя. Поверочный расчет подтверждает сходимость полученного значения объема накопителя 107910 м3 с вычисленным по формуле (2) - 107951 м3 при условии поочередной работы секций накопителя в течение четырех лет и одновременной подачи осадка в обе секции, начиная с пятого года эксплуатации накопителя. Превышение объема осадка над вместимостью секции накопителя, которое имеет место в промежуточных расчетах после пятого года эксплуатации накопителя, не влияет на общий объем двух секций накопителя.
Таким образом, расчетная вместимость накопителя по варианту 2 составляет 108 тыс. м3. Расчет следует вести по формуле (2) с определением объема накопителя для приема осадка последнего года эксплуатации по характерным периодам года.
Вариант 3. Расчет вместимости накопителя, работающего без сброса осветленной воды в зимний период с предварительным сгущением осадка в сгустителях.
Принимают две секции накопителя. Рассчитывают объем накопителя, предназначенного для приема объема осадка десятого года по характерным периодам года.
Весенний период Wв = 3606 м3, летне-осенний период Wл-о = 5968 м3 (см. расчет по вариантам 1 и 2). Зимний период (ноябрь - март) Тn = 150 сут; Ту = 2,5 мес.; Сз = 60 мг/л;
м3.
Объем накопителя для приема годового количества осадка десятого года эксплуатации составит:
W10 = 3606 + 5968 + 18007 = 27581 м3.
Вместимость накопителя следует определять по формуле (2):
![]()
![]()
![]()
= 5903 + 5998 + 6036 + 6187 + 6339 + 6757 + 7118 + 7915 + 9604 + 27581 =
= 89438 ≈ 89500 м3.
Таким образом, расчетная вместимость двух секций накопителя по варианту 3 составляет 89,5 тыс. м3.
Сопоставление расчетной вместимости накопителя по трем вариантам показывает, что работа накопителя со сбросом осветленной воды в зимнее время позволяет сократить расчетную вместимость накопителя на 21 - 30 %. Применение сгустителей при работе накопителя без сброса осадка в зимний период позволяет сократить расчетную вместимость на 10,5 %. Кроме того, наличие сгустителей уменьшает затраты электроэнергии на перекачивание осадка в накопитель, уменьшает диаметр трубопровода подачи осадка в накопитель, позволяет вернуть в оборот выделившуюся из осадка осветленную воду без строительства насосной станции и трубопровода подачи осветленной воды из накопителя на станцию водоподготовки.
Исходные данные. Производительность станции водоподготовки - 50 тыс. м3/сут. Район размещения площадки станции водоподготовки - Ульяновская обл. Характерные периоды года и среднесуточная температура воздуха по месяцам периода устойчивого мороза: весенний - апрель, май; летне-осенний - июнь, июль, август, сентябрь, октябрь; зимний - ноябрь (- 4,1 °С) декабрь (- 10,4 °С), январь (- 13,8 °С), февраль (- 13,2 °С), март (- 6,8 °С).
Состав сооружений, качество исходной воды такие же, как в разделе расчета сгустителей.
Длительность накапливания осадка на площадках замораживания без вывоза - 2 года.
Расчет выполнен для двух вариантов: с подачей разбавленного осадка из горизонтальных отстойников станции водоподготовки на площадки замораживания и с подачей осадка на площадки замораживания после сгустителей.
Вариант 1. Расчет площадок замораживания для обезвоживания осадка от станции водоподготовки без предварительного сгущения.
Расчет годового объема уплотнения осадка на весенних площадках Wв и летне-осенних площадках Wл-о следует выполнять по формулам
м3,
где Тв - длительность подачи осадка на весенние площадки, равная 61 сут; Рв и ρв - определены по табл. 3 для длительности уплотнения осадка Ту на весенних площадках, равной 6 мес.
м3,
где Тл-о = 153 сут; Ту = 2,5 мес.
Годовой объем неуплотненного осадка на зимних площадках, подвергаемых замораживанию, Wз следует определять по формуле (7)
м3,
где Тз = 151 сут; Ту = 0.
Расчетный слой осадка на весенних и летне-осенних площадках перед замораживанием надлежит определять по формуле (6)
м.
Для пяти месяцев периода устойчивого мороза Σt равна
=
= 123 + 322 + 428 + 370 + 215 = 1458.
Полезную площадь весенних Fв и летне-осенних Fл-о площадок определяют по формуле (5)
м2.
м2.
Полезную площадь одной секции Fз.с зимней площадки надлежит определять по формуле (8)
Fз.с = Wсб / hсб,
где Wсб - объем осадка одного выпуска из горизонтального отстойника, м3 (рассчитывают по табл. 5 для средней концентрации взвешенных веществ в воде, поступающей в отстойники в зимний период, равной 60 г/м3).
Расчетная влажность осадка, подаваемого на площадку Рв, составит 98,7 %; расчетный период Dt между напусками осадка на зимнюю площадку составит 2,76 сут.
Принимают период между напусками осадка на зимнюю площадку Dt равным 3 сут (кратно 0,5), тогда объем осадка Wсб, выпускаемого из отстойника на секцию площадки замораживания, составит:
Wсб =
м3
Выбирают конструктивную схему площадки, задают размеры секции и определяют фактический слой осадка от одного напуска на секцию зимней площадки.
При отклонении от условия 0,1 м ³ hсб ³ 0,06 м расчет повторяют, последовательно изменяя площадь секции в соответствии с рекомендованными на рис. 2 конструктивными схемами и размерами секции. Принимают конструктивную схему площадки по рис. 2 размером Fз.с = 120 ´ 60 = 7200 м2, тогда расчетный слой замораживаемого осадка hсб на секции зимней площадки в соответствии с формулой (8)
hсб = 551 / 7200 = 0,076 м.
Число секций зимней площадки надлежит принимать в зависимости от длительности замораживания расчетного слоя осадка с учетом периода между напусками осадка на площадку замораживания в ноябре - наиболее теплом месяце периода устойчивого мороза.
Длительность замораживания t слоя осадка 0,076 м при среднемесячной температуре ноября минус 4,1 °С, составит 4,3 сут (см. рис. 3).
Число секций площадки замораживания Nз.с следует определять по формуле (9)
Nз.с = 4,3 / 3 = 1,43.
Принимают две секции зимней площадки площадью каждая Fз.с = 7200 м. Тогда площадь зимних площадок Fз = 2 × 7200 = 14400 м2. Эта площадь обеспечит замораживание осадка слоем 0,076 м в наиболее теплый месяц периода устойчивого мороза, а следовательно, и в остальные месяцы.
Строительную высоту оградительного обвалования весенних площадок Нстр.в и летне-осенних площадок Нстр.л-о следует определять по формуле (10), приняв число лет накапливания осадка на площадках N = 2:
![]()
м;
Нстр.л-о = Нстр.в = 1,2 м.
Строительную высоту оградительного обвалования зимней площадки Нстр.з определяют для конструктивной схемы площадки (см. рис. 2) по формуле (11)
м.
Общая полезная площадь площадок замораживания равна F = 2Fв + Fл-о + Fз = 2 ∙ 6215 + 19230 + 14400 = 46060 м2 ≈ 4,6 га.
Вариант 2. Расчет площадок замораживания для обезвоживания осадка от станции водоподготовки после сгустителей.
Годовой объем уплотненного осадка на весенних площадках Wв = 4040 м3 (см. вариант 1).
Годовой объем уплотненного осадка на летне-осенних площадках уменьшается за счет снижения влажности осадка, напускаемого на площадки в октябре - последнем месяце периода с 98,65 % (см. табл. 3) до 97,2 % (см. табл. 1). Средняя влажность осадка на летне-осенних площадках за расчетный период уплотнения осадка Ту = 2,5 мес. изменится на 0,7 %, от Рл-о = 95,2 % до Рл-о = 94,5 % (получено интерполяцией данных табл. 3).
Тогда
м3.
Годовой объем осадка Wз, замораживаемого на зимней площадке, равен:
м3.
Расчетный слой осадка на весенних и летне-осенних площадках Нв,л-о = 0,65.
Тогда, полезная площадь весенних и летне-осенних площадок будет равна:
Fв = 4040 / 0,65 = 6215 м2;
Fл-о = 10803 / 0,65 = 16620 м2.
Потребная площадь одной секции Fз.с зимней площадки по формуле (8) равна:
Fз.с = 242 / 0,1 = 2420 м2.
Принимают модуль секции зимней площадки Fз.с = 2400 м2 по рис. 1. Число секций зимней площадки
,
где t определяют по рис. 3; Dt определяют по табл. 7 п. 7.
Принимают две секции зимней площадки площадью каждая 2400 м2. Возможно другое решение при определении площади и числа секций зимней площадки.
Принимая площадь одной секции, равной 3600 м2 (модуль по рис. 2 или полтора модуля по рис. 1), определяют фактический слой осадка hз на секции зимней площадки:
hз = 242 / 3600 = 0,067 м,
тогда
Nз.с = 3,5 / 6,38 = 0,55.
Следовательно, одна секция зимней площадки площадью Fз = 3600 м2 обеспечит замораживание слоя напускаемого осадка hз = 0,067 м в наиболее теплый месяц зимнего периода.
Строительная высота оградительного обвалования:
весенних площадок Нстр.в = 1,3 м;
летне-осенних площадок Нстр.л-о = 1,3 м;
зимних площадок:
![]()
Общая полезная площадь F площадок замораживания равна:
F = 2Fв + Fл-о + Fз = 2 × 6215 + 16620 + 3600 = 12430 + 16620 + 3600 = 32650 ≈ 3,3 га.
Следовательно, для принятых исходных данных применение в технологической схеме сгустителей осадка позволит на 30 % уменьшить полезную площадь площадок замораживания.
Исходные данные приняты аналогичными приведенным в примере расчета сгустителей.
Производительность станции водоподготовки Q = 50 тыс. м3/сут. Длительность периода устойчивого дефицита влажности: с апреля по октябрь - 7 мес. Общий за период дефицит влажности Dу = 1200 мм. Осадок на площадки подсушивания направляют из сгустителей. Очистку площадок и вывоз осадка предусматривают ежегодно.
Fн = 7996 / 0,5 = 15992 м2.
Полезную площадь площадок периода устойчивого дефицита влажности Fу надлежит определять по формуле (18)
м2.
Строительную высоту оградительного обвалования площадок периода неустойчивого Нстр.н и устойчивого Нстр.у дефицита влажности надлежит определять по формуле (19)
Нстр.н = 7996 / 15992 + 0,2 = 0,7 м
Нстр.у = 540992 / 45077 + 0,2 = 1,4 м.
Общая расчетная полезная площадь площадок подсушивания F равна
F = Fн + Fу = 15992 + 45077 = 61069 м2 ≈ 6,1 га.
СОДЕРЖАНИЕ