Electrical room heating appliances of accumulating type. Functional characteristics measuring methods

ГОСТ 28669-90

(МЭК 531-76)

МЕЖГОСУДАРСТВЕННЫЙ СТАНДАРТ

 

ПРИБОРЫ ОТОПИТЕЛЬНЫЕ КОМНАТНЫЕ
ЭЛЕКТРИЧЕСКИЕ АККУМУЛЯЦИОННОГО
ТИПА

МЕТОДЫ ИЗМЕРЕНИЙ
ФУНКЦИОНАЛЬНЫХ ХАРАКТЕРИСТИК

 

 

Москва
Стандартинформ
2005

 

Предисловие

1. Официальные решения или соглашения МЭК по техническим вопросам, подготовленные техническими комитетами, в которых представлены все заинтересованные национальные комитеты, выражают с возможной точностью международную согласованную точку зрения по рассматриваемым вопросам.

2. Эти решения представляют собой рекомендации для международного пользования и в этом виде принимаются национальными комитетами.

3. В целях содействия международной унификации МЭК выражает пожелание, чтобы все национальные комитеты приняли настоящий стандарт МЭК в качестве своих национальных стандартов, насколько это позволяют условия каждой страны. Любое расхождение со стандартами МЭК должно быть четко указано в соответствующих национальных стандартах.

 

Введение

Настоящий стандарт подготовлен Подкомитетом № 59С «Нагревательные бытовые электроприборы» Технического комитета МЭК № 59 «Эксплуатационные качества бытовых электрических приборов».

Проекты этого документа были обсуждены на совещаниях, которые проводились в 1972 г. в Афинах и в 1974 г. в Париже. В результате последнего совещания эти проекты «Документы 59С 12 и 12А» были представлены национальным комитетам для утверждения по Правилу шести месяцев в феврале и марте 1975 г. соответственно.

За публикацию голосовали следующие страны:

Австралия

Япония

Бельгия

Нидерланды

Канада

Польша

Чехословакия

Румыния

Дания

Южно-Африканская Республика

Франция

Швейцария

Израиль

Турция

Италия

Великобритания

 

 

МЕЖГОСУДАРСТВЕННЫЙ СТАНДАРТ

ПРИБОРЫ ОТОПИТЕЛЬНЫЕ КОМНАТНЫЕ ЭЛЕКТРИЧЕСКИЕ АККУМУЛЯЦИОННОГО ТИПА

Методы измерений функциональных характеристик

Electrical room heating appliances of accumulating type. Functional characteristics measuring methods

ГОСТ 28669-90
(МЭК 531-76)

Дата введения 01.01.92

1. ОБЛАСТЬ РАСПРОСТРАНЕНИЯ

Настоящий стандарт распространяется на отопительные комнатные электрические приборы аккумуляционного типа, предназначенные для обогрева помещения.

Настоящий стандарт не распространяется на отопительные приборы, являющиеся частью конструкции здания, встроенные в нагревательные устройства и устройства центрального отопления, в установки для обогрева пола.

2. ЦЕЛЬ

Настоящий стандарт определяет основные эксплуатационные характеристики отопительных комнатных электрических приборов аккумуляционного типа для информации потребителя и устанавливает стандартные методы для проверки этих характеристик.

Стандарт не рассматривает требования безопасности и требуемые значения эксплуатационных характеристик.

3. ТЕРМИНЫ, ИСПОЛЬЗУЕМЫЕ ДЛЯ ОБОЗНАЧЕНИЯ ПРИБОРОВ

отопительный комнатный электроприбор аккумуляционного типа: Бытовой прибор (печь), специально предназначенный для накопления тепла, получаемого от электроэнергии в аккумуляционном ядре в течение части рабочего цикла (период зарядки), с целью отдачи тепла в любой момент рабочего цикла.

4. ТЕРМИНЫ, ИСПОЛЬЗУЕМЫЕ ДЛЯ КЛАССИФИКАЦИИ ПРИБОРОВ

4.1. теплоаккумуляционный электроприбор (печь) с регулируемой теплоотдачей: Бытовой прибор, теплоотдача которого может быть изменена автоматически или другим способом с помощью встроенного вспомогательного устройства (вентиляторы, заслонки, клапаны и т.п.).

4.2. теплоаккумуляционный электроприбор с регулируемой теплоотдачей: Бытовой прибор (печь), теплоотдача которого происходит путем естественной конвекции или излучения и которая может изменяться потребителем только путем предварительной регулировки зарядки.

5. ТЕРМИНЫ, ОТНОСЯЩИЕСЯ К ХАРАКТЕРИСТИКЕ ПРИБОРОВ

5.1. теплоаккумуляционный прибор с регулируемой теплоотдачей с принудительной конвекцией: Бытовой прибор (печь) с регулируемой теплоотдачей, в котором часть расходования тепла регулируется вентилятором.

5.2. теплоаккумуляционный электроприбор с регулируемой теплоотдачей с естественной конвекцией: Бытовой прибор (печь) с регулируемой теплоотдачей, в котором часть расходования тепла регулируется задвижками, клапанами и аналогичными устройствами.

6. ТЕРМИНЫ, ПРИМЕНЯЕМЫЕ В МЕТОДАХ ИЗМЕРЕНИЯ ФУНКЦИОНАЛЬНЫХ ХАРАКТЕРИСТИК

6.1. номинальная потребляемая мощность: Номинальная рабочая мощность, устанавливаемая для прибора изготовителем.

6.2. номинальное время зарядки: Наибольший период времени зарядки для теплоаккумуляционного прибора, указанный изготовителем на приборе.

6.3 дополнительное время зарядки: Время, предусмотренное изготовителем для зарядки, в дополнение к номинальному времени, в течение которого прибор находится во включенном состоянии.

6.4 полная зарядка: Количество электрической энергии, потребляемое прибором, работающим в течение рабочего цикла за 24 ч, который состоит из номинального времени зарядки, времени теплоотдачи и одного или нескольких периодов дополнительного времени зарядки, если таковое допускается.

6.5 теплоотдача: Тепло, отдаваемое электроприбором в заданный момент времени.

6.6 программа зарядки: Совокупность номинального и дополнительного времени зарядки в течение 24 ч работы, на которую рассчитан прибор, измеряемая в часах.

Для одного и того же прибора могут быть установлены различные программы зарядки.

6.7 рабочий цикл: Совокупность периодов зарядки и теплоотдачи в течение 24 ч.

7. ПЕРЕЧЕНЬ ИЗМЕРЕНИЙ

Функциональность приборов определяют измерением следующих характеристик:

- габаритных размеров (п. 9);

- массы (п. 10);

- полной зарядки (п. 11);

- характеристик теплоотдачи (п. 12);

- превышения температуры поверхности (п. 13).

8. ОБЩИЕ УСЛОВИЯ ИЗМЕРЕНИЙ

Если нет другого указания, то измерения проводят при следующих условиях.

Температура окружающей среды

Температура в помещении для испытания должна быть (23 ± 2) °C.

Влажность

Относительная влажность в помещении для испытания должна быть от 45 % до 75 %.

Напряжение питания

Подаваемое к прибору напряжение, при котором проводят измерения, должно обеспечивать номинальную мощность в условиях установившегося режима.

Если на приборе указан диапазон потребляемой мощности, напряжение должно обеспечивать среднее значение диапазона.

Напряжение питания для устройств отбора тепла с регулируемой теплоотдачей должно соответствовать номинальному или среднему значению диапазона номинальных напряжений.

Отклонение напряжения питания от установленного значения не должно превышать 1 %.

Помещение для испытания

Помещение для испытания должно быть соответствующих размеров, обеспечивающих свободную циркуляцию воздуха.

Установка прибора

Прибор устанавливают как при нормальной эксплуатации в соответствии с инструкциями изготовителя.

Если прибор предназначен для закрепления на стене или для встраивания, то стенд с поверхностью, равной размерам проекции прибора на стенде, должен быть изготовлен из фанеры толщиной 20 мм и окрашен в матово-черный цвет.

Подготовка к измерению

Перед испытаниями прибор выдерживают некоторое время в условиях как при нормальной эксплуатации. При этом прибор высушивают от излишней влажности.

При подготовке к измерению прибор работает в течение нескольких рабочих циклов при номинальной потребляемой мощности, пока не будут достигнуты в двух последующих циклах одинаковые значения температуры, потребления энергии или теплоотдачи.

Каждый рабочий цикл состоит из периода зарядки по программе зарядки и периода теплоотдачи в соответствии с требованиями проведения измерений.

9. ГАБАРИТНЫЕ РАЗМЕРЫ

Габаритные размеры прибора (длина, высота, ширина) должны быть измерены при закрытых дверцах, если они имеются, с учетом всех ручек, кнопок и т.п.

Результаты измерений указывают в сантиметрах.

10. ИЗМЕРЕНИЕ МАССЫ

Массу прибора определяют в рабочем состоянии.

Результаты измерений указывают в килограммах с погрешностью ± 5 %.

11. ИЗМЕРЕНИЕ ПОЛНОЙ ЗАРЯДКИ

Полную зарядку измеряют посредством электросчетчика, определяя количество потребляемой энергии на максимальной уставке регулятора для каждой программы зарядки. Результаты указывают в киловатт/часах.

Перед проведением измерений прибор должен быть подвергнут предварительной подготовке, как указано в п. 8, при помощи необходимого количества рабочих циклов в соответствии с программой зарядки.

Для приборов с нерегулируемой теплоотдачей, где скорость теплоотдачи не может регулироваться, измеряют только одно значение полной зарядки для каждой программы зарядки.

Для приборов с регулируемой теплоотдачей измеряют два значения полной зарядки для каждой программы зарядки:

- первое значение полной зарядки измеряют при минимальной теплоотдаче, т.е. когда устройства для регулирования теплоотдачи отключены (например, выключены вентиляторы, заслонки; клапаны закрыты);

- второе значение полной зарядки измеряют при нормальной теплоотдаче, т.е. когда устройства для регулирования тепла выключены во время периода зарядки, и затем теплоотдачу регулируют как при обычной эксплуатации во время периода дополнительного рабочего цикла 24 ч после периода зарядки, после чего прибор возвращают в нерабочее положение.

Примечание. Если в отопительном приборе используется вентилятор с «увеличенным надувом», то это не считается нормальной теплоотдачей.

Первое значение полной зарядки соответствует неуправляемой теплоотдаче (статистической теплоотдаче).

Второе значение полной зарядки соответствует нормальной теплоотдаче.

12. ХАРАКТЕРИСТИКИ ТЕПЛООТДАЧИ

Характеристики теплоотдачи представляют в виде кривых, показывающих количество тепла, передаваемого прибором в любой момент рабочего цикла и определяемого как функция времени.

Теплоотдачу определяют в ваттах, время указывают в часах.

После подготовки к измерению по п. 8 прибор устанавливают в соответствующем калориметре в начале периода зарядки. Пример калориметра приведен в приложении.

Затем прибор подвергают нескольким рабочим циклам, во время которых фиксируют потребляемую электроэнергию и мгновенную теплоотдачу, после чего строится кривая изменения теплоотдачи как функция времени.

Таким образом, кривые нагрева строят для различных рабочих циклов, описанных в п. 11.

Пример построения кривых теплоотдачи приведен на черт. 1 и 2.

Пример кривых теплоотдачи прибора с управляемой теплоотдачей

Черт. 1

Пример кривых теплоотдачи прибора с неуправляемой теплоотдачей

Черт. 2

Для приборов с регулируемой теплоотдачей, имеющих одну или более ступеней быстрой теплоотдачи, кривую строят также для максимальной теплоотдачи, т.е. в период зарядки устройства для регулировки теплоотдачи находятся в нерабочем состоянии, после периода зарядки их устанавливают в положение, соответствующее максимальной теплоотдаче в течение 8 ч, а затем устройства возвращают в нерабочее состояние.

Примечание. Кривая потребляемой энергии прибора, когда он находится в калориметре, по количеству тепла, выделяемому с поверхности при теплоотдаче, не должна отличаться более чем на 5 % от энергии, потребляемой прибором во время испытаний по п. 11.

Если температура окружающей среды в калориметре влияет на работу терморегулятора зарядки, то регулятор зарядки замыкают накоротко и конец периода зарядки регулируют вручную, так чтобы прибор потреблял то же количество энергии, как в испытаниях по п. 11.

13. ИЗМЕРЕНИЕ ПРЕВЫШЕНИЯ ТЕМПЕРАТУРЫ ПОВЕРХНОСТИ

Измерение температуры проводят на всех поверхностях прибора.

Температуру измеряют при помощи термопар из тонкой проволоки, которые устанавливают так, чтобы уменьшить до минимума воздействие термопары на температуру измеряемой поверхности. Каждую поверхность разделяют на квадраты со стороной, не превышающей 250 мм. Термопары устанавливают в центре квадратов.

Для каждой поверхности прибора определяют среднюю температуру и температуру наиболее горячей точки и указывают в градусах Цельсия.

Решетки для выхода воздуха и площади, отстоящие на 50 мм от этих решеток, исключаются из измерений. Значение 50 мм увеличивают до 100 мм выше решеток, когда последние находятся в вертикальном положении.

Измерения проводят в конце периода зарядки или сразу после первого срабатывания терморегулятора зарядки, если последнее произойдет перед концом зарядки и продолжается до записи максимального значения.

Для электроприборов с регулируемой теплоотдачей измерение проводят во время первых двух циклов по п. 11, т.е. при минимальной отдаче тепла.

14. ИЗМЕРЕНИЕ ШУМА

Метод измерения шума будет определен позднее.

15. УСТАНОВКА

Прибор должен быть снабжен устройствами для крепления к стене или для монтажа прибора на расстоянии от стен.

16. НАЛИЧИЕ КОМПЛЕКТУЮЩИХ

Дополнительные устройства и нагревательные элементы должны быть выявлены и установлены, если прибор снабжен дополнительным нагревательным элементом непосредственного действия.

Дополнительные устройства выявляются также, если предусмотрено присоединение прибора к комнатному терморегулятору.

17. ОПРЕДЕЛЕНИЕ ТИПА УПРАВЛЕНИЯ

Должен быть определен тип управления, если прибор снабжен регулирующим устройством зарядки, который может быть приведен в действие потребителем.

Должен быть определен тип управления, если прибор снабжен устройством, управляющим зарядкой автоматически.

Должен быть определен тип управления, если прибор снабжен устройством, управляющим теплоотдачей при помощи регулирования нагревательных элементов.

Для приборов с регулируемой теплоотдачей должен быть установлен тип управления, если прибор имеет различные скорости теплоотдачи.

ПРИЛОЖЕНИЕ А

Справочное

Калориметрический метод

Настоящий метод определяет теплоотдачу, получаемую от комнатного прибора аккумуляционного типа в заданный момент как функцию времени.

Общее описание метода

Метод состоит из построения кривых (опытным путем):

- тарировочные кривые испытательной аппаратуры или калориметра, например, изменения температуры по сравнению с эталонной как функции получаемого тепла и скорости восстановления воздуха, подаваемого потоком воздуха;

- кривая нагрева аккумуляционного прибора, т.е. изменения той же температуры как функции времени во время зарядки и разрядки нагревательного прибора.

На основании этих двух кривых изменение в теплоотдаче тепла, выходящего в заданный момент как функция времени за цикл 24 ч, получают графически.

Общие характеристики калориметра (черт. 3)

Калориметр представляет собой закрытое со всех сторон испытательное пространство, которое имеет на одной стороне отверстие для входа холодного воздуха, а на противоположной стороне - выходную воздушную трубу, в которой помещен вентилятор с регулируемой скоростью вращения, предназначенный для равномерного отсасывания горячего воздуха.

Внутренние размеры калориметра должны быть такими, чтобы воздушный поток вокруг испытуемого прибора практически не влиял на теплоотдачу поверхности прибора.

Стены калориметра должны быть изготовлены из материала, имеющего хорошие изоляционные свойства и с малой тепловой инерцией.

Во входное и выходное отверстия помещают термопары для измерения разности температур (Δt) воздуха на входе и выходе.

Пример калориметра, расположенного горизонтально

Черт. 3

Тарировка калориметра

В калориметр помещают нагреватель (прибор) непосредственного действия с малой тепловой энергией. При постоянном расходе воздуха определяют разность температур (Δt) воздуха на входе и выходе и зависимость этой разности от мощности, потребляемой нагревателем.

Это измерение проводят при нескольких значениях расхода воздуха (тарировочная кривая, см. черт. 4).

Тарировочная кривая калориметра

Черт. 4

Разность температур (Dt) может быть выражена в милливольтах в соответствии с записанным напряжением термопар.

Конструкция калориметра

В качестве примера описан калориметр, указанный выше. Он предназначен для испытательного оборудования с отдачей тепла, не превышающей 10 кВт, и размерами приблизительно 1600 мм шириной, 1000 мм высотой и 500 мм глубиной.

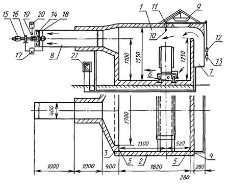
А.1. Испытательная камера (черт. 5)

1 - испытательная камера; 2 - дверца; 3 - шарнирная петля; 4 - крючки; 5 - полоска из пористой резины; 6 - U-образный профиль; 7 - входное отверстие; 8 - выходная труба; 9 - втулка; 10 - ограничитель температуры; 11 - ролик; 12 - противовес; 13 - выключатель; 14 - вентилятор; 15 - двигатель; 16 - электромагнитное сцепление; 17 - регулятор; 18 - тахометр; 19 - датчик скорости вращения; 20 - измерительный прибор; 21 - самопишущий милливольтметр

Черт. 5

Испытательная камера (7) представляет собой кожух из пористого полистирола толщиной 100 мм с внутренними размерами:

- высота 1530 мм;

- длина 1820 мм;

- ширина 2000 мм.

Коэффициент теплопроводности полистирола плотностью 15 - 20 кг/м3 составляет приблизительно 0,04 Вт/(м · К).

Соединение между панелями осуществлено склеиванием с уплотнением из силиконового каучука.

Наружные грани усилены углообразным пластмассовым профилем.

Для достижения высокой точности измерений необходимо обеспечить хорошую теплоизоляцию и уплотнение.

Для покрытия внутренней поверхности используют тонкую алюминиевую фольгу или аналогичный материал.

Прибор помещают в калориметре через боковую стенку - дверцу (2), которая подвешивается на шарнирных петлях (3) и фиксируется крючками (4).

Уплотнение из пористой резины (5) обеспечивает воздухонепроницаемость между боковой стенкой и остальным пространством.

Два U-образных профиля (6) крепят к полу так, чтобы прибор мог быть помещен в калориметр с помощью тележки.

Этот профиль должен быть прикреплен к полу посредством деталей, вставленных в полистирол.

Необходимо следить при этом, чтобы потери тепла были минимальными. Под тележкой не должно быть потока воздуха.

Высота тележки не должна превышать 100 мм.

Входное отверстие (7) должно быть расположено на высоте 500 мм от пола, а размер отверстия должен быть 280´2000 мм.

Выходная труба (8) должна быть цилиндрической формы диаметром 400 мм и длиной 2000 мм. Цилиндрическое отверстие должно быть соединено с наклонными поверхностями калориметра, чтобы соединения имели закругления с целью уменьшения турбулентности потока воздуха.

Калориметр должен быть снабжен устройством для защиты от перегрева. Это устройство состоит из двух полистироловых квадратных втулок (9) размером 400´400 мм, имеющих скошенные стороны и плотно насаженных в отверстиях на верхней части калориметра.

Если во внутреннем пространстве температура превышает 70 °C, механическое устройство ограничения температуры (10) освобождает ролик (11), после чего противовес (12) открывает втулки и одновременно отключает выключателем (13) питание.

А.2. Метод измерения

Метод калориметра основан на взаимосвязи количества введенного тепла с помощью дополнительного нагревателя мгновенного действия и превышения температуры потока воздуха, проходящего через калориметр.

Этот метод требует следующих трех условий:

- наличия постоянного потока воздуха (п. А.2.1);

- точной записи повышения температуры воздуха, проходящего через прибор (п. А.2.2);

- поддержания постоянной окружающей температуры для калориметра (п. А.2.3).

А.2.1. Обеспечение постоянного потока воздуха

Воздушный поток создается вентилятором (14), расположенным в конце выходной трубы.

Диаметр корпуса вентилятора должен соответствовать диаметру выходного отверстия (в данном примере - 400 мм).

Постоянный поток воздуха обеспечивается поддержанием постоянной скорости вращения вентилятора посредством порошкового электромагнитного сцепления (16), расположенного между двигателем (15) и вентилятором.

В данном примере расход воздуха - 1,2 м3/с при скорости вращения 1400 об/мин.

Двигателем служит асинхронный электродвигатель со скоростью вращения 1400 об/мин и мощностью 250 В.

Электромагнитное сцепление электрически соединено с электронным регулятором (17), который соединен с тахометром (18), скорость вращения которого совпадает со скоростью вращения вентилятора.

Напряжение, подаваемое на сцепление, обеспечивает необходимое скольжение для поддержания постоянной скорости вращения вентилятора.

Отсчет скорости вращения осуществляется прибором (20), соединенным с магнитным датчиком скорости вращения (19). Прибор имеет шкалу, градуированную в оборотах в минуту.

А.2.2. Измерение превышения температуры

Для измерения средней температуры поступающего и выходящего воздуха в местах входа воздуха располагают достаточное количество термопар, например 20 (черт. 6), и такое же количество термопар в местах выхода воздуха (черт. 7). С помощью этого метода измеряют и определяют разность температур на входе и выходе воздуха и затем определяют среднюю температуру.

Термопары подсоединяют последовательно, как указано на черт. 8, причем присоединения проводников идентичные.

Расположение термопар у входного отверстия

Черт. 6

Расположение термопар у выходного отверстия

Черт. 7

1 - записывающий прибор; 2 - термопары входного отверстия; 3 - соединительный провод; 4 - термопары выходного отверстия

Черт. 8

Термопары должны быть соединены с записывающим милливольтметром (класс точности не хуже 0,5), имеющим диапазон измерения 0 - 5 мВ, 0 - 10 мВ, 0 - 12 мВ.

А.2.3. Температура окружающей среды калориметра

Температура окружающей среды калориметра должна быть (23 ± 2) °C.

А.3. Тарировка

Зависимость между теплоотдачей прибора во время испытания и превышением температуры воздуха, проходящего через калориметр, представляют в виде характеристик различных скоростей вращения вентилятора (т.е. нескольких значений расхода воздуха, черт. 9).

Кривые скоростей вращения

Черт. 9

Рекомендуемое превышение температуры должно быть не более 15 °C.

Тарировку проводят с помощью нагревательного прибора непосредственного действия с малой инерционностью, установленного внутри калориметра, и определением превышения температуры воздуха для постоянного воздушного потока и нормальной теплоотдачи.

Характеристику (разность температур) определяют при каждом значении скорости вращения вентилятора для трех значений мощности нагревателя.

 

ИНФОРМАЦИОННЫЕ ДАННЫЕ

1. ВНЕСЕН Министерством электротехнической промышленности и приборостроения СССР

2. Постановлением Государственного комитета СССР по управлению качеством продукции и стандартам от 27.09.90 № 2567 введен в действие государственный стандарт СССР ГОСТ 28669-90, в качестве которого непосредственно применен международный стандарт Международной электротехнической комиссии МЭК 531-76, с 01.01.92

3. Стандарт полностью соответствует СТ СЭВ 4674-84

4. ПЕРЕИЗДАНИЕ. Июнь 2005 г.

 

СОДЕРЖАНИЕ

1. Область распространения. 2

2. Цель. 2

3. Термины, используемые для обозначения приборов. 2

4. Термины, используемые для классификации приборов. 2

5. Термины, относящиеся к характеристике приборов. 2

6. Термины, применяемые в методах измерения функциональных характеристик. 2

7. Перечень измерений. 3

8. Общие условия измерений. 3

9. Габаритные размеры.. 4

10. Измерение массы.. 4

11. Измерение полной зарядки. 4

12. Характеристики теплоотдачи. 4

13. Измерение превышения температуры поверхности. 5

14. Измерение шума. 6

15. Установка. 6

16. Наличие комплектующих. 6

17. Определение типа управления. 6

Приложение А Калориметрический метод. 6