Steam-water heaters for heat supply systems. General specifications

ГОСТ 28679-90

МЕЖГОСУДАРСТВЕННЫЙ СТАНДАРТ

 

ПОДОГРЕВАТЕЛИ ПАРОВОДЯНЫЕ
СИСТЕМ ТЕПЛОСНАБЖЕНИЯ

ОБЩИЕ ТЕХНИЧЕСКИЕ УСЛОВИЯ

 

 

Москва
Стандартинформ
2005

 

МЕЖГОСУДАРСТВЕННЫЙ СТАНДАРТ

ПОДОГРЕВАТЕЛИ ПАРОВОДЯНЫЕ
СИСТЕМ ТЕПЛОСНАБЖЕНИЯ

Общие технические условия

Steam-water heaters for heat supply systems. General specifications

ГОСТ
28679-90

Дата введения 01.01.92

Настоящий стандарт распространяется на горизонтальные пароводяные подогреватели с плавающей головкой для систем теплопотребления (далее - подогреватели) климатических исполнений У3, У4, ТВ4 и ТС4 по ГОСТ 15150, изготавливаемые для нужд народного хозяйства и экспорта.

Требования настоящего стандарта являются обязательными.

1. ТИПЫ, ОСНОВНЫЕ ПАРАМЕТРЫ И РАЗМЕРЫ

1.1. Подогреватели изготавливают следующих типов:

ПП1 - с эллиптическими днищами;

ПП2 - с плоскими днищами.

1.2. Основные параметры рабочих сред подогревателей должны соответствовать приведенным в табл. 1.

Таблица 1

Наименование параметра

Значение для режима

1

2

3

Длина трубок, мм

3000

2000

Расчетное давление сетевой воды, МПа (кгс/см2), не более

1,6 (16,0)

Температура сетевой воды, °C:

 

 

 

- на входе, не менее

70

- на выходе, не менее

150

130

95

Рабочее давление греющего пара, МПа (кгс/см2), не более

0,7 (7,0)

0,7 (7,0)

0,2 (2,0)

Температура греющего пара на входе, °C, не более

250

Число ходов сетевой воды

4

2

Гидравлическое сопротивление трубной системы, МПа

0,06

0,03

0,021

1.3. Основные габаритные и присоединительные размеры подогревателей должны соответствовать приведенным в приложении 1 (черт. 1 и 2).

1.4. Условное обозначение подогревателей должно приниматься согласно следующей схеме:

XXX - XXX - X - X - XXX (XX)

1         2       3      4       5

1 - тип подогревателя; 2 - площадь поверхности теплообмена, м2; 3 - давление греющего пара, МПа; 4 - число ходов сетевой воды, шт; 5 - вид климатического исполнения по ГОСТ 15150.

Пример условного обозначения подогревателя пароводяного с эллиптическими днищами, площадью поверхности теплообмена 24,4 м2, с давлением греющего пара 0,7 МПа, четырехходового по сетевой воде, климатического исполнения У4:

ПП2-24,4-0,7-4-У4

То же, с площадью теплообмена 50,5 м2, с давлением греющего пара 0,2 МПа, двухходового по сетевой воде, исполнения ТВ4:

ПП2-50,5-0,2-2-ТВ4

1.5. Рекомендации по выбору подогревателей изложены в приложении 2.

1.6. Допускается использование подогревателей на другие параметры нагреваемой среды, не превышающие установленные в настоящем стандарте.

2. ТЕХНИЧЕСКИЕ ТРЕБОВАНИЯ

2.1. Характеристика подогревателей

2.1.1. Подогреватели изготавливают в соответствии с требованиями настоящего стандарта и «Правил устройства и безопасной эксплуатации сосудов, работающих под давлением», утвержденных Госпроматомнадзором СССР, по конструкторской документации, утвержденной в установленном порядке.

Подогреватели, изготавливаемые для экспорта, должны соответствовать требованиям настоящего стандарта и условиям договора между предприятием и внешнеэкономической организацией.

2.1.2. Основные характеристики подогревателей должны соответствовать приведенным в табл. 2.

Таблица 2

Наружный диаметр корпуса, мм

Площадь поверхности теплообмена, м2, для режимов

Расчетный тепловой поток, МВт (Гкал/ч), для режимов

Расход нагреваемой сетевой воды, т/ч, для режимов

Площадь сечения для прохода воды, м, для режимов

1; 2

3

1

2

3

1

2

3

1

2; 3

325

9,5

6,3

1,32 (1,13)

1,89 (1,63)

0,67 (0,58)

16,1

32,4

29,2

0,0026

0,0052

426

17,2

11,4

2,41 (2,08)

3,46 (2,98)

1,24 (1,07)

29,4

59,0

53,4

0,0048

0,0096

478 (480)

24,4

16,0

3,41 (2,94)

4,90 (4,22)

1,76 (1,52)

41,7

83,5

76,0

0,0068

0,0136

530

32,0

21,2

4,50 (3,88)

6,45 (5,57)

2,31 (1,99)

55,0

110,5

103,5

0,0090

0,0180

630

53,9

35,3

7,60 (6,55)

11,65 (9,20)

3,92 (3,38)

93,0

182,0

169,0

0,0151

0,0302

720

76,8

50,5

10,90 (9,40)

15,32 (13,20)

5,83 (5,02)

133,0

261,0

251,0

0,0216

0,0432

820

108,0

71,0

15,42 (13,30)

21,00 (18,10)

7,92 (6,84)

188,0

368,0

342,0

0,0302

0,0604

2.1.3. Подогреватели должны иметь следующие показатели надежности:

- полный назначенный срок службы Тсл.п.н - не менее 15 лет;

- средний срок службы между капитальными ремонтами Тк.р - не менее 5 лет;

- средний ресурс между капитальными ремонтами Тр - не менее 40000 ч;

- наработка до отказа То - не менее 8000 ч.

2.2. Требования к материалам

2.2.1. Детали и сборочные единицы подогревателей следует изготавливать из материалов и полуфабрикатов, предусмотренных «Правилами устройства и безопасной эксплуатации сосудов, работающих под давлением», утвержденными Госпроматомнадзором СССР, и указанных в конструкторской документации.

2.3. Комплектность

2.3.1. В комплект подогревателя должны входить:

- подогреватель в сборе;

- детали крепления изоляции по ГОСТ 17314 для аппаратов диаметром корпуса 530 мм и более;

- труба кольцеобразная - 1 шт.;

- вентиль муфтовый Dy 15, Ру 1,6 - 2 шт.;

- кран трехходовой Dy 15, Ру 1,6 - 1 шт.;

- паспорт по НТД - 1 шт.

2.3.2. Комплектность подогревателей для экспорта должна соответствовать условиям договора между предприятием и внешнеэкономической организацией.

2.3.3. Для подогревателей, изготавливаемых для народного хозяйства, по согласованию с заказчиком допускается изготовление без фланцев на штуцерах корпуса.

2.3.4. Комплектность подогревателей для замены определяют по согласованию между изготовителем и потребителем.

2.4. Маркировка

2.4.1. Каждый подогреватель снабжают фирменной табличкой по ГОСТ 12971 из белой жести по ГОСТ 13345, на которой должны быть нанесены следующие данные:

- наименование предприятия-изготовителя;

- наименование подогревателя и его обозначение;

- заводской номер, год выпуска;

- рабочее, расчетное и пробное давление в трубной системе и в межтрубном пространстве, МПа;

- максимально допустимая температура греющего пара, °C;

- масса подогревателя, кг.

2.4.2. В тексте фирменной таблички подогревателей для экспорта должна быть дополнительная надпись «Сделано в (страна-изготовитель)».

2.4.3. Текст фирменной таблички рекомендуется выполнять методом травления, фотохимическим способом, трафаретной печатью и др.

Маркировку наносят ударным способом металлическими клеймами.

2.4.4. Места установки табличек должны быть указаны в конструкторской документации.

2.4.5. Транспортная маркировка подогревателей - по ГОСТ 14192.

2.4.6. Транспортная маркировка подогревателей для экспорта должна соответствовать ГОСТ 14192 и условиям договора между предприятием и внешнеэкономической организацией.

2.5. Окраска, консервация и упаковка

2.5.1. Подготовка наружных поверхностей подогревателя перед окраской должна соответствовать ГОСТ 9.402.

2.5.2. Качество окраски должно соответствовать VII классу по ГОСТ 9.032, а по условиям эксплуатации - группе УЗ по ГОСТ 9.104.

2.5.3. Качество окрашенной поверхности подогревателей для экспорта должно соответствовать IV классу по ГОСТ 9.032.

2.5.4. Резьбу крепежных изделий, торцы и фаски штуцеров, присоединительные поверхности фланцев и фирменную табличку подогревателя консервируют смазкой К-17 ГОСТ 10877.

Срок действия консервации - 3 года. По истечении указанного срока изделие подлежит переконсервации.

2.5.5. Крепежные изделия подогревателей для экспорта должны иметь антикоррозионное покрытие.

Допускается применение крепежных деталей из сталей марок 12X13, 20X13, 30X13, 40X13, ГОСТ 5632 без антикоррозионных покрытий.

2.5.6. Подогреватели для экспорта упаковывают в деревянные ящики типов IV - VI по ГОСТ 10198 и ГОСТ 2991. Ящики должны соответствовать требованиям ГОСТ 24634.

2.5.7. Тара и упаковка подогревателей для экспорта должны соответствовать требованиям категории КУ-3 по ГОСТ 23170 и условиям договора между предприятием и внешнеэкономической организацией.

2.5.8. Упаковка изделий, предназначенных в страны с умеренным климатом, но транспортируемых через районы с тропическим климатом, должна обеспечивать защиту от воздействия всех факторов тропического климата по ГОСТ 15150.

2.5.9. Все отверстия, штуцеры и присоединительные фланцы должны быть закрыты пробками или заглушками.

2.5.10. Подогреватели, изготовленные для нужд народного хозяйства, транспортируют без упаковки. Пакет с упаковочным листом укладывают в один из штуцеров водяной камеры.

2.5.11. Техническая и товаросопроводительная документация подогревателей для экспорта должна соответствовать условиям договора между предприятием и внешнеэкономической организацией.

3. ПРИЕМКА

3.1. Для проверки соответствия подогревателей требованиям настоящего стандарта проводят приемосдаточные и периодические испытания. Объем испытаний - в соответствии с табл. 3.

Таблица 3

Наименование испытаний

Номер пункта, таблицы, приложения

Вид испытаний

приемосдаточные

периодические

1. Проверка присоединительных и габаритных размеров

Приложение 1

+

-

2. Проверка величины теплового потока

Табл. 2, п. 4.5

-

+

3. Проверка гидравлического сопротивления внутренней поверхности трубной системы

Табл. 2, п. 4.5

-

+

4. Проверка качества сварных соединений

П. 2.1.1

+

-

5. Гидравлические испытания

П. 4.4

+

+

6. Проверка комплектности, правильности нанесения маркировки и упаковки

Пп. 2.3, 2.4, 2.5

+

-

7. Проверка наличия сопроводительной документации

П. 2.5.11

+

-

8. Проверка массы

Приложение 1, п. 4.2

-

+

Примечание. Знак «+» означает, что соответствующие испытания проводят, знак «-» - не проводят.

3.2. Приемосдаточным испытаниям подвергают каждый подогреватель на предприятии-изготовителе.

Подогреватели, не соответствующие хотя бы одному требованию настоящего стандарта и конструкторской документации, возвращают на доработку, и после устранения дефектов подвергают повторным приемосдаточным испытаниям. При обнаружении дефектов при повторных испытаниях подогреватель бракуют.

3.3. Периодические испытания проводят в эксплуатационных условиях или на испытательном стенде один раз в пять лет. Испытаниям подвергают подогреватель из типоразмерного ряда, выпускаемого на предприятии-изготовителе.

Периодическим испытаниям подвергают подогреватели, прошедшие приемосдаточные испытания.

4. МЕТОДЫ ИСПЫТАНИЙ И КОНТРОЛЯ

4.1. Каждый подогреватель подвергают приемосдаточным испытаниям, проводя следующие виды контроля:

- правильность сборки - визуальным контролем;

- присоединительные и габаритные размеры - измерительным контролем;

- прочность и плотность - гидравлическими испытаниями;

- наличие комплектующих изделий - визуальным контролем;

- наличие и качество маркировки и упаковки - визуальным контролем;

- наличие сопроводительной документации - визуальным контролем.

4.2. Проверку массы подогревателей проводят взвешиванием.

4.3. Измерительный контроль геометрических размеров осуществляют штангенциркулем по ГОСТ 166 и линейкой по ГОСТ 427.

Объем контроля устанавливают технологической документацией. Объем контроля подогревателей для экспорта - сплошной.

4.4. Гидравлическим испытаниям пробным давлением по паровой и водяной полости подвергают каждый подогреватель в соответствии с «Правилами устройства и безопасной эксплуатации сосудов, работающих под давлением», утвержденными Госпроматомнадзором СССР.

Значение пробного давления и результаты испытаний заносят в паспорт подогревателя и в журнал приемки.

4.5. Теплогидравлические характеристики подогревателей проверяют при проведении периодических испытаний в эксплуатационных условиях или на испытательном стенде с помощью штатных и дополнительно установленных контрольно-измерительных приборов по программе и методике, разработанной и утвержденной в установленном порядке.

4.6. Проверку подогревателей на соответствие требованиям надежности проводят по программе и методике, утвержденной в установленном порядке.

5. ТРАНСПОРТИРОВАНИЕ И ХРАНЕНИЕ

5.1. Подогреватели перевозят любым видом транспорта в соответствии с правилами, действующими на транспорте данного вида.

Условия транспортирования в части воздействия климатических факторов - 3 или 4 по ГОСТ 15150 (для подогревателей на экспорт - 9 по ГОСТ 15150), в части воздействия механических факторов - Ж по ГОСТ 23170.

5.2. Погрузку и крепление подогревателей проводят по чертежам предприятия-изготовителя.

5.3. Условия хранения - 7 или 9 по ГОСТ 15150.

5.4. Подогреватели, хранящиеся на открытых площадках, предохраняют от соприкосновения с грунтом путем установки их на прокладки.

5.5. Не допускается хранение подогревателей вблизи складов химикатов, аммиака и других активных газов.

6. УКАЗАНИЯ ПО ЭКСПЛУАТАЦИИ

6.1. Подогреватели должны быть теплоизолированы при монтаже согласно требованиям «Правил эксплуатации теплоиспользующих установок и тепловых сетей», утвержденных Госпроматомнадзором.

6.2. Подогреватели устанавливают в закрытом помещении и эксплуатируют при температуре окружающего воздуха свыше 0 °C.

6.3. При эксплуатации должны соблюдаться требования по режиму работы подогревателя и его безопасному обслуживанию, своевременно проверяться исправность арматуры, контрольно-измерительных приборов и предохранительных устройств.

6.4. При вынужденной кратковременной остановке в работе подогревателя и дренировании трубной системы и парового пространства заполнение трубной системы проводят после охлаждения трубных досок.

6.5. Не допускается проводить ремонт подогревателя и его элементов во время работы подогревателя или при наличии в нем давления.

7. ГАРАНТИИ ИЗГОТОВИТЕЛЯ

7.1. Изготовитель гарантирует соответствие подогревателя требованиям настоящего стандарта при соблюдении условий транспортирования, монтажа, хранения и эксплуатации.

7.2. Гарантийный срок эксплуатации подогревателей - 24 мес. с момента ввода в эксплуатацию, но не более 36 мес. со дня отгрузки, а для подогревателей для экспорта - с момента проследования через Государственную границу.

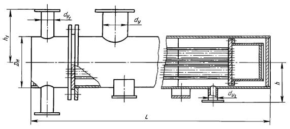
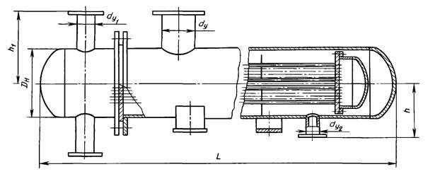
ПРИЛОЖЕНИЕ 1

Справочное

ОСНОВНЫЕ ГАБАРИТНЫЕ И ПРИСОЕДИНИТЕЛЬНЫЕ РАЗМЕРЫ ПОДОГРЕВАТЕЛЕЙ

(черт. 1, 2; табл. 4)

Подогреватель типа ПП2

Черт. 1

Подогреватель типа ПП1

Черт. 2

Таблица 4

Основные габаритные и присоединительные размеры подогревателей

Размеры в мм

Dн

dy

dy1

dy2

h

h1

L при длине трубок, мм

Масса, кг, не более, при длине трубок, мм

2000

3000

2000

3000

325

100

100

50

340

293

2606

3606

380

470

426

150

100

50

370

348

2650

3650

570

700

478 (480)

150

100

50

405

375

2720

3720

710

870

503

200

125

80

440

420

2785

3785

900

1090

630

250

150

80

518

500

2885

3835

1300

1560

720

300

200

125

560

560

2985

3985

1630

2000

820

350

200

125

605

605

3135

4135

2150

2600

ПРИЛОЖЕНИЕ 2

Справочное

РЕКОМЕНДАЦИИ ПО ВЫБОРУ ТИПОРАЗМЕРА ПОДОГРЕВАТЕЛЯ

Требуемый типоразмер подогревателя определяют заданным тепловым потоком или расходом нагреваемой сетевой воды и температурным режимом его работы.

Выбор подогревателя рекомендуется проводить по графику зависимости теплового потока от расхода нагреваемой сетевой воды при нагреве ее по температурным графикам теплосети 70/150 °C, 70/130 °C, 70/95 °C.

Пример 1 - Выбор подогревателя для температурного графика 70/150 °C с тепловым потоком 12 Гкал/ч (13,92 МВт).

Из точки, соответствующей 12 Гкал/ч, проводим горизонтальную линию до пересечения с линией температурного графика 70/150 °С. Точке пересечения соответствует цифра 108 м2, что соответствует подогревателю ПП1-108-7-IV.

Пример 2 - Выбор подогревателя для температурного графика 70/95 °C с расходом нагреваемой воды 200 т/ч.

Из точки, соответствующей 200 т/ч, проводим вертикальную линию до пересечения с линией температурного графика 70/95 °С. Точке пересечения соответствует цифра 50,5 м2, что соответствует подогревателю ПП1-50-2-II.

График для выбора подогревателя

Черт. 3

 

ИНФОРМАЦИОННЫЕ ДАННЫЕ

1. РАЗРАБОТАН И ВНЕСЕН Министерством тяжелого машиностроения СССР

2. УТВЕРЖДЕН И ВВЕДЕН В ДЕЙСТВИЕ Постановлением Государственного комитета СССР по управлению качеством продукции и стандартам от 28.09.90 № 2600

3. ВВЕДЕН ВПЕРВЫЕ

4. ССЫЛОЧНЫЕ НОРМАТИВНО-ТЕХНИЧЕСКИЕ ДОКУМЕНТЫ

Обозначение НТД, на который дана ссылка

Номер раздела, пункта

ГОСТ 9.032-74

2.5.2, 2.5.3

ГОСТ 9.104-79

2.5.2

ГОСТ 9.402-80

2.5.1

ГОСТ 166-89

4.3

ГОСТ 427-75

4.3

ГОСТ 2991-85

2.5.6

ГОСТ 5632-72

2.5.5

ГОСТ 10198-91

2.5.6

ГОСТ 10877-76

2.5.4

ГОСТ 12971-67

2.4.1

ГОСТ 13345-85

2.4.1

ГОСТ 14192-96

2.4.5, 2.4.6

ГОСТ 15150-69

Вводная часть, 1.4, 2.5.8, 5.1, 5.3

ГОСТ 17314-81

2.3.1

ГОСТ 23170-78

2.5.7, 5.1

ГОСТ 24634-81

2.5.6

5. Ограничение срока действия снято по протоколу № 7-95 Межгосударственного совета по стандартизации, метрологии и сертификации (ИУС 11-95)

6. ПЕРЕИЗДАНИЕ. Июнь 2005 г.

 

СОДЕРЖАНИЕ

1. Типы, основные параметры и размеры.. 1

2. Технические требования. 2

3. Приемка. 4

4. Методы испытаний и контроля. 5

5. Транспортирование и хранение. 5

6. Указания по эксплуатации. 5

7. Гарантии изготовителя. 6

Приложение 1 Основные габаритные и присоединительные размеры подогревателей. 6

Приложение 2 Рекомендации по выбору типоразмера подогревателя. 7