
ГОСУДАРСТВЕННЫЙ СТАНДАРТ СОЮЗА ССР
ОБОРУДОВАНИЕ СЛИВО-НАЛИВНОЕ ДЛЯ ГОРЮЧИХ
И ЛЕГКОВОСПЛАМЕНЯЮЩИХСЯ ЖИДКОСТЕЙ
СТОЯК СЛИВО-НАЛИВНОЙ
ОДИНОЧНЫЙ
С РУЧНЫМ НАСОСОМ
ГОСТ 4609-49
ГОСУДАРСТВЕННЫЙ СТРОИТЕЛЬНЫЙ КОМИТЕТ СССР
Москва
ГОСУДАРСТВЕННЫЙ СТАНДАРТ СОЮЗА ССР
|
Оборудование сливо-наливное для горючих СТОЯК СЛИВО-НАЛИВНОЙ ОДИНОЧНЫЙ С РУЧНЫМ Filling-draining equipment for flammable and highly Single filling-draining standpipe with hand manual pump |
ГОСТ |
Дата введения 01.05.49
Настоящий стандарт распространяется на одиночные сливо-наливные стояки, служащие для ручного, механизированного или самотечного слива горючих и легковоспламеняющихся жидкостей из вагонов - цистерн с помощью ручного насоса, а также для налива в вагоны - цистерны перекачивающими средствами базы или склада горючего.
Настоящий стандарт устанавливает внешние строительные и монтажные размеры стояков.
Примечание. На складах горючих и легковоспламеняющихся жидкостей с емкостью хранения продукта до 300 т, а также на складах Министерства обороны СССР допускается применение сливо-наливных стояков других типов.
1. В зависимости от величины условного прохода Dу различают следующие марки стояков:
С80 - при Dу 80 мм;
С100 » Dу 100 мм.
2. При выборе диаметра стояков рекомендуется руководствоваться следующими основными соображениями:
а) стояки с Dу 80 мм рекомендуется применять при отсутствии обеспеченного самотечного слива, когда слив от начала до конца производится ручным насосом или когда ручной насос служит только для зарядки сифона, а дальнейшая откачка производится центробежным насосом с низкой всасывающей способностью (2 - 3 м);
б) стояки с Dу 100 мм рекомендуется применять во всех остальных случаях, когда слив надежно обеспечивается самотеком или производится при помощи поршневых насосов или иных, гарантирующих надежное всасывание.
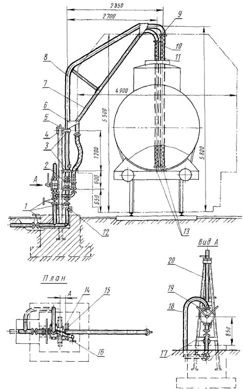
3. Конструкция и размеры стояка должны соответствовать указанным в таблице и на чертеже.
|
D |
Dу |
А |
|
|
С80 |
89×4 - 5 |
80 |
150 |
|
С100 |
108×4 - 5 |
100 |
160 |
Примечания:
1. На складах горючих или легковоспламеняющихся жидкостей с незначительным прибытием железнодорожных цистерн под слив или налив (склады при промпредприятиях, Министерства обороны СССР и т.п.) устройство зачистного шланга не обязательно (устройство подкоса, приваренного к стояку 8 косынками, обязательно во всех случаях).
2. Заземление стояка осуществляется по проекту.
4. Допускаемые отклонения в размерах устанавливаются следующие:
а) по высоте стояка................................................................................................ ± 50 мм
б) » вылету стояка.................................................................................................. +20 »
в) » размеру А......................................................................................................... ± 2 »
г) » всем остальным размерам.............................................................................. ± 10 »
5. Для изготовления стояка должны применятся следующие материалы и изделия:
а) для собственно стояка, обвязки насоса и гнутых отводов - трубы стальные бесшовные по ГОСТ 8731-74 и ГОСТ 8732-78;
б) для опорных стоек стояка и насоса - сталь прокатная (швеллер № 16) по ГОСТ 8240-72 (любой марки);
в) для опор насоса - сталь прокатная (любой марки) по ГОСТ 8510-72;
г) для хомутов, накладок, косынок, подкладок и заглушки - прокат листовой (любой марки) по ГОСТ 19903-74;
д) для ограничителя, стопора ограничителя, рукоятки для поворота стояка - сталь круглая (любой марки) по ГОСТ 2590-71;
е) для гибких шлангов - резиновые рукава по ГОСТ 5398-76;
ж) устройство для соединения гибких шлангов с трубами (изготовляется по отдельным рабочим чертежам);
з) поворотный сальник;
и) наконечники к шлангам;
к) задвижки чугунные на давление 2,5 - 6,0 кгс/см2 - по ГОСТ 3706-83;
л) вентиль - по ГОСТ 5761-74;
м) фланцы стальные - по ГОСТ 12820-80;
н) болты - по ГОСТ 7795-70;
о) гайки - по ГОСТ 5915-70, ГОСТ 5918-73;
п) шайбы - по ГОСТ 11371-78;
р) шплинты - по ГОСТ 397-79;
с) ручной насос производительностью 15 - 20 м3/ч;
т) прокладки из тряпичного картона или фибры.
1 - задвижки; 2 - поворотный сальник; 3 - хомуты; 4 - накладка; 5 - стопор ограничителя; 6 - косынка; 7 - зачистная труба диаметром (48×3, 5 - 4) мм; 8 - стояк D; 9 - устройство для соединения гибких шлангов с трубами; 10 - гибкий шланг бензостойкий Dу 80 (100) мм; 11 - гибкий шланг бензостойкий Dу 40 мм; 12 - патрубок для нижнего слива; 13 - наконечники к шлангам; 14 - ограничитель; 15 - рукоятка для поворота стояка; 16 - вентиль; 17 - накладка; 18 - труба диаметром (89×4 - 5) мм; 19 - ручной насос; 20 - опорная стойка из швеллера № 16
Примечания:
1. Опорные стойки стояка и насоса допускается изготовлять из уголков стальных по ГОСТ 8509-72 или ГОСТ 8510-72 равнопрочного швеллеру № 16 сечения.
2. Все фланцевые соединения стояка должны иметь перемычки, изготовленные из полосы красной меди или латуни толщиной 0,5 - 1 мм, для создания непрерывности электрической цепи.
6. Изготовление стояка должно обеспечивать надежную работу всей конструкции в целом.
7. Резьбовые соединения должны быть на сурике или на свинцовом глете с подмоткой льняного волокна.
8. Ось стояка должна быть строго вертикальна.
9. Гнутье верхней части стояка производить в горячем состоянии во избежание трещин и вмятин в местах сгибов.
Примечание. Изготовление стояка может быть осуществлено из отдельных отрезков трубы (не более двух) с последующей сваркой их встык.
10. После испытания и приемки стояка он должен быть окрашен масляной краской за 2 раза.
11. Каждый изготовленный стояк должен быть подвергнут техническому контролю изготовителя.
Контроль производится посредством:
а) внешнего осмотра стояка с поверкой его размеров, форм и качества изготовления;
б) проверки легкости вращения верха стояка;
в) проверки герметичности и надежности работы всей конструкции в целом.
12. Внешним осмотром устанавливается соответствие всех составных частей стояка требованиям настоящего стандарта.
13. Проверка на легкость вращения верха стояка осуществляется поворотом верха стояка за рукоятку. Верх стояка должен плавно, без заеданий поворачиваться в пределах, допускаемых ограничителем.
14. Проверка герметичности и надежности работы всей конструкции в целом производится пробной прокачкой продукта, для которого предназначается стояк.
15. Стояк считается выдержавшим испытание, если в течение 15 мин после начала прокачки на теле стояка, в обвязке насоса, в фланцевых и резьбовых соединениях не будет наблюдаться течи.
При неудовлетворительных результатах этого испытания стояк приемке не подлежит.
16. Все обнаруженные при проверках дефекты должны быть устранены.
17. Дефекты сварных швов устраняются вторичной подваркой с предварительной зачисткой их. Подчеканка швов не допускается.
18. После устранения дефектов стояк должен быть подвергнут повторному испытанию.
ИНФОРМАЦИОННЫЕ ДАННЫЕ
1. ВНЕСЕН Главнефтеснабом при Госснабе СССР
2. УТВЕРЖДЕН Всесоюзным комитетом стандартов 12.01.49
3. ВВЕДЕН впервые
4. ССЫЛОЧНЫЕ НОРМАТИВНО-ТЕХНИЧЕСКИЕ ДОКУМЕНТЫ (НТД)
|
Номер пункта |
|
|
5p |
|
|
ГОСТ 2590-71 |
5д |
|
ГОСТ 3706-83 |
5к |
|
5е |
|
|
5л |
|
|
5о |
|
|
5о |
|
|
5н |
|
|
ГОСТ 8240-72 |
5б |
|
ГОСТ 8509-72 |
5, примечание 1 |
|
ГОСТ 8510-72 |
|
|
5а |
|
|
5а |
|
|
5n |
|
|
5м |
|
|
5г |
5. ПЕРЕИЗДАНИЕ. Май 1987 г.
СОДЕРЖАНИЕ