Wood. Determination method of watertightness

ГОСТ 16483.15-72

МЕЖГОСУДАРСТВЕННЫЙ СТАНДАРТ

ДРЕВЕСИНА

МЕТОД ОПРЕДЕЛЕНИЯ ВОДОПРОНИЦАЕМОСТИ

Москва

Стандартинформ

2005

МЕЖГОСУДАРСТВЕННЫЙ СТАНДАРТ

ДРЕВЕСИНА

Метод определения водопроницаемости

Wood. Determination method of watertightness

ГОСТ
16483.15-72

Взамен

ГОСТ 11489-65

Постановлением Государственного комитета стандартов Совета Министров СССР от 21.12.72 № 2300 дата введения установлена

01.07.74

Ограничение срока действия снято по протоколу № 3-94 Межгосударственного совета по стандартизации, метрологии и сертификации (ИУС 4-94)

Настоящий стандарт устанавливает метод определения водопроницаемости древесины вдоль и поперек волокон в радиальном и тангентальном направлениях при увлажнении образцов под давлением с одной поверхности.

1. АППАРАТУРА И МАТЕРИАЛЫ

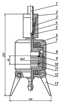
Прибор (см. чертеж), обеспечивающий измерение проницаемости воды с погрешностью не более 0,2 см3 при давлении (1 · 104 ± 3 · 102) Па.

Штангенциркуль по ГОСТ 166-89.

Замазка гидроизоляционная (из канифоли, воска, парафина в соотношении 2:1:1).

Вода дистиллированная по ГОСТ 6709-72.

Масло индустриальное по ГОСТ 20799-88.

Аппаратура и материалы по ГОСТ 16483.7-71.

1 - стеклянная трубка; 2 - пробка сальника; 3 - резиновая трубка; 4 - корпус сальника; 5 - резиновая прокладка; 6 - верхняя часть корпуса; 7 - подшипник; 8 - верхний зажим; 9 - кольцевая резиновая прокладка; 10 - образец; 11 - нижний зажим; 12 - нижняя часть корпуса; 13 - шпилька

2. ПОДГОТОВКА К ИСПЫТАНИЮ

2.1. Образцы изготовляют в форме цилиндра диаметром 47 мм и высотой 20 мм в радиальном или тангентальном направлениях или вдоль волокон.

2.2. Изготовление, влажность и количество образцов должны соответствовать требованиям ГОСТ 16483.0-89.

При определении минимального количества образцов коэффициент вариации должен быть 15 %.

2.3. Высоту образцов измеряют с погрешностью не более 0,1 мм.

2.4. Боковую поверхность образцов изолируют гидроизоляционной замазкой толщиной 2 - 3 мм.

3. ПРОВЕДЕНИЕ ИСПЫТАНИЯ

3.1. В верхнюю часть корпуса прибора наливают воду. Через сальник присоединяют стеклянную трубку, доливают воду и сверху добавляют 1 - 2 капли масла.

Высота столба воды должна быть (100 ± 3) см.

3.2. Расход воды определяют по перемещению мениска в трубке на границе «вода-масло». Каждое из первых 10 измерений проводят через 10 - 12 ч, последующие - через каждые 2 - 3 сут. При испытании образцов древесины труднопроницаемых пород допускается увеличивать интервал между измерениями в два раза.

После каждого измерения в трубку доливают воду до первоначальной отметки.

Испытания заканчивают при установлении постоянного суточного расхода воды, когда разность между результатами двух последовательных измерений не будет превышать 0,2 см3/сут.

3.3. Влажность образцов определяют по ГОСТ 16483.7-71. Пробой для определения влажности является часть образца, не покрытая гидроизоляционной замазкой.

(Измененная редакция, Изм. № 1).

4. ОБРАБОТКА РЕЗУЛЬТАТОВ

Показателями водопроницаемости являются установившийся постоянный суточный расход воды, максимальная влажность древесины при установившемся постоянном расходе воды и зависимость расхода воды от времени выдержки.

4.1. Суточный расход воды (Vc), см3/сут, вычисляют по формуле

где V - расход воды между двумя последовательными измерениями, см3;

t - продолжительность испытания между двумя последовательными измерениями, сут.

4.2. Максимальную влажность образца (Wmax) в процентах вычисляют с точностью до 1 % по формуле

где m - масса пробы до высушивания, г;

m0 - масса пробы после высушивания, г.

4.3. График зависимости расхода воды строят в координатах «расход воды - время выдержки» до окончания увлажнения образца, чтобы в случае необходимости можно было продолжить испытание.

4.4. Статистическую обработку опытных данных выполняют по ГОСТ 16483.0-89.

4.5. Результаты испытаний и расчетов заносят в протокол испытаний (см. приложение).

ПРИЛОЖЕНИЕ

(Рекомендуемое)

ПРОТОКОЛ
испытаний древесины на водопроницаемость

Порода _____________________

Направление ________________

Температура воздуха _________°C

Маркировка образца

Начальное положение мениска

Расход воды, см3, при измерениях:

Суточный расход воды Vc, см3/сут., при измерениях:

Показатели водопроницаемости

1

2

3

4

5

6

и т.д.

1

2

3

4

5

6

и т.д.

Установившийся постоянный суточный расход воды, см3/сут

Максимальная влажность образца, Wmax, %

«___» __________ 19____ г.                                          Подпись ____________

СОДЕРЖАНИЕ

1. Аппаратура и материалы.. 1

2. Подготовка к испытанию.. 2

3. Проведение испытания. 2

4. Обработка результатов. 3

Приложение. Протокол испытаний древесины на водопроницаемость. 3