
ГОСУДАРСТВЕННЫЙ СТАНДАРТ СОЮЗА ССР
МАХОВИКИ ЧУГУННЫЕ
ДЛЯ ТРУБОПРОВОДНОЙ АРМАТУРЫ
ТИПЫ, ОСНОВНЫЕ РАЗМЕРЫ И ТЕХНИЧЕСКИЕ ТРЕБОВАНИЯ
ГОСТ 5260-75
ГОСУДАРСТВЕННЫЙ КОМИТЕТ СССР ПО СТАНДАРТАМ
Москва
ГОСУДАРСТВЕННЫЙ СТАНДАРТ СОЮЗА ССР
|
МАХОВИКИ ЧУГУННЫЕ ДЛЯ ТРУБОПРОВОДНОЙ АРМАТУРЫ Типы, основные размеры и технические требования Cast iron handwheels for pipline armature. Types, basic dimensions and technical requirements |
ГОСТ Взамен |
Постановлением Государственного комитета стандартов Совета Министров СССР от 28 июля 1975 г. № 1946 срок введения установлен
с 01.01.77
Проверен в 1980 г. Срок действия продлен
до 01.01.87
Несоблюдение стандарта преследуется по закону
Настоящий стандарт распространяется на чугунные маховики для трубопроводной арматуры общего назначения.
Стандарт не распространяется на маховики, применяемые в судостроении.
1.1. Маховики должны изготовляться следующих типов:
1 - плоский маховик с волнистым ободом;
2 - плоский маховик с круглым ободом;
3 - вогнутый маховик с волнистым ободом.
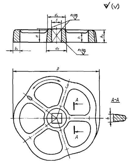
1.2. Основные параметры и размеры маховиков типа 1 должны соответствовать указанным на черт. 1 и в табл. 1.
Черт. 1
Таблица 1
Размеры в мм
|
Диаметр маховика D |
h1 |
Ступица |
Спица |
Ширина обода b1 |
Масса, кг, не более |
|||||
|
H |
S |
d1 |
d2 |
h |
b |
Количество, шт. |
||||
|
50 |
10 |
10 |
6; 7 |
14 |
18 |
6 |
5 |
5 |
5 |
0,06 |
|
65 |
16 |
20 |
7 |
6 |
0,08 |
|||||
|
80 |
12 |
12 |
7; 9 |
18 |
22 |
10 |
6 |
0,13 |
||
|
100 |
14 |
14 |
7; 9; 11 |
22 |
26 |
11 |
7 |
7 |
0,25 |
|
|
120 |
16 |
16 |
9; 11; 14 |
26 |
30 |
12 |
8 |
8 |
0,38 |
|
|
140 |
18 |
18 |
11; 14 |
32 |
36 |
13 |
9 |
9 |
0,60 |
|
Пример условного обозначения маховика типа 1, размерами D = 100 мм и S = 9 мм:
Маховик 1-100´9 ГОСТ 5260-75
1.3. Допускается изготовлять маховики с овальной формой обода и спиц по рабочим чертежам, утвержденным в установленном порядке.
1.4. Маховики типа 2 должны изготовляться следующих исполнений:
А - с квадратным призматическим отверстием в ступице;
Б - с квадратным пирамидальным отверстием в ступице;
В - с цилиндрическим отверстием в ступице (для крепления на шпонках);
Г - с резьбой в ступице.
Маховики типа 3 должны изготовляться исполнений А, Б и В.
1.5. Основные параметры и размеры маховиков типа 2 должны соответствовать указанным на черт. 2, в табл. 2 и табл. 2а для исполнения Г.
Сечения А-А и Б-Б определяют минимальное и максимальное сеченая спиц.
Черт. 2
Таблица 2
Размеры в мм
|
Диаметр маховика, D |
Ступица |
Обод |
Спица |
Масса, кг, не более |
|||||||||||||||
|
исполнений А и Б |
исполнение В |
исполнений |
|||||||||||||||||
|
H |
S |
S1 |
d1 |
d2 |
H |
d |
d1 |
d2 |
h |
b |
b1 |
b2 |
h1 |
h2 |
Количество, шт. |
А |
Б |
В |
|
|
140 |
13 |
10 |
10 |
28 |
32 |
18 |
24 |
45 |
50 |
16 |
20 |
20 |
18 |
10 |
9 |
3 |
0,85 |
0,85 |
0,96 |
|
160 |
19 |
12; 14 |
12 |
30 |
34 |
22 |
26 |
50 |
55 |
18 |
22 |
24 |
20 |
12 |
10 |
1,17 |
1,16 |
1,30 |
|
|
200 |
22 |
14; 17 |
14 |
34 |
40 |
22 |
36 |
60 |
65 |
20 |
25 |
26 |
22 |
13 |
11 |
1,87 |
1,87 |
2,08 |
|
|
240 |
26 |
17; 19 |
17 |
40 |
48 |
28 |
38 |
70 |
80 |
22 |
28 |
5 |
2,94 |
2,94 |
3,24 |
||||
|
280 |
30 |
19; 24 |
17; 19 |
45 |
55 |
30 |
50 |
90 |
100 |
26 |
32 |
28 |
24 |
14 |
12 |
5,10 |
5,10 |
5,45 |
|
|
320 |
24; 27 |
19; 24 |
55 |
63 |
34 |
55 |
30 |
26 |
15 |
13 |
5,48 |
5,47 |
5,92 |
||||||
|
360 |
34 |
27; 32 |
24; 27 |
60 |
70 |
60 |
95 |
105 |
30 |
36 |
32 |
28 |
16 |
14 |
7,65 |
7,65 |
8,30 |
||
|
400 |
38 |
38 |
65 |
100 |
115 |
34 |
30 |
17 |
15 |
9,80 |
9,80 |
10,30 |
|||||||
|
450 |
42 |
32; 36 |
27; 32 |
70 |
30 |
45 |
75 |
115 |
130 |
34 |
40 |
38 |
32 |
19 |
16 |
13,30 |
13,30 |
13,57 |
|
|
500 |
45 |
50 |
40 |
34 |
20 |
17 |
14,40 |
14,43 |
16,70 |
||||||||||
|
560 |
50 |
41 |
32; 36 |
80 |
90 |
55 |
80 |
125 |
145 |
18,16 |
18,26 |
20,40 |
|||||||
|
640 |
55 |
50 |
36; 46 |
95 |
105 |
60 |
85 |
135 |
155 |
36 |
42 |
42 |
36 |
21 |
18 |
7 |
23,66 |
23,66 |
25,50 |
|
720 |
60 |
55 |
50 |
105 |
120 |
70 |
90 |
145 |
170 |
28,15 |
28,36 |
30,39 |
|||||||
|
800 |
65 |
60 |
50; 55 |
115 |
135 |
75 |
100 |
160 |
185 |
31,52 |
31,62 |
35,30 |
|||||||
|
900 |
75 |
65 |
55; 60 |
125 |
155 |
80 |
110 |
175 |
200 |
38 |
45 |
45 |
38 |
22 |
19 |
40,00 |
40,00 |
40,00 |
|
|
1000 |
80 |
70 |
60; 65 |
140 |
170 |
90 |
120 |
190 |
220 |
45,90 |
45,70 |
51,31 |
|||||||
Пример условного обозначения маховика типа 2, исполнения А, размерами D = 400 мм и S = 27 мм:
Маховик 2-А-400´27 ГОСТ 5260-75
Таблица 2а
Размеры в мм
|
H |
d H7 |
Масса, кг, не более |
|
|
160 |
16 |
М27´2 |
1,3 |
|
160 |
16 |
М33´2 |
1,3 |
|
200 |
18 |
М33´2 |
2,0 |
|
240 |
19 |
М39´2 |
3,1 |
|
280 |
20 |
М42´2 |
4,7 |
|
320 |
20 |
М42´2 |
5,8 |
|
360 |
24 |
М48´2 |
8,0 |
|
400 |
26 |
М56´2 |
9,8 |
|
500 |
38 |
М56´2 |
16,0 |
Примечание. Остальные размеры маховика типа 2 исполнения Г по табл. 2.
(Измененная редакция, Изм. № 1).
1.6. Маховики типа 2 должны изготовляться с прямыми спицами. Допускается изготовлять маховики типа 2 с изогнутыми спицами.
1.7. Основные параметры и размеры маховиков типа 3 должны соответствовать указанным на черт. 3 и в табл. 3.
Сечения Г-Г и Д-Д определяют минимальное и максимальное сечения спиц.
Черт. 3
Таблица 3
Размеры в мм
|
Диаметр маховика, D |
H1 |
Ступица |
Обод |
Спица |
Масса, кг, не более |
|||||||||||||||||
|
исполнений А и Б |
исполнения В |
исполнений |
||||||||||||||||||||
|
H |
S |
S1 |
d1 |
d2 |
H |
d |
d1 |
d2 |
b |
b1 |
h |
h1 |
b2 |
h2 |
b3 |
h3 |
Количество, шт. |
А |
Б |
В |
||
|
65 |
18 |
10 |
6; 7 |
- |
16 |
22 |
- |
- |
- |
- |
10 |
3,0 |
10 |
- |
12 |
3 |
10 |
3 |
3 |
0,156 |
- |
- |
|
80 |
22 |
12 |
7; 9 |
22 |
24 |
14 |
12 |
10 |
6 |
5 |
0,165 |
|||||||||||
|
100 |
28 |
14 |
7; 9; 11 |
24 |
26 |
16 |
14 |
11 |
16 |
8 |
14 |
7 |
0,286 |
|||||||||
|
120 |
30 |
16 |
9; 11; 14 |
28 |
18 |
4,0 |
15 |
12 |
18 |
9 |
16 |
8 |
0,366 |
|||||||||
|
140 |
34 |
18 |
11; 14 |
30 |
32 |
20 |
16 |
13 |
20 |
10 |
18 |
9 |
0,475 |
|||||||||
|
160 |
40 |
19 |
12; 14 |
12 |
34 |
22 |
26 |
50 |
55 |
22 |
18 |
15 |
24 |
12 |
20 |
10 |
0,770 |
0,765 |
0,90 |
|||
|
200 |
45 |
22 |
14; 17 |
14 |
34 |
40 |
28 |
36 |
60 |
65 |
30 |
5,0 |
22 |
17 |
26 |
13 |
22 |
11 |
1,360 |
1,370 |
1,60 |
|
|
240 |
50 |
26 |
17; 19 |
17 |
40 |
48 |
38 |
70 |
80 |
5,5 |
24 |
18 |
5 |
1,940 |
1,925 |
2,51 |
||||||
|
280 |
55 |
30 |
19; 24 |
17; 19 |
45 |
55 |
30 |
50 |
90 |
100 |
32 |
26 |
19 |
28 |
14 |
24 |
12 |
3,600 |
3,070 |
3,57 |
||
|
320 |
24; 27 |
19; 24 |
55 |
63 |
34 |
55 |
34 |
6,0 |
28 |
20 |
30 |
15 |
26 |
13 |
4,130 |
4,170 |
4,97 |
|||||
|
360 |
60 |
34 |
27; 32 |
24; 27 |
60 |
70 |
60 |
95 |
105 |
36 |
6,5 |
30 |
22 |
32 |
16 |
28 |
14 |
5,310 |
5,320 |
5,72 |
||
|
400 |
65 |
38 |
38 |
65 |
100 |
115 |
38 |
7,0 |
32 |
23 |
34 |
17 |
30 |
15 |
6,550 |
6,620 |
7,18 |
|||||
|
450 |
70 |
42 |
32; 36 |
27; 32 |
70 |
80 |
45 |
75 |
115 |
130 |
40 |
7,5 |
35 |
25 |
38 |
19 |
32 |
16 |
8,150 |
8,310 |
9,26 |
|
|
500 |
75 |
45 |
50 |
42 |
6,0 |
40 |
30 |
40 |
20 |
34 |
17 |
8,850 |
9,000 |
11,90 |
||||||||
Пример условного обозначения маховика типа 3, исполнения А, размерами D = 120 мм и S = 11 мм:
Маховик 3-A-120´11 ГОСТ 5260-75
1.8. Для маховиков всех типов допускается изменять размеры: S; S1; d; d1; d2; b1 и количество спиц в соответствии с установленным рядом размеров и рядом номинальных размеров по ГОСТ 6636-69; изменение количества спиц должно быть согласовано с головной организацией.
2.1. Маховики должны изготовляться в соответствии с требованиями настоящего стандарта по рабочим чертежам, утвержденным в установленном порядке.
2.2. Маховики должны изготовляться:
типов 1 и 2 - из серого чугуна марки не ниже СЧ 15 по ГОСТ 1412-79 или из ковкого чугуна марки не ниже КЧ 30 по ГОСТ 1215-79 (для маховиков диаметром 500 мм включительно);
типа 3 - из серого чугуна марки не ниже СЧ 15 при σв ≥ 176 Н/мм2 (18 кгс/мм2) по ГОСТ 1412-79 или из ковкого чугуна марки не ниже КЧ 30-6 по ГОСТ 1215-79.
(Измененная редакция, Изм. № 2, 3).
2.3. Допускаемые отклонения на размеры отливок - по 3-му классу, размеров S1 - по 2-му классу точности ГОСТ 1855-55, S - по H14:
(Измененная редакция, Изм. № 2).
2.4. Маховики должны иметь защитное покрытие по ГОСТ 9.306-85 или окраску по указанию в рабочих чертежах.
3.1. Поверхности маховиков должны соответствовать требованиям ГОСТ 1412-79, ГОСТ 1215-79 и ГОСТ 26358-84 и не иметь заусенцев и острых кромок.
3.2. Буквы О, З и стрелку направления вращения следует выполнять на маховиках диаметром 65 мм и более отливкой. На месте расположения стрелки и букв допускается утолщение обода.
Рекомендуемое
Маховики типов 1 и 2 рекомендуется применять для арматуры, работающей при температуре среды до 300 °С, маховики типа 3 - для арматуры, работающей при температуре среды свыше 300 °С.
Допускается маховики типа 3 изготовлять без отверстий на ободе для арматуры, работающей при температуре среды до 300 °С.
СОДЕРЖАНИЕ