КОНЦЕРН «СТЕПС»
|
ОКП 48 3437 |
УДК ________________ Группа Г38 |
|
УТВЕРЖДАЮ Директор по техническому ____________ В.С. Жолудов ____________ 24.08.92 г. |
ПРЯЖКИ БАНДАЖНЫЕ
ТЕХНИЧЕСКИЕ УСЛОВИЯ
ТУ 36.16.22-64-92
(Взамен ТУ 36-1492-77)
Срок введения с 27.08.92 г.
Срок действия до
|
СОГЛАСОВАНО |
|
|
Директор Московского _________ Н.И. Белов _________ 19.08.92 г. |
Главный инженер _________ В.Н. Шлеин _________ 17.08.92 г. |
|
Главный инженер _________ С.С. Егоров _________ 21.08.92 г. |
Начальник технического _________ Ю.С. Курицына _________ 13.08.92 г. |
|
Начальник отдела проектирования _________ О.В. Дибровенко _________ 14.08.92 г. |
Настоящие технические условия (ТУ) распространяются на пряжки бандажные (в дальнейшем по тексту ТУ - пряжки), предназначенные для соединения металлических бандажей тепловой изоляции промышленных объектов, зданий и сооружений.
Пряжки в зависимости от конструкции подразделяются на следующие типы: I, II, IIУ, IIК, III, IY.
Обозначение типа пряжки должно включать условное обозначение, указывающее на вид металла, из которого должна быть изготовлена пряжка, а именно: А - алюминиевый сплав или алюминий, О - оцинкованная сталь, С - тонколистовая кровельная сталь.
Вид металла, из которого должна быть изготовлена пряжка, должен соответствовать проекту тепловой изоляции, разработанному специализированной организацией.
Вид климатического исполнения - YI по ГОСТ 15150-69.
Примеры обозначения пряжек при заказе:
Пряжка тип I-А ТУ 36.16.22-64-92
Пряжка тип I-О ТУ 36.16.22-64-92
Пряжка тип II У-С ТУ 36.16.22-64-92.
1.1. Пряжки должны соответствовать требованиям настоящих ТУ.
Типы пряжек приведены в приложении 1.
1.2. Основные параметры и размеры.
1.2.1. Пряжки предназначены для крепления бандажных лент шириной 12, 15, 20 и 40 мм и должны иметь размеры, приведенные в приложении1.
1.2.2. Для пряжек из стали номинальная толщина листа 0,8 мм, из алюминия или его сплавов толщина листа допускается до 1 мм.
1.2.3. Масса пряжек должна соответствовать величинам, указанным в табл. 1.
Таблица 1
|
Тип пряжки |
Масса 1000 шт. пряжек, кг |
|
|
из стали |
из алюминия или его сплавов |
|
|
I |
7,5 ± 0,7 |
2,7 ± 0,2 |
|
II |
7,4 ± 0,8 |
2,6 ± 0,3 |
|
II У |
5,9 ± 0,6 |
2,1 ± 0,2 |
|
II К |
4,7 ± 0,6 |
1,7 ± 0,2 |
|
III |
7,0 ± 0,7 |
2,5 ± 0,2 |
|
IY |
20,7 ± 1,9 |
7,4 ± 0,7 |
Примечание. Масса пряжек из алюминия и его сплавов указана для материала пряжек, имеющего толщину (номинальную) 0,8 мм.
1.2.4. Код ОКП каждого типа пряжки в табл. 2.
Таблица 2
|
Тип пряжки |
Код ОКП |
|
I - А |
48 3437 0040 |
|
I - О |
48 3437 0041 |
|
I - С |
48 3437 0042 |
|
II - А |
48 3437 0043 |
|
II - О |
48 3437 0044 |
|
II - С |
48 3437 0045 |
|
II Y - А |
48 3437 0048 |
|
II Y - О |
48 3437 0049 |
|
II Y - С |
48 3437 0050 |
|
II К - А |
48 3437 0051 |
|
II К-О |
48 3437 0052 |
|
II К - С |
48 3437 0053 |
|
III - А |
48 3437 0056 |
|
III - О |
48 3437 0057 |
|
III - С |
48 3437 0058 |
|
IY - А |
48 3437 0059 |
|
IY - О |
48 3437 0060 |
|
IY - С |
48 3437 0061 |
Примечание. Конструкции типов пряжек приведены в приложении II.
1.3. Характеристики (свойства)
1.3.1. Пряжки должны изготавливаться из следующих материалов:
1) тонколистовой оцинкованной стали по ГОСТ 14918-80 (сортамент по ГОСТ 19904-90);
2) алюминия или алюминиевых сплавов по ГОСТ 21631-76 (марки АДI, АМц, АМг). По состоянию поставки листы должны быть полунагартованные или нагартованные;
3) проката тонколистового горячекатаного по ТУ 14-11-252-89 (сортамент по ГОСТ 19903-74), проката холоднокатаного тонколистового кровельного по ТУ 14-11-262-89 (сортамент по ГОСТ 19904-90).
1.3.2. Допускается изготовлять пряжку из соответствующего металла по другим стандартам при условии согласия заказчика.
1.3.3. Пряжки, изготовленные из проката тонколистового кровельного, должны иметь лакокрасочное покрытие YII класса по ГОСТ 9.032-74, группа условий эксплуатации изделия с покрытием - YI по ГОСТ 9.104-79.
1.3.4. Подготовка металлических поверхностей перед окрашиванием, нанесение покрытий должны производиться в соответствии с требованиями ГОСТ 9.402-80.
1.4. Надежность
1.4.1. Средний срок службы пряжки до ее замены должен быть не менее 5 лет.
1.5. Комплектность
1.5.1. В комплект поставки входят:
1) пряжки (одного типа в одном ящике);
2) этикетка (одна на упаковочный ящик), составленная в соответствии с ГОСТ 2.601-68.
1.6. Маркировка
1.6.1. На каждом грузовом месте (ящике с пряжками) несмываемой краской должна быть нанесена транспортная маркировка в соответствии с требованиями ГОСТ 14192-77.
1.7. Упаковка
1.7.1. Пряжки поставляются потребителю в упакованном виде. Упаковка должна соответствовать категории КУ-I по ГОСТ 23170-78.
1.7.2. Перед упаковкой пряжки из алюминия или его сплавов, а также оцинкованные стальные пряжки по требованию заказчика должны подвергаться консервации в соответствии с требованиями ГОСТ 9.014-78 по группе I-I для условий хранения и транспортирования 5 (ОЖ4) по ГОСТ 15150-69.
Срок защиты без переконсервации - 12 месяцев.
При отсутствии требований заказчика пряжки поставляются без консервации.
1.7.3. Пряжки, отправляемые потребителю, должны быть уложены в дощатые ящики типа II-2 по ГОСТ 2991-85.
1.7.4. Масса нетто грузового места (ящика) должна быть не более 55 кг. Размеры грузового места должны соответствовать ГОСТ 21140-75.
1.7.5. Перед упаковкой пряжек ящики должны быть внутри выложены водонепроницаемой упаковочной бумагой марки ДБ по ГОСТ 8828-89 или бумагой упаковочной по ГОСТ 515-77.
1.7.6. В каждый ящик должен быть вложен упаковочный лист, в котором указывают:
1) наименование или товарный знак предприятия-изготовителя;
2) наименование и общее количество пряжек;
3) фамилию или номер упаковщика;
4) дату упаковки.
1.7.7. Допускается упаковочный лист в ящик не вкладывать, если сведения, подлежащие изложению в упаковочном листе, будут приведены предприятием-изготовителем в этикетке.
1.7.8. Этикетка и упаковочный лист упаковываются в пакет из полиэтиленовой пленки ГОСТ 10354-82 или пленки поливинилхлоридной пластифицированной технической ГОСТ 16272-79 или другого водонепроницаемого материала, который закрепляется в ящике.
6.1. Пряжки должны быть приняты отделом технического контроля (ОТК) предприятия-изготовителя.
6.2. Предприятие-изготовитель гарантирует соответствие пряжек требованиям настоящих ТУ при условии соблюдения потребителем правил эксплуатации, хранения и транспортирования, установленных настоящими ТУ.
6.3. Гарантийный срок эксплуатации устанавливается 12 месяцев и исчисляется со дня окончания монтажа тепловой изоляции, но не позднее 6 месяцев со дня получения пряжек потребителем.
6.4. В течение гарантийного срока предприятие-изготовитель заменяет новыми все пряжки, пришедшие в негодность по его вине. Замена должна производиться в течение одного месяца со дня получения уведомления.
Типы пряжек

Размеры в мм
|
Тип пряжки |
А |
Б |
В |
Г |
|
|
I |
22H14 |
- |
- |
0,8 |
30°+10° |
|
II |
22H14 |
2,5H14 |
- |
- |
|
|
II У |
17H14 |
2,5H14 |
- |
- |
|
|
II К |
14H14 |
2,5H14 |
- |
- |
|
|
III |
22H14 |
2,5H14 |
12H16 |
- |
|
|
IY |
42H14 |
2,5H14 |
12H16 |
- |
Примечание. Размер Г - для справок.
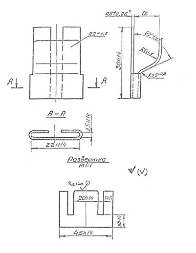
КОНСТРУКЦИИ ПРЯЖЕК
ПРЯЖКА тип I

* Размер для справок.
ПРЯЖКА тип II

|
Тип |
А |
|
II |
22H14 |
|
II У |
17H14 |
|
II К |
14H14 |
* Размер для справок.
ПРЯЖКА тип III

* Размер для справок.
ПРЯЖКА тип IY

* Размер для справок.