ОРДЕНА ЛЕНИНА ГЛАВМОССТРОЙ ПРИ МОСГОРИСПОЛКОМЕ

ТЕХНИЧЕСКОЕ УПРАВЛЕНИЕ

ИНСТРУКЦИЯ
ПО ТЕХНОЛОГИИ КРЕПЛЕНИЯ ПЛАСТМАССОВОГО ЭЛЕКТРОТЕХНИЧЕСКОГО ПЛИНТУСА ПЭ-75 К ЖЕЛЕЗОБЕТОННЫМ ПАНЕЛЯМ

ВСН-174-81

Главмосстрой

Москва - 1982

"Инструкция" выполнена в соответствии с темой 6.33 плана научно-исследовательских и опытных работ НИИМосстроя на 1981 г.

"Инструкция" разработана на основании исследований, проведенных НИИМосстроем по технологии крепления пластмассового электротехнического плинтуса типа ПЭ-75, и опыта применения электротехнического плинтуса типа МЭМ-1-74 электромонтажным трестом МЭМ-1 и другими электромонтажными и строительными организациями Главмосстроя (МЭМ-2, ДСК-1 и др.).

В связи с тем, что опыт применения плинтуса ПЭ-75 еще отсутствует, в "Инструкции" приведены два способа крепления плинтуса к железобетонным конструкциям: после устройства чистого пола, при котором плинтус крепится к стеновым панелям и до устройства чистого пола, при котором плинтус крепится к плитам перекрытия.

"Инструкция" составлена сотрудниками лаборатории инженерного оборудования зданий НИИМосстроя (инж. И.Я. Маркин, инж. В.В. Мешков и канд. техн. наук Е.П. Парини).

Настоящая "Инструкция" является временной и предназначена для применения при опытном монтаже плинтусных электропроводок осуществляемых НПО "Прокатдеталь". В дальнейшем, по мере накопления опыта в "Инструкцию" будут внесены соответствующие изменения и дополнения по креплению электротехнического плинтуса к железобетонным конструкциям.

СОДЕРЖАНИЕ

1. Общая часть. 2

2. Назначение и основные стадии монтажа плинтусных электропроводок. 2

3. Конструкция электротехнического плинтуса пэ-75 и электротехнического наличника нэс-71. 2

4. Конструкция комплектующих изделий. 4

5. Крепление плинтуса пристрелкой к железобетонным стеновым панелям.. 6

6. Крепление плинтуса пристрелкой к железобетонным панелям перекрытий. 9

7. Крепление плинтуса к гипсобетонным перегородкам.. 12

8. Крепление плинтуса при обходе санитарно-технических кабин. 12

9. Крепление и монтаж электротехнического наличника. 14

10. Монтаж электропроводок. 15

11. Поставка, транспортировка и хранение пластмассовых изделий для плинтусных электропроводов. 16

12. Техника безопасности при креплении и монтаже электротехнического плинтуса пэ-75. 17

 

Ордена Ленина Главное управление по жилищному и гражданскому строительству в г. Москве

______

Главмосстрой при Мосгорисполкоме

_______

Техническое управление

Ведомственные строительные нормы

ВСН-174-81
Главмосстрой

 

Инструкция по технологии крепления пластмассового электротехнического плинтуса ПЭ-75 к железобетонным панелям

1. ОБЩАЯ ЧАСТЬ

1.1. Настоящая "Инструкция" распространяется на монтаж плинтусных электропроводок в пластмассовом электротехническом плинтусе ПЭ-75 и наличнике НЭС-71, разработанных МНИИТЭП для жилых зданий, сооружаемых Главмосстроем из унифицированных изделий единого каталога.

1.2. Плинтусные электропроводки являются сменяемыми. Они позволяют производить замену старых и прокладку новых электрических и слаботочных сетей без нарушения отделки квартир, что дает возможность значительного снижения затрат на эти работы, а также решить вопрос развития внутренних электрических сетей с перспективой на будущее.

Плинтусные электропроводки позволяют сделать прокладку электрических и слаботочных сетей независимой от строительных конструкций здания, упростить строительные конструкции и уменьшить количество типоразмеров плит.

Внесена
НИИМосстроем

Утверждена
Техническим управлением
от 28 декабря 1981 г.

Срок введения в действие
с 1 марта 1982 г.
по 31 декабря 1982 г.

1.3. Обязательным условием монтажа электротехнического плинтуса является качественная заделка стыков раствором между стеновыми панелями и панелями перекрытия. Стыки должны быть заделаны заподлицо со стеновыми панелями без выступов, наплывов и пустот.

Лишний раствор, выдавленный стеновыми панелями, должен быть счищен в процессе монтажа панелей сразу же после их установки.

Места примыкания стеновых панелей к панелям перекрытия должны быть затерты в процессе штукатурных работ (устройство лузга).

1.4. Работы по креплению и монтажу электротехнического плинтуса и наличника должны быть максимально индустриализованы. Все заготовительные работы следует выполнять в мастерских или на комплектовочных участках.

1.5. Все заготовительные работы с пластмассовым плинтусом и наличником должны в соответствии с ГОСТ 19.111-77 "Изделия погонажные профильные поливинилхлоридные" выполняться при температуре не ниже 15°С.

1.6. Работы по креплению электротехнического плинтуса и электроустановочных изделий методом пристрелки должны выполняться в соответствии с инструкцией по эксплуатации "Пистолет монтажный поршневой ПЦ-52-1".

1.7. Работы по креплению электротехнического плинтуса и электроустановочных изделий методом приклеивания должны выполняться в соответствии с "Указаниями по креплению электротехнических изделий к строительным конструкциям клеем КНЭ-2/60" (ВСН-67-72).

1.8. Работы по креплению и монтажу электротехнического плинтуса и наличника и монтажу электропроводок должны выполняться специализированными бригадами, прошедшими инструктаж по креплению, монтажу и технике безопасности.

2.. НАЗНАЧЕНИЕ И ОСНОВНЫЕ СТАДИИ МОНТАЖА ПЛИНТУСНЫХ ЭЛЕКТРОПРОВОДОК

2.1. Плинтусные электропроводки предназначены для совмещенной прокладки проводов внутриквартирных штепсельных электросетей и слаботочных сетей - городской радиотрансляции, телефона и кабеля телеантенны.

2.2. Монтаж штепсельных электросетей и городской радиотрансляционной сети производится на стадии строительства здания персоналом ДСК и электромонтажных трестов Главмосстроя.

2.3. Монтаж городской телефонной сети и абонентского кабеля телеантенны производится на стадии эксплуатации здания персоналом городской телефонной сети и городских телеателье.

3. КОНСТРУКЦИЯ ЭЛЕКТРОТЕХНИЧЕСКОГО ПЛИНТУСА ПЭ-75 И ЭЛЕКТРОТЕХНИЧЕСКОГО НАЛИЧНИКА НЭС-71

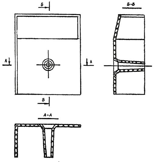
3.1. Электротехнический плинтус состоит из основания и крышки (рис. 1). Основание плинтуса разделено полками на 4 канала. Верхний канал предназначен для прокладки проводов штепсельных электрических сетей, второй - предназначен для прокладки телефонных проводов. В третьем канале прокладывается абонентский кабель телеантенны, а в четвергом (нижнем) - провода радиотрансляционной сети.

Такое расположение проводов в плинтусе обеспечивает необходимое расстояние между проводами телефона и радиотрансляции, что снижает влияние взаимных наводок до нормы.

Для предотвращения выпадания проводов из каналов предусмотрена пластмассовая клица, которая крепится к двум средним полкам плинтуса. Для удерживания проводов штепсельных электрических сетей клица устанавливается хвостовиком вверх, а для удерживания кабеля телеантенны - хвостовиком вниз.

Рис. 1. Плинтус электротехнический ПЭ-75:

1 - основание плинтуса; 2 - крышка плинтуса; 3 -крепежная клина

Рис. 2. Наличник электротехнический совмещенный НЭС-71:

а - основание; б - крышка; назначение каналов:

1 - электросеть; 2 - радиотрансляция; 3 - кабель телеантенны; 4 - телефон

Крышка устанавливается на основании плинтуса простым надавливанием. Для снятия крышки следует поддеть с конца ее верхнюю часть отверткой.

3.2. Электротехнический наличник предназначается для обхода проводами дверных проемов. Кроме того, он служит каналообразователем для прокладки проводов к розеткам электроплиты и электробытовых приборов мощностью свыше 4 кВт, расположенных выше надплинтусных розеток. Он состоит из основания и крышки и имеет 4 канала (рис. 2).

Крышка устанавливается на наличнике надавливанием. Для снятия крышки ее следует с конца поддеть отверткой.

3.3. Электротехнический плинтус, наличник и крышки к ним являются погонажными изделиями, изготавливающимися из пластмассы (жесткого поливинилхлорида), которая относится к группе сгораемых.

4. КОНСТРУКЦИЯ КОМПЛЕКТУЮЩИХ ИЗДЕЛИЙ

4.1. Электротехнический плинтус комплектуется следующими изделиями:

клипами;

угловым переходом внутренним;

угловым переходом внешним;

компенсатором;

коробкой переходной правой;

коробкой переходной левой.

4.2. Клицы (рис. 3) предназначены для удерживания проводов в каналах плинтуса при открытой крышке.

4.3. Угловые переходы внутренний (рис. 4) и внешний (рис. 5) предназначены для стыковки плинтуса в углах. Угловые переходы самостоятельно к стенам не крепятся. Они имеют по концам слегка утопленные выступы, которые прижимаются концами крышек плинтуса. Полок для проводок они не имеют. Изготовляются угловые переходы из полистирола.

Рис. 3. Клица

Рис. 4. Угловой переход внутренний

Рис. 5. Угловой переход внешний

Рис. 6. Компенсатор

Рис. 7. Коробка переходная правая

Рис. 8. Коробка переходная левая

4.4. Компенсатор (рис. 6) предназначен для перекрытия зазоров между крышками плинтуса. Компенсатор может перекрыть зазор между крышками от 40 до 80 мм.

4.5. Переходные коробки правая (рис. 7) и левая (рис. 8) предназначены для перехода проводов из плинтуса в наличники. Они имеют трубчатую полость для прохода крепежного шурупа. Изготовляются переходные коробки из полистирола.

5. КРЕПЛЕНИЕ ПЛИНТУСА ПРИСТРЕЛКОЙ К ЖЕЛЕЗОБЕТОННЫМ СТЕНОВЫМ ПАНЕЛЯМ

5.1. Заготовительные работы

5.1.1. Основание и крышки плинтуса нарезаются на мерные отрезки по монтажному проекту в соответствии с протяженностью стен помещения и местами установки розеток. Длина отрезков не должна превышать 2,4 м.

Для обеспечения вывода проводов к штепсельным розеткам нарезаются отрезки крышек длиной 100 - 200 мм, в верхней части которых делаются (выштамповываются) вырезы (рис. 9). Число таких отрезков должно соответствовать числу розеток.

5.1.2. На расстоянии 100 - 150 мм от концов мерных отрезков основания плинтуса следует выполнить (высечь, выштамповать) пазы (рис. 10) для крепления плинтуса. Кроме того, следует выполнить промежуточные пазы на расстоянии 0,25 - 0,3 м друг от друга.

Пазы должны выполняться на специальной установке на комплектовочном участке или в мастерской.

Рис. 9. Отрезок плинтуса с вырезом для вывода проводов

Рис. 10. Паз в задней стенке основания плинтуса для закладки крепежной скобы

5.1.3. Крепежные пластины (рис. 11) следует выштамповать из листового железа. Пластины должны выполняться на комплектовочном участке или в мастерской, которые должны быть оснащены соответствующим механизмом.

На 100 м погонажа плинтуса следует изготовлять 170 - 220 крепежных скоб.

5.1.4. Заготовленные отрезки плинтуса и наличника комплектуются покомнатно, связываются в пакеты и снабжаются бирками. Покомнатные пакеты комплектуются в поквартирные пакеты, связываются и снабжаются бирками.

К поквартирным пакетам придаются коробки с необходимым количеством крепежных клиц, угловых переходов, компенсаторов, переходных коробок и крепежных пластин. На коробках проставляются шифры соответствующих поквартирных пакетов.

5.1.5. Скомплектованные пакеты и коробки доставляются на стройплощадку.

5.2. Технология крепления и монтажа

5.2.1. Монтаж плинтусной электропроводки начинают с установки металлических пластин-подрозетников надплинтусных штепсельных розеток, подрозетников и розеток для электроплит и бытовых электроприборов мощностью свыше 4 кВт. Эти работы должны выполняться до оклейки стен обоями и устройства чистого пола.

5.2.2. Крепление металлических пластин-подрозетников для розеток электроплит и мощных бытовых электроприборов производится пристрелкой.

5.2.3. Крепление металлических пластин-подрозетников надплинтусных штепсельных розеток производится также пристрелкой или приклеиванием.

Рис. 11. Пластина крепежная стальная

5.2.4. Установка пластин-подрозетников надплинтусных штепсельных розеток производится при помощи шаблона (рис. 12) со встроенными магнитами, которые фиксируют пластины на требуемом месте. Шаблон имеет 3 магнита, что дает возможность в зависимости от требования проекта устанавливать пластины на расстоянии 0,6 или 0,8 м от угла комнаты. Шаблон позволяет также устанавливать пластины на требуемой высоте как вправо, гак и влево от угла комнаты.

5.2.5. Крепление методом пристрелки должно выполняться стальными дюбель-гвоздями типа ДГП 3,5 ´ 30 с металлической шайбой при помощи монтажного поршневого пистолета ПЦ-52-1.

5.2.6. Крепление древесно-стружечных подрозетников производится методом приклеивания - клеем КНЭ-2/60 в соответствии с "Указаниями по креплению электротехнических изделий к строительным конструкциям клеем КНЭ-2/60" (ВСН-67-72).

5.2.7. Крепление плинтуса осуществляется после устройства чистого пола. При этом подстолья в кухнях должны быть установлены так, чтобы была обеспечена возможность беспрепятственного прохода плинтуса и снятия и установки крышки.

5.2.8. Пакеты заготовленного плинтуса и коробки с комплектующими изделиями и крепежными пластинами после доставки на стройплощадку разносятся по квартирам и комнатам.

5.2.9. Отрезки плинтуса раскладываются вдоль соответствующих участков стен и примеряются к ним; в углах помешаются внутренние и внешние угловые переходы.

Затем намечаются места входа проводов в плинтус, прохода проводов сквозь перегородки и выхода проводов к штепсельным розеткам.

В местах входа проводов в плинтус и прохода проводов сквозь перегородки основание плинтуса должно быть разрезано, и между отрезками оставлены зазоры 8-10 мм для прохода проводов. После прокладки проводов эти зазоры перекрываются крышкой.

Рис. 12. Шаблон с магнитами для установки стальных пластин-подрозетников надплинтусных штепсельных розеток под пристрелку:

а - эскиз магнитного шаблона; б - установка пластин в левом углу по черному полу; в - установка пластин в правом углу до чистому полу; 1 - магнит постоянный; 2 - планка деревянная; 3 - чистый пол; 4 – стальной подрозетник; 5 - подкладка деревянная; 6 - черный пол

При необходимости произвести подгонку длины плинтуса по месту, резку плинтуса выполняют при помощи шаблона-стусла (рис. 13) ножовкой с мелкими зубьями.

5.2.10. Крепление плинтуса производится, как правило, не в каждом вырезе, а через один - на расстоянии 0,5-0,6 м друг от друга.

Вопрос о том, в каких местах крепить плинтус в каждом вырезе (на расстоянии 0,25 - 0,3 м), решает монтажник по месту в зависимости от кривизны стен и других местных условий.

5.2.11. Отрезки плинтуса, проходящие поя конвекторами отопления, крепятся в местах, ближайших к концам конвектора. Под конвекторами крепление плинтуса не производится.

5.2.12. Для выполнения крепления следует вставить в вырез основания плинтуса крепежную пластину (рис. 14), прижав ее пистолетом к стене, и произвести выстрел в среднюю часть пластины.

5.2.13. Пристрелка осуществляется дюбелями типа ДГП 3,5 х 30 с металлической шайбой с применением патронов К-2 или К-3. Выбор патрона зависит от прочности бетона конкретной стеновой плиты.

Пристрелку следует начинать, применяя патроны К-2. Если мощность патрона К-2 окажется недостаточной (дюбель не дошел до упора, следует произвести добивку дюбеля патроном К-2 и в дальнейшем применять патроны К-3.

6. КРЕПЛЕНИЕ ПЛИНТУСА ПРИСТРЕЛКОЙ К ЖЕЛЕЗОБЕТОННЫМ ПАНЕЛЯМ ПЕРЕКРЫТИЙ

6.1. Заготовительные работы

6.1.1. Основание и крышка плинтуса нарезаются на мерные отрезки в соответствии с п. 5.1.1 настоящей "Инструкции".

Рис. 13. Шаблон-стусло для резки электротехнического плинтуса:

1 - линейка; 2 - уступ; 3 - основание; 4 - щека

Рис. 14. Положение крепежной пластины при пристрелке:

1 - крепежная пластина; 2 - дюбель; 3 - основание плинтуса; 4 - стеновая панель; 5 - плита перекрытия

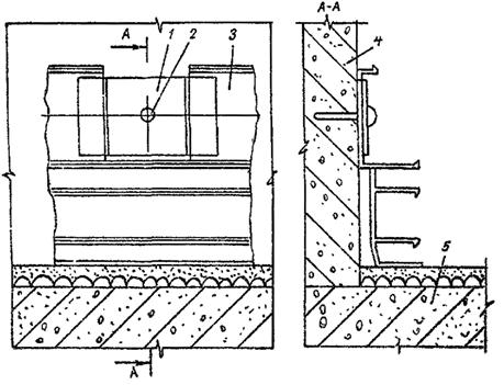
6.1.2. На расстоянии 100 - 150 мм от концов мерных отрезков в уступе основания плинтуса фрезеруются прорези (рис. 15). Кроме того, выполняются промежуточные прорези на расстоянии 0,25 - 0,3 м друг от друга.

Прорези должны выполняться на специальной установке на комплектовочном участке или в мастерской.

6.1.3. Выштамповать на комплектовочном участке или в мастерской Г-образные скобы с "ласточкиным хвостом" (рис. 16) и крепежные пластинки (рис. 17).

На 100 м погонажа плинтуса следует изготовить в среднем 150 скоб и 75 крепежных пластинок.

6.1.4. Установка Г-образных скоб и крепежных пластинок производится на скамейке-кондукторе (рис. 18), позволяющего при сборке узлов креплений учесть толщину линолеума, который будет впоследствии уложен и заведен под плинтус.

Узлы крепления устанавливаются по концам мерных отрезков. Они ограничивают перемещение плинтуса вверх. Если длина отрезка плинтуса менее 1 м, ставится одно такое крепление посередине.

6.1.5. Для сборки узлов креплений следует:

положить мерный отрезок основания плинтуса задней стенкой на кондуктор;

продеть в прорези основания плинтуса вертикальные части ("ласточкин хвост") Г-образных скоб;

закрепить на вертикальной части Г-образных скоб на высоте, определяемой кондуктором, крепежные пластинки, загнув два лепестка;

закрыть отрезок основания плинтуса крышкой.

Узел крепления плинтуса показан на рис. 19.

6.1.6. Заготовленные отрезки с креплениями комплектуются покомнатно, связываются в пакеты и снабжаются бирками. Покомнатные пакеты комплектуются в поквартирные пакеты, связываются и снабжаются бирками.

К поквартирным пакетам придаются коробки с необходимым количеством крепежных клиц, угловых переходов, компенсаторов, переходных коробок и Г-образных скоб. На коробках проставляются шифры соответствующих поквартирных пакетов.

Рис. 15. Прорезь в уступе основания плинтуса

Рис. 16. "Г"–образная стальная скоба для крепления электротехнического плинтуса

Рис. 17. Крепежная пластинка, выполненная из кровельного оцинкованного железа

Рис. 18. Скамейка-кондуктор:

а - положение плинтуса и скобы в кондукторе; б - общий вид;

1 - основание; 2 - плинтус; 3 - упор передний; 4 - "Г"-образная скоба; 5 -упор задний; 6 - вставной клин, учитывающий толщину линолеума; 7 - уступ

Рис. 19. Узел крепления плинтуса к плите перекрытия:

1 - стеновая панель; 2 - основание плинтуса; 3 - "Г"-образная скоба; 4 - крепежная пластинка; 5 - плита перекрытия; 6 - дюбель

6.1.7. Скомплектованные пакеты и коробки поставляются на стройплощадку.

6.2. Технология крепления и монтажа

6.2.1. Монтаж плинтусной электропроводки начинают с установки розеток. Эти работы выполняются в соответствии с п. 5.2.1 - 5.2.6 настоящей "Инструкции".

6.2.2. Крепление плинтуса производится до устройства чистого пола и до установки подстолий в кухнях.

6.2.3. После доставки на стройплощадку пакеты заготовленного плинтуса и коробки с комплектующими изделиями разносятся по квартирам.

Раскладка плинтуса вдоль соответствующих стен и подготовка мест входа и выхода проводов производится в соответствии с п. 5.2.9 настоящей "Инструкции".

6.2.4. После раскладки и примерки плинтуса к стенам в промежуточные прорези его основания вставляются дополнительно Г-образные скобы. Они устанавливаются, как правило, не в каждую прорезь, а через одну - на расстоянии 0,5 - 0,6 м друг от друга. Вопрос о том, в какие прорези вставлять дополнительные скобы (на расстоянии 0,25 - 0,3 м), решает монтажник по месту в зависимости от кривизны стен и других местных условий.

Все эти скобы предназначены только для прижима основания плинтуса к стене, крепежные пластинки на них не устанавливаются.

6.2.5. Отрезки плинтуса, проходящие под конвекторами отопления, крепятся в местах, ближайших к концам конвектора. Под конвекторами крепление плинтуса не производится.

6.2.6. Крепление плинтуса производится путем пристрелки Г-образных скоб к плите перекрытия с применением монтажного поршневого пистолета ПЦ-52-1.

6.2.7. Пристрелку следует выполнять в соответствии с п. 5.2.13. настоящей "Инструкции".

6.2.8. Для выполнения пристрелки следует:

прижать ногой плинтус к стене;

приставить заряженный пистолет к напольной (горизонтальной) части скобы, проследив за тем, чтобы ствол пистолета был направлен вертикально;

произвести выстрел.

7. КРЕПЛЕНИЕ ПЛИНТУСА К ГИПСОБЕТОННЫМ ПЕРЕГОРОДКАМ

7.1. Крепление плинтуса к гипсобетонным перегородкам производится кровельными гвоздями 3,5 ´ 40 мм или дюбель-гвоздями ДГП 3,5 ´ 30 мм.

7.2. Гвозди и дюбели забиваются непосредственно в основание плинтуса молотком с помощью ручной направляющей оправки (рис. 20).

8. КРЕПЛЕНИЕ ПЛИНТУСА ПРИ ОБХОДЕ САНИТАРНО-ТЕХНИЧЕСКИХ КАБИН

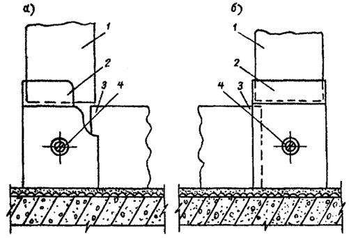
8.1. Крепление плинтуса в местах обхода сантехкабин выполняется методом приклеивания или пластмассовыми дюбелями размером 6 ´ 25 мм.

8.2. При выполнении крепления методом приклеивания на отрезках основания плинтуса на расстоянии 0,25 0,3 м друг от друга делаются прорезы в полках для увеличения эластичности плинтуса. Приклеивание производится по концам отрезков и в местах прорезов (рис. 21 и 22).

Прорезание полок делается пилой в шаблоне-стусле.

8.3. Для выполнения приклеивания следует приложить основание плинтуса к соответствующему месту строительного основания и отметить на нем участки приклеивания. Каждый участок приклеивания должен быть шириной 35 мм (по ширине приклеиваемой части плинтуса) и длиной 40 - 45 мм. Участки строительного основания в местах приклеивания следует протереть стальной кордовой щеткой и удалить с них пыль волосяной щеткой (сметкой). Затем следует нанести на них шпателем ровный слой клея, втирая его в поры строительного основания. Потом следует нанести клей на соответствующие участки верхней части стенки основания плинтуса, дать выдержку 3-5 мин, плотно прижать и притереть плинтус к строительному основанию.

Рис. 20. Направляющая оправка для ручной забивки дюбель-гвоздей и кровельных гвоздей:

1 - корпус, 2 - боек; 3 - дюбель-гвоздь

Рис. 21. Нанесение клея на заднюю стенку основания плинтуса по концам отрезка (заштриховано)

Рис. 22. Отрезок основания плинтуса с прорезом полок

Монтаж проводов можно производить через 2 суток после приклеивания.

8.4. При выполнении крепления пластмассовыми дюбелями, в местах крепления под дюбеля сверлятся отверстия диаметром 5,5 - 5,8 мм победитовыми сверлами или сверлами с вставками из твердого сплава.

8.5. Сверление рекомендуется выполнять электродрелями с насадками ударно-вращательного действия, что обеспечивает более высокую производительность труда. Отверстия сверлятся прямо через стенку основания плинтуса, что обеспечивает точность совпадания отверстий в плинтусе и строительном основании.

8.6. Сразу же после сверления в отверстие вставляется пластмассовый дюбель, который своим бортиком прижимает плинтус. Дюбеля вставляются в отверстия с помощью ручной оправки (рис. 23) легкими ударами молотка.

8.7. Места крепления плинтуса определяет монтажник в зависимости от местных условий.

Рис. 23. Ручная оправка для установки пластмассовых дюбелей:

а - эскиз оправки; б - оправка с насаженным дюбелем

9. КРЕПЛЕНИЕ И МОНТАЖ ЭЛЕКТРОТЕХНИЧЕСКОГО НАЛИЧНИКА

9.1. Заготовительные работы

9.1.1. Наличник нарезается на мерные отрезки в соответствии с размерами дверной коробки, уровнем чистого пола и высотой переходной коробки. Наличник должен входить в переходную коробку на 15 - 20 мм. Верхние концы вертикальных отрезков наличника и оба конца горизонтального (верхнего) отрезка должны быть срезаны под угол 45°.

Нарезка наличника производится на комплектовочном участке или в мастерской механической дисковой пилой с мелкими зубьями.

9.2. Технология крепления и монтажа

9.2.1. Монтаж электротехнического наличника может выполняться независимо от монтажа плинтуса.

9.2.2. Монтаж наличника для подводки проводов к розеткам электроплиты и электробытовых приборов мощностью выше 4 кВт выполняется до оклейки стен обоями и устройства чистого пола.

9.2.3. Крепление основания наличника к стеновым панелям производится методом приклеивания. Приклеивание производится участками по концам отрезка и в средней части на расстоянии 0,2 - 0,25 м друг от друга. Длина каждого участка приклеивания должна быть не меньше ширины наличника. Технология приклеивания приведена в п. 8.3.

При подводке наличника к розеткам электроплиты и электробытовых приборов мощностью свыше 4 кВт необходимо следить, чтобы наличник стыковался к розеткам вплотную (рис. 24).

Рис. 24. Подводка электротехнического наличника к розеткам электроплиты и электробытовых приборов мощностью свыше 4 кВт:

а - подводка к розетке электроплиты, б и в - подводка к розеткам электробытовых приборов

9.2.4. Прежде чем приступить к креплению наличника производят его примерку и подгонку по месту. При этом отпиливание необходимых отрезков производят в шаблоне-стусле для наличника (рис. 25).

9.2.5. Крепление основания наличника к дверной коробке производится кровельными гвоздями 3,5 ´ 40 мм. Гвозди забиваются молотком при помощи ручной направляющей оправки (рис. 20) через 1-й и 3-й каналы наличника (см. рис. 2). При этом, для более плотного прилегания наличника к дверной коробке соседние точки крепления должны быть расположены в разных каналах (вразбежку).

Расстояние между креплениями в зависимости от местных условий может составлять 0,2 - 0,4 м. Стыковое соединение наличника на дверном проеме показано на рис. 26.

9.2.6. Для перехода проводов из плинтуса в наличник предназначены переходные коробки. Переходы из плинтуса в наличник показаны на рис. 27.

9.2.7. На дверных проемах, где нет надобности в электротехническом наличнике, следует устанавливать обычный деревянный наличник.

10. МОНТАЖ ЭЛЕКТРОПРОВОДОК

10.1. После монтажа плинтуса и наличника приступают к прокладке проводов. Провода закладываются в соответствующие каналы основания плинтуса и наличника при снятых крышках. По мере прокладки проводов штепсельной группы устанавливаются крепежные клицы. Клицы устанавливаются на расстоянии 0,5 - 1 м друг от друга.

10.2. В местах пересечения проводов на выводимые Провода следует надевать поливинилхлоридные трубки.

10.3. В местах вывода проводов плинтус закрывается отрезками крышек с вырезами для прохода проводов.

10.4. Одновременно с прокладкой проводов устанавливают контактные основания штепсельных розеток и производят подключение проводов. Затем плинтус и наличник закрывают крышками.

Рис. 25. Шаблон-стусло для резки электротехнического наличника

Рис. 26. Стыковое соединение наличника на дверном проеме:

1 - основание наличника; 2 - крышка наличника

Рис. 27. Переходы из плинтуса в наличник:

а - правый; б - левый

10.5. После установки крышек плинтуса и наличника устанавливаются переходные коробки, закрывающие место перехода проводов из плинтуса в наличник. Коробки крепятся к дверной коробке шурупами 4 х 40 мм.

10.6. Телефонные провода и кабель телеантенны монтируются на стадии эксплуатации дома. Для этого следует:

1) установить телефонные розетки;

2) снять крышки плинтуса и наличника, а также переходные коробки по трассе прокладки проводов и кабеля;

3) сделать вырезы (кусачками или бокорезами) в крышке плинтуса в местах вывода проводов и кабеля;

4) заложить провода и кабель в соответствующие каналы плинтуса и наличника, попутно закрепляя кабель клицами*);

5) надеть на телефонные провода в месте их пересечения с другими проводами поливинилхлоридные трубки;

6) подвести телефонные провода к розеткам;

7) установить снятые крышки плинтуса и наличника, а также переходные коробки на место.

11. ПОСТАВКА, ТРАНСПОРТИРОВКА И ХРАНЕНИЕ ПЛАСТМАССОВЫХ ИЗДЕЛИЙ ДЛЯ ПЛИНТУСНЫХ ЭЛЕКТРОПРОВОДОВ

11.1. Пластмассовый электротехнический плинтус с крышкой должен поставляться по требованию заказчика прямым к отрезками длиной 2,4; 3,0 или 3,6 м.

11.2. Пластмассовый электротехнический наличник с крышкой должен поставляться по требованию заказчика прямыми отрезками длиной 2,1 2,4 или 2,7 м.

________

*) Монтажники телеателье должны иметь запас клиц для закрепления кабеля телеантенны в плинтуса.

11.3. По соглашению между предприятием-изготовителем и заказчиком допускается поставка плинтуса и наличника другой длины.

11.4. Погонажные изделия должны быть упакованы в 2 слоя плотной бумаги или в полиэтиленовую пленку и обвязаны шпагатом. В один пакет допускается упаковывать изделия только одного цвета и одинаковой длины. Общая масса пакета не должна превышать 32 кг.

11.5. Каждая партия погонажных изделий должна сопровождаться паспортом, удостоверяющим их соответствие требованиям ГОСТ 19111-77, в котором должно быть указано:

а) наименование организации, в систему которой входит предприятие-изготовитель;

б) наименование предприятия-изготовителя и его адрес;

в) наименование погонажного изделия, его тип и цвет;

г) номер партии и дата выпуска изделий;

д) количество изделий в партии (общая длина, масса, количество, пакетов);

е) результаты испытаний;

ж) обозначение настоящего стандарта.

11.6. Транспортировать погонажные изделия допускается любыми видами крытого транспорта при температуре не ниже минус 30° с защитой от воздействия атмосферных осадков.

Длина грузовой площадки транспортного средства должна соответствовать длине перевозимых изделий. Свисание концов плинтуса и наличника не допускается.

На перевозимые погонажные изделия укладывать какие-либо грузы категорически запрещено.

11.7. Не допускается бросать, перегибать и деформировать пачки погонажных изделий при погрузочно-разгрузочных, складских и производственных операциях.

11.8. Погонажные изделия должны храниться в сухих помещениях при температуре не ниже 10°С на стеллажах в отдельных штабелях высотой не более 0,6 м. Длина стеллажей должна быть не менее длины мерных отрезков. Укладывать на штабеля какие-либо грузы категорически запрещено.

11.9. Распаковка погонажных изделий должна производиться при температуре не ниже +15°С.

Перед распаковкой изделия должны выдерживаться при указанной температуре не менее 12 ч, если они до этого находились при температуре от 0 до +10°С, и не менее двух суток - при температуре ниже 0°С.

11.10. Комплектующие пластмассовые изделия - клицы, угловые переходы внутренние, угловые переходы внешние, компенсаторы, коробки переходные правые и коробки переходные левые - должны поставляться в коробках. Масса каждой коробки не должна превышать 10 кг.

11.11. На каждой коробке должна быть наклейка с указанием данных по п. 11.5. а), б), в), г), д) и е).

11.12. Правила транспортировки, хранения и распаковки комплектующих пластмассовых изделий - такие же, как и для погонажныж изделий.

12. ТЕХНИКА БЕЗОПАСНОСТИ ПРИ КРЕПЛЕНИИ И МОНТАЖЕ ЭЛЕКТРОТЕХНИЧЕСКОГО ПЛИНТУСА ПЭ-75

12.1. К работе по креплению и монтажу пластмассового электротехнического плинтуса допускается лица, обученные безопасным методам работы в соответствии с нижеуказанными правилами и нормативными документами.

12.2. К работе с монтажным пистолетом ПЦ-52-1 допускаются только операторы-пистолетчики, прошедшие специальный курс обучения в учебных комбинатах и имеющие соответствующее удостоверение.

12.3. Работающие с монтажным пистолетом ПЦ-52-1 должны строго соблюдать все правила техники безопасности и указания, изложенные в инструкции по его эксплуатации.

12.4. Прорабы и мастера обязаны:

лично осматривать места, где производится пристрелка, и обеспечивать необходимые условия работ;

разрешать пристрелку только при наличии у операторов-пистолетчиков соответствующих защитных средств (шлемофонов, защитных наушников и очков, перчаток типа "краги").

12.5. Механики (линейные, участковые, главные) несут персональную ответственность за правильность организации хранения, содержания, выдачи для работы и возврата пистолетов и патронов.

12.6. При работе с клеем КНЭ-2/60 должны выполняться следующие правила техники безопасности:

1) так как клей КНЭ-2/60 огнеопасен, в помещениях, где производится расфасовка клея и работа с ним, категорически запрещается курить, зажигать огонь. Помещения должны быть обесточены;

2) в помещениях, где работают с клеем, запрещается принимать пищу;

3) при работе с клеем необходимо следить, чтобы он не попадал в глаза и на кожу;

4) непосредственно перед работой с клеем руки рекомендуется для предохранения смазать гонким слоем силиконового крема (биологические перчатки);

5) загрязненные клеем участки кожи следует по окончании работы протереть тампоном из хлопчатобумажной ткани, смоченным в керосине или соляровом масле, и промыть водой с мылом.

12.7. При креплении и монтаже электротехнического плинтуса и наличника запрещается пользоваться открытым огнем.

12.8. Остальные требования безопасности должны выполняться в соответствии со СНиП III-4-80 и "Инструкцией по безопасным методам работы с мастиками КН-2 и КН-3" (ВСН-95-74).