УТВЕРЖДАЮ
ЗАМ. НАЧАЛЬНИКА ГЛАВСВЯЗЬСТРОЯ
В.И. МАКСИМОВ
" 29 декабря 1983 г.
СПЕЦИАЛИЗИРОВАННОЕ
КОНСТРУКТОРСКО-ТЕХНОЛОГИЧЕСКОЕ БЮРО
СТРОИТЕЛЬНОЙ ТЕХНИКИ СВЯЗИ
ИНСТРУКЦИЯ
ПО ПРИМЕНЕНИЮ ТЕРМОУСАЖИВАЕМЫХ ТРУБОК
ДЛЯ МОНТАЖА МНОГОПАРНЫХ КАБЕЛЕЙ ГТС
В ПОЛИЭТИЛЕНОВОЙ ОБОЛОЧКЕ
Инструкция разработана коллективом сотрудников ССКТБ: Беленко А.К., Соколовым В.Н., Саблиным В.А., Ушаковой Т.Ю. при творческом участии строительных лабораторий трестов "Мостелефонстрой" и "Союзтелефонстрой", а также производственной лаборатории Московской городской телефонной сети.
Настоящая инструкция является переработанной «Временной инструкцией по монтажу кабелей ГТС термоусаживаемыми трубками" (М., ССКТБ, 1976), в связи с чем срок действия первой прекращается. В нее вошли также ранее изданные:
- глава 3, разделы 3.2-3.5 и 3.10 "Инструкции по монтажу малогабаритных газонепроницаемых муфт на кабеле ТПП. АХП.250.00003.» (М., ССКТБ. 1980);
- "Временная инструкция по восстановлению разнородных оболочек при стыке кабелей ТПП и ТГ (без применения переходных манжет МПК-ПС)" (М., ССКТБ, 1981), срок действия которой до 1.ХII.83г. "
При составлении инструкции был учтен многолетний опыт монтажа кабелей ГТС термоусаживаемыми трубками (ТУТ), а также замечания и предложения строительных и эксплуатационных организаций Министерства связи СССР.
В связи с тем, что в настоящее время промышленностью выпускаются термоусаживаемые трубки по ТУ 6-19-051-446-83 ограниченных типоразмеров, с коэффициентом усадки 1/2, что в значительной мере сокращает возможности их применения, настоящая инструкция распространяется на те кабели (см. ориентировочную таблицу в приложении), на которых при монтаже муфт могут быть использованы ТУТ для герметизации всех трех стыков. При монтаже муфт на других кабелях этого типа ТУТ подходят только для отдельных одного или двух стыков, два других или третий стыки необходимо в этом случае герметизировать сваркой, что не может быть принято как единый цельный технологический процесс. По этой же причине в инструкцию не включен монтаж разветвительных муфт. Причем, из-за конструктивных особенностей этих муфт герметизация стыка оголовника с полиэтиленовым корпусом не представляется возможной.
Муфты, изготовленные по ТУ 45.1477-80, также нельзя монтировать ТУТ из-за их конусных окончаний, требующих применения ТУТ других типоразмеров и с коэффициентом усадки 1/3.
Исключение составляют малогабаритные газонепроницаемые муфты; размер которых подобран, в соответствии с имеющимися ТУТ.
В качестве герметизирующего термоплавкого подслоя, накладываемого под термоусаживаемую трубку, рекомендуется сополимер этилена с винилацетатом - сэвилен (или миравитен).
В инструкции изложены указания по выполнению только тех работ, которые касаются особенностей применения ТУТ, устройства малогабаритных газонепроницаемых муфт и монтажа кабелей в разнородных оболочках. Монтаж всех остальных элементов кабелей, не нашедших отражения в инструкции, следует выполнять в соответствии с "Общий инструкцией по строительству линейных сооружений ГТС" (М., "Связь", 1978).
I.1. Для получения ТУТ полиэтиленовые трубки, изготовленные обычным способом (экструзией) из полиэтилена низкой плотности, подвергают следующей обработке:
- радиационному облучению (сшивке) потоком частиц высокой энергии;
- раздуву до диаметра, равного двум начальным диаметрам.
В результате облучения молекулярная структура полиэтилена изменяется, и он приобретает новые свойства - становится термостойким и механически прочным. После раздува и резкого охлаждения трубки сохраняют новый диаметр, помня при этом свой первоначальный. Такое свойство ТУТ подучило определение "эффект памяти". При воздействии на ТУТ открытым пламенем она усаживается и приобретает свой первоначальный вид. Свойство ТУТ усаживаться в радиальном направлении используется при монтаже кабелей.
В настоящее время ТУТ изготавливаются по техническим условиям ТУ 6-19-051-446-83 "Радиационно-модифицированные термоусаживаемые трубки". Условное обозначение трубок (например, 40/20) состоит из отмщения внутреннего диаметра до и после усадки. В примере внутренний диаметр до усадки (в состоянии поставки) составляет 40 мм, а после усадки - 20 мм. Типоразмеры выпускающихся промышленностью ТУТ, которые могут найти применение при монтаже кабелей ГТС, приведены в табл.1.
Таблица 1
|
Внутренний диаметр |
Толщина стенки после усадки, мм |
||
|
до усадки, Д1 |
после усадки, Д2 |
||
|
12/6 |
12 |
6 |
0,6 |
|
16/8 |
16 |
8 |
0,8 |
|
20/10 |
20 |
10 |
1,0 |
|
30/15 |
30 |
15 |
1,0 |
|
40/20 |
40 |
20 |
1,0 |
|
60/30 |
60 |
30 |
1,5 |
|
80/40 |
80 |
40 |
1,5 |
|
100/50 |
100 |
50 |
1,5 |

Рис. 1. Конструктивные показатели ТУТ
Радиальная усадка ТУТ – 50 %. Продольная - до 30 %. Продольная усадка характеризуется относительным изменением длины ТУТ при нагреве, указывается в процентах и определяется по формуле:
,
где L1 - длина ТУТ до усадки (мм),
L2 - длина ТУТ после усадки (ми).
Применение термоусаживаемых трубок
I.2. Эксплуатационная надежность смонтированных участков кабелей с применением ТУТ обеспечивается в случае выполнения следующих требований:
- применения подклеивающего термоплавкого слоя;
- обеспечения требуемой величины перекрытия в местах соединения усаженными ТУТ;
- обеспечения достаточного обжатия отрезками ТУТ мест соединений, т.е. обеспечения оптимального соотношения между внутренними диаметрами ТУТ до и после усадки и диаметрами оболочки кабеля и полиэтиленовой муфты.
Конструктивные показатели ТУТ
I.3. При монтаже кабеля ТУТ используются в виде отрезков, длина и диаметр которых определяются условиями применения. При подборе типоразмера ТУТ используются основные конструктивные показатели отрезков ТУТ:
- внутренний диаметр ТУТ до усадки;
- внутренний диаметр после усадки;
- процент продольной усадки.
Методика подбора требуемых типоразмеров ТУТ
I.4. Методика подбора включает в себя определение внутренних диаметров ТУТ в состоянии поставки и после полной усадки и выбор соответствующего типоразмера по техническим условиям. Определение внутреннего диаметра ТУТ производится с учетом 50% радиальной усадки и на основании рекомендуемых пределов применения, которые приведены в табл. 2.
Таблица 2
|
Рекомендуемый предел применения ТУТ |
||
|
минимальный наружный диаметр, мм |
максимальный наружный диаметр, мм |
|
|
20/10 |
13 |
15 |
|
30/15 |
20 |
25 |
|
40/20 |
25 |
35 |
|
60/30 |
35 |
50 |
|
80/40 |
45 |
70 |
|
100/50 |
60 |
85 |
Определение требуемых длин отрезков ТУТ производится с учетом перекрытия наложенных на оболочку кабеля и муфту сэвиленовых поясков и с учетом 30 % продольной усадки трубок. Длина ТУТ рассчитывается по следующей формуле:
,
где l1 - ширина сэвиленовых поясков,
l2 - ширина полиэтиленового пояска,
0,5 - коэффициент продольной усадки.
Ширина поясков, накладываемых на оболочку кабеля и часть муфты в местах герметизации дается в табл. 3 в зависимости от диаметров стыкуемых частей.
Таблица 3
|
Ширина поясков, ми |
||
|
сэвиленовой ленты, l1 |
полиэтиленовой ленты, l2 |
|
|
до 30 |
20 |
25 |
|
до 50 |
30 |
30 |
|
свыше 50 |
40 |
40 |

Рис. 2. Расположение поясков и ТУТ в местах герметизации оболочки кабеля с окончанием полиэтиленовой муфты
Восстановление полиэтиленовой оболочки кабеля при монтаже прямой соединительной муфты
II.1. Восстановление полиэтиленовой оболочки в местах монтажа муфт выполняется с применением стандартных полиэтиленовых муфт и отрезков ТУТ (ориентировочный подбор ТУТ дан в таблице приложения). Перед сращиванием токопроводящих жил на каждый конец кабеля надвигают отрезки ТУТ, предварительно обезжиренные бензином Б-70, и отдельные части полиэтиленовой муфты, у которых с внешней стороны торцов цилиндрических окончаний и раструба (на среднем стыке) снята фаска под углом 30°. Необходимо обратить внимание на качество торцов ТУТ. Торцы должны быть ровными и обрезаны перпендикулярно оси-трубки, т.к. надрезы и заусенцы могут привести к разрыву трубки во время усадки.
II.2. После монтажа сростка жил, восстановления поясной изоляции и экрана полиэтиленовую оболочку в местах установки муфты, а также стыкуемые участки муфты с внешней стороны обезжиривают бензином Б-70 и зачищают ножом. Затем муфту устанавливают над смонтированным сростком.
II.3. В случае большого зазора (более 1,5 мм) между оболочкой кабеля и окончанием муфты последние осаживают до плотной посадки после прогрева горячим воздухом от открытого пламени. Осаживание производят стягивающим бандажом из резинового бинта. После полного остывания осаженных частей муфты их снова зачищают ножом.
II.4. Для фиксации отдельных частей муфты между собой и с оболочкой кабеля на стыки наматывают один на другой 3-4 слоя полиэтиленовой ленты шириной, указанной в табл. 3.
II.5. На оболочку кабеля, окончания муфты и в местах соединения частей муфты между собой по обе стороны от ранее намотанных слоев полиэтиленовой ленты без зазора накладывают пояски, сэвилена. Толщина каждого пояска сэвилена должна быть не менее 1,0 мм.
II.6. Отрезки ТУТ надвигают на места, предназначенные для их усадки. Первоначально усаживают ТУТ на одном из стыков оболочки кабеля с окончанием муфты. Затем усаживают ТУТ в месте соединения частой муфты между собой. Далее усаживают ТУТ на стыке другого окончания муфты с оболочкой кабеля.
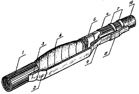
II.7. Усадку ТУТ производят уморенным пламенем газовой горелки или паяльной лампы, при этом горелку (лампу) кругообразно перемещают вокруг трубки и от ее центра к одному из концов. После усадки одной половины трубки аналогично усаживают вторую ее половину. Особенно тщательно прогревают трубку в местах установки сэвилена. Прогрев продолжают до полной усадки ТУТ и активного выделения расплавленного герметика из-под ее торцов. При слабом нажатии на трубку защищенными пальцами руки под ней должно чувствоваться плавление герметика. На рис. 3 дана схема расположения поясков лент и отрезков ТУТ.
Рис. 3. Расположение поясков лент и отрезков ТУТ на прямой соединительной муфте:
1 - пояски сэвилена; 2 - пояски полиэтиленовой ленты; 3 - отрезки термоусаживаемой трубки
Особенности восстановления полиэтиленовой оболочки кабеля с гидрофобным заполнением при монтаже прямой соединительной муфты
II.8. Восстановление полиэтиленовой оболочки кабеля с гидрофобным заполнением производится так же, как и при монтаже обычного кабеля (п. II.1) стандартными полиэтиленовыми муфтами и отрезками ТУТ. К особенностям монтажа следует отнести повышенные требования к чистоте поверхностей герметизируемых стыков и применение мер, предохраняющих эти поверхности от загрязнения гидрофобным заполнителем. В качестве таких мер участки полиэтиленовой оболочки в местах предполагаемого размещения стыков муфты до разделки кабеля временно защищают обмоткой в один слой пластмассовой лентой.
Монтаж газонепроницаемых муфт с использованием укороченного корпуса стандартной полиэтиленовой муфты
II.9. Герметизация стыков газонепроницаемых муфт производится так же, как и герметизация прямых соединительных муфт. Схема расположения поясков лент и отрезков ТУТ дана на рис. 4.
Рис. 4. Расположение поясков и отрезков ТУТ на газонепроницаемой муфте:
1 - пояски сэвилена; 2 - пояски полиэтиленовой ленты; 3 - отрезки термоусаживаемой трубки
Монтаж малогабаритных газонепроницаемых муфт (МГНМ)
II.10. В состав работ по монтажу МГНМ входят следующие основные операции:
- удаление части полиэтиленовой оболочки, экранных лент и поясной изоляции;
- вспушивание сердечника;
- установка над вспушенным сердечником металлического спорного каркаса, состоящего из двух полумуфт;
- усаживание термоусаживаемой трубки;
- заливка муфты компаундом.
II.11. Перед началом работ оболочку кабеля между консолями протирают ветошью, смоченной в бензине, а затем сухой ветошью. На кабель надвигают термоусаживаемую трубку и оставляют ее рядом с одной из консолей со стороны монтируемой МГНМ. Кабель выкладывают и закрепляют на консолях.
II.12. В месте монтажа МГНМ делают отметки среза оболочки кабеля. Длина разделки оболочки и выбор типоразмера МГНМ в зависимости от емкости и диаметра кабеля приведены в табл.4.
Таблица 4
Тип комплектов и длина разделки оболочки кабеля
|
Емкость кабеля |
Длина разделки, мм |
||
|
МГНМ-0 |
100´2´0,32 |
- |
120 |
|
МГНМ-1 |
100´2´0,4 |
50´4´0,4 |
130 |
|
100´2´0,5 |
50´4´0,5 |
||
|
200´2´0,32 |
- |
||
|
МГНМ-2 |
100´2´0,7 |
50´4´0,7 |
135 |
|
200´2´0,4 |
100´4´0,4 |
||
|
200´2´0,5 |
100´4´0,5 |
||
|
300´2´0,32 |
- |
||
|
300´2´0,4 |
150´4´0,4 |
||
|
300´2´0,5 |
150´4´0,5 |
||
|
400´2´0,32 |
- |
||
|
400´2´0,4 |
200´4´0,4 |
||
|
500´2´0,32 |
- |
||
|
МГНМ-3 |
400´2´0,5 |
200´4´0,5 |
145 |
|
500´2´0,4 |
250´4´0,4 |
||
|
500´2´0,5 |
250´4´0,5 |
||
|
600´2´0,32 |
- |
||
|
600´2´0,4 |
300´4´0,4 |
||
|
600´2´0,5 |
300´4х0,5 |
||
II.13. По сделанным отметкам делают два круговых и один продольный разрез и удаляют оболочку (при разделке кабеля емкостью свыше 300 пар для облегчения удаления оболочки рекомендуется ее предварительный прогрев). На кабеле ТППэп оболочку удаляют продольными полосками шириной 15-25 мм. На расстоянии 15 мм от среза оболочки обрывают экранную ленту и, отступив 5 мм от экрана, - поясную изоляцию. Во время разделки следует оберегать от повреждения экранную проволоку.
II.14. Участок кабеля, освобожденный от оболочки, подтягивают к середине с небольшим поворотом против направления повива. Нитки, разделяющие повивы (пучки), обрезают или выкусывают, а жилы отделяют одна от другой. На рис.5 показана разделка кабеля.
Рис. 5. Разделка кабеля
II.15. Обе металлические полумуфты опорного каркаса протирают ветошью, смоченной в бензине, просушивают, устанавливают над вскрытый участком оболочки кабеля и скрепляют четырьмя слоями полиэтиленовой ленты, накладываемыми на цилиндрические окончания опорного каркаса с заходом на оболочку кабеля на 10-15 мм. Полумуфта каркаса с отверстием в центре должна устанавливаться вверху (рис.6).
Рис. 6. Установка металлического каркаса:
1 - металлический каркас; 2 - слои полиэтиленовой ленты
II.16. На установленный каркас надвигают ТУТ и усаживают ее. После остывания трубки в ней ножом прорезают отверстие над имеющимся отверстием в металлическом каркасе. На рис. 7 показана готовая к заливке муфта.
Рис. 7. Готовая к заливке газонепроницаемая муфта:
1 - распушенный сердечник кабеля; 2 - металлический каркас; 3 - полиэтиленовая лента; 4 - термоусаживаемая трубка
II.17. После заливки МГНМ отверстие в муфте временно перекрывают двумя слоями липкой пластмассовой ленты. После полного отвердения компаунда в муфте ленту удаляют. На рис. 8 показана смонтированная и залитая МГНМ.
Рис. 8. Смонтированная и залитая МГНМ
II.18. Детали для монтажа МГНМ, изготовленные в соответствии с конструкторской документацией, комплектуются в отдельную тару в соответствии с ТУ 45-80 (АХП 0.407.002 ТУ) Комплекты деталей и материалов для монтажа малогабаритных газонепроницаемых муфт (ЛГНМ)".
Восстановление разнородных оболочек при соединении кабелей в полиэтиленовой и свинцовой (стальной) оболочках
II.19. Для восстановления разнородных оболочек при монтаже муфт применяются:
- свинцовая муфта (ТУ 45-76);
- - свинцовая втулка с продольным разрезом (см. рис. 9), изготовленная из отходов кабеля ТТ. Внутренний диаметр свинцовой втулки должен соответствовать внешнему диаметру полиэтиленовой оболочки;
- одна термоусаживаемая трубка (при монтаже кабелей емкостью до 300 пар);
- две термоусаживаемые трубки (при монтаже кабеля емкостью свыше 300 пар);
- сэвиленовая лента;
- лента кабельной бумаги.
Размеры ТУТ и свинцовых разрезных втулок приведены в табл.5.
Рис. 9. Свинцовая втулка с продольным разрезом
II.20. До начала монтажа сростка жил на стыкуемые кабели надвигают свинцовую муфту, а на кабель с полиэтиленовой оболочкой - термоусаживаемув трубку (одну или две), предварительно обезжиренную внутри бензином Б-70.
II.21. На полиэтиленовую оболочку от места ее среза, на участке, равном длине свинцовой втулки, накладывают бандаж из 2-3 слоев кабельной бумаги. На бумажный бандаж устанавливают свинцовую втулку с продольным разрезом. Втулку подбивают деревянной киянкой до плотной посадки на полиэтиленовую оболочку кабеля и так, чтобы продольный разрез втулки сошелся встык, без зазора.
II.22. После монтажа сростка жил и восстановления поясной изоляции над сростком устанавливают свинцовую муфту. Один конус муфты подбивают по внешнему диаметру свинцовой (стальной) оболочки кабеля, второй конус - по внешнему диаметру свинцовой разрезной втулки. Затем стыки конусов муфты и продольный разрез свинцовой втулки запаивают припоем ПОССу 30-2. При монтаже кабеля со стальной гофрированной оболочкой стык муфты на этой оболочке паяют после ее залуживания пастой ПМКН-40. Пайку производят без применения стеарина.
Примечание. Ленты экрана в муфте не восстанавливаются. Экранная проволока выводится через один из стыков свинцовой муфты и вместе с ним припаивается.
Таблица 5
|
Типоразмер ТУТ |
Длина свинцовой втулки, мм |
Длина первой ТУТ, мм |
Длина второй ТУТ, мм |
||||
|
Æ жил 0,32 мм |
Æ жил 0,4 мм |
Æ жил 0,5 мм |
Æ жил 0,7 мм |
||||
|
10-20 |
10 |
10 |
- |
12/6 |
60 |
60 |
- |
|
30-50 |
20-30 |
20 |
10 |
20/10 |
70 |
80 |
- |
|
100-150 |
50 |
30-50 |
20-30 |
30/15 |
80 |
90 |
- |
|
200-300 |
100-200 |
100 |
50 |
40/20 |
85 |
100 |
- |
|
400-600 |
300-400 |
200-300 |
100-150 |
60/30 |
90 |
100 |
130 |
|
700-1200 |
500-900 |
400-600 |
200-300 |
80/40 |
120 |
110 |
140 |
|
1000-1200 |
700-1200 |
400-600 |
100/50 |
130 |
120 |
150 |
|
II.23. При монтаже кабелей емкостью до 300 пар свинцовую втулку и полиэтиленовую оболочку кабеля на длину ТУТ по обе стороны от торца свинцовой втулки протирают бензином Б-70 и зачищают ножом. На зачищенные участки полиэтиленовой оболочки и свинцовой втулки накладывают по одному пояску сэвиленовой ленты. На это же место устанавливают и усаживают открытым пламенем термоусаживаемую трубку.
II.24. При монтаже кабелей емкостью свыше 300 пар свинцовую втулку и полиэтиленовую оболочку кабеля зачищают на длину второй (большей) ТУТ. Вплотную к торцам усаженной первой ТУТ накладывают по одному пояску сэвилена, а затем на это же место устанавливают и усаживают вторую ТУТ. Перекрытие верхней ТУТ нижней должно быть равномерным с обеих сторон.

Рис. 10. Смонтированная муфта на стыке кабелей в разнородных оболочках:
1 - кабель ТГ; 2 - свинцовая муфта; 3 - место пайки свинцовой муфты к оболочке кабеля ТГ; 4 - сросток жил; 5 - бандаж из кабельной бумаги; 6 - разрезная свинцовая втулка; 7 - полоски сэвилена; 8 - поясок термоусаживаемой трубки; 9 - место пайки свинцовой муфты к разрезной свинцовой втулке; 10 - кабель ТПП
Соединение оболочки кабеля с вводными втулками оконечных кабельных устройств
II.25. Тазмеры ТУТ для соединения оболочки кабеля с вводными втулками оконечных кабельных устройств приведены в табл.6.
Таблица 6
|
Размеры ТУТ, мм |
||
|
диаметр |
длина |
|
|
Боксы кабельные телефонные: |
||
|
БКТ 10´2 |
20/10 |
70 |
|
БИТ 20´2 |
20/10 |
70 |
|
БКТ 30´2 |
30/15 |
80 |
|
БКТ 50´2 |
30/15 |
100 |
|
БКТ 100´2 |
40/20 |
100 |
|
Ящики кабельные: |
||
|
ЯКГ 10´2 |
20/10 |
70 |
|
ЯКГ 20´2 |
20/10 |
70 |
|
Коробки распределительные телефонные: |
||
|
КРТ 10´2 |
20/10 |
70 |
II.26. Перед введением кабеля в оконечное устройство на него надвигают одну ТУТ.
II.27. Участок соединения вводной втулки оконечного устройства и полиэтиленовой оболочки кабеля для фиксации обматывают 4-5 слоями полиэтиленовой, ленты. Затем на этот участок надвигают и усаживают ТУТ. Усадку начинают с середины и далее в направлении к корпусу оконечного устройства, после чего усаживают вторую часть ТУТ.
II.28. Схема соединения оболочки кабеля с вводной втулкой бокса показана на рис. 11.
Оконечная заделка кабеля
II.29. Оконечная заделка кабеля производится полиэтиленовыми колпачками соответствующих типоразмеров, имеющих в своем торце вентиль или без него.
II.30. Герметизация стыка колпачка с полиэтиленовой оболочкой кабеля производится так же, как и герметизация одного из стыков монтируемой соединительной муфты. На рис. 12 показана схема установки и герметизации полиэтиленового колпачка.
Рис. 11. Схема соединения оболочки кабеля с вводной втулкой кабельного бокса:
1 - вводная втулка; 2 - участок обмотки полиэтиленовой лентой; 3-термоусаживаемая трубка; 4-кабель
Рис. 12. Схема установки и герметизации полиэтиленового колпачка:
1 - кабель с полиэтиленовой оболочкой; 2 - полиэтиленовый колпачок; 3- вентиль; 4 - термоусаживаемая трубка; 5 - подоски сэвилена; 6- обмотка полиэтиленовой лентой
Демонтаж муфт
II.31. Перед вскрытием полиэтиленовой муфты участки герметизации необходимо прогреть горячим воздухом от газовой горелки или паяльной дампы. На прогретых участках сделать продольный разрез ТУТ ножом. Снять ТУТ и сдвинуть со сростка части муфты. После устранений повреждения установить части муфты над сростком. Стыки частей муфты между собой и оболочкой кабеля тщательно зачистить от остатков сэвилена и заварить путем наплавления полиэтиленовой ленты под стеклолентой.
II.32. При демонтаже муфты, смонтированной на стыке кабелей в разнородных оболочках, распаивает стыки конусов свинцовой муфты и при необходимости делают продольный разрез. Муфту сдвигают в сторону или снимают со сростка. При последующем восстановлении наружной оболочки свинцовую муфту устанавливают на прежнее место и производят пайку продольного разреза и конусов муфты к свинцовой (стальной) оболочке кабеля и к свинцовой втулке. Во время распайки и лайки ТУТ следует защищать стеклолентой.
Ремонт оболочек
II.33. Ремонт полиэтиленовых оболочек кабелей термоусаживаемыми трубками возможен только в том случае, когда повреждение оболочки произошло недалеко от конца кабеля. Для проведения ремонта необходимо зачистить участок повреждения оболочки, наложить рядом с поврежденным участком по одному пояску сэвилена и над ними установить и усадить термоусаживаемую трубку (см. рис. 13).
Рис. 13. Ремонт полиэтиленовой оболочки:
1 - кабель с полиэтиленовой оболочкой; 2 - повреждение кабеля: 3 - подоски сэвилена: - термоусаживаемая трубка
III.1. Контроль герметичности смонтированных муфт и смонтированных участков линий производится в соответствии с главой 12 "Общей инструкции по строительству линейных сооружений ГТС" (М., "Связь", 1978).
III.2. Контроль качества смонтированных муфт на кабелях с гидрофобным заполнением производится внешним осмотром и по результатам электрических измерений характеристик линий.
IV.1. Монтаж кабелей должен производиться с соблюдением "Правил техники безопасности при работах на кабельных линиях связи и проводного вещания" (М., "Связь", 1979) и разделами 11.3 и 11.5 "Общей инструкции по строительству линейных сооружений ГТС" (М., "Связь", 1978).
IV.2. Работа с термоусаживаемыми трубками и термоплавкими подслоями (сэвилен, миравитен) не является вредной для здоровья людей и при обращении с ними не следует предусматривать специальных мер предосторожности.
IV.3. Монтаж газонепроницаемых муфт должен производиться с учетом требований, изложенных в "Санитарных правилах при работе с эпоксидными смолами", утвержденными Госсанинспекцией СССР 27.ХII.1960 г.
IV.4. При использовании ветоши, смоченной в бензине, необходимо соблюдать особую осторожность и по мере использования удалять ветошь из колодца.
IV.5. По окончании работ руки следует мыть теплой водой с мылом.
|
Количество пар в кабеле |
Типоразмер ТУТ |
||||
|
при Æ жил 0,4 мм |
при Æ жил 0,5 мм |
при Æ жил 0,7 мм |
ТУТ к-м |
ТУТ ч-и |
|
|
По ТУ 16-38.149-72 |
|||||
|
6 СП-37/41 |
300 |
200 |
100 |
60/30 |
80/40 |
|
7 СП-43/48 |
400 |
300 |
150 |
80/40 |
100/50 |
|
По ТУ 45.1478-80 |
|||||
|
при Æ жил 0,32 мм |
при Æ жил 04 мм |
при Æ жил 0,5 мм |
|||
|
МПП-2 |
200 |
200 |
200 |
60/30 |
80/40 |
|
МПП-3 |
300 |
300 |
300 |
60/30 |
100/50 |
|
МПП-4 |
400 |
400 |
400 |
60/30 |
100/50 |
Джина отрезка ТУТ типоразмера:
60/30, мм - не менее 120,
80/40, мм - ее менее 130,
100/50, мм - не менее 150.
Условные обозначения к ТУТ означают места соединения (стыка) частей муфты между собой (ТУТ ч-м) и частей муфт с оболочной кабелем (ТУТ к-м). На каждую муфту комплектуется по две ТУТ к-м.
Полиэтиленовые муфты для монтажа кабеля должны поставляться комплектно с отрезками ТУТ соответствующих типоразмеров и рулончиками сэвиленовой и полиэтиленовой лент.
СОДЕРЖАНИЕ