ОТРАСЛЕВОЙ СТАНДАРТ
БОБЫШКИ, ПРОБКИ И ПРОКЛАДКИ
Конструкция, размеры
и общие технические требования
ОСТ 26.260.460-99
УТВЕРЖДАЮ
Председатель ТК 260
«Оборудование химическое
и нефтеперерабатывающее»
____________ В. А. Заваров
31.08.1999 г.
ЛИСТ УТВЕРЖДЕНИЯ
ОСТ 26.260.460-99
БОБЫШКИ, ПРОБКИ И ПРОКЛАДКИ
Конструкция, размеры и
общие технические требования
ДАО «ЦКБН»
Генеральный директор Ю. А. Кащицкий
Главный инженер А. А. Пигарев
Зав. отделом стандартизации
и сертификации А. Ю. Пролесковский
Конструктор II категории отд. № 8 Т. Д. Демченкова
Инженер 1 категории отд. № 8 Е. Д. Егорова
СОГЛАСОВАНО
ОАО «НИИХИММАШ»
Заместитель Генерального директора
по научно-производственной деятельности
__________________ В. В. Раков.
ПРЕДИСЛОВИЕ
1. РАЗРАБОТАН Дочерним открытым акционерным обществом «Центральное конструкторское бюро нефтеаппаратуры» (ДАО«ЦКБН»)
2. ПРИНЯТ И ВВЕДЕН В ДЕЙСТВИЕ Техническим комитетом 260 «Оборудование химическое и нефтеперерабатывающее»
3. ВВЕДЕН ВПЕРВЫЕ
ОСТ 26.260.460-99
|
БОБЫШКИ, ПРОБКИ И ПРОКЛАДКИ |
Дата введения 1999-09-01.
Настоящий стандарт устанавливает конструкцию, размеры и общие технические требования на бобышки, пробки и прокладки, применяемые в сосудах, аппаратах и трубопроводах блоков для нефтеперерабатывающей, нефтехимической, нефтяной и газовой промышленности на условное давление Pу 16,0 МПа.
В настоящем стандарте использованы ссылки на следующие стандарты:
ГОСТ 380-88 Сталь углеродистая обыкновенного качества. Марки.
ГОСТ 481-80 Паронит и прокладки из него. Технические условия.
ГОСТ 535-88 Прокат сортовой и фасонный из стали углеродистой обыкновенного качества. Общие технические условия.
ГОСТ 1050-88 Прокат сортовой, калиброванный со специальной отделкой поверхности из углеродистой качественной конструкционной стали. Общие технические условия.
ГОСТ 1173-93 Ленты медные. Технические условия.
ГОСТ 2208-91 Ленты латунные общего назначения. Технические условия.
ГОСТ 4543-71 Сталь легированная конструкционная. Марки и технические требования.
ГОСТ 4986-79 Лента холоднокатаная из коррозионно-стойкой и жаростойкой стали. Технические условия.
ГОСТ 5520-79 Сталь листовая углеродистая низколегированная и легированная для котлов и сосудов, работающих под давлением. Технические условия.
ГОСТ 5632-72 Стали высоколегированные и сплавы коррозионно-стойкие, жаростойкие и жаропрочные. Марки и технические требования.
ГОСТ 5949-75 Сталь сортовая калиброванная коррозионно-стойкая, жаростойкая и жаропрочная. Технические условия.
ГОСТ 6211-81 Основные нормы взаимозаменяемости. Резьба трубная коническая.
ГОСТ 6357-81 Основные нормы взаимозаменяемости. Резьба трубная цилиндрическая.
ГОСТ 7338-90 Пластины резиновые и резинотканевые. Технические условия.
ГОСТ 7350-77 Сталь толстолистовая коррозионно-стойкая, жаростойкая и жаропрочная. Технические условия.
ГОСТ 8479-70 Поковки из конструкционной углеродистой и легированной стали. Общие технические условия.
ГОСТ 9347-74 Картон прокладочный и уплотнительные прокладки из него.
ГОСТ 10007-80 Фторопласт-4. Технические условия.
ГОСТ 10549-80 Выход резьбы, сбеги, недорезы, проточки и фаски.
ГОСТ 14637-89 Прокат толстолистовой из углеродистой стали обыкновенного качества. Технические условия.
ГОСТ 16093-81 Основные нормы взаимозаменяемости. Резьба метрическая. Допуски. Посадки с зазором.
ГОСТ 19257-73 Отверстия под нарезание метрической резьбы.
ГОСТ 19281-89 Прокат из стали повышенной прочности. Общие технические условия.
ГОСТ 21348-75 Отверстия под нарезание трубной цилиндрической резьбы. Диаметры.
ГОСТ 21350-75 Отверстия под нарезание трубной конической резьбы. Диаметры.
ГОСТ 21631-76 Листы из алюминия и алюминиевых сплавов. Технические условия.
ГОСТ 24705-81 Основные нормы взаимозаменяемости. Резьба метрическая. Основные размеры.
ГОСТ 25054-81 Поковки из коррозионно-стойких сталей и сплавов. Общие технические условия.
ОСТ 26 291-94 Сосуды и аппараты стальные сварные. Общие технические условия.
ТУ 14-1-4853-90 Прокат толстолистовой стойкий к коррозионному растрескиванию. Технические условия.
3.1. Бобышки по конструкции и размерам предусматриваются трех типов:
Тип 1 - для сосудов и аппаратов с толщиной стенки корпуса до 60 мм, который имеет четыре исполнения:
исполнение 1 - с метрической резьбой (рисунок 1; 3, таблица 1);
исполнение 2 - с трубной цилиндрической резьбой (рисунок 1; 4, таблица 2);
исполнение 3 - с трубной конической резьбой (рисунок 1; 5, таблица 3);
исполнение 4 - с метрической резьбой, со скосом под приварку (рисунок 1; 6, таблица 4).
Тип 2 - для сосудов и аппаратов с толщиной стенки корпуса свыше 60 мм, который имеет три исполнения:
исполнение 1 - с метрической резьбой (рисунок 2; 3, таблица 5);
исполнение 2 - с трубной цилиндрической резьбой (рисунок 2; 4, таблица 6);
исполнение 3 - с трубной конической резьбой (рисунок 2; 5, таблица 7).
Тип 3 - бобышка специальная под пробку, для заглушки резьбовых отверстий в устройствах для установки приборов на сосудах и аппаратах (рисунок 7).
Тип 1
Рисунок 1
Тип 2
Остальное - см. рисунок 1
Рисунок 2
Исполнение 1
Рисунок 3
Исполнение 2
Рисунок 4
Исполнение 3
Рисунок 5
Исполнение 4
Рисунок 6
Таблица 1
Размеры в миллиметрах
|
d |
D |
D1 |
d1 |
l |
L |
|||
|
50 |
100 |
160 |
||||||
|
Масса, кг |
||||||||
|
10 |
М12×1,5 |
30 |
26 |
10,43 |
50 |
0,24 |
0,48 |
- |
|
15 |
M18×1,5 |
40 |
32 |
16,43 |
0,40 |
0,81 |
1,29 |
|
|
M18×2,0 |
15,90 |
|||||||
|
M20×1,5 |
18,43 |
0,38 |
0,76 |
1,22 |
||||
|
20 |
M27×1,5 |
50 |
37 |
25,43 |
0,56 |
1,12 |
1,80 |
|
|
M27×2,0 |
24,90 |
|||||||
|
25 |
M30×1,5 |
44 |
28,43 |
0,51 |
1,02 |
1,64 |
||
|
M33×2,0 |
30,90 |
0,47 |
0,97 |
1,52 |
||||
|
32 |
M39×3,0 |
60 |
53 |
35,85 |
0,71 |
1,42 |
2,27 |
|
Таблица 2
Размеры в миллиметрах
|
d |
D |
D1 |
d1 |
l |
L |
|||
|
50 |
100 |
160 |
||||||
|
Масса, кг |
||||||||
|
10 |
G 3/8 |
30 |
26 |
15,00 |
50 |
0,21 |
0,42 |
- |
|
15 |
G 1/2 |
40 |
32 |
18,68 |
0,38 |
0,76 |
1,22 |
|
|
20 |
G 3/4 |
50 |
37 |
24,17 |
0,59 |
1,20 |
1,90 |
|
|
25 |
G 1 |
44 |
30,34 |
0,49 |
0,99 |
1,58 |
||
|
32 |
G 1 1/4 |
60 |
53 |
39,00 |
0,64 |
1,28 |
2,05 |
|
|
40 |
G 1 1/2 |
70 |
63 |
44,90 |
0,90 |
1,88 |
2,84 |
|
|
50 |
G 2 |
80 |
73 |
56,70 |
0,97 |
1,95 |
3,11 |
|
Таблица 3
Размеры в миллиметрах
|
d |
D |
D1 |
d1 |
l |
L |
|||
|
50 |
100 |
160 |
||||||
|
Масса, кг |
||||||||
|
8 |
Rc 1/4 |
30 |
23 |
10,80 |
20 |
0,24 |
0,49 |
- |
|
10 |
Rc 3/8 |
26 |
14,30 |
24 |
0,22 |
0,43 |
- |
|
|
15 |
Rc 1/2 |
40 |
32 |
17,90 |
29 |
0,39 |
0,78 |
1,26 |
|
20 |
Rc 3/4 |
50 |
37 |
23,25 |
31 |
0,61 |
1,22 |
1,45 |
|
25 |
Rc 1 |
44 |
29,35 |
37 |
0,49 |
0,99 |
1,58 |
|
|
40 |
Rc 1 1/2 |
70 |
63 |
43,70 |
42 |
0,91 |
1,83 |
2,92 |
|
50 |
Rc 2 |
80 |
73 |
55,25 |
44 |
1,04 |
2,08 |
3,32 |
Таблица 4
Размеры в миллиметрах
|
d |
D |
D1 |
d1 |
l |
L |
Масса, кг |
|||
|
a |
|||||||||
|
45 |
60 |
45 |
60 |
||||||
|
10 |
М12×1,5 |
30 |
26 |
10,43 |
28 |
120 |
145 |
0,53 |
0,61 |
|
15 |
M18×1,5 |
40 |
32 |
16,43 |
0,85 |
0,96 |
|||
|
M18×2,0 |
15,90 |
0,88 |
0,99 |
||||||
|
M20×1,5 |
18,43 |
0,86 |
0,98 |
||||||
|
20 |
M27×1,5 |
50 |
37 |
25,43 |
35 |
130 |
155 |
1,27 |
1,42 |
|
M27×2,0 |
24,90 |
1,30 |
1,45 |
||||||
|
25 |
M30×1,5 |
44 |
28,43 |
1,15 |
1,29 |
||||
|
M33×2,0 |
30,90 |
1,07 |
1,18 |
||||||
|
32 |
M39×3,0 |
60 |
53 |
35,85 |
1,56 |
1,49 |
|||
Таблица 5
Размеры в миллиметрах
|
d |
D |
D1 |
d1 |
d3 |
l |
L |
||
|
50 |
100 |
|||||||
|
Масса, кг |
||||||||
|
10 |
М12×1,5 |
30 |
26 |
10,43 |
16,5 |
50 |
0,24 |
0,48 |
|
15 |
M18×1,5 |
40 |
32 |
16,43 |
22,5 |
0,31 |
0,72 |
|
|
M18×2,0 |
15,90 |
|||||||
|
M20×1,5 |
18,43 |
24,5 |
0,29 |
0,68 |
||||
|
20 |
M27×1,5 |
50 |
37 |
25,43 |
31,5 |
0,42 |
0,98 |
|
|
M27×2,0 |
24,90 |
31,0 |
||||||
|
25 |
M30×1,5 |
44 |
28,43 |
37,0 |
0,43 |
0,94 |
||
|
M30×2,0 |
30,90 |
0,36 |
0,85 |
|||||
|
32 |
M39×3,0 |
60 |
53 |
35,85 |
42,0 |
0,53 |
1,24 |
|
Таблица 6
Размеры в миллиметрах
|
d |
D |
D1 |
d1 |
d3 |
l |
L |
||
|
50 |
100 |
|||||||
|
Масса, кг |
||||||||
|
10 |
G 3/8 |
30 |
26 |
15,00 |
21 |
50 |
0,17 |
0,38 |
|
15 |
G 1/2 |
40 |
32 |
18,68 |
25 |
0,30 |
0,68 |
|
|
20 |
G 3/4 |
50 |
37 |
24,17 |
30 |
0,42 |
1,03 |
|
|
25 |
G 1 |
44 |
30,34 |
37 |
0,35 |
0,85 |
||
|
32 |
G 1 1/4 |
60 |
53 |
39,00 |
45 |
0,46 |
1,10 |
|
|
40 |
G 1 1/2 |
70 |
63 |
44,90 |
51 |
0,64 |
1,55 |
|
|
50 |
G 2 |
80 |
73 |
56,70 |
67 |
0,68 |
1,66 |
|
Таблица 7
Размеры в миллиметрах
|
d |
D |
D1 |
d1 |
d3 |
l |
L |
||
|
50 |
100 |
|||||||
|
Масса, кг |
||||||||
|
8 |
Rc 1/4 |
30 |
23 |
10,80 |
17,0 |
20 |
0,22 |
0,47 |
|
10 |
Rc 3/8 |
26 |
14,30 |
20,5 |
24 |
0,20 |
0,41 |
|
|
15 |
Rc 1/2 |
40 |
37 |
17,90 |
24,0 |
29 |
0,37 |
0,76 |
|
20 |
Rc 3/4 |
50 |
36 |
23,25 |
29,5 |
31 |
0,58 |
1,19 |
|
25 |
Rc 1 |
44 |
29,35 |
35,5 |
37 |
0,46 |
0,95 |
|
|
40 |
Rc 1 1/2 |
70 |
63 |
43,70 |
50,0 |
42 |
0,86 |
1,78 |
|
50 |
Rc 2 |
80 |
73 |
55,25 |
61,5 |
44 |
0,98 |
2,02 |
Пример условного обозначения бобышки типа 1, исполнения 2, с резьбой G 3/8 длиной 100 мм, из стали 10Г2:
Бобышка 1-2-G 3/8-100-10Г2 ОСТ 26.260.460-99.
То же, бобышки типа 2, исполнения 3 с резьбой Rc 1/4, длиной 100 мм из стали 09Г2С:
Бобышка 2-3-Rc 1/4-100-09Г2С ОСТ 26.260.460-99.
Тип 3
Рисунок 7
Примечание - Масса бобышки 0,05 кг
Пример условного обозначения бобышки типа 3 с резьбой M12×1,25 из стали 10Г2:
Бобышка 3-М12×1,25-10Г2 ОСТ 26.260.460-99.
3.2 Пробки по конструкции и размерам предусматриваются пяти исполнений:
исполнение 1 - с метрической резьбой (рисунок 8, таблица 8);
исполнение 2 - с трубной цилиндрической резьбой (рисунок 8, таблица 9);
исполнение 3 - с трубной конической резьбой (рисунок 9, таблица 10);
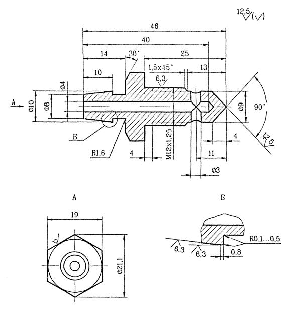
исполнение 4 - с метрической резьбой (рисунок 10, таблица 11);
исполнение 5 - с метрической резьбой М12×1,25 (рисунок 11).
Исполнения 1 и 2
Рисунок 8
Исполнение 3
Остальное - см. рисунок 8.
Рисунок 9
Таблица 8
Размеры в миллиметрах
|
d |
D |
D2 |
L |
l |
h |
Размер «под ключ» |
Масса, кг |
||
|
S |
пред. откл. |
||||||||
|
10 |
М12×1,5 |
29,9 |
25 |
30 |
16 |
8 |
27 |
- 0,52 |
0,06 |
|
15 |
M18×1,5 |
35,0 |
31 |
10 |
32 |
- 1,00 |
0,13 |
||
|
M18×2,0 |
|||||||||
|
M20×1,5 |
|||||||||
|
20 |
M27×1,5 |
39,6 |
35 |
36 |
20 |
12 |
36 |
0,22 |
|
|
M27×2,0 |
|||||||||
|
25 |
M30×1,5 |
50,9 |
43 |
44 |
25 |
15 |
46 |
0,40 |
|
|
M33×2,0 |
0,42 |
||||||||
|
32 |
M39×3,0 |
60,8 |
52 |
52 |
30 |
17 |
55 |
- 1,20 |
0,69 |
Таблица 9
Размеры в миллиметрах
|
d |
D |
D2 |
L |
l |
h |
Размер «под ключ» |
Масса, кг |
||
|
S |
пред. откл. |
||||||||
|
10 |
G 3/8 |
29,9 |
25 |
30 |
16 |
8 |
27 |
- 0,52 |
0,07 |
|
15 |
G 1/2 |
35,0 |
31 |
10 |
32 |
- 1,00 |
0,13 |
||
|
20 |
G 3/4 |
39,6 |
35 |
36 |
20 |
12 |
36 |
0,22 |
|
|
25 |
G 1 |
50,9 |
43 |
44 |
25 |
15 |
46 |
0,43 |
|
|
32 |
G 1 1/4 |
60,8 |
52 |
52 |
30 |
17 |
55 |
- 1,20 |
0,74 |
|
40 |
G 1 1/2 |
72,1 |
62 |
54 |
33 |
65 |
1,04 |
||
|
50 |
G 2 |
83,4 |
72 |
58 |
35 |
19 |
75 |
1,60 |
|
Таблица 10
Размеры в миллиметрах
|
d |
D |
L |
l1 |
h |
Размер «под ключ» |
Масса, кг |
||
|
S |
пред. откл. |
|||||||
|
8 |
R 1/4 |
18,7 |
22 |
6,0 |
7 |
17 |
- 0,43 |
0,03 |
|
10 |
R 3/8 |
20,9 |
6,4 |
19 |
- 0,52 |
0,04 |
||
|
15 |
R 1/2 |
26,5 |
27 |
8,2 |
8 |
24 |
0,08 |
|
|
20 |
R 3/4 |
33,3 |
30 |
9,5 |
10 |
30 |
0,13 |
|
|
25 |
R 1 |
39,6 |
34 |
10,4 |
36 |
- 1,00 |
0,23 |
|
|
40 |
R 1 1/2 |
50,9 |
40 |
12,7 |
14 |
46 |
0,54 |
|
|
50 |
R 2 |
60,8 |
47 |
15,9 |
17 |
55 |
- 1,20 |
0,97 |
Пример условного обозначения пробки исполнения 1, с резьбой М12×1,5 из стали марки 10Г2:
Пробка 1-М12×1,5-10Г2 ОСТ 26.260.460-99.
Исполнение 4
Рисунок 10
Таблица 11
Размеры в миллиметрах
|
d1 |
D |
D1 |
S |
H |
l |
l1 |
l2 |
L |
Масса, кг |
|||
|
Номин |
Пред. откл. |
Номин |
Пред. откл. |
|||||||||
|
M18×1,5 |
5 |
32 |
26,5 |
24 |
- 0,52 |
10 |
± 0,29 |
20 |
27 |
7,0 |
35 |
0,10 |
|
M18×2,0 |
8,5 |
|||||||||||
|
M20×1,5 |
6 |
7,0 |
0,11 |
|||||||||
|
M27×1,5 |
12 |
42 |
29,9 |
27 |
12 |
± 0,35 |
22 |
30 |
40 |
0,25 |
||
|
M27×2,0 |
8,5 |
|||||||||||
|
M30×1,5 |
15 |
48 |
35,0 |
32 |
- 1,00 |
14 |
30 |
36 |
7,0 |
50 |
0,32 |
|
|
M33×2,0 |
8,5 |
0,35 |
||||||||||
Пример условного обозначения пробки исполнения 4 с диаметром резьбы М27х1,5 из стали 20:
Пробка 4-М27×1,5-20 ОСТ 26.260.460-99.
Исполнение 5
Рисунок 11
Примечание - Масса пробки - 0,034 кг.
Пример условного обозначения пробки исполнения 5 из стали Ст3сп3:
Пробка 5-Ст3сп3 ОСТ 26.260.460-99.
3.3. Прокладки по конструкции и размерам должны соответствовать рисунку 12 и таблицам 12, 13.
Рисунок 12
Таблица 12
Размеры в миллиметрах
|
D |
d |
Масса, кг |
|
|
10 |
25 |
13 |
0,0007 |
|
15 |
31 |
21 |
0,0008 |
|
20 |
36 |
28 |
|
|
25 |
43 |
34 |
0,0010 |
|
32 |
52 |
40 |
0,0017 |
|
40 |
62 |
49 |
0,0022 |
|
50 |
72 |
61 |
Пример условного обозначения прокладки с условным проходом Dу 10 мм из паронита марки ПОН:
Прокладка 10-ПОН ОСТ 26.260.460-99.
Размеры в миллиметрах
|
Диаметр резьбы крепежных деталей |
d |
D |
Масса, кг |
|
8 |
9 |
18 |
0,0003 |
|
12 |
13 |
30 |
0,0011 |
|
18 |
19 |
0,0008 |
|
|
20 |
21 |
||
|
27 |
28 |
42 |
0,0015 |
|
30 |
31 |
48 |
0,0021 |
|
33 |
34 |
0,0018 |
Пример условного обозначения прокладки с внутренним диаметром d 13 мм, наружным диаметром D 30 мм из паронита марки ПОН:
Прокладка 13×30-ПОН ОСТ 26,260.460-99.
4.1. Бобышки, пробки и прокладки должны изготавливаться в соответствии с требованиями настоящего стандарта по чертежам, утвержденным в установленном порядке.
4.2. Материал пробок и бобышек должен соответствовать указанным в таблице 14.
Материал пробок и бобышек выбирается в каждом отдельном случае в зависимости от условий эксплуатации и должен соответствовать материалу аппаратов, для которых они предназначены.
Допускается изготовление бобышек и пробок из других марок сталей по нормативно-технической документации.
Пределы применения по температуре и давлению должны соответствовать ОСТ 26291.
4.3 Материал прокладок:
- алюминий марки АД1М ГОСТ 21631;
- паронит марок ПОН, ПМБ, ПМБ-1 ГОСТ 481;
- латунь марки Л63 (мягкая) ГОСТ 2208;
- медь марки M1 ГОСТ 1173;
- сталь марки 08Х18Н10 (мягкая) ГОСТ 4986;
- сталь марки 08Х18Н10Т ГОСТ 5632;
- картон прокладочный ГОСТ 9347;
- резина ГОСТ 7338;
- фторопласт-4 ГОСТ 10007.
4.4. Резьба метрическая по ГОСТ 24705, поле допусков для бобышек - 6Н, для пробок - 6q по ГОСТ 16093.
Резьба трубная цилиндрическая - по ГОСТ 6357, трубная коническая - по ГОСТ 6211.
Размеры сбегов, недорезов, проточек и фасок - по ГОСТ 10549.
4.5. При нарезании резьбы проточку допускается не делать.
4.6. Резьба должна иметь полный, чистый и гладкий профиль. На резьбе не должно быть надорванных или смятых витков, препятствующих навинчиванию проходного калибра.
4.7. Размер d1 принят по ГОСТ 19257, ГОСТ 21348 и ГОСТ 21350.
4.8. Шероховатость наружной поверхности (рисунок 1) допускается выполнять Rа = 25 мкм.
4.9. Неуказанные предельные отклонения размеров - по рабочей документации предприятия-изготовителя.
4.10. Масса бобышек и пробок рассчитана из условия плотности материала 7,85 г/см3, прокладок - 2,0 г/см3.
4.11. Пробное гидравлическое испытание бобышек производится, как правило, совместно с аппаратом и блоком в соответствии с ОСТ 26291.
4.12. Маркировать: условное обозначение без наименования и товарный знак предприятия-изготовителя.
Допускается не маркировать товарный знак предприятия-изготовителя если изделия не являются товарной продукцией.
Маркировку производить способами, принятыми на предприятии-изготовителе.
Таблица 14
|
Технические требования |
|
|
Ст3сп3, Ст3пс3, Ст3Гпс3, Ст3сп4, Ст3пс4, Ст3Гпс4 ГОСТ 380 |
|
|
20К, 16ГС, 09Г2С ГОСТ 5520 |
|
|
08Х22Н6Т, 08Х21Н6М2Т, 06Х28МДТ, 10Х17Н13М2Т, 10Х17Н13М3Т, 12Х18Н9Т, 12Х18Н10Т ГОСТ 5632 |
Группа М26, ГОСТ 7350 |
|
20ЮЧ ТУ 14-1-4853 |
ТУ 14-1-4853 |
|
Ст3сп3, Ст3пс3, Ст3сп4, Ст3пс4 ГОСТ 380 |
|
|
20 ГОСТ 1050 |
|
|
10Г2 ГОСТ 4543 |
|
|
08Х22Н6Т, 08Х21Н6М2Т, 06ХН28МДТ, 10Х17Н13М2Т, 10Х17Н13М3Т, 12Х18Н10Т ГОСТ 5632 |
ГОСТ 5949 |
|
09Г2, 09Г2С ГОСТ 19281 |
|
|
08Х22Н6Т, 08Х21М2Т, 06ХН28МДТ, 10Х17Н13М2Т. 10Х17Н13М3Т, 12Х18Н9Т, 12Х18Н10Т ГОСТ 5632 |
Группа IV и Группа VIK, ГОСТ 25054 |
|
10Г2 ГОСТ 5453 |
Группа IV-КП215, ГОСТ 8479 |
|
20 ГОСТ 1050 |
Группа IV-КП215, КП195, ГОСТ 8479 |
|
09Г2С ГОСТ 19281 |
Группа IV-KП245, ГОСТ 8479 |
|
Примечание - Категории сталей Ст3, 16ГС, 09Г2С и 20К выбираются в зависимости от условий эксплуатации. |
|
СОДЕРЖАНИЕ