МИНИСТЕРСТВО ЭНЕРГЕТИКИ И ЭЛЕКТРОФИКАЦИИ СССР
ГЛАВНОЕ НАУЧНО-ТЕХНИЧЕСКОЕ УПРАВЛЕНИЕ ЭНЕРГЕТИКИ И ЭЛЕКТРОФИКАЦИИ
МЕТОДИЧЕСКИЕ УКАЗАНИЯ
ПО КОРРЕКЦИОННОЙ ОБРАБОТКЕ
ПИТАТЕЛЬНОЙ И КОТЛОВОЙ ВОДЫ
БАРАБАННЫХ КОТЛОВ
ДАВЛЕНИЕМ 3,9-13,8 МПа
РД 34.37.522-88
РАЗРАБОТАНО Уральским филиалом Всесоюзного дважды ордена Трудового Красного знамени теплотехнического научно-исследовательского института им. Ф.Э. Дзержинского, предприятием "Уралтехэнерго" Производственного объединения по наладке, совершенствованию технологии и эксплуатации электростанций и сетей Союзтехэнерго.
ИСПОЛНИТЕЛИ О.Г. САЛАШЕНКО, А.В. ТКАЛЕНКО
УТВЕРЖДЕНО Главным научно-техническим управлением энергетики и электрификации 23.03.88 г.
Заместитель начальника А.П. БЕРСЕНЕВ
|
МЕТОДИЧЕСКИЕ УКАЗАНИЯ ПО КОРРЕКЦИОННОЙ ОБРАБОТКЕ ПИТАТЕЛЬНОЙ И КОТЛОВОЙ ВОДЫ БАРАБАННЫХ КОТЛОВ ДАВЛЕНИЕМ 3,9-13,8МПа |
РД 34.37.522-88 |
Срок действия установлен
с 01.01.88 г
до 01.01.98 г.
Настоящие Методические указания определяют технологию коррекционной обработки питательной воды аммиаком, гидразином, сульфитом натрия и котловой воды фосфатами и едким натром на электростанциях с барабанными котлами давлением 3,9-13,8 МПа.
Методические указания предназначены для персонала электростанций, энергосистем, проектных и наладочных организаций.
С выходом настоящих Методических указаний утрачивают силу "Инструкция по фосфатированию котловой воды" (М.: СПО Союзтехэнерго, 1978) и "Методические указания по обработке едким натром котловой воды котлов с фосфатным водно-химическим режимом: МУ 34-70-096-95" (М.: СПО Союзтехэнерго, 1985).
1.1. Методические указания регламентируют технологию коррекционной обработки питательной и котловой воды паровых стационарных котлов с естественной циркуляцией давлением 3,9-13,8 МПа.
Коррекционная обработка наряду с очисткой добавочной воды, конденсата, термической деаэрацией, консервацией оборудования при остановах в резерв и ремонт обеспечивают предотвращение накипеобразования и коррозии основного и вспомогательного оборудования.
1.2. Коррекционная обработка питательной воды предназначена для снижения скорости коррозии стали и медных сплавов конденсатно-питательного тракта, сетевых подогревателей, трубопроводов пара, направляемого потребителям, и возвратного конденсата, теплообменного оборудования потребителей пара.
Снижение скорости коррозии обеспечивается созданием восстановительной среды в конденсатном тракте и глубоким связыванием кислорода и нитритов после деаэратора 0,6 МПа посредством ввода восстановителей, регулированием значения показателей рН среды за счет ввода аммиака.
Отклонения от режима коррекционной обработки могут вызвать:
- при концентрациях NH4OH, превышающих норма ПТЭ, - усиление коррозии медных сплавов;
- при рН ниже норм ПТЭ - усиление коррозии стали и медных сплавов;
- при концентрациях NH4 ниже норм ПТЭ - усиление коррозии стали.
1.3. Коррекционная обработка котловой воды предназначена для предотвращения образования отложений и коррозии на внутренней поверхности испарительной части котла.
Для предотвращения отложений котловую воду обрабатывают фосфатами. Фосфатирование является эффективным средством предупреждения образования только кальциевых отложений.
Предотвращение коррозии обеспечивается регулированием показателя рН (или гидратной щелочности) котловой воды, изменением концентрации коррозионно-активных компонентов в котловой воде (с помощью продувки).
Нарушение режима коррекционной обработки может вызвать:
- при снижении показателя рН и щелочного соотношения ниже норм ПТЭ коррозию и охрупчивание металла экранных труб, образование отложений железофосфатных соединений, осаждение фосфата кальция;
- при превышении норм ПТЭ по содержанию фосфатов образование временных отложений фосфата натрия;
- при превышении норм ПТЭ по показателю рН щелочную коррозию экранных труб;
- при невыполнении требований по относительной щелочности охрупчивание опускных труб и барабана котла в местах вальцовочных и клепаных соединений.
1.4. Коррекционная обработка трилоном Б должна производиться в соответствии с "Методическими указаниями по комплексной обработке воды барабанных котлов давлением 40 - 100 кгс/см2 (3,9 - 9,8 МПа): РД 34.37.514-91" (М.: СПО ОРГРЭС, 1993).
(Измененная редакция, Изм. № 2).
Трилонную обработку рекомендуется применять в случае, если фосфатирование не обеспечивает надежную эксплуатация котлов. Применение трилонного режима должно быть согласовано с РЭУ.
1.5. Для обеспечения надежного водно-химического режима необходимо уделять особое внимание качеству питательной воды и ее составляющих:
- очистку производственного конденсата производить в соответствии с "Руководящими указаниями по очистке производственного конденсата" (М.: СПО Союзтехэнерго, 1978);
- подпитку котлов давлением 13,8 МПа осуществлять только обессоленной водой.
Подпитку котлов давлением 9,8 МПа и ниже допускается производить умягченной водой. Допустимое количество умягченной воды определяется теплохимическими испытаниями.
1.6. В связи с тем, что фосфатирование котловой воды не обеспечивает полного предотвращения образования отложений, для исключения перегрева экранных труб следует также производить периодическую химическую очистку котлов. Периодичность химических очисток должна определяться в соответствии с "Методическими указаниями по контролю состояния основного оборудования тепловых электрических станций; определению качества и химического состава отложений: РД 34.37.306-87" (М.: Ротапринт ВТИ, 1987).
(Измененная редакция, Изм. № 2).
1.7. Оборудование, останавливаемое в резерв или ремонт, должно подвергаться консервации. Консервация должна производиться в соответствии с "Методическими указаниями по консервации теплоэнергетического оборудования: РД 34.20.591-87" (М.: Ротапринт ВТИ, 1990).
(Измененная редакция, Изм. № 2).
2.1.1. Коррекционная обработка питательной воды в целях связывания нитритов и остаточного кислорода может производиться гидразингидратом, гидразинсульфатом, сульфитом натрия.
На котлах давлением до 7 МПа при необходимости более глубокого удаления кислорода из питательной воды в дополнение к термической деаэрации можно производить обработку питательной воды сульфитом натрия или гидразином. На котлах давлением 7 МПа и выше обработка конденсата или питательной воды должна производиться только гидразином, кроме котлов с кислородными водно-химическими режимами и котлов с отпуском пара на предприятия пищевой, микробиологической, фармацевтической и другой промышленности в случае запрета санитарных органов на наличие гидразина в паре.
(Измененная редакция, Изм. № 2).
2.1.2. Для повышения показателя рН питательной воды и конденсата пара до нормальных значений на котлах всех параметров дополнительно к гидразинной обработке должна производиться аммиачная обработка питательной воды. В качестве реагента должен применяться преимущественно водный раствор аммиака.
В отдельных случаях при подпитке котлов химически очищенной водой, когда необходимости в повышении показателя рН питательной поды нет, но необходимо повысить показатель рН конденсата пара и снизить щелочность котловой воды, может применяться для аминирования сульфат аммония.
2.1.3. Гидразингидрат, гидразин сульфат, сульфит натрия необходимо вводить в трубопровод на стороне всасывания питательных насосов.
На электростанциях, где не выполняются нормы ПТЭ по содержанию меди из-за коррозии ПНД, рекомендуется вводить гидразин перед ПНД.
2.1.4. Аммиак можно вводить в питательную, обессоленною, химически очищенную воду, в пар, подаваемый на производство.
На блочных электростанциях аммиак целесообразно вводить на сторону всасывания питательных насосов. Допускается ввод аммиака в смеси с гидразином.
На электростанциях с поперечными связями аммиак рекомендуется вводить в обессоленную или умягченную воду (для снижения коррозии трубопроводов обессоленной воды). Раствор аммиака должен подаваться в трубопровод обессоленной или умягченной воды.
Если на электростанции имеются группы котлов с различным процентом добавки обессоленной воды, то аммиачная обработка должна производиться отдельно для каждой группы.
На электростанциях с большим возвратом производственного конденсата и высоким содержанием в нем продуктов коррозии, прежде всего оксидов (окислов) железа, рекомендуется вводить аммиак в пар, подаваемый на производство (только в пар или дополнительно к вводу аммиака в обессоленную воду). Ввод аммиака в пар, подаваемый на производство, должен быть согласован с потребителем. Наличие у потребителей теплообменников с латунными поверхностями нагрева, работающих под избыточным давлением, не является препятствием для обработки пара аммиаком. Ввод аммиака позволяет довести в конденсате пара показатель рН до значения выше 9,0 и значительно снизить скорость коррозии.
2.1.5. В случае запрета санитарных органов на наличие гидразина в паре, подаваемом на производство (предприятия пищевой, микробиологической, фармацевтической промышленности), для обработки котловой воды котлов давлением 9,8 МПа и менее должен использоваться сульфит натрия.
В случае запрета санитарных органов на наличие в паре гидразина и аммиака должно быть организовано снабжение этих предприятий паром через паропреобразователи.
2.2.1. Режим коррекционной обработки должен обеспечить следующее качество питательной воды:
- содержание свободного гидразина перед экономайзером (в пересчете на NH4) от 20 до 60 мкг/кг;
- содержание аммиака (в пересчете на NH4) не более 1000 мкг/кг;
- показатель рН (при 25°С) для котлов давлением 3,9 МПа 8,5-9,5; 9,8 МПа и выше 9,1±0,1.
По разрешению энергоуправления допускается увеличение содержания аммиака до значения, не вызывающего коррозию медных сплавов. Повышенные концентрации аммиака рекомендуется поддерживать при обработке аммиаком пара, подаваемого на производство, и при подпитке котлов умягченной водой, если показатель рН конденсатов ниже 7,5 при концентрации аммиака 1 мг/кг.
При восполнении потерь пара и конденсата химически очищенной водой допускается повышение значения рН до 10,5. В этом случае показатель рН определяется щелочностью и количеством добавки умягченной воды, поэтому регулированию коррекционной обработкой не подлежит (аммиак на этих электростанциях служит для поддержания необходимых значений показателя рН паров и конденсатов).
(Измененная редакция, Изм. № 2).
2.2.2. Для обеспечения требуемой концентрации гидразина в питательной воде доза гидразина должна учитывать его расходование на взаимодействие с кислородом, нитритами, окислами железа и меди.
Расчет дозы гидразина g (мкг/кг) в пересчете на NH4 рекомендуется производить по формуле
g=С1+0,35С2+0,15С3+0,25С4+40, (2.1)
где С1 - концентрация кислорода в питательной воде до ввода гидразина, мкг/кг;
С2 - концентрация нитритов в питательной воде до ввода гидразина, мкг/кг;
С3 - концентрация железа в питательной воде, мкг/кг;
С4 - концентрация меди в питательной воде, мкг/кг.
2.2.3. Концентрация гидразина в рабочем растворе С (мг/кг) рассчитывается по формуле
(2.2)
где D - расход питательной воды, т/ч;
DН - средняя (регулируемого диапазона) подача насоса-дозатора, л/ч.
2.2.4. При приготовлении рабочего раствора гидразинсульфата гидразинсульфат должен быть нейтрализован едким натром. Количество едкого натра, необходимого для нейтрализации, у (кг) рассчитывается по формуле
у=0,62у1+0,04ЩVб, (2.3)
где у1 - количество загружаемого гидразинсульфата, кг;
Щ - щелочность по фенолфталеину воды, используемой для приготовления рабочего раствора, мг-экв/кг;
Vб - объем бака, м3.
2.2.5. Дозу сульфита (с учетом
взаимодействия с кислородом и нитритами) g2 (мкг/кг)
рассчитывает по формуле (в пересчете на SО
)
g2=5C1+1,8C2+2000. (2.4)
2.2.6. Приготовление рабочих растворов реагентов для коррекционной обработки питательной воды котлов давлением 13,8 МПа должно производиться на обессоленной воде, для котлов давлением 9,8 МПа и ниже допускается использование натрий-катионированной воды.
2.2.7. Количество вводимого аммиака, необходимое для поддержания заданной его концентрации в питательной воде, зависит от ряда факторов: количества добавочной воды, дозы гидразина, количества турбинного конденсата, эффективности работы деаэратора и т.д., поэтому концентрация должна определяться методом последовательного подбора, по данным химических анализов. Начальную концентрацию аммиака в рабочем растворе gH (г/кг) можно рассчитывать по формуле
(2.5)
где D - расход питательной воды на котел (группу котлов), т/ч;
DH - средняя подача насоса-дозатора, л/ч;
С3 - необходимая концентрация аммиака в питательной зоне, мг/кг.
При вводе аммиака в пар, подаваемый на производство, концентрация аммиака в паре не должна вызывать усиление коррозии медь-содержащих сплавов и нарушение норм ПТЭ по содержанию меди в питательной воде (концентрация аммиака должна быть примерно 1,5-3 мг/кг).
2.2.8. На блочных электростанциях при растопках котла подачу аммиака и гидразина необходимо начинать единовременно с началом постоянной подачи питательной воды в котел. Концентрация гидразина при пусках и остановах котлов может быть увеличена до 3 мг/кг. После толчка турбины концентрация должна поддерживаться в соответствии с п.2.2.1.
2.2.9. На блочных электростанциях дозирование гидразина и аммиака, а на электростанциях с поперечными связями дозирование гидразина должно быть автоматизировано.
2.2.10. Схема приготовления и дозирования реагентов, а также схема автоматизации должна быть выполнена в соответствии с "Руководящими указаниями по применению гидразина на энергетических установках электростанций" (М.: СПО Союзтехэнерго, 1980) и "Рекомендациями по выполнению устройств для автоматизации фосфатно-продувочного режима и коррекционной обработки питательной воды на действующих электростанциях с барабанными котлами" (М.: СПО Союзтехэнерго, 1981). При вводе аммиака в пар, подаваемый на производство, узел ввода должен быть выполнен аналогично впрыску в перегретый пар. Схема ввода должна быть согласована с проектными организациями.
2.2.11. Ввод реагентов необходимо производить непрерывно. Регулирование концентрации гидразина и аммиака должно осуществляться за счет изменения подачи насоса-дозатора (длины хода плунжера).
При автоматическом управлении насосами-дозаторами допускается импульсная подача реагентов.
2.2.12. Заполнение котла для опрессовки и растопки должно производиться обессоленной водой или конденсатом турбин. В случае отсутствия на электростанциях обессоленной воды и недостаточного количества конденсата турбин (менее 20% паропроизводительности котлов) заполнение котлов производить водой с минимальным солесодержанием.
2.2.13. Перед растопкой, если это необходимо, произвести обработку котловой воды гидразином и аммиаком или едким натром. Если в процессе пуска при упаривании котловой воды отмечается уменьшение показателя рН ниже 8,5 или щелочного соотношения (см. раздел 3) ниже нормативных значений, обработка воды должна производиться едким натром, в остальных случаях возможно использование аммиака.
Концентрация гидразина в котловой воде перед растопкой должна составлять 2,3-3 мг/кг, аммиака 1-2 мг/кг, показатель рН не менее 9,0. Ввод реагентов осуществлять в барабан котла по линии фосфатирования или консервации.
Для подачи раствора может быть использована схема гидразинно-аммиачной консервации или могут быть установлены дополнительные насосы-дозаторы на установке дозирования гидразина и аммиака. Подачу насосов (л/ч) определяют по формуле
, (2.6)
где СН - необходимая концентрация реагентов в котле, мг/кг;
С - концентрация реагента в рабочем растворе, г/кг;
D - расход воды на заполнение котла, т/ч.
Схема ввода щелочи приведена на рис. П4.1. Концентрация рабочего раствора подбирается экспериментально. Возможно использование рабочего раствора, применяемого для обработки котловой воды во время работы котла.
При подпитке котла в процессе пуска дозировку аммиака и гидразина производить в питательную воду или конденсат в соответствия с пп. 2.2.1-2.2.11.
3.1.1. Коррекционная обработка котловой воды может производиться тринатрийфосфатом, динатрийфосфатом, мононатрийфосфатом, гексаметафосфатом, триполифосфатом, аммонийфосфатом, едким натром и нитратом натрия.
Реагенты и технология коррекционной обработки выбираются в зависимости от параметров котла, схемы подготовки добавочной воды, количества и качества возвратного конденсата.
3.1.2. При подпитке котлов обессоленной водой или дистиллятом испарителей для фосфатирования котловой воды допускается применение только тринатрийфосфата.
На котлах, подпитка которых производится умягченной водой, коррекционную обработку наряду с тринатрийфосфатом можно проводить также и кислыми фосфатами. Кислые фосфаты рекомендуется применять главным образом для снижения щелочности котловой воды, если показатель рН котловой воды близок к максимально допустимым значениям или превышает их.
Кислыми фосфатами возможно снизить щелочность на 1 мг-экв/кг и показатель рН на 0,1-0,3. Дальнейшее снижение рН должно производиться за счет изменения режима работы установки умягчения добавочной воды (введение Н-катионирования или увеличение доли воды, проходящей Н-катионирование).
Некоторое снижение щелочности можно обеспечить обработкой питательной воды сульфатом аммония (до 1,5 мг-экв/кг в зависимости от количества добавочной воды).
3.1.3. На котлах давлением 3,9 МПа с вальцовочными и клепаными соединениями в случае невозможности снизить относительную щелочность до норм ПТЭ без реконструкции водоподготовительной установки котловая вода должна дополнительно к фосфатированию обрабатываться нитратом натрия.
3.1.4. На котлах, подпитка которых производится обессоленной водой, для обеспечения необходимого значения показателя рН котловую воду целесообразно обрабатывать одновременно тринатрийфосфатом и едким натром. Запрещается корректировать показатель рН (щелочность) котловой воды изменением режима работы обессоливающей установки (изменением величины "проскока" натрия).
3.1.5. Едкий натр целесообразно вводить совместно с тринатрийфосфатом.
На электростанциях, где возможно попадание потенциально-кислых соединений, необходимо иметь автономную схему ввода едкого натра. Раствор едкого натра необходимо вводить в фосфатную линию.
3.2.1. Режим коррекционной обработки должен обеспечить следующее качество котловой воды:
Избыток фосфатов:
- для котлованов давлением 13,8 МПа (140 кгс/см2) по чистому отсеку 0,5 - 2,0 мг/дм3, по солевому отсеку - не более 12 мг/дм3;
- для котлов давлением 9,8 МПа (100 кгс/см2) и ниже по чистому отсеку 2 - 6 мг/дм3, по солевому отсеку - не более 30 мг/дм3;
- для котлов без ступенчатого испарения избыток фосфатов должен (как и остальные показатели) соответствовать норме для чистого отсека.
Значение рН котловой воды чистого отсека:
- для котлов давлением 13,8 МПа (140 кгс/см2) - 9,0 - 9,5;
- для котлов давлением 9,8 МПа (100 кгс/см2) и ниже - не менее 9,3.
Значение рН котловой воды солевого отсека:
- для котлов давлением 13,8 МПа (140 кгс/см2) - 10,5;
- для котлов давлением 9,8 МПа (100 кгс/см2) - не более 11,2; при их подпитке химически очищенной водой (с разрешения АО-энерго) - не более 11,5;
- для котлов давлением 3,9 МПа (40 кгс/см2) - не более 11,8.
Щелочное соотношение:
- для котлов давлением 13,8 МПа (140 кгс/см2) для чистого отсека Щфф = (0,2¸0,5) Щобщ, для солевого отсека Щфф = (0,5¸0,7) Щобщ;
- для котлов давлением 9,8 МПа (100 кгс/см2) и ниже для чистого и солевого отсеков Щфф³0,5 Шобщ.
При несоблюдении требуемых значений рН и соотношения щелочностей в котловую воду должен вводиться едкий натр, в том числе и в пусковых режимах.
Относительная щелочность:
- для котлов с барабанами, имеющими заклепочные соединения, - не более 20 %;
- для котлов со сварными барабанами и креплением труб вальцовкой с уплотнительной подваркой - не более 50 %;
- для котлов, имеющих сварные барабаны и приваренные к ним трубы, относительная щелочность не нормируется.
(Измененная редакция, Изм. № 2).
3.2.2. (Исключен, Изм. № 2).
3.2.3. (Исключен, Изм. № 2).
3.2.4. Избыточную концентрацию фосфатов определяют расчетным путем:
РС=Ра.с-Рсв; (3.1)
РЧ=Ра.ч-Рсв, (3.2)
где РС - избыточная концентрация фосфатов в солевом отсека, мг/кг;
РЧ - избыточная концентрация фосфатов в чистом отсека, мг/кг;
Ра.с - общая концентрация фосфатов в солевом отсеке, мг/кг;
Ра.ч - общая концентрация фосфатов в чистом отсеке, мг/кг;
Рсв - связанные фосфаты в солевом отсеке (фосфаты в составе гидраксилапатита), мг/кг.
Общая концентрация фосфатов определяется действующими методиками химического контроля.
Количество связанных фосфатов в солевом отсеке определяют исходя из размера продувки и жесткости питательней воды по приложению 1. Для определения кратности концентрирования К могут быть использованы (в зависимости от необходимой точности) щелочность, солесодержание, концентрация натрия, сульфатов, хлоридов. Кратность концентрирования определяется как отношение значений этих показателей солевого и чистого отсеков.
Допускается ведение режима по общей концентрации фосфатов в котловой воде, если нет нарушения норм ПТЭ по жесткости питательной воды.
Относительную щелочность Щ, (%) рассчитывают по формуле
(3.3)
где Щфф - щелочность по фенолфталеину котловой воды солевого отсека, мг-экв/кг;
ЩОБЩ - общая щелочность (по смешанному индикатору) котловой воды солевого отсека, мг-экв/кг;
Ск.в - солесодержание (по электрической проводимости) котловой воды солевого отсека, мг/кг.
(Измененная редакция, Изм. № 1).
3.2.5. Для более точного поддержания заданного режима подачу раствора фосфатов (раствора смеси фосфатов и щелочи) необходимо автоматизировать. Автоматизация должна быть выполнена в соответствии с "Рекомендациями по выполнению устройств для автоматизации фосфатно-продувочного режима и коррекционной обработки питательной воды на действующих электростанциях с барабанными котлами" (М.: СПО Союзтехэнерго, 1981).
Если солесодержание котловой воды превышает не более чем в 1,5-2 раза солесодержание, определяемое фосфатами, подачу фосфатов рекомендуется регулировать по электрической проводимости котловой воды чистого отсека. В остальных случаях подача фосфатов регулируется по паропроизводительности котла.
3.2.6. При ручном (дистанционном) управлении насосами-дозаторами ввод фосфатов в котловую воду должен производиться непрерывно. Регулирование дозы должно осуществляться изменением хода плунжера насосов-дозаторов, количества работающих насосов-дозаторов, рабочей концентрации фосфатов. Контроль за режимом необходимо вести по содержанию фосфатов в чистом отсеке.
При автоматическом дозировании фосфатов режим работы насосов-дозаторов определяется выбранной системой автоматизации.
3.2.7. На котлах с автономной схемой ввода щелочи в котловую воду подача щелочи должна быть автоматизирована по показателю рН котловой воды чистого отсека.
3.2.8. Концентрацию рабочего раствора фосфатов РР (г/кг) при кратности концентрирования между чистым и солевым отсеками более 5 рассчитывают по формуле
(3.4)
где DПР - расход продувки котла, т/ч;
DH - подача насоса-дозатора, л/ч;
РН - нормативное значение концентрации фосфатов в котловой воде солевого отсека, мг/кг.
Для котлов кратностью концентрирования менее 5 рабочую концентрацию (г/кг) рассчитывают по формуле
(3.5)
где DС - паропроизводительность солевого отсека, т/ч;
РП - максимально допустимое значение концентрации фосфатов в чистом отсеке, мг/кг.
При дозировании смеси фосфатов и щелочи управление насосами-дозаторами производится по фосфатам.
3.2.9. Регулирование концентрации щелочи (показателя рН) в котловой воде при совместном ее вводе с фосфатами производится изменением ее концентрации в рабочем растворе. Необходимые изменения концентрации щелочи определяются в зависимости от щелочности воды солевого отсека. Методика определения концентрации щелочи в рабочем растворе приведена в приложении 2.
3.2.10. Начало подачи фосфатов в котел определяется по фактическому их содержанию в котловой воде. Показатель рН котловой воды чистого отсека до начала подачи фосфатов должен быть не менее 8,5. При снижении показателя рН во время растопки ниже 8,5 котловую воду необходимо обрабатывать едким натром (см. также п. 2.2.13).
Подача фосфатов прекращается одновременно с отключением котла от главного паропровода.
3.2.11. Для обеспечения требуемых ПТЭ концентраций фосфатов в чистом и солевом отсеках кратность концентрирования между ними должна быть на более 8. В тех случаях, когда кратность концентрирования более 8 (при принятом размере непрерывной продувки), следует осуществлять рециркуляцию котловой воды. Схема рециркуляция приведена в приложении 3.
3.2.12. В случае, если котловую воду
необходимо обрабатывать нитратом натрия, концентрация его в котловой воде
должна соответствовать неравенству NO
/40Щфф>0,4(NO
в мг/кг, щелочность в мг-экв/кг).
3.3.1. Подачу раствора в котел можно производить по индивидуальной и индивидуально-групповой схемам. Подробное описание схем приведено в приложении 4.
3.3.2. На блочных электростанциях и электростанциях с поперечными связями, работающих в пиковом режиме, должна применяться индивидуальная схема подачи фосфатов.
На электростанциях с поперечными связями, работающих в базовых режимах, наряду с индивидуальной схемой допускается использование индивидуально-групповой схемы. По индивидуально-групповой схеме подача раствора осуществляется только на котлы с одинаковыми параметрами.
3.3.3. Для подачи фосфатов должны использоваться насосы-дозаторы. Использование для подачи фосфатов другого оборудования не допускается.
3.3.4. Рабочий раствор фосфатов должен вводиться в барабан котла.
3.4.1. При нарушении норм ПТЭ по содержанию солей жесткости в питательной воде необходимо:
- перевести управление насосами-дозаторами на ручное (дистанционное);
- увеличить подачу фосфатов в котел с тем, чтобы обеспечить нормы ПТЭ по содержанию свободных фосфатов (включить дополнительные насосы-дозаторы, увеличить длину хода плунжеров, увеличить концентрацию фосфатов в рабочем растворе;
- на котлах, подпитка которых производится обессоленной водой, увеличить непрерывную продувку до 1,5-2,5, чаще проводить периодическую продувку - 1-2 раза в смену (в зависимости от жесткости питательной воды);
- при превышении норм ПТЭ по жесткости питательной воды более чем в 3 раза участить химический контроль за качеством котловой воды: показатель рН, фосфаты, щелочность контролировать через 1-2 ч;
- принять меры к устранению причин, вызвавших нарушение качества питательной воды. Причины, вызвавшие нарушение, должны быть устранены в сроки, указанные в ПТЭ.
3.4.2. При попадании в котел потенциально кислых соединений необходимо:
- увеличить непрерывную продувку до 1,5-5%;
- увеличить подачу щелочно-фосфатной смеси (не выходя за пределы норм ПТУ по содержанию фосфатов в солевом отсеке), содержание фосфатов в чистом отсеке допускается 15 мг/кг.
Если этих мер недостаточно, приготовить новый раствор, изменив концентрацию щелочи в соответствии с приложением 2. При автономной схеме подачи включить подачу щелочи:
- контроль за содержанием фосфатов, показателем рН, щелочностью проводить через 1-2 ч,
Объем и периодичность химического контроля должны быть определены в соответствии с "Методическими указаниями по организации и объему химического контроля водно-химического режима на тепловых электростанциях: РД 34.37.303-88" (М.: Ротапринт ВТИ, 1988).
(Измененная редакция, Изм. № 2).
|
Размер непрерывной продувки, % |
Жесткость питательной воды, мг-экв/кг |
|||||||
|
0,2 |
0,5 |
1,0 |
2,0 |
5,0 |
10 |
20 |
40 |
|
|
0,5 |
1,1 |
2,9 |
5,7 |
11,4 |
28,5 |
- |
- |
- |
|
1 |
- |
1,4 |
2,9 |
5,7 |
14,3 |
28,5 |
- |
- |
|
2 |
- |
- |
1,4 |
2,9 |
7,1 |
14,3 |
28,5 |
- |
|
3 |
- |
- |
- |
1,9 |
4,7 |
9,5 |
19,0 |
38,0 |
|
5 |
- |
- |
- |
1,1 |
2,9 |
5,5 |
11,0 |
23,0 |
Для поддержания оптимального значения щелочности котловой воды необходимо постоянно корректировать концентрацию щелочи в рабочем растворе. Новую концентрацию щелочи в рабочем растворе рассчитывают по формуле:
С=СР+СD г/кг, (П2.1)
где СР - существующая концентрация щелочи в рабочем растворе, г/кг;
СD - поправка концентрации щелочи в рабочем растворе, г/кг;
определяют расчетным путем по формуле
(П2.2)
где DПР - среднесуточный расход продувочной воды, т/ч;
DH - подача насоса-дозатора, т/ч;
ЩОБЩ - общая щелочность котловой воды солевого отсека (средняя), мг-экв/кг;
ЩФФ - щелочность по фенолфталеину котловой воды солевого отсека (средняя), мг-экв/кг.
Для большинства электростанций 0,04
- величина
постоянная (или меняется не очень часто), ее целесообразно рассчитать и
упростить формулу. Концентрация щелочи в рабочем растворе в основном зависит от
соотношения Щфф/ЩОБЩ и должна корректироваться при
изменении этого соотношения. При Щфф/ЩОБЩ<0,58-0,62
корректировки не требуется.
Если щелочь вводится впервые, то СР=0 и С=СD. В случае, если значение С получается со знаком "минус", необходимо принять меры к уменьшению поступления щелочи с питательной водой.
В случае, если фиксировалось поступление потенциально кислых соединений, поправку (г/кг) рассчитывает по формуле
(П2.3)
Нормальное соотношение Щфф/ЩОБЩ при этом 0,67±0,2 (попадание потенциально кислых соединений) определяется по снижению показателя рН (гидратной щелочности) котловой воды при нормированном содержании фосфатов в котловой воде. Объем концентрированного раствора щелочи (л), используемого для приготовления рабочего раствора, может быть рассчитан по одной из следующих формул в зависимости от наличия исходных данных:
(П2.4)
(П2.4)
где V - объем бака приготовления рабочего раствора, л;
r - плотность концентрированного раствора щелочи (плотность 42%-ного раствора щелочи 1,45 г/см3);
р - концентрация щелочи в концентрированном растворе, %;
СК - концентрация щелочи в концентрированном растворе, г/кг.
При содержании фосфатов в солевом отсеке, превышающем нормируемое (содержание их в чистом отсеке соответствует норме), следует осуществлять рециркуляцию котловой воды с использованием устройства, приведенного на рис. П3.1.

Рис. П3.1. Перепускная труба между ступенями испарения:
1 - циклон III(II) ступени испарения (внутрибарабанный отсек II ступени); 2 - опускная труба солевого отсека; 3 - перепускная труба диаметром 44´6 мм; 4, 5 - вентили; 6 - опускная труба чистого отсека
Примечания: 1. Размер b определяется возможностью ввода штуцера в опускную трубу 6 через отверстие размером d+2 мм; при этом b=1,5d, а R - произвольный.
2. Вентили 4 и 5 устанавливаются с подводом давления среды под клапан со стороны опускной трубы соответственно солевого и чистого отсеков.
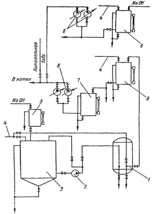
Дозирование фосфатов можно производить по индивидуальной и индивидуально-групповой схемам (рис. П4.1, П4.2). Обе схемы включают бак для приготовления растворов фосфатов, перекачивающий насос, механический фильтр, расходный бак, плунжерные насосы-дозаторы. Схемы отличается подключением и количеством насосов-дозаторов, способом дозирования реагента.
В индивидуальной схеме устанавливается два насоса-дозатора на каждый котел: один рабочий, один резервный. Раствор подается по отдельному трубопроводу в барабан котла. Для равномерного распределения раствора фосфатов в барабане котла непосредственно перед барабаном производят разбавление раствора питательной водой. Допускается установка одного расходного бака для группы котлов (2-4 котла). В этом случае дополнительно для каждого котла устанавливается бак-мерник.
В индивидуально-групповой схеме группа насосов-дозаторов работает на общий коллектор, и из общего коллектора через дроссельные устройства раствор распределяется по котлам. Для равномерного распределения раствора по котлам и затем в барабане котла в коллектор подается питательная вода на разбавление.
В случае дозирования смеси фосфатов и щелочи дополнительно над баком приготовления раствора фосфатов устанавливается бак-мерник щелочи.
Бак для приготовления фосфатов целесообразно изготовить с коническим днищем. Раствор следует забирать из низа цилиндрической части бака. Вместимость расходной цилиндрической части бака должна обеспечить суточную потребность в растворе фосфатов одной очереди котлов электростанций. Бак должен иметь корзину для загрузки фосфатов. Схема должна предусматривать рециркуляцию фосфатного раствора от центробежного насоса в бак приготовления. Трубопровод линии рециркуляции должен быть заведен в корзину.
Подачу центробежного насоса целесообразно выбрать равной суточной потребности в фосфатах котлов одной очереди электростанций.
Рис. П4.1. Схема приготовления и индивидуального дозирования раствора фосфатов и едкого натра:
1 - механический фильтр; 2 - центробежный насос; 3 - бак для приготовления раствора фосфатов; 4 - линия подачи воды; 5 - бак-мерник; 6 - насосы-дозаторы; 7 - бак-мерник фосфатов; 8 - расходный бак раствора фосфатов; 9 - расходный бак раствора едкого натра.
Рис. П4.2. Схема индивидуально-группового фосфатирования котлов:
1 - бак рабочего раствора Na3PO4; 2 - насосы-дозаторы; 3 - ограничительные шайбы; 4 - байпасы на ограничительных шайбах
Вместимость расходного бака должна обеспечить суточную потребность котла (группы котлов) в растворе фосфатов. Расходные баки должны быть закрыты крышкой для предотвращения загрязнения раствора, снабжены переливными линиями и водоуказательными стеклами.
Баки-мерники фосфатов должны обеспечить сменную потребность котла в рабочем растворе, должны быть закрыты, иметь переливную линию и водомерные стекла.
Вместимость бака-мерника щелочи должна превышать объем щелочи, необходимой для приготовления рабочего раствора, не более чем в два раза. Бак-мерник щелочи должен быть оборудован водомерным стеклом, переливной линией, закрыт крышкой.
На линии подачи питательной воды для разбавления в индивидуальной схеме дозирования должна устанавливаться дроссельная шайба.
В индивидуально-групповой схеме расход питательной воды на разбавление рабочего раствора ограничивается дроссельными устройствами, распределяющими рабочий раствор по котлам. Расход питательной воды на разбавление должен быть около 1 т/ч на котел.
Напорные трубопроводы должны соответствовать давлению котла. Внутренний диаметр должен обеспечивать скорость потока 1-2 м/с. На напорном трубопроводе должен быть установлен запорный вентиль возможно ближе к барабану.
На приготовление рабочего раствора для котлов давлением 14 МПа должна использоваться обессоленная вода, в остальных случаях допускается использование умягченной воды.
Индивидуальная схема ввода едкого натра должна включать бак-мерник, расходный бак и два насоса-дозатора. Расходный бак должен быть оборудован крышкой, переливом, водомерным стеклом, к нему должна быть подведена обессоленная вода. Раствор щелочи вводят в фосфатную линию.
СОДЕРЖАНИЕ