МИНИСТЕРСТВО
ХИМИЧЕСКОЙ ПРОМЫШЛЕННОСТИ СССР

УТВЕРЖДАЮ

Заместитель Министра

химической промышленности

СССР

17/V 1971 г.

В. Коваль

РУКОВОДСТВО
ПО БЕЗОПАСНОЙ ЭКСПЛУАТАЦИИ
МОКРЫХ ГАЗГОЛЬДЕРОВ,
ПРЕДНАЗНАЧЕННЫХ
ДЛЯ ГОРЮЧИХ ГАЗОВ

МОСКВА

ИЗДАТЕЛЬСТВО «ХИМИЯ»

1972

«Руководство» разработано Государственным научно-исследовательским и проектным институтом азотной промышленности и продуктов органического синтеза (ГИАП). В составлении «Руководства» принимали участие главный инженер института В. Харламов, начальник отдела межцеховых коммуникаций В. Петухов, главный инженер отдела межцеховых коммуникаций В. Анташков, начальник технического отдела В. Соболева, начальник сектора техники безопасности Г. Антощенко и руководитель нормативной группы А. Капустина.

Руководство согласовано с институтом «Проектхимзащита», а также с предприятиями азотной промышленности и другими заинтересованными предприятиями и организациями.

Введено в действие с 1 января 1972 г.

СОДЕРЖАНИЕ

Введение. 2

Раздел i общие положения. 2

Раздел ii устройство и оснащение мокрых газгольдеров. 3

Раздел iii газовый ввод. 7

Раздел iv схемы газовых вводов. 9

Раздел v предохранительные устройства. 10

Раздел vi контрольно-измерительные приборы, сигнализация, блокировка, аварийное отключение мокрых газгольдеров. 12

Раздел vii отопление и вентиляция мокрых газгольдеров. 15

Раздел viii электрические устройства мокрых газгольдеров. 18

Раздел ix пуск и эксплуатация мокрых газгольдеров. 18

Раздел х возможные нарушения в работе газгольдеров, газопроводов и устранение неполадок. 23

Раздел xi уход за газгольдером и периоды осмотра. 24

Раздел xii мероприятия по технике безопасности. 25

Приложение 1 перечень шифров типовых проектов мокрых газгольдеров с вертикальными направляющими. 26

Приложение 2 противопожарные разрывы между газгольдерами для горючих газов и зданиями или сооружениями. 27

Приложение 3 некоторые требования, которые необходимо соблюдать при установке мокрых газгольдеров для ацетилена и газовых смесей, содержащих ацетилен или аммиак. 27

Приложение 4 рекомендации об использовании защитной жидкости «зж» (бывш. Министерства нефтяной промышленности) в качестве антикоррозионного покрытия. 28

ВВЕДЕНИЕ

1. Настоящее «Руководство» предусматривает устройство, оснащение и правила безопасной эксплуатации стальных мокрых газгольдеров для горючих газов.

2. Мокрые газгольдеры получили широкое применение на предприятиях химической, нефтехимической, нефтеперерабатывающей, металлургической и других отраслей промышленности, а также на очистных сооружениях в городском коммунальном хозяйстве и на ряде опытных установок.

3. На каждом предприятии, где хранятся газы в газгольдерах, эксплуатация их должна производиться в соответствии с рабочей инструкцией для каждого рабочего места, разработанной с учетом требований настоящего «Руководства» и специфических условий производства. Рабочая инструкция утверждается главным инженером предприятия.

4. В рабочих инструкциях должны быть четко сформулированы правила и обязанности работающих на данном рабочем месте, указаны порядок действия при нормальной эксплуатации газгольдера и необходимые мероприятия для предупреждения и ликвидации возможных аварий, а также приведены правила техники безопасности на данном рабочем месте.

К инструкции должна быть приложена схема газовых и других коммуникаций, связанных с газгольдером, а также запорных и измерительных приспособлений.

5. Порядок и сроки приведения действующих предприятий, производственных и опытно-промышленных установок в соответствии с «Руководством» определяются Министерствами.

6. Выполнение требований настоящего «Руководства» является обязательным при обслуживании мокрых газгольдеров, сооружаемых по типовым проектам, разработанным в 1966 г. институтами: ГИАП (Москва), ЦНИИПроектстальконструкция (Москва), ЦНИИПроектстальконструкция (Днепропетровск), Проектхимзащита (Москва).

7. Изготовление, монтаж и приемка стальных конструкций мокрых газгольдеров производится в соответствии со СНиП III-В.5-62.

8. Ремонтные работы внутри газгольдеров и приямков производятся в соответствии с «Инструкцией по технике безопасности при проведении работ в закрытых аппаратах, колодцах, коллекторах и другом аналогичном оборудовании, емкостях и сооружениях на предприятиях химической промышленности», утвержденной Госхимкомитетом СССР 29 сентября 1964 г.

9. Эксплуатация газовых Коммуникаций производится по «Правилам устройства и безопасной эксплуатации трубопроводов для горючих, токсичных и сжиженных газов» (ПУГ-69), утвержденным Госгортехнадзором 17 сентября 1969 г.

РАЗДЕЛ I
ОБЩИЕ ПОЛОЖЕНИЯ

I-1. Настоящее «Руководство» распространяется на стальные мокрые газгольдеры низкого давления (до 400 мм вод. ст.) и переменного объема, имеющие вертикальные направляющие емкостью: 100, 300, 600, 1000, 3000, 6000, 10000, 15000, 20000 и 30000 м3, сооружаемые по типовым проектам по номерам 7-07-01/66-7-07-10/66 (см. Приложение 1), а также на стальные мокрые газгольдеры, имеющие другие емкости в отличие от типовых емкостей.

I-2. «Руководство» не распространяется на стальные мокрые газгольдеры с винтовыми направляющими, типовые проекты которых выпущены по номерам 7-07-30-7-07-36, так как при их эксплуатации необходимо выполнение требований инструкций, учитывающих винтовую конструкцию направляющих.

I-3. Типовые проекты на стальные мокрые газгольдеры с водяным бассейном предусматривают возможность применения их и строительство в районах с расчетной температурой до минус 39 °С; снеговой нагрузкой до 100 кгс/м2 (III - снеговой район); скоростным напором ветра до 70 кгс/м2 (5 - ветровой район); сейсмичностью не выше 7 баллов.

I-4. Широкое применение мокрые газгольдеры получили вследствие конструктивной простоты, освоенности их строительства и надежности в эксплуатации.

В технологических производствах мокрые газгольдеры используются как промежуточные емкости (буферы), обеспечивающие равномерную подачу газа низкого давления (примерно до 400 мм вод. ст.) в потребляющие газ производства для нормальной работы компрессоров и газодувок.

Иногда мокрые газгольдеры используют и как смесители газов разных циклов с различными концентрациями для выравнивания и усреднения концентраций и постоянства состава выходящего из аппаратов газа.

При прекращении подачи газа из производственных отделений мокрые газгольдеры позволяют безаварийно остановить производства, принимающие газ, в течение заранее заданного времени от 10 до 60 мин.

I-5. Переключение мокрого газгольдера на другой газ может быть осуществлено только по согласованию с проектной организацией, производившей привязку типового проекта.

I-6. Для обслуживания мокрых газгольдеров и всех подходящих к ним газопроводов, паропроводов, продувочных линий, а также водопровода в камерах газового ввода назначается ответственный обслуживающий персонал цеха.

I-7. Обслуживающий персонал должен обеспечиваться средствами индивидуальной защиты в зависимости от газа, находящегося в мокром газгольдере. Защитные средства, выдаваемые в индивидуальном порядке, должны находиться во время работы у обслуживающего персонала.

РАЗДЕЛ II
УСТРОЙСТВО И ОСНАЩЕНИЕ МОКРЫХ ГАЗГОЛЬДЕРОВ*

* Конструкции мокрых газгольдеров, схемы их подключения к газовой сети и перечень типовых проектов приведены в следующей литературе: Веревкин С. И. и Корчагин В. Л. «Газгольдеры» (Стройиздат, 1966), «Справочник азотчика» (Химия, т. II, 1969).

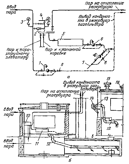
II-1. Составными элементами мокрых газгольдеров (рис. 1) являются:

резервуар - водяной бассейн;

колокол - подвижный резервуар без дна (подвижное звено);

телескоп - подвижный резервуар без дна и крыши (подвижное звено);

вертикальные направляющие (внешние и внутренние).

Мокрые газгольдеры состоят из наземного стального резервуара для воды, расположенного на фундаменте и подвижных звеньев для газа - телескопа и колокола.

Подвижные звенья (телескоп и колокол) газгольдера вертикально перемещаются с помощью внешних и внутренних направляющих. Опирание на направляющие осуществляется с помощью верхних и нижних роликов. Верхние ролики размещаются на крыше колокола и в верхней части каждого подвижного звена и катятся по вертикальным внешним направляющим. Нижние ролики установлены в нижней части каждого подвижного звена и катятся по внутренним направляющим. При нижнем положении подвижные звенья (телескопы и колокол) опираются на специальные подставки, приваренные к днищу. При наполнении газгольдера газом последний своим давлением поднимает колокол. При дальнейшем наполнении газгольдера газом, колокол, зацепляясь своим нижним затвором за обратный верхний затвор телескопа, поднимает последний, нижний затвор колокола захватывает с собой воду из водяного бассейна, в результате чего образуется газонепроницаемый гидравлический затвор, противостоящий давлению газа в газгольдере.

Рис. 1. Схема газгольдера:

a - при высшем положении колокола и телескопа; б - размещение догрузки в нем; 1 - переливной карман; 2 - вертикальная направляющая (внутренняя); 3 - вертикальная направляющая (внешняя); 4 - нижние ролики; 5 - верхние ролики; 6 - колпак; 7 - лазы; 8 - люки; 9 - колокол; 10 - телескоп; 11 - кольцевые площадки с перилами; 12 - резервуар; 13 - подставки; 14 - нижний затвор колокола; 15 - чугунные грузы; 16 - бетонные грузы; 17 - обратный верхний затвор телескопа.

Колокол и телескоп газгольдера, а также верхние и нижние грузы являются элементами, создающими и поддерживающими заданное давление в газгольдере. Давление газа под колоколом равно минимально 125, максимально - 400 мм вод. ст. Для создания в газгольдере давления газа, равного 400 мм вод. ст., колокол догружается по нижнему кольцу чугунными грузами, по верхней площадке - бетонными грузами (рис. 2).

Рис 2. Расположение грузов на колоколе газгольдера:

1 - бетонные; 2 - чугунные; 3 - колокол.

II-2. Мокрые газгольдеры оснащены (рис. 3):

кольцевыми площадками с перилами, находящимися на верхнем уровне резервуара и телескопа (для обслуживания), площадкой с перилами, расположенной по периметру крыши колокола газгольдера (для бетонных грузов и обслуживания);

чугунными и бетонными грузами;

колпаками с люками, расположенными на крыше колокола;

боковыми лазами (по два сквозных лаза в резервуаре, телескопе и колоколе);

переливными карманами, находящимися в верхней части резервуара;

пароструйными элеваторами, расположенными по окружности резервуара и телескопа;

пароструйными элеваторами и поршневыми насосами ручного действия, установленными в камерах газовых вводов;

приточно-вытяжной системой вентиляции (см. раздел VII, рис. 17);

приборами для отопления камеры газового ввода (см. раздел VII, рис. 17);

освещением и молниезащитой (см. рис. 4, 5);

гидравлическими затворами, установленными в камерах газового ввода на линиях входа и выхода газа;

сливными баками, расположенными в приямках, по одному в каждом приямке;

клапанной коробкой, устройством для подъема клапана и трубой сброса газа в атмосферу;

запорной арматурой на напорных и сливных трубопроводах воды;

контрольно-измерительными приборами для измерения температуры воды в резервуаре, уровня колокола в газгольдере.


Рис. 3. Схема оснащения мокрого газгольдера (приточно-вытяжная вентиляция, приборы для отопления будки, контрольно-измерительные приборы и подвод азота на данном рисунке не показаны):

1 - сливной бак; 2 - пароструйный элеватор; 3 - поршневый насос; 4 - клапанная коробка; 5 - гидравлический затвор; 6 - запорная арматура; 7 - подъемное устройство; 8 - переливной карман; 9 - труба сброса газа; 10 - колпак; 11 - перепускное устройство; 12 - продувочная труба; 13 - люк; 14 - центральная продувочная труба; 15 - бетонные грузы; 16 - кольцевая площадка с перилами; 17 - колокол; 18 - чугунные грузы; 19 - телескоп; 20 - лаз; 21 - резервуар; 22 - газовый стояк; 23 - штуцер (диаметром 6 мм) для установки U-образного манометра.


Рис. 4. Схема молниезащиты, защиты от статического электричества
и освещения мокрого газгольдера:

1 - гидравлический затвор; 2 - клапанная коробка; 3 - подъемное устройство 4 - колокол; 5 - труба сброса газа; 6 - молниеприемник; 7 - телескоп; 8 - вертикальные направляющие (внешние); 9 - резервуар; 10 - газовый стояк; 11 - утепляющая стенка; 12 - будка датчиков-указателей объема газа; 13 - камера основного газового ввода; 14 - сливной бак; 15 - лестница; 16 - электрокабель в траншее; 17 - ограждение; 18 - светильник; 19 - устройство заземления.

II-3. Мокрые газгольдеры емкостью 100, 300, 600, 1000, 3000 и 6000 м3 состоят из двух основных частей: стального резервуара, заполненного водой, и колокола, плавающего в резервуаре, и называются однозвенными; мокрые газгольдеры емкостью 10000, 15000, 20000 и 30000 м3, кроме колокола, имеют еще телескоп и называются двухзвенными.

Рис. 5. Схема освещения камеры газового ввода мокрого газгольдера:

1 - электрокабель в траншее; 2 - электропроводка; 3 - камера газового ввода; 4 - электродвигатель; 5 - светильник; 6 - металлический шкаф для электрической аппаратуры (устанавливается на опоре освещения).

РАЗДЕЛ III
ГАЗОВЫЙ ВВОД

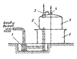
III-1. Газопровод вводится в газгольдер через камеру газового ввода.

Газопровод проходит через гидрозатвор, установленный в камере газового ввода, внутренний приямок и заканчивается газовым стояком при подключении газгольдера на «тупик» газа (рис. 6).

Рис. 6. Схема подключения мокрого газгольдера на «тупик» со сбросом газа в атмосферу:

1 - гидравлический затвор; 2 - клапанная коробка; 3 - подъемное устройство; 4 - газовый стояк; 5 - труба сброса газа в атмосферу; 6 - перепускное устройство; 7 - центральная продувочная труба; 8 - колокол; 9 - резервуар.

Диаметр газопроводов в газовом вводе принимается из условия минимальных потерь, которые не должны превышать 30-50 мм вод. ст.

При подключении газгольдера на «проход» газа в резервуаре газгольдера монтируют второй газовый стояк с газопроводом и гидрозатвором вывода газа из газгольдера (рис. 7).

III-2. В камере газового ввода установлены (см. рис. 3);

гидравлический затвор (рис. 8);

запорная арматура на напорных и сливных трубопроводах воды;

узлы управления системой парового отопления газгольдера;

сливной бак (рис. 9);

ручной поршневой насос и пароструйный элеватор;

клапанная коробка автоматического сброса газа и задвижка с ручным управлением для сброса газа в атмосферу.

Рис. 7. Схема подключения мокрого газгольдера на «проход» со сбросом газа в атмосферу (обозначения те же, что и на рис. 6).

Рис. 8. Гидравлический затвор:

а - схема; б - расположение указателя уровня на нем: 1 - труба для залива воды; 2 - корпус гидрозатвора; 3 - указатель уровня.

III-3. Для залива и пополнения резервуара газгольдера водой к камере газового ввода газгольдера подведен промышленный водопровод.

Рис. 9. Сливной бак:

1 - штуцер для откачки воды (конденсата); 2 - штуцер для отвода газа в атмосферу; 3 - штуцер для приема конденсата или воды из гидрозатвора; 4 - люк (лаз); 5 - штуцер для залива водой отсека; 6 - штуцер для пробных кранов.

III-4. Слив воды из резервуара при опорожнении газгольдера производится через нижний штуцер, а перелив воды - через верхний переливной карман. Трубопроводы для слива воды из резервуара присоединяются к заводской промышленной канализации.

Степень загрязненности сбрасываемой воды из газгольдера устанавливается в каждом отдельном случае индивидуально при привязке типового проекта и в зависимости от этого газгольдер подключается к той или иной сети промышленной канализации.

Наполнение резервуара газгольдера водой или его опорожнение проводят в течение 20-30 ч.

III-5. Задвижка с электроприводом для отключения газгольдера от межцеховых газопроводов должна устанавливаться вблизи газгольдера на внешних газопроводах.

III-6. В месте установки отключающей задвижки должен предусматриваться узел управления продувкой газгольдера инертным газом (например, азотом).

РАЗДЕЛ IV
СХЕМЫ ГАЗОВЫХ ВВОДОВ

IV-1. По технологической схеме мокрые газгольдеры могут быть подключены на «тупик» или на «проход» газа, со сбросом избыточного газа в атмосферу (см. рис. 6, 7) и без сброса газа в атмосферу (рис. 10, 11).

Сброс газа в атмосферу может быть только в исключительных случаях при аварийном сокращении расхода газа в цехах, потребляющих газ.

Рис. 10. Схема подключения мокрого газгольдера на «тупик» без сброса газа в атмосферу:

1 - гидравлический затвор; 2 - газовый стояк; 3 - перепускное устройство; 4 - центральная продувочная труба; 5 - колокол; 6 - резервуар.

IV-2. При нормальном режиме работы цехов, вырабатывающих и потребляющих газ, выработка или потребление газа регулируется в зависимости от положения колокола газгольдера по световым и звуковым сигналам.

IV-3. Схема на «проход» газа через газгольдер применяется для обеспечения:

постоянного давления газа на входе его в потребляющий цех при неравномерной подаче газа в межцеховой газопровод из вырабатывающего газ цеха;

постоянства состава газа при смешении, перед его потреблением;

использования тепла, содержащегося в газе на отопление газгольдера.

В остальных случаях мокрые газгольдеры подключают к газовой сети по схеме на «тупик» газа.

IV-4. При подключении, на «тупик» мокрые газгольдеры всех емкостей имеют одну камеру газового ввода, при подключении газгольдера на «проход» в газгольдерах емкостью 100, 300, 600 и 1000 м3 в одной камере монтируются два газопровода с газовыми стояками, а в газгольдерах емкостью 3000, 6000, 10000, 15000, 20000 и 30000 м3 для выхода газа сооружается вторая камера выхода газа.

Рис. 11. Схема подключения мокрого газгольдера на «проход» без сброса газа в атмосферу (обозначения те же, что и на рис. 10).

Камера выхода газа в отличие от камеры входа газа не имеет клапанной коробки и трубы для сброса газа в атмосферу.

IV-5. При подключении мокрого газгольдера на «тупик» давление газа в месте отвода его от транзитного газопровода в газгольдер колеблется в пределах 450-350 мм вод. ст.

Среднее значение давления газа в газопроводе 400 мм вод. ст., равное расчетному давлению газа в газгольдере, будет в месте отвода в моменты, когда объем газа в газгольдере не изменяется, что считается установившимся нормальным режимом работы.

IV-6. При подключении газгольдера на «проход» давление газа, выходящего из газгольдера, всегда меньше давления газа в газгольдере на величину потерь в газовом вводе (выходе).

В зависимости от количества газа, проходящего через газгольдер, и его плотности потери в газовом вводе различны, однако они не должны превышать 30-50 мм вод. ст.

IV-7. Допустимые количества газа, проходящего через газгольдер, соединенный на «проход» газа, приведены в таблице.

Допустимые количества газа, проходящего через мокрый
газгольдер, в зависимости от емкости газгольдера

Емкость газгольдера, м3

Диаметр газового ввода, мм

Количество газа*, проходящего через газгольдер, м3

Максимально допустимый забор газа из газгольдера (скорость** движения колокола 1,5 м/мин), м3

100

200

1200

3100

300

200

1800

5100

600

400

4700

8100

1000

400

7000

13300

3000

600

10500

29000

6000

600

15500

48200

10000

800

18200

48200

15000

1000

28300

59600

20000

1200

40700

80300

30000

1200

60700

120100

* Для газгольдеров, подключенных на «тупик», указанное количество газа, проходящее по транзитному газопроводу, допускается увеличить в 1,5 раза,

** Нормальная скорость опускания или поднятия подвижных звеньев газгольдера по вертикали не должна превышать 1,5 м/мин.

РАЗДЕЛ V
ПРЕДОХРАНИТЕЛЬНЫЕ УСТРОЙСТВА

V-1. К предохранительным устройствам мокрых газгольдеров относятся:

перепускное устройство на крыше колокола (рис. 12);

центральная продувочная труба на центральном люке крыши колокола (рис. 13);

гидравлический затвор в камере газового ввода (см. рис. 8);

сигнализация в технологических корпусах для аварийной остановки машин при минимальном положении колокола;

автоматическое устройство для сброса газа из газгольдера в атмосферу при его переполнении;

блокировка положения колокола по «предмаксимуму» с автоматическим устройством для сброса газа на свечу для его сжигания, если сброс газа в атмосферу запрещен, или прекращения его подачи в газгольдер;

пожарная сигнализация и телефонная связь;

молниезащита, защита от статического электричества, сетки на трубах сброса газа в атмосферу;

наружное освещение и ограждение;

системы отопления и вентиляции.

V-2. Перепускное устройство (см. рис. 12) состоит из колпака, перепускной трубы с задвижкой и продувочной свечи на перепускной трубе. Колпак перепускного устройства приварен к кровле колокола над газовым стояком и служит для гидравлического отключения газового стояка от сферической части колокола. Вследствие этого исключается возможность образования вакуума под колоколом.

Диаметр колпака имеет размер на 400 мм больше диаметра газового стояка.

Продувочная свеча на перепускной трубе предназначена для продувки газового стояка при нулевом положении колокола газгольдера.

Перепускная труба с задвижкой, соединяющая газовый стояк с колоколом, необходима для продувки газгольдера и перепуска газа из газового стояка в сферическую часть колокола в момент его подъема.

Рис. 12. Перепускное устройство над газовым стояком газгольдера:

1 - люк; 2 - перепускная труба; 3 - продувочная труба (свеча); 4 - крышка; 5 - муфта; 6 - запорная арматура; 7 - колпак; 8 - крыша колокола; 9 - кольцо; 10 - сетка.

В момент первоначального наполнения газгольдера газом или воздухом при испытании его на плотность задвижка перепускной трубы должна быть открыта.

Газ под давлением по перепускной трубе попадает в сферическое пространство колокола и поднимает колокол.

При начале подъема колокола задвижка на перепускной трубе закрывается.

V-3. На центральном люке крыши колокола (см. рис. 13) установлена труба с задвижкой, которая предназначена для выпуска газа из газгольдера при его продувке и при опорожнении газгольдера.

При спуске воды из резервуара газгольдера, а также, если газгольдер не содержит газ, задвижка и крышка на центральной трубе должны находиться в открытом состоянии, так как в этом случае под колоколом будет образовываться вакуум, что приведет к повреждению колокола.

V-4. Гидравлический затвор (см. рис. 8) предназначен для отключения газгольдера от межцеховых газопроводов при ремонте, а также для отвода газового конденсата при работе газгольдера. Задвижка для залива водой гидрозатвора открывается вручную в камере газового ввода с обслуживающей площадки.

Для отключения газгольдера на ремонт необходимо водой залить гидрозатвор до уровня, который отмечен на указателе уровня красной чертой.

При нормальном режиме работы газгольдера в гидрозатворе не должно быть воды. Воду из гидрозатвора сливают в бак через задвижку на сливном штуцере. Из сливного бака воду откачивают в промышленную канализацию с помощью ручного поршневого насоса или пароструйного элеватора.

Сливной бак имеет отсек для гидравлического отключения, который должен быть всегда заполнен водой (см. рис. 9).

V-5. Автоматическое устройство (рис. 14) состоит из клапанной коробки, подъемного устройства и трубы для сброса газа в атмосферу. Сброс газа происходит при переполнении газгольдера газом в момент достижения колоколом верхнего положения. При достижении верхнего положения колокол газгольдера через специальное подъемное приспособление поднимает клапан в клапанной коробке.

Рис. 13. Центральная продувочная труба:

1 - крыша центрального люка колокола; 2 - крышка трубы; 3 - муфта; 4 - задвижка.

При подъеме клапана происходит снижение уровня воды в гидрозатворе клапанной коробки; затем гидрозатвор клапанной коробки открывается и газ сбрасывается в атмосферу через трубу, находящуюся вблизи газгольдера.

Клапанная коробка, устанавливаемая в камере газового ввода, имеет постоянный уровень воды, который поддерживается вследствие непрерывной подачи воды в клапанную коробку и отвода ее через сливную воронку в промышленную канализацию. Клапанная коробка рассчитана на давление газа в газгольдере до 400 мм вод. ст.

Рис. 14. Схема автоматического устройства сброса газа в атмосферу:

1 - клапанная коробка; 2 - подъемное устройство; 3 - труба сброса газа в атмосферу; 4 - колокол; 5 - телескоп; 6 - резервуар; 7 - переливная воронка.

В зимних условиях воду в клапанной коробке подогревают паром, для этой цели внизу клапанной коробки в зоне гидрозатвора предусмотрен змеевик.

РАЗДЕЛ VI
КОНТРОЛЬНО-ИЗМЕРИТЕЛЬНЫЕ ПРИБОРЫ, СИГНАЛИЗАЦИЯ, БЛОКИРОВКА, АВАРИЙНОЕ ОТКЛЮЧЕНИЕ МОКРЫХ ГАЗГОЛЬДЕРОВ

VI-1. В диспетчерских пунктах производств, выдающих и принимающих газ, устанавливаются приборы, которые непрерывно показывают объем газа, находящегося в газгольдере, а также предусматривается ступенчатая световая и звуковая сигнализация, срабатывающая при изменении объема газа в газгольдере (рис. 15).

Рис. 15. Принципиальная схема расположения приборов КИП для непрерывного указания объема и ступенчатой сигнализации:

1 - газгольдер; 2 - термометр технический ртутный; 3 - кулачковый регулируемый командо-аппарат; 4 - сельсин-датчик; 5 - электрический звонок; 6 - сигнальные лампы; 7 - сельсин-приемник; 8 - звонок во взрывозащищенном исполнении; 9 - кнопка управления.

VI-2. Для обеспечения нормальной эксплуатации газгольдера и предотвращения аварий при его опорожнении и переполнении предусматривается:

непрерывное указание объема газа в газгольдере;

ступенчатая световая и звуковая сигнализация объема газа в газгольдере;

автоматическое отключение электродвигателей машин, забирающих газ из газгольдера при минимальном объеме газа в газгольдере.

VI-3. Дистанционное измерение объема газа в газгольдере осуществляется с помощью сельсин-датчика типа БД-501А и сельсин-приемника типа БС-404А, одновременно в нескольких местах (до шестнадцати).

VI-4. Ступенчатая световая и звуковая сигнализация объема газа в газгольдере является предупредительной сигнализацией, извещающей цехи-потребители об уменьшении или увеличении газа в газгольдере.

VI-5. Ступенчатая световая и звуковая сигнализация положения колокола газгольдера характеризует степень заполнения газгольдера газом:

Объем газа, находящегося в полезном*

объеме газгольдера, %

Минимум                                                                     0-10

Предминимум                                                              10-20

Нормально                                                                   20-80

Предмаксимум                                                             80-90

Максимум                                                                    90-100

* Полезный объем газгольдера составляет 80°/о его геометрической емкости.

VI-6. При достижении предминимального объема газа в газгольдере, в производствах, принимающих газ, включаются звуковые сигналы и загораются сигнальные лампы «предминимум».

При дальнейшем уменьшении объема газа до минимума, подаются световые и звуковые сигналы «минимум».

При изменении объема газа, от нормального объема в сторону увеличения, также подаются световые и звуковые сигналы «предмаксимум» и «максимум».

VI-7. Для предотвращения создания в газгольдере вакуума все машины, забирающие газ из газгольдера, при минимальном его объеме автоматически останавливаются посредством командо-аппарата.

VI-8. При максимальном заполнении газгольдера газом срабатывает механическая защита, т.е. происходит сброс газа в атмосферу через трубу сброса газа.

VI-9. Если газ сбрасывать в атмосферу запрещается, то при достижении его максимального объема в газгольдере машины, подающие газ в газгольдер, автоматически отключаются посредством командо-аппарата.

VI-10. Датчики непрерывного и ступенчатого указания объема устанавливаются в специальном помещении, находящемся от газгольдера на расстоянии 7 м (т.е. во вневзрывоопасной зоне).

VI-11. Температуру воды в резервуаре газгольдера измеряют ртутным термометром, установленным в стенке резервуара.

VI-12. Колокол газгольдера с помощью системы механического привода (рис. 16) связан с кулачковым командо-аппаратом, на выходном валу которого укреплен сельсин-датчик.

Поступательное движение колокола преобразуется во вращательное движение вала командо-аппарата и сельсина. Показания сельсин-датчика синхронно передаются сельсин-приемнику, встроенному во вторичный прибор, для указания объема газа в газгольдере.

VI-13. Колокол газгольдера соединен с командо-аппаратом и сельсин-датчиком с помощью механического привода, который состоит из лебедки и каната блочной передачи. Лебедка соединена с помощью наружных канатов и направляющих блоков с колоколом газгольдера. Движущей силой привода является колокол газгольдера.

VI-14. В мокрых газгольдерах используют командо-аппарат типа КА-4188-4 с двумя барабанами по 12 цепей и механическим редуктором i = 1:20.

Командо-аппарат состоит из двух параллельно вращающихся барабанов, насаженных на два вала, на которые укреплены переключающие шайбы с кулачками и контактная рейка, на которой расположены неподвижные рычаги (несущие контактные мостики), защелки и гетенаксовая плита с неподвижными контактами.

Рис. 16. Схема установки датчиков указания объема и ступенчатой сигнализации:

1 - верхний блок; 2 - водило; 3 - ролик колокола газгольдера; 4 - колокол; 5 - канат; 6 - резервуар; 7 - средний блок; 8 - натяжной блок; 9 - блок первого приямка; 10 - сельсин-датчик; 11 - командо-аппарат; 12 - лебедка; 13 - помещение датчика; 14 - блок второго приямка.

VI-15. Барабаны посредством редуктора соединяются с рабочим механизмом. Число переключающихся шайб на валу барабана равно числу электрических цепей. Переключающая шайба состоит из двух одинаковых секторов, в каждом из которых имеется 10 отверстий, отстоящих одно от другого на 18°, и кольцевого паза.

Кулачки, закрепленные на одной стороне переключающей шайбы, являются включающими, а кулачки, закрепленные на другой стороне, отключающими.

Контакты командо-аппарата с серебряными накладками, обеспечивают коммутацию контрольных цепей с напряжением до 440 в постоянного тока и до 500 в переменного тока.

В замкнутом положении контакты допускают длительное протекание тока в 15 а и кратковременно (не более 10 сек) до 75 а постоянного или переменного тока. Разрыв контактов командо-аппарата происходит при следующих значениях постоянного и переменного тока:

Постоянный ток

Переменный ток (соs j = 0,8)

Напряжение, в

110            220         440

до 500

Сила тока, а

2,3             2             0,5

15

VI-16. Цепи командо-аппарата используются следующим образом: 1 - максимум, 2 - предмаксимум, 3 - нормально, 4 - предминимум, 5 - минимум и самостоятельная цепь минимум для блокировки. От командо-аппарата можно получить самостоятельные импульсы ступенчатой сигнализации и блокировки в четыре цеха.

VI-17. Питание статорных цепей сельсинов должно осуществляться от одного источника. При напряжениях, отличных от номинального напряжения питания сельсинов (110 в, 50 гц), необходимо применение реостатов или автотрансформаторов.

VI-18. При значительных расстояниях между сельсин-датчиком и сельсин-приемником допускается двухстороннее их питание, подводимое со стороны датчика и со стороны приемника. Настоящее питание должно осуществляться синфазным током, колебание напряжения в питающих сетях не должно превышать ±5%.

VI-20. Связь сельсин-датчика и командо-аппарата с вторичными приборами, а также схемами сигнализации и блокировки необходимо выполнять контрольным бронированным кабелем.

VI-21. Сопротивление проводов, связывающих роторы сельсинов, должно быть не выше 30 ом при температуре +20 °С.

VI-22. Все металлические детали установки, кроме командо-аппарата и сельсин-датчика, окрашивают коррозионностойкой краской серо-голубого цвета.

VI-23. Корпус датчика-сельсина, а также корпуса вторичных приборов и командо-аппарата должны быть подсоединены к контуру заземления.

VI-24. Осям командо-аппарата и сельсин-датчика вращение передается через лебедку с канатами и блоками. Канаты жестко скреплены с корпусом ролика колокола газгольдера, и при подъеме колокола или его опускании канаты с помощью блоков приводят во вращательное движение лебедку, сочлененную с командо-аппаратом и сельсином. Натяжение канатов регулируется натяжным блоком с переменными грузами.

VI-25. Защитные блокировки должны периодически проверяться и опробываться, согласно распорядку, установленному службой газгольдерного хозяйства или руководством тех цехов, которые являются потребителями газа данного газгольдера.

VI-26. Ревизию датчиков и вторичных показывающих приборов следует проводить два раза в год.

VI-27. Для скалывания льда с канатов в верхнем блоке предусмотрены специальные стальные пластины. Приямки и фундаменты для блоков выполнены с гидроизоляцией, и цоколи их расположены выше отметки земли во избежание попадания в них воды.

VI-28. При обслуживании и эксплуатации командо-аппарата и сельсинов следует выполнять требования инструкций заводов-изготовителей данных приборов.

РАЗДЕЛ VII
ОТОПЛЕНИЕ И ВЕНТИЛЯЦИЯ МОКРЫХ ГАЗГОЛЬДЕРОВ

VII-1. Резервуар, гидрозатворы, камеры газовых вводов и выводов мокрых газгольдеров имеют системы обогрева, предотвращающие замерзание воды, а будки датчиков, в которых расположены указатели объемов, имеют систему обогрева, обеспечивающую нормальную работу контрольно-измерительных приборов в холодный период года.

VII-2. Система отопления должна обеспечивать поддержание температуры воды в резервуаре и гидрозатворе, а также воздуха в камерах газовых вводов, выводов и будок датчиков указателей объемов не ниже +5 °С.

VII-3. В качестве теплоносителя применяется пар. Давление пара в системах отопления и вентиляции выбирается в зависимости от давления пара, имеющегося на промышленной площадке, и не должно превышать рабочего давления, на которое рассчитаны нагревательные приборы.

VII-4. Нагревательными приборами являются:

пароструйные элеваторы для подогрева воды в резервуаре и гидрозатворе газгольдера (см. рис. 3);

радиаторы с гладкой поверхностью для отопления камер газовых вводов и выводов, а также будок датчиков указателей объемов.

Пароструйные элеваторы устанавливают на кольцевых площадках над поверхностью воды по всей окружности резервуара и гидрозатвора в каждом пролете между направляющими.

Подсос воды в пароструйный элеватор происходит для резервуара по трубе, находящейся на расстоянии 500 мм от дна резервуара и для гидрозатвора по трубе, расположенной на расстоянии 100 мм от дна гидрозатвора. Подогретая вода подается в резервуар на 500 мм ниже его уровня воды и в гидрозатвор на 300 мм ниже его уровня воды.

В камерах газовых вводов и выводов температура поверхности нагревательных приборов не должна превышать 80% от величины температуры самовоспламенения газа, находящегося в газгольдере. У радиаторов отопления должны предусматриваться съемные защитные решетки.

VII-5. Конденсат после радиаторов отопления через конденсатоотводчик сбрасывается в резервуар газгольдера.

VII-6. Избыток воды, образующийся при работе пароструйных элеваторов в системе обогрева, сбрасывается через сливные линии резервуара в канализацию.

VII-7. Теплоноситель вводят в узел управления системы отопления, расположенный в камере газового ввода газгольдера (рис. 17). Узел управления должен иметь редукционный и предохранительный клапаны, манометры, установленные до редукционного клапана и после него.

VII-8. Отбор пара на отопление камеры газового ввода, резервуара и гидрозатвора из узла управления должен осуществляться самостоятельными стояками. Стояки отопления переходят в горизонтальные кольцевые и полукольцевые паропроводы, расположенные на открытых площадках, предназначенных для обслуживания верхней части резервуара и гидрозатвора телескопа. Полукольцевой паропровод, расположенный на площадке, предназначенной для обслуживания гидрозатвора телескопа, соединен гибким шлангом с кольцевым паропроводом отопления гидрозатвора.

Отбор пара на отопление камеры второго газового вывода и будок датчиков указателей объемов производится от кольцевого паропровода обогрева резервуара.

VII-9. Пароструйные элеваторы и паропроводы, находящиеся на открытых площадках, крепят к стойкам ограждения площадок и к металлоконструкциям газгольдера.

VII-10. Тепловая компенсация кольцевых и полукольцевых паропроводов происходит за счет естественных огибов вертикальных направляющих газгольдера.

Рис. 17. Отопление и вентиляция камеры газового ввода:

а - схема отопления; б, в - вентиляция.

1 - воздушник; 2 - редукционный клапан; 3 - манометр; 4 - предохранительный клапан; 5 - отопительные приборы; 6 - конденсатоотводчик; 7 - конденсатопровод от клапанной коробки; 8 - вентиль; 9 - обратный клапан; 10 - узел управления паровой системой; 11 - нагревательный прибор; 12 - приточная система вентиляции; 13 - электродвигатель; 14 - вентилятор; 15 - дефлектор; 16 - вентиляционный зазор.

VII-11. Тепловой изоляцией покрывают все паропроводы, за исключением тех, которые отмечены в проектах особо и паропроводов к радиаторам. Для изоляции могут быть применены минеральные цилиндры (с содержанием 4-6% фенольной связки) с алюминиевым кожухом. Паропроводы к радиаторам и сами радиаторы окрашиваются лаком АЛ-177.

VII-12. В холодный период обслуживающий персонал должен регулярно следить за работой пароструйных элеваторов и сливных линий резервуара, не допуская падения температуры воды в резервуаре и в гидрозатворе, а также воздуха в камерах вводов и выводов и в будке датчиков ниже +5 °С.

VII-13. В газгольдерах с телескопом необходимо следить за исправностью гибкого шланга, соединяющего полукольцевой и кольцевой паропроводы. Гибкий шланг должен изготовляться из металлического герметического рукава (ГОСТ 3575-47). Шланг должен быть такой длины, чтобы обеспечивался беспрепятственный подъем колокола при наполнении газгольдера газом.

VII-14. Камеры газовых вводов и выводов, а также внутренние приямки оборудуются механической и естественной вентиляцией (будки, где расположены датчики-указатели объемов, не вентилируются). Приточная механическая вентиляция периодического действия без подогрева воздуха должна обеспечивать 12-кратный обмен воздуха в 1 ч.

Кроме механической приточной вентиляции осуществляется постоянное естественное проветривание с притоком воздуха через неплотности в ограждающих конструкциях, окна и шахту с дефлектором на кровле (см. рис. 17).

VII-15. Вентиляторы и электродвигатели к ним, изготовленные во взрывозащищенном исполнении, устанавливают снаружи у входа в камеры газовых вводов и выводов. В целях исключения искрообразования шиберы на вентиляторах выполняются из алюминия.

VII-16. Пусковые устройства приточной вентиляции размещаются у входной двери камер газового ввода и вывода.

VII-17. Включать приточную механическую вентиляцию следует за 10 мин перед входом обслуживающего персонала в камеры, что обеспечивает двукратное проветривание.

VII-18. Вентиляционные системы после приемки от монтажной организации проходят эксплуатационное испытание с проверкой количества подаваемого воздуха и сверкой его с проектом.

Срок эксплуатационного испытания - 3 месяца.

VII-19. Указания, перечисленные в п.п. VII-14 - VII-18, являются дополнением к «Временной инструкции по пуску, наладке и эксплуатации вентиляционных установок на промышленных предприятиях» (СН 271-64) и «Техники безопасности в строительстве» (СНиП III-А.11-62).

VII-20. Трубопроводы отопления в камерах газовых вводов и выводов, воздуховоды вентиляционных систем и оборудование должно быть заземлено, согласно «Правил защиты от статического электричества в производствах химической промышленности» (Госхимиздат, 1963 г.)

VII-21. Монтаж систем отопления и вентиляции должен производиться в соответствии со строительными нормами и правилами «Санитарно-техническое оборудование зданий и сооружений. Правила производства и приемки работ» (СНиП III-Г.1-62).

VII-22. В зависимости от климатических условий, мокрые газгольдеры сооружаются (см. рис. 4):

без утепляющей кирпичной стенки в районах с расчетной зимней температурой для отопления минус 25 °С;

с утепляющей кирпичной стенкой в районах с расчетной зимней температурой для отопления ниже минус 25 °С.

Примечание. При соответствующем технико-экономическом обосновании, сооружение мокрых газгольдеров с утепляющей стенкой резервуара может быть принято и для климатических районов с расчетной зимней температурой для отопления выше минус 25 °С.

РАЗДЕЛ VIII
ЭЛЕКТРИЧЕСКИЕ УСТРОЙСТВА МОКРЫХ ГАЗГОЛЬДЕРОВ

VIII-1. Газгольдеры с горючими газами, согласно ПУЭ* § VII-3-6, относят к взрывоопасным наружным установкам класса В-1г. Взрывоопасные зоны вокруг газгольдеров имеют следующие размеры:

5 м по вертикали и по горизонтали от труб для сброса газа (свечей), предохранительных и дыхательных клапанов.

При отсутствии труб для сброса газа и клапанов взрывоопасная зона для данных газов должна составлять 3 м.

* Правила устройства электроустановок, Изд. «Энергия», 1965 г.

VIII-2. Камеры газового вводов и выводов относятся, согласно ПУЭ § VII-3-3, к взрывоопасным помещениям класса В-1.

VIII-3. Электродвигатель приточного вентилятора в пределах взрывоопасной зоны предусматривается во взрывозащищенном исполнении для соответствующей категории и группы взрывоопасной смеси.

VIII-4. Пускораспределительная электроаппаратура устанавливается вне взрывоопасных зон, например на ближайшей опоре наружного освещения (в соответствующем исполнении).

VIII-5. Территория взрывоопасной зоны освещается светильниками во взрывозащищенном исполнении, а территория за пределами этой зоны - светильниками наружного освещения, подвешенными на опорах не выше 6 м. Камеры газового ввода и вывода освещаются светильниками во взрывозащищенном исполнении, например В4А-200 (см. рис. 4, 5).

VIII-6. В камерах газового ввода и вывода, а также приямках допускается применение переносных светильников во взрывозащищенном исполнении типа В4А-50 на пониженном напряжении 12 в. Пользоваться ими разрешается только при работе приточной механической вентиляции после проветривания камер и приямков.

VIII-7. Если в газгольдере находится газовая смесь, содержащая ацетилен 15 объемн.% и более, светильник для освещения камеры устанавливается снаружи у оконного проема.

VIII-8. Силовые и осветительные сети выполняются из бронированного кабеля, с медными жилами, резиновой изоляцией и прокладываются они в основном в траншее.

Зарядка взрывобезопасных светильников осуществляется с помощью провода марки ПРКС тремя жилами (фаза, рабочий нуль и защитный нуль).

VIII-9. Электроснабжение установки предусматривается одним из четырех жильных фидеров 380/220 в. Для защитного заземления используется четвертая жила подводимого кабеля.

VIII-10. Мокрые газгольдеры по молниезащите относят ко II категории по СН 306-69. Молниезащита газгольдеров, имеющих металлические стенки с покрытием толщиной не менее 4 мм, выполняется надежным присоединением конструкции их к заземлителям.

Если у газгольдера имеются трубы для сброса газа, то молниезащита осуществляется молниеприемниками, установленными непосредственно на газгольдере или на трубе для сброса газа, токоотводами при этом являются металлические конструкции газгольдера (см. рис. 4).

VIII-11. Гидрозатвор, сливной бак, клапанная коробка и трубопроводы защищаются от статического электричества с помощью ближайших заземлителей молниезащиты.

РАЗДЕЛ IX
ПУСК И ЭКСПЛУАТАЦИЯ МОКРЫХ ГАЗГОЛЬДЕРОВ

IX-1. Пуск газгольдера производится по специальной инструкции, разрабатываемой заводом.

В данных инструкциях должны быть учтены положения, связанные с обслуживанием, ремонтом и безопасными условиями работы.

IX-2. Результаты осмотра и испытания газгольдера должны быть оформлены актами, констатирующими готовность газгольдера к пуску и эксплуатации.

IХ-3. Допуск на площадку расположения газгольдера разрешается только рабочим и инженерно-техническим работникам, ответственным за эксплуатацию газгольдера. Другим работникам цеха допуск запрещен.

IХ-4. Во время грозы находиться на газгольдере и соприкасаться с его металлическими частями и трубопроводами - запрещается.

IХ-5. Продувку газгольдера газом должен проводить квалифицированный персонал под наблюдением ответственного лица в следующем порядке:

открывают задвижку на перепускном устройстве между стояком газопровода и колоколом;

медленно приоткрывают задвижку в узле управления на трубопроводе, подающем азот. Узел управления расположен вблизи газгольдера на внешних газопроводах;

подают в газгольдер азот так, что поднятия колокола при этом не происходит; азот из газгольдера сбрасывают в атмосферу через открытую задвижку продувочной трубы, установленной в центре крыши колокола;

пробу на содержание кислорода в продувочном газе берут через 1 ч от начала продувки и далее через каждые 30 мин.

После получения в двух последних пробах концентрации кислорода не более 2-3%, задвижку на продувочной трубе закрывают, увеличивают подачу азота и газгольдер наполняют до 30% емкости. При наполнении газгольдера азотом наблюдается поднятие колокола. Как только начнется подъем колокола, необходимо:

задвижку на перепускном устройстве закрыть;

открыть задвижку на продувочной трубе газгольдера и одновременно уменьшить подачу азота (наполнение газгольдера азотом при этом снижается до 10% емкости);

подъем колокола и его спуск производить до получения допустимой концентрации кислорода в газе;

закрыть задвижку на продувочной трубе и наполнять газгольдер азотом до 60% емкости.

IХ-6. После продувки газгольдер считается подготовленным для эксплуатации, т.е. возможно его заполнение производственным газом в соответствии с инструкцией, разрабатываемой заводом.

IХ-7. Продувка и наполнение газом газгольдеров азота, кислорода, двуокиси углерода может производиться тем же газом, для которого газгольдер предназначен.

IХ-8. В газгольдерах с газосбросной трубой сброс газа в атмосферу производится через задвижку, установленную в камере газового ввода на перемычке, соединяющей газопровод с трубой сброса газа и открываемую вручную.

IХ-9. Мокрые газгольдеры для горючих газов и газовые сети, подходящие к ним, обслуживаются (в соответствии с инструкцией) посменно или только в дневное время.

IХ-10. Специальных штатов для обслуживания газгольдеров не предусматривается. Обслуживание газгольдеров возлагается на рабочих и инженерно-технических работников из числа эксплуатационного персонала цеха, в котором вырабатывается или потребляется газ.

IX-11. В сферу обслуживания входят:

газгольдеры соответствующих емкостей;

межцеховые коммуникации (газопроводные, паропроводные, азотные и другие сети), проходящие по территории производства и связанные с газгольдерами;

газовые задвижки с электроприводами, установленные на подводящих к газгольдерам газовых коммуникациях в непосредственной близости от него;

паровые гребенки и вся система обогрева газгольдера, гидрозатворы на подводящих коммуникациях;

гидрозатворы и оборудование камер газовых вводов и выводов у газгольдеров;

приточная вентиляция в камерах газового ввода и вывода;

труба для сброса газа из газгольдера в атмосферу (если таковая имеется);

система отопления и водоснабжения газгольдеров;

аварийно-производственная сигнализация газгольдеров.

IX-12. Нормальному режиму работы газгольдера соответствуют следующие параметры:

объем газа в пределах 10-90% полезного объема газгольдера;

давление газа в газгольдере не ниже 125 мм вод. ст. и не выше 400 мм вод. ст.;

температура воды в водяном затворе газгольдера не ниже плюс 5 °С;

температура поступающего газа от минус 20 до плюс 60 °С;

температура в приямках газгольдера не ниже плюс 5 °С.

IХ-13. Для поддержания нормального режима работы газгольдеров и газопроводной сети необходимо:

регулярно наблюдать за правильным движением роликов по внешним направляющим (замеченные заедания бортов роликов и перекосы направляющих должны немедленно устраняться. Поверхности внешних направляющих и оси наружных роликов газгольдера необходимо периодически смазывать маслом для обеспечения свободного вращения роликов (периодичность должна быть указана в рабочей инструкции);

следить за уровнем и температурой воды в резервуаре и в подвижных гидрозатворах телескопа газгольдера (уровень воды должен быть постоянным). В случае значительной утечки воды должны быть приняты меры к определению места утечки из резервуара и ликвидации этой утечки. При повышении уровня воды избыток ее должен беспрепятственно отводиться по переливному трубопроводу в промышленную канализацию;

непрерывно следить за положением колокола газгольдера по дистанционным указателям объемов со световой и звуковой сигнализацией, расположенным в диспетчерских пунктах производственных цехов. Ответственные за обслуживание газгольдера контролируют его работу и ведут регулировку уровня подвижных звеньев газгольдера. (Во время работы газгольдера должна гореть одна из сигнальных ламп с надписью, соответствующей данному положению колокола.);

наблюдать за положением колокола газгольдера по предупредительной и аварийной сигнализации.

При снижении запаса газа в газгольдере ниже нормы, т.е. при загорании сигнальной лампы «минимум», газгольдер должен быть отключен от потребителей газа. При остановке газгольдера на длительный период его отключают от межцеховых газопроводов путем закрытия задвижки и залива водой гидрозатвора в камере газового ввода; при этом необходимо помнить, что остановка газгольдера без запаса в нем газа (запас газа должен быть не менее 50%) может привести к образованию вакуума и разрушению колокола;

следить, чтобы в гидрозатворах газового ввода и вывода при нормальном режиме работы не было воды;

следить, чтобы при эксплуатации газгольдера задвижки перепускных устройств над колпаками входа и выхода были закрыты;

вести постоянный контроль за давлением газа в газгольдере. При обнаружении отклонений от заданной величины давления немедленно принимать меры по их устранению;

следить (визуально) за правильностью показания объема и отсутствием утечек газа из газгольдера (по слуху и по наружным признакам);

проверять в газгольдерах с защитной жидкостью или залитых маслом наличие защитной жидкости и состояние ее (подвижность и появление сгустков); следить за состоянием защитных покрытий (перхлорвиниловых материалов, сурика и др.) на наружных стенках резервуара, телескопа и колокола газгольдера;

следить за электрозадвижками на газопроводах в узле управления и опорожнительными кранами гидрозатвора, которые всегда должны быть открыты в сливной бак газгольдеров, проверять отсутствие конденсата в гидрозатворах газгольдеров путем открытия нижних кранов указателя уровня гидрозатвора;

проверять наличие конденсата или воды в гидроотсеке сливных баков;

периодически проверять работу приточной механической вентиляции в камерах газовых вводов и выводов, путем включения ее в работу не менее чем на 10 мин до входа в камеру;

следить за давлением газа, поступающего в газгольдер и выходящего из него, а также за температурой воздуха в камерах газовых вводов и выводов;

следить за работой отопительной системы газгольдеров и проверять работу пароструйных элеваторов, насосов откачки воды из камер газовых вводов и выводов;

проверять проточность воды через клапанную коробку свечи сброса газа в атмосферу и работу подъемного устройства;

следить за работой контрольно-измерительных приборов. О неполадках в приборах или о неправильных показаниях приборов следует немедленно сообщить руководству цеха. Категорически запрещается обслуживающему персоналу вскрывать контрольно-измерительные приборы;

следить за чистотой в приямке, на площадках, лестницах и территории газгольдеров, не допуская присутствия посторонних предметов, особенно металлических;

осматривать дренажные трубы фундамента для выявления течи воды из них;

мелкий текущий ремонт выполнять разрешенными инструментами, соблюдая противопожарные мероприятия и требования санитарных норм в присутствии другого лица.

IX-14. Сменный персонал цеха, из которого подается газ в газгольдер, по указанию руководства цеха осуществляет спуск и подъем колокола для нанесения на стенки колокола (и телескопа) свежей защитной жидкости или для пополнения воды в подвижном гидрозатворе (в газгольдерах с телескопом).

IХ-15. Ремонт газгольдера и газопроводов можно проводить только после опорожнения газгольдера от газа и его продувки.

IX-16. При отключении газгольдера от газовых сетей необходимо:

включить на 10 мин вентиляцию для продувки камер газовых вводов и выводов, открыв при этом входные двери;

сработать газ в газгольдере до нижнего предела наполнения, т.е. до «минимума» (по сигнализации);

перекрыть задвижки на газовых сетях;

сбросить содержащийся в газгольдере газ в атмосферу через трубу сброса газа, открыв байпасную задвижку на газовом вводе, или через центральную продувочную трубу на крыше газгольдера, открыв задвижку и сняв крышку на трубе, или через продувочные свечи (факел) производственных цехов, выдающих или принимающих газ (если отсутствует труба сброса газа). При этом необходимо наблюдать за скоростью опускания колокола, которая в момент спуска на подставки, расположенные на дне резервуара, не должна превышать 0,25 м/мин.

IХ-17. После спуска колокола необходимо:

открыть задвижки (вентиль) на трубопроводе азотной продувки и на перепускной трубе, а также центральную свечу на колоколе, закрыв байпасную задвижку трубы для сброса газа в атмосферу;

продуть газгольдер азотом, попеременно подавая его в газгольдер (колокол при этом поднимается) и выпуская через центральную продувочную трубу на колоколе (колокол при этом опускается). Газовую смесь, отбираемую из свечи на колоколе и из газовых вводов, анализируют на содержание в нем горючих компонентов. Продувку газгольдера азотом проводят до образования взрыво-безопасной концентрации горючего газа на выходе. Если у газгольдера отсутствует труба для сброса газа в атмосферу или сброс газа в атмосферу недопустим, то продувку газгольдера азотом осуществляют через производственный цех в соответствии с требованиями цеховой инструкции;

залить водой гидравлические затворы в камерах газового ввода на 600 мм вод. ст. (т.е. до красной черты на указателе уровня воды), предварительно закрыв дренажную задвижку на трубопроводе к сливному баку;

отключить газгольдер от газопроводов заглушками с хвостовиками;

наблюдать за задвижкой центральной свечи на крыше газгольдера, которая для устранения образования вакуума под колоколом должна быть открыта до полного спуска воды из резервуара.

IX-18. Спуск воды из резервуара газгольдера и улавливание защитной жидкости или масла (в газгольдере аммиака или ацетилена) выполняют только при наличии специального письменного распоряжения, в котором должны быть указаны продолжительность освобождения газгольдера от воды, средства нейтрализации или разбавления в отстойниках и оборудование для улавливания масла. Сброс воды из газгольдера производится с соблюдением требований действующих санитарных норм сброса загрязненных промстоков в водоемы.

IX-19. Запрещается открывать задвижку (на штуцере в днище резервуара) для сброса воды из резервуара, не убедившись, что задвижка на центральной свече или люк на крыше колокола полностью открыты.

IХ-20. Необходимо помнить, что:

при спуске воды или сильной ее утечке через днище под колоколом создается вакуум, что может вызвать разрушение колокола, если будет закрыта задвижка на центральной трубе;

после продувки колокола (газгольдера) воздухом из воды резервуара выделяется ранее растворенный производственный газ, при этом возможно отравление людей газом или образование взрывоопасных смесей;

после продувки газгольдера задвижка на центральной продувочной трубе при опущенном колоколе с водой в резервуаре должна быть открыта, так как при закрытой задвижке в колоколе создается вакуум в результате растворения воздуха в воде в связи с изменением суточной температуры (до пуска газгольдера).

IХ-21. Перед осмотром газгольдера (после слива воды) колокол продувают воздухом через открытые люки и лазы в газгольдере.

IХ-22. Запрещается начинать осмотр резервуара газгольдера, прежде чем не проведен анализ воздуха в нем (содержание кислорода должно быть не ниже 20% с полным отсутствием взрывоопасного газа).

Не допускается применение инструментов, могущих при ударе вызвать искру.

IХ-23. При отключении газгольдера присутствие вторых лиц и исправность телефонной сети обязательны.

IХ-24. Выключение газгольдера и газопроводов на ремонт возможно только после опорожнения газгольдера от газа и его продувки.

Продувку газгольдера и газопроводов перед ремонтом проводят азотом или другим газом несколько раз в следующем порядке:

прекращают подачу газа в газгольдер и газ из газгольдера срабатывают до «минимума»;

закрывают задвижку, установленную на газопроводе перед газгольдером (кроме того, у газгольдеров с газосбросной трубой открывают задвижку, установленную в камере газового ввода на перемычке между газопроводом и устройством для сброса газа в атмосферу);

подают в газгольдер азот для продувки. Сброс азота в атмосферу производится указанным выше способом (см. п. IX-16 - IX-17). Для газгольдеров без газосбросной трубы, сброс газа из газгольдера при продувке последнего азотом производится через коммуникации производственного цеха в соответствии с инструкцией завода;

открывают центральную продувочную трубу на крыше колокола, через которую остатки газа с азотом выбрасываются в атмосферу, гидрозатвор, установленный в камере газового ввода, заливают водой;

открывают задвижку на трубопроводе для сброса воды в случае необходимости освобождения резервуара газгольдера от воды. Спуск воды из резервуара газгольдера при закрытой продувочной трубе и люках на крыше колокола газгольдера категорически запрещается. После освобождения газгольдера и соединенных с ним газопроводов от газа и воды люки и продувочная труба должны быть открыты до тех пор, пока в газгольдере и газопроводах состав газа (по данным анализа) будет соответствовать составу атмосферного воздуха;

К работам по ремонту газгольдера допускается бригада в составе не менее двух человек, независимо от объема ремонтных работ. Все ремонтные работы проводят под наблюдением ответственного лица.

IХ-25. Пуск газгольдеров в эксплуатацию после ремонта проводят следующим образом:

открывают задвижку центральной свечи на колоколе и проверяют крепление верхних роликов и их смазку;

осматривают, нет ли нарушений в раскладке грузов и убеждаются в отсутствии посторонних вещей (железных деталей и др.) на крыше колокола;

убеждаются в плотном закрытии люков на крыше колокола;

открывают задвижку перепускного устройства на крыше колокола;

включают на 10 мин вентиляцию для продувки камер газовых вводов и выводов, одновременно открыв двери камер;

открывают задвижку на водопроводе, через которую в резервуар заливают воду. Воды в резервуар необходимо налить столько, чтобы ее уровень находился на расстоянии 100 мм от кромки переливного кармана;

включают систему обогрева в холодный период года;

освобождают гидрозатвор в камере газового ввода от воды, спустив ее в сливной бак:

снимают на газопроводах заглушки, отключающие газгольдер от газовой сети;

открывают задвижку (вентиль) на трубопроводе азотной продувки;

продувают сферическую часть колокола азотом (содержание кислорода должно быть не более 3%);

закрывают задвижку на центральной продувочной трубе;

сливают воду из гидрозатвора во второй камере газового ввода, открывают второе перепускное устройство на крыше колокола, открывают задвижку на выходном газопроводе и продувают его азотом через газгольдер от второго газового стояка газгольдера до принимающего газ цеха (при подключении газгольдера на «проход» газа);

закрывают задвижку на выходном газопроводе;

подают азот в колокол и наблюдают за его подъемом (при подъеме колокола на 1-1,5 м закрывают задвижки перепускных устройств на крыше колокола);

наполняют газгольдер азотом на 60-70% его емкости;

проводят анализ пробы газовой смеси из газгольдера на содержание в ней кислорода;

при неудовлетворительном анализе газовой смеси на кислород азот из колокола выпускают через центральную продувочную трубу на колоколе или через байпас на трубе сброса газа в атмосферу (расположенную в газовом вводе) и газгольдер наполняют азотом вторично;

срабатывают азот из газгольдера до положения «минимум», открыв задвижку на газопроводе, в потребляющий газ цех;

проводят продувку входного газопровода азотом от цеха, подающего газ в газгольдер;

проверяют полное закрытие задвижки и крышки на продувочной трубе сброса газа, работу клапанной коробки для автоматического сброса газа в атмосферу, наполнение водой отсека сливных баков в камерах газового ввода (по контрольным пробным кранам);

докладывают о готовности газгольдера к приему газа диспетчеру завода.

IХ-26. Прием газгольдеров и газопроводов с оборудованием из ремонта проводят по акту.

IХ-27. При заполнении газгольдера производственным газом до положения «предмаксимум» открыть задвижку на выходном газопроводе (для газгольдера подключенного на «проход» газа).

После пуска газгольдера его работу контролируют в течение 2-3 ч, затем непрерывное наблюдение прекращают, двери камер газовых вводов газгольдера закрывают на замок.

РАЗДЕЛ Х
ВОЗМОЖНЫЕ НАРУШЕНИЯ В РАБОТЕ ГАЗГОЛЬДЕРОВ, ГАЗОПРОВОДОВ И УСТРАНЕНИЕ НЕПОЛАДОК

Х-1. При значительном понижении давления газа в газопроводах и, следовательно, заметном понижении колокола или телескопа газгольдера, а также при разрушении газопровода необходимо о случившемся немедленно сообщить руководству цехов, в которых вырабатывается или потребляется газ, и диспетчеру.

Х-2. При сильном ветре подвижные звенья газгольдера держать в нижней трети его объема. При воздействии сильных порывистых (штормовых) ветров возможен сход верхних направляющих роликов в сторону или их застревание, в этом случае необходимо:

немедленно о случившемся доложить руководству цеха, в котором вырабатывается или потребляется газ;

поддерживать подвижные звенья газгольдера в постоянном положении;

подготовить соответствующие приспособления для установки роликов на место;

вызвать газоспасателей и пожарников.

При невозможности устранения нарушений газгольдера в рабочем состоянии, по распоряжению руководства цеха отключить газгольдер и продуть его азотом, оставляя колокол в прежнем положении. Порядок проведения остановки газгольдера и мероприятия по обеспечению безопасности должны быть предусмотрены в производственных инструкциях.

Х-3. При отключении электроэнергии, неисправности вентилятора, отсутствии света в камере газового ввода, необходимо потребовать от соответствующих служб принятия мер к устранению неполадок.

Х-4. При значительном падении уровня воды в резервуаре газгольдера требуется:

осмотреть дренажи днища газгольдера;

проверить закрытие спускной задвижки, расположенной на штуцере днища резервуара (после предварительного проветривания камеры десятиминутной работой вентиляции);

принять меры к ликвидации утечки воды (при сильной утечке воды газгольдер отключают на капитальный ремонт).

Х-5. При прекращении в зимнее время подачи пара на отопление газгольдеров требуется опустить телескоп (подвижный гидрозатвор) и принять меры к восстановлению подачи пара. Если подачу пара быстро восстановить не удается, следует открыть дренажи и спустить конденсат из паропроводов.

Х-6. При обнаружении утечки газа в приямке газгольдера необходимо проветрить камеру газового ввода, включить вентилятор, открыть двери и окна. Запрещается работать в приямках в одиночку.

Х-7. Поддерживать постоянный уровень воды в отсеке сливного бака, для того чтобы не происходило выделение газа в атмосферу. Необходимо помнить, что пробные краны сливного бака должны быть всегда закрыты.

Х-8. При обрыве троса подъемного приспособления клапанной коробки необходимо:

следить за переливом воды через клапанную коробку (в воронку);

проверить (при наличии трубы для сброса газа в атмосферу) плотное закрытие байпасной задвижки к трубе сброса газа в атмосферу;

снять с клапанной коробки крышку, одновременно проветривая вентилятором камеру газового ввода, и закрепить новый трос.

Х-9. При неисправности контрольно-измерительных приборов, а также при обрыве канатов, соединяющих контрольно-измерительные приборы с колоколом, следует немедленно уведомить об этом руководство цеха и службу КИП. При этом объем газа в газгольдере необходимо определять визуально, наблюдая за положением колокола и телескопа. Следует помнить, что опускать колокол ниже положения «минимум» нельзя.

РАЗДЕЛ XI
УХОД ЗА ГАЗГОЛЬДЕРОМ И ПЕРИОДЫ ОСМОТРА

ХI-1. При эксплуатации газгольдеров необходимо*:

периодически осматривать газгольдеры, газопроводы, приборы КИП, отопление, вентиляцию, а также электрооборудование;

один раз в смену проводить контрольный осмотр корпуса газгольдеров и роликов, дренажных трубок;

содержать в чистоте лестницы, кольцевые площадки и крыши газгольдеров, а также дренажные трубки фундаментов, зимой очищать их от снега;

проводить, при необходимости, регулировку роликов и грузов газгольдера;

два раза в месяц смазывать ролики и тросы командо-аппаратов;

один раз в месяц проверять работу задвижек на газопроводах, путем проворачивания их на несколько ниток, при этом защитные колпаки штоков задвижек (кроме кислородных) набивать солидолом;

один раз в месяц проводить контрольный осмотр силовой и осветительной сети, а также устройств молниезащиты;

один раз в месяц проверять работу контрольно-измерительной аппаратуры газгольдеров и трубопроводных сетей; работу по проверке должна выполнять служба КИП.

* Результаты осмотра записывают в специальную книгу.

ХI-2. Два раза в смену необходимо докладывать начальнику смены:

о работе газгольдеров (уровне воды в резервуаре, проточности воды в клапанной коробке, наличии воды в сливном баке) вентиляционных установок, а в зимнее время также о работе отопления и др.;

о состоянии газовых сетей, паропроводов и других коммуникаций, а также гидрозатворов, конденсатоотводчиков, гребенок, приборов КИП и др.;

о присутствии лиц, машин и различных механизмов на площадке газгольдеров и газовых сетей.

ХI-3. Для газгольдеров, в которых в качестве антикоррозионного покрытия используется защитная жидкость, с разрешения руководства один раз в месяц срабатывают газ и наносят антикоррозионную защитную жидкость на стенки колокола и телескопа. В зимнее время защитное антикоррозионное покрытие наносят один раз в два месяца.

Если в качестве антикоррозионного покрытия газгольдера используют перхлорвиниловые материалы или сурик, необходимо не реже чем через 6 месяцев производить профилактический осмотр состояния защитной окраски.

ХI-4. Один раз в смену проверять герметичность паропровода и приборов отопительной системы, а также подачу пара в змеевик клапанной коробки трубы для сброса газа и отвод из него конденсата, исправность пароструйных элеваторов обогрева, поддерживая температуру воды в резервуаре +5 °С.

ХI-5. Принимать меры к ликвидации шума, возникающего при работе пароструйных элеваторов, вызывающей вибрацию стенок резервуара.

ХI-6. Производить периодически долив воды в резервуар газгольдера.

ХI-7. Для каждого газгольдера, начиная с ввода его в эксплуатацию, в книге регистрации вести запись о периодических осмотрах, ремонтах, об окраске, о сходах роликов с направляющих, о спуске воды, о пополнении масла или защитной жидкости, о газовых пропусках и т.д.

ХI-8. Ремонт газгольдеров производить в срок, согласно действующим нормам планово-предупредительного ремонта.

РАЗДЕЛ XII
МЕРОПРИЯТИЯ ПО ТЕХНИКЕ БЕЗОПАСНОСТИ

ХII-1. При эксплуатации газгольдера необходимо соблюдать следующие правила техники безопасности:

запрещать вход посторонним лицам в зону ограждения газгольдера, а также в камеру газового ввода;

строго запрещать зажигание огня, курение в камере газового ввода, а также в зоне ограждения газгольдера;

на видных местах газгольдера и на ограждении должны быть надписи «Взрывоопасно», «Курить воспрещается»;

не хранить горючие или самовоспламеняющиеся материалы в камере газового ввода, а также в зоне ограждения газгольдера;

входить в камеру газового ввода только после предварительного проветривания, путем включения приточной вентиляции и только вдвоем с наблюдающим;

во внутренних приямках газгольдера и камере газового ввода, в которых возможно образование взрывоопасных смесей газа с воздухом, не устанавливать приборы и аппараты, при эксплуатации которых возможно образование искр при контакте или трении, и проводить контроль воздушной среды. При наличии запаха газа (присутствие газов, не имеющих запаха, устанавливают с помощью искровзрывозащищенных газоанализаторов) необходимо газгольдер и газопроводы тщательно осмотреть, найти место утечки газа и устранить повреждение;

работы, проводящиеся в закрытых или подвальных помещениях газгольдеров, в которых возможно скопление газа, выполняют с соблюдением правил техники безопасности, установленных для работ в газоопасной среде и указанных в производственной инструкции;

осмотр и обслуживание газгольдеров выполняют лица, прошедшие специальное обучение и инструктаж и сдавшие квалификационной комиссии экзамен на знание инструкции по рабочему месту, правил техники безопасности и противопожарной безопасности;

в цехах, обслуживающих газгольдеры, хранить (в зависимости от газа, находящегося в газгольдере) достаточное число противогазов изолирующего шлангового или фильтрующего типа; на территории газгольдера должно находиться необходимое число огнетушителей и ящиков с песком;

строго запрещать работать у газгольдера, заполненного кислородом, или проводить его продувку и ремонт в пропитанной маслом, бензином или керосином одежде.

Производственная инструкция по рабочему месту, инструкции по технике безопасности и пожарной безопасности должны быть вывешены на рабочем месте обслуживающего персонала.

ХII-2. Технологическое оборудование (гидрозатвор, сливной бак, клапанная коробка) и трубопроводы должны быть защищены от статического электричества.

ХII-3. Газгольдеры с горючими и токсическими газами должны быть оснащены пожарной сигнализацией, извещатели которой должны находиться на видном месте вблизи газгольдера, а также телефонной связью через общезаводской коммутатор.

ХII-4. Неисправности аварийно-предупредительной сигнализации и блокировки по автоматической остановке машин по «минимуму» положения колокола газгольдера должны немедленно устраняться. Эксплуатация газгольдера при неисправной сигнализации и блокировке допускается только на время ликвидации повреждений.

XII-5. Огневые работы следует проводить в соответствии с «Типовым положением по организации огневых работ в пожаро- и взрывоопасных производствах химической и металлургической промышленности», утвержденным Госгортехнадзором РСФСР 16 августа 1963 г., и «Инструкцией о мерах пожарной безопасности при проведении огневых работ на промышленных предприятиях и на других объектах народного хозяйства», утвержденной УПО МООП 8 июня 1963 г.

ХII-6. Временные огневые работы на действующем газгольдере с горючими газами производятся только при наличии плана проведения огневых работ и разрешения на проведение этих работ.

ХII-7. Для устранения скопления горючего газа в сливном баке, установленном в приямке, предусматривается постоянная продувка сливного бака азотом, подаваемым от общезаводских сетей, наличие которого в системе трубопроводов должно периодически проверяться путем открытия пробного вентиля.

ХII-8. При ремонтных работах по антикоррозионной защите газгольдера необходимо:

строго соблюдать основные правила техники безопасности, изложенные в типовых проектах № 7-01--01/66 - 7-07-10/66;

очистку и окраску проводить в скафандрах при включенной вентиляции с обменом воздуха, обеспечивающим допустимую концентрацию содержания паров растворителей. Одновременно рекомендуется окрашивать не более 50 м2 поверхности;

выполнять работы в зазорах между резервуаром и телескопом и внутри колокола в присутствии дежурного, который оказывает помощь работающим;

применять электроосветительные устройства (проводку, светильники, электромоторы и др.) во взрывозащищенном исполнении;

запрещать разводить огонь, пользоваться паяльными лампами и проводить все работы, связанные с искрообразованием;

окрасочные материалы хранить в специальной таре и выделенных для этой цели специальных помещениях;

запрещать допуск посторонних лиц на территорию в радиусе 25 м вокруг газгольдера, которая должна быть ограждена;

все работы по нанесению защитных окрасок должны производиться только после согласования мероприятий по технике безопасности с антикоррозионной службой предприятия.

ПРИЛОЖЕНИЕ 1

Перечень
шифров типовых проектов* мокрых газгольдеров с вертикальными направляющими

Емкость, м3

Шифр Госстроя СССР

Емкость, м3

Шифр Госстроя СССР

100

7-07-01/66

6000

7-07-06/66

300

7-07-02/66

10000

7-07-07/66

600

7-07-03/66

15000

7-07-08/66

1000

7-07-04/66

20000

7-07-09/66

3000

7-07-05/66

30000

7-07-10/66

Типовые проекты мокрых газгольдеров с вертикальными направляющими разработаны ГИАП совместно с «ЦНИИПроектстальконструкцией» и институтом «Проектхимзащита»,

Каждый типовой проект состоит из следующих альбомов

Альбом I «Сборка полистовая»

Альбом II «Сборка укрупненными панелями»

Альбом III/66 «Сборка методом рулонирования»

Альбом IV «Сборка полистовая из низколегированной стали»

Альбом V «Ролики, люки, лазы» (типовой проект 7-07-11)

Альбом VI «Антикоррозионная защита»

Альбом VII «Газовый ввод, контроль и автоматика, электротехнические устройства»

Альбом VIII «Архитектурно-строительная часть, отопление и вентиляция с утеплением резервуара»

Альбом IX «Архитектурно-строительная часть, отопление и вентиляция без утепления резервуара»

Альбом Х/70 «Сметы»

Примечания: 1. Стальные конструкции в зависимости от сборки заготовок решены в четырех вариантах, каждый вариант дан в отдельном альбоме.

2. Типовые проекты мокрых газгольдеров распространяет Минский филиал Центрального института типовых проектов (г. Минск, ул. Козлова, 2).

Паспорта к типовым проектам распространяет Центральный институт типовых проектов (Москва, Б-66, Спартаковская, 2А, корпус Б).

ПРИЛОЖЕНИЕ 2

Противопожарные разрывы между газгольдерами для горючих газов и зданиями или сооружениями (Из СНиП II-М.1-62 с изменениями согласно приказу № 184 Госстроя от 31 октября 1964 г.)

Наименование зданий и сооружений

Разрывы от газгольдеров постоянного объема и газгольдеров с водяным бассейном (мокрые газгольдеры), м

Жилые и общественные здания и сооружения

100

Базисные склады торфа, дров, лесоматериалов, горючих жидкостей и других легковозгорающихся материалов

50

Промышленные печи на открытом воздухе и другие установки с открытыми источниками огня

100

Базисные склады каменного угля и кокса

30

Пути сообщения общего пользования (железнодорожные, трамвайные, автомобильные, для пешеходного движения)

50

Расходные склады торфа, дров, лесоматериалов, горючих жидкостей и других легковозгорающихся материалов

40

Расходные склады каменного угля и кокса

30

Производственные и вспомогательные здания промышленных предприятий

I и II степеней огнестойкости

25

III, IV и V степеней огнестойкости

40

Подсобные помещения и сооружения для обслуживания газгольдеров

15

Подъездные и внутризаводские железные и автомобильные дороги

20

ПРИЛОЖЕНИЕ 3

НЕКОТОРЫЕ ТРЕБОВАНИЯ, КОТОРЫЕ НЕОБХОДИМО СОБЛЮДАТЬ ПРИ УСТАНОВКЕ МОКРЫХ ГАЗГОЛЬДЕРОВ ДЛЯ АЦЕТИЛЕНА И ГАЗОВЫХ СМЕСЕЙ, СОДЕРЖАЩИХ АЦЕТИЛЕН ИЛИ АММИАК

При установке на заводах мокрых газгольдеров, предназначенных для хранения ацетилена и ацетилен-содержащих газов, необходимо руководствоваться «Правилами и нормами техники безопасности и промышленной санитарии для проектирования и эксплуатации производств ацетилена окислительным пиролизом метана и электрокрекингом метана для целей переработки, а также производства ацетилена из карбида кальция для газосварочных работ».

При отключении газгольдера, содержащего ацетилен, на ремонт или осмотр выпуск из него ацетилена в атмосферу недопустим, прежде всего для обеспечения безопасной работы цеха разделения воздуха. При отключении газгольдера следует:

сработать ацетилен или газовую смесь из газгольдера до положения «минимум»;

заполнить газгольдер и подключенные к нему ацетиленопроводы из отделения концентрирования или из перерабатывающих цехов природным газом;

выпустить из газгольдера смесь природного газа с содержанием ацетилена на свечу для сжигания, расположенную при отделении концентрирования ацетилена, а также предусмотреть возможность сжигать этот газ на свечах в перерабатывающих цехах;

освободить газгольдер от остатков смеси природного газа и ацетилена, продувая ацетиленопроводы и газгольдер азотом (азотную продувку можно проводить через перепускные устройства и центральную свечу колокола непосредственно в атмосферу);

слить воду из газгольдера, не прекращая азотную продувку, при открытой центральной свече на колоколе;

при этом строго соблюдать правила и нормы техники безопасности и промышленной санитарии.

В целях безопасной работы газгольдера, содержащего ацетилен, необходимо обеспечить непрерывную азотную продувку сливных баков, соединенных воздушниками с атмосферой.

Поверхность воды в резервуаре должна быть залита авиационным маслом или маслом «Нигрол», толщина слоя должна быть не менее 4-5 см. В газгольдерах, предназначенных для хранения аммиака, поверхность воды в резервуаре заливают отработанным машинным маслом, толщиной слоя не менее 3-5 см.

ПРИЛОЖЕНИЕ 4

РЕКОМЕНДАЦИИ ОБ ИСПОЛЬЗОВАНИИ ЗАЩИТНОЙ ЖИДКОСТИ «ЗЖ» (БЫВШ. МИНИСТЕРСТВА НЕФТЯНОЙ ПРОМЫШЛЕННОСТИ) В КАЧЕСТВЕ АНТИКОРРОЗИОННОГО ПОКРЫТИЯ

Краткая характеристика и назначение защитной жидкости для мокрых газгольдеров

Защитная жидкость «ЗЖ» для мокрых газгольдеров является специальной антикоррозионной жидкостью, состоящей из раствора каучукоподобных веществ в индустриальном масле, компаундированном битумными материалами.

«ЗЖ» обладает высокой адгезией с металлом, небольшим давлением распыленных паров и не смешивается с водой.

Свойства «ЗЖ» изменяются при воздействии чистого кислорода и кислот. Ниже приведены основные физико-химические свойства «ЗЖ»:

Плотность d 20/4, г/см3, не выше                                                   0,95

Вязкость при 50 °С, °Е*, не менее                                                8,1

Испаряемость при 50 °С, %, не выше                                           0,2-0,3

Температура вспышки по Бренкену, °С, не ниже                       170

Кислотность, мг, не выше                                                              0,5

Температура застывания, °С, не выше                                         -25

Антикоррозионные свойства                                               Испытания по ГОСТ 5757-51 выдерживает

* Градусы Энглера.

«ЗЖ» предназначается для защиты мокрых газгольдеров от коррозии.

Обладая меньшей плотностью, чем вода, «ЗЖ» находится на поверхности воды бассейна газгольдера и препятствует проникновению воздуха в воду бассейна. При работе газгольдера защитная жидкость покрывает наружные и внутренние поверхности колокола и телескопа и, следовательно, предохраняет газгольдер от коррозийного разрушения.

«ЗЖ» рекомендуется использовать для защиты от коррозии мокрых газгольдеров, предназначенных для хранения водяного, воздушного, отопительного и углеводородных газов, смеси углеводородных газов с водяным газом в различных концентрациях, богатых и бедных газов гидрирования, а также смеси сероводорода, окиси и двуокиси углерода в различных концентрациях и других газов, применяемых в промышленности.

Не разрешается «ЗЖ» применять для защиты газгольдеров, служащих для хранения кислорода.

Подготовка мокрых газгольдеров для защиты от коррозии при помощи защитной жидкости*

* «ЗЖ» можно применять для защиты от коррозии газгольдеров, покрытых старой краской.

1. Поднять колокол и телескопы газгольдера в верхнее наивысшее положение.

2. Очистить защищаемые наружные поверхности газгольдера от свободно осыпающейся старой окраски или ржавчины.

3. Очистку доступных поверхностей газгольдеров производить при помощи металлических щеток с длинной ручкой и метел **. При этом необходимо строго соблюдать правила техники безопасности и газобезопасности при выполнении работы на газгольдерах (см. ниже).

** При употреблении «ЗЖ» очистка поверхности газгольдера химическими способами или при помощи пескоструйной обработки не требуется.

4. При выполнении работ по очистке поверхности от свободно осыпающейся краски (продуктов коррозии) необходимо защищать глаза очками, а руки - хлопчатобумажными рукавицами.

5. Очистку поверхности газгольдера от старой краски и продуктов коррозии на уровне выше 2 м от площадки проводят в соответствии с «Памяткой по организации безопасного ведения работ на высоте в действующих цехах химических производств».

6. Ответственным за состояние техники безопасности является начальник цеха, к которому относится защищаемый объект.

Ответственность за соблюдение всех правил безопасности во время работы несет начальник смены.

Защита мокрых газгольдеров защитной жидкостью

1. «ЗЖ» заливают в гидрозатвор и внутрь газгольдера.

2. Заливку «ЗЖ» в газгольдер производят при наивысшем поднятии колокола и телескопа, желательно при сухой теплой погоде.

3. После заливки «ЗЖ» в газгольдер колокол и телескопы опускают до максимально возможного нижнего положения.

4. При последующем подъеме колокола и телескопов в процессе эксплуатации «ЗЖ» равномерным слоем покрывает доступные смачиванию наружные и внутренние поверхности газгольдера.

5. Наружная и внутренняя поверхности сферы колокола, а также верхних поясов колокола, телескопа и резервуара при работе газгольдера автоматически не смачиваются защитной жидкостью и требуют защиты лакокрасочными материалами:

а) до ввода газгольдера в эксплуатацию эти части следует защищать лакокрасочным покрытием на основе перхлорвиниловой смолы;

б) во время защиты от коррозии газгольдера при эксплуатации или в период его капитального ремонта части газгольдера, недоступные автоматической обработке, следует не реже двух раз в год покрывать лакокрасочным покрытием при помощи краскораспылителя 0-19 с диаметром сопла 2,5 мм при давлении (избыточном) 2-3 ат или большой малярной кистью.

6. При защите от коррозии новых мокрых газгольдеров необходимо:

а) ввести в резервуар газгольдера воду до уровня верхней части опорных подставок;

б) ввести защитную жидкость в резервуар газгольдера на поверхность воды через люк колокола;

в) ввести защитную жидкость в воду каждого гидрозатвора;

г) заполнить резервуар водой до предельно верхнего уровня его высоты;

д) поднять и опустить все подвижные части газгольдера, подавая в него газ или воздух и выпуская его, для того чтобы «ЗЖ» хорошо смочила все рабочие части газгольдера.

7. Подачу «ЗЖ» внутрь газгольдера и в гидравлические затворы следует проводить при помощи шестеренчатого насоса РЗ-30 (высота подачи насоса 30 м, производительность 18 м3). Возможно применение насосов других типов, предназначенных для перекачивания вязких жидкостей. Запрещается разбавление «ЗЖ» водой.

8. При обработке газгольдеров защитной жидкостью необходимо соблюдать правила и меры пожарной безопасности, предусмотренные в соответствующих инструкциях по технике безопасности.

9. Количество «ЗЖ», необходимое для защиты наружных или внутренних поверхностей газгольдера рассчитывают исходя из расхода ее 0,7 кг на 1 м2 поверхности или, в случае типовых газгольдеров, пользуются данными по расходу «ЗЖ» для наружных поверхностей, приведенными в альбомах VI типовых проектов 7-07-01/66 - 7-07-10/66.

При защите наружных поверхностей мокрых газгольдеров, т.е. стенок телескопа и колокола, погружаемых в воду резервуара газгольдера при максимально возможном их опускании, и поверхности воды в нижнем гидравлическом затворе (кольцевая поверхность, заключенная между стенкой резервуара и стенкой нижнего телескопа) и в других гидрозатворах необходимо:

«ЗЖ» в гидравлические затворы подавать при помощи гибкого армированного шланга диаметром 1,5-2 дюйма, передвигая его по периметру гидрозатворов так, чтобы обеспечить равномерное распределение «ЗЖ» по всей поверхности воды в гидрозатворе;

целесообразно обработку наружной поверхности колокола и телескопа «ЗЖ» проводить при помощи краскораспылителей 0-19 с диаметром сопла 2,5 мм при давлении (избыточном) 3-4 ат, или кистью на длинной ручке; при этом избыток «ЗЖ» стекает на поверхность воды в гидравлические затворы.

При защите внутренних поверхностей мокрых газгольдеров, т.е. внутренней поверхности колокола и телескопа, погружаемых в воду резервуара при максимально возможном их опускании, и поверхности воды в резервуаре газгольдера по диаметру телескопа для двухзвенных газгольдеров или по диаметру колокола однозвенных газгольдеров необходимо:

«ЗЖ» вводить под давлением (избыточным) 1 ат на внутреннюю поверхность стенки телескопа на уровне 0,5-1 м над водой с таким расчетом, чтобы постепенно покрыть «ЗЖ» внутреннюю поверхность стенки телескопа на указанную высоту по всему периметру его.

Эксплуатация газгольдеров, защищенных защитной жидкостью

1. После ввода всего количества защитной жидкости в гидравлические затворы и внутрь газгольдера производят медленный спуск колокола и телескопа в нижнее положение, а затем подъем их до максимума; при этом наружные и внутренние поверхности колокола и телескопа покрываются равномерным слоем защитной жидкости.

2. При эксплуатации мокрых газгольдеров, защищенных от коррозии защитной жидкостью, во избежание ввода кислорода запрещается создавать проток воды через резервуар газгольдера.

3. Для автоматического возобновления защитной жидкости на наружных и внутренних поверхностях колокола и телескопа газгольдера необходимо не реже одного раза в месяц погружать и поднимать колокол и телескоп газгольдера до максимально возможных пределов.

4. С целью частичного возобновления, а также пополнения естественных потерь защитной жидкости в процессе эксплуатации газгольдера необходимо не реже двух раз в год, в зависимости от состояния защитного слоя на наружной поверхности газгольдера, вводить (дополнительно) «ЗЖ» в гидрозатворы и внутрь газгольдера в количестве 10% от первоначального ее расхода на покрытие наружной и внутренней поверхностей газгольдера.

5. Необходимо организовать систематическое наблюдение за эксплуатацией защищенных защитной жидкостью газгольдеров.

В регистрационный журнал для каждого газгольдера должны вписываться все, без исключения, операции и изменения, касающиеся защитной жидкости.