ГОСТ 8.563.2-97
МЕЖГОСУДАРСТВЕННЫЙ СТАНДАРТ
ГОСУДАРСТВЕННАЯ СИСТЕМА ОБЕСПЕЧЕНИЯ
ЕДИНСТВА ИЗМЕРЕНИЙ
ИЗМЕРЕНИЕ РАСХОДА И КОЛИЧЕСТВА ЖИДКОСТЕЙ
И ГАЗОВ МЕТОДОМ ПЕРЕМЕННОГО ПЕРЕПАДА ДАВЛЕНИЯ
МЕТОДИКА ВЫПОЛНЕНИЯ ИЗМЕРЕНИЙ
С ПОМОЩЬЮ СУЖАЮЩИХ УСТРОЙСТВ
МЕЖГОСУДАРСТВЕННЫЙ
СОВЕТ ПО СТАНДАРТИЗАЦИИ,
МЕТРОЛОГИИ И СЕРТИФИКАЦИИ
Минск
Предисловие
1. РАЗРАБОТАН Фирмой «Газприборавтоматика» РАО «Газпром», Всероссийским научно-исследовательским институтом расходометрии (ВНИИР) Госстандарта России, Научно-производственным объединением «Всероссийский научно-исследовательский институт метрологии им. Д. И. Менделеева» (НПО «ВНИИМ им. Д. И. Менделеева») Госстандарта России.
ВНЕСЕН Госстандартом России.
2. ПРИНЯТ Межгосударственным Советом по стандартизации, метрологии и сертификации (протокол № 11-97 от 25 апреля 1997 г.)
За принятие проголосовали:
|
Наименование государства |
Наименование национального органа по стандартизации |
|
Азербайджанская Республика |
Азгосстандарт |
|
Республика Армения |
Армгосстандарт |
|
Республика Белоруссия |
Госстандарт Белоруссии |
|
Грузия |
Грузстандарт |
|
Республика Казахстан |
Госстандарт Республики Казахстан |
|
Киргизская Республика |
Киргизстандарт |
|
Республика Молдова |
Молдовастандарт |
|
Российская Федерация |
Госстандарт России |
|
Республика Таджикистан |
Таджикгосстандарт |
|
Туркменистан |
Главная государственная инспекция Туркменистана |
|
Республика Узбекистан |
Узгосстандарт |
3. Постановлением Государственного комитета Российской Федерации по стандартизации, метрологии и сертификации от 11 декабря 1997 г. № 410 межгосударственный стандарт ГОСТ 8.563.2-97 введен в действие непосредственно в качестве государственного стандарта Российской Федерации с 1 января 1999 г.
4. ВЗАМЕН ГОСТ 23720-79, ГОСТ 26969-86, РД 50-213-80, МИ 2204-92, МИ 2346-95
СОДЕРЖАНИЕ
ГОСТ 8.563.2-97
МЕЖГОСУДАРСТВЕННЫЙ СТАНДАРТ
Государственная система обеспечения единства измерений
Измерение расхода и количества жидкостей и газов методом переменного перепада давления
МЕТОДИКА ВЫПОЛНЕНИЯ ИЗМЕРЕНИЙ С ПОМОЩЬЮ СУЖАЮЩИХ УСТРОЙСТВ
State system for ensuring the uniformity of measurements.
Measurement of liquids and gases flow rate and quantity by differential pressure method. Measurement procedure by orifice instruments
Дата введения 1999-01-01
Настоящий стандарт устанавливает методику выполнения измерений (МВИ) расхода и количества жидкостей и газов (далее - среда) с помощью измерительных комплексов, состоящих в общем случае из основных узлов:
- стандартных сужающих устройств (далее - СУ);
- измерительных трубопроводов (далее - ИТ) с прямыми участками, расположенными между СУ и местными сопротивлениями;
- средств измерений перепада давления на СУ и параметров состояния среды;
- средств обработки результатов измерений (планиметров, счетных устройств ручного или автоматического действия и т.д.);
- соединительных линий и вспомогательных устройств.
Положения стандарта распространяются на измерения расхода и количества среды измерительными комплексами как отечественного, так и зарубежного производства, изготовленными в соответствии с требованиями настоящего стандарта.
Настоящий стандарт дополняет ГОСТ 8.563.1 тем, что рассматривает практическое применение метода переменного перепада давления.
В настоящем стандарте использованы ссылки на следующие стандарты:
ГОСТ 8.207-76 ГСИ. Прямые измерения с многократными наблюдениями. Методы обработки результатов наблюдений. Основные положения.
ГОСТ 8.395-80 ГСИ. Нормальные условия измерений при поверке. Общие требования.
ГОСТ 8.508-84 ГСИ. Метрологические характеристики средств измерений и точностные характеристики средств автоматизации ГСП. Общие методы оценки и контроля.
ГОСТ 8.563.1-97 ГСИ. Измерение расхода и количества жидкостей и газов методом переменного перепада давления. Диафрагмы, сопла ИСА 1932 и трубы Вентури, установленные и заполненных трубопроводах круглого сечения. Технические условия
ГОСТ 2939-63 Газы. Условия для определения объема.
ГОСТ 3900-85 (СТ СЭВ 6754-85) Нефть и нефтепродукты. Методы определения плотности.
ГОСТ 10679-76 Газы углеводородные сжиженные. Метод определения углеводородного состава.
ГОСТ 14921-78 Газы углеводородные сжиженные. Методы отбора пробы.
ГОСТ 16263-70 ГСП. Метрология. Термины и определения.
ГОСТ 17310-86 Газы. Пикнометрический метод определения плотности.
ГОСТ 18917-82 (СТ СЭВ 2102-80) Газ горючий природный. Метод отбора проб.
ГОСТ 18995.1-73 (СТ СЭВ 1504-79) Продукты химические жидкие. Методы определения плотности.
ГОСТ 20060-83 (СТ СЭВ 3764-82) Газы горючие природные. Методы определения содержания водяных паров и точки росы влаги.
ГОСТ 23781-87 Газы горючие природные. Хроматографический метод определения компонентного состава.
ГОСТ 28656-90 Газы углеводородные сжиженные. Расчетный метод определения плотности и давления насыщенных паров.
ГОСТ 30319.0-96 Газ природный. Методы расчета физических свойств. Общие положения.
ГОСТ 30319.1-96 Газ природный. Методы расчета физических свойств. Определение физических свойств природного газа, его компонентов и продуктов его переработки.
ГОСТ 30319.2-96 Газ природный. Методы расчета физических свойств. Определение коэффициента сжимаемости.
ГОСТ 30319.3-96 Газ природный. Методы расчета физических свойств. Определение физических свойств по уравнению состояния.
ГСССД 6-78 Вода. Динамическая вязкость в диапазоне давлений 0...100 МПа и температур 0...800 °С.
ГСССД 98-86 Вода. Удельный объем и энтальпия при температурах 0...800 °С и давлениях 0,001...1000 МПа.
Основные условные обозначения параметров приведены в таблице 1.
Таблица 1 - Условные обозначения параметров
|
Наименование параметра |
Размерность: |
Единица физической величины |
|
|
С |
Коэффициент истечения |
Безразмерная величина |
- |
|
С~ |
Коэффициент истечения при числе Рейнольдса, стремящемся к бесконечности |
Безразмерная величина |
- |
|
d |
Диаметр отверстия или горловины СУ при рабочей температуре среды |
L |
м |
|
D |
Внутренний диаметр ИТ на входе СУ или входной части классической трубы Вентури при рабочей температуре среды |
L |
м |
|
Е |
Коэффициент скорости входа |
Безразмерная величина |
- |
|
Еэ |
Количество энергии (теплота сгорания), которое может быть получено при сгорании среды |
L2 M T-2 |
МДж |
|
Hm |
Массовая удельная теплота сгорания |
L2 Т-2 |
МДж/кг |
|
Hc |
Объемная удельная теплота сгорания при стандартных условиях |
L-1 М Т-2 |
МДж/м3 |
|
К |
Коэффициент сжимаемости газа |
Безразмерная величина |
- |
|
Kei |
Масштабный коэффициент |
Зависит от единиц измерений параметров |
|
|
Ko |
Поправочный коэффициент на изменение диаметра СУ, вызванное отклонением температуры среды от 20 °С |
Безразмерная величина |
- |
|
Кн |
Поправочный коэффициент на притупление входной кромки отверстия диафрагмы |
Безразмерная величина |
- |
|
Кт |
Поправочный коэффициент на изменение диаметра измерительного трубопровода, вызванное отклонением температуры среды от 20 °С |
Безразмерная величина |
- |
|
Кш |
Поправочный коэффициент на шероховатость внутренней поверхности измерительного трубопровода |
Безразмерная величина |
- |
|
КRе |
Поправочный коэффициент на число Рейнольдса |
Безразмерная величина |
- |
|
lш |
Длина шкалы регистрирующего прибора |
L |
см |
|
ly |
Длина ленты с записью значения контролируемого параметра у |
L |
см |
|
т |
Масса среды |
М |
кг |
|
Nk |
Планиметрическое число корневого планиметра |
Безразмерная величина |
- |
|
Nл |
Планиметрическое число полярного планиметра |
L2 |
см2 |
|
Nп |
Планиметрическое число пропорционального планиметра |
% |
% |
|
р |
Абсолютное давление среды перед СУ |
L-1 М Т-2 |
Па |
|
рб |
Барометрическое давление |
L-1 М Т-2 |
Па |
|
ри |
Избыточное давление |
L-1 М Т-2 |
Па |
|
qm |
Массовый расход |
М Т-1 |
кг/с |
|
qo |
Объемный расход при рабочих условиях |
L3 Т-1 |
м3/с |
|
qc |
Объемный расход, приведенный к стандартным условиям |
L3 Т-1 |
м3/с |
|
qэ |
Расход энергосодержания (теплоты сгорания) |
L3 М Т-1 |
МДж/с |
|
Re |
Число Рейнольдса |
Безразмерная величина |
- |
|
S |
Приведенная погрешность средства измерений |
% |
% |
|
t |
Температура среды |
Θ |
ºС |
|
Т |
Термодинамическая температура среды |
Θ |
К |
|
V |
Объем среды |
L3 |
м3 |
|
х |
Молярная доля компонента в смеси |
% |
% |
|
у |
Любой контролируемый параметр |
Единица измерений параметра |
|
|
Z |
Фактор сжимаемости |
Безразмерная величина |
- |
|
α |
Коэффициент расхода |
Безразмерная величина |
- |
|
β |
Относительный диаметр отверстия СУ |
Безразмерная величина |
- |
|
φ |
Относительная влажность газа |
Безразмерная величина |
- |
|
δ |
Относительная погрешность результата измерении |
% |
% |
|
|
Случайная составляющая погрешности |
% |
% |
|
|
Систематическая составляющая погрешности |
% |
% |
|
Δ |
Абсолютная погрешность средства измерений или (и) разность двух значений параметра |
Единица измерений параметра |
|
|
Δ |
Перепад давления на СУ |
L-1 М Т-2 |
Па |
|
ε |
Коэффициент расширения |
Безразмерная величина |
- |
|
ρ |
Плотность среды |
М L-3 |
кг/м3 |
|
τ |
Время |
Т |
с |
Примечание - Остальные условные обозначения приведены в ГОСТ 8.563.1.
Индексы, входящие в условные обозначения параметров, относят к величинам, характеризующим эти параметры.
Следующие индексы относят к обозначениям:
в - верхнего предела измерений или (и) изменения контролируемого параметра;
н - нижнего предела измерений или (и) изменения контролируемого параметра;
с - стандартных условий;
«-» (черточка над обозначением параметра) - среднего значения параметра.
3.3 Допускается при измерениях расхода жидкостей и газов применять наравне с единицами СИ другие единицы, нашедшие широкое применение в практике, их сочетания с единицами СИ, а также десятичные кратные и дольные единицы.
4.1 Условия проведения измерений должны соответствовать основным положениям разделов 1, 5, 6 и 7 ГОСТ 8.563.1.
4.2 Климатические условия эксплуатации средств измерений должны соответствовать условиям их применения, установленным изготовителем этих средств.
4.3 Диапазоны измерений применяемых средств измерений должны соответствовать диапазонам изменений контролируемых параметров.
4.4 Погрешность средств измерений контролируемых параметров выбирают с учетом обеспечения необходимой точности расходомерного комплекса.
4.5 Характеристики энергоснабжения средств измерений в условиях эксплуатации должны соответствовать характеристикам, установленным изготовителем этих средств.
4.6 Средства измерений применяют только при положительных результатах поверки, которые оформляют свидетельством о поверке и (или) клеймением.
4.7 Средства измерений следует также применять в соответствии с требованиями технической документации по эксплуатации и безопасности их применения.
5.1.1 Принцип метода измерения расхода с помощью СУ изложен в разделе 5 ГОСТ 8.563.1.
5.1.2 Расход жидких сред на практике измеряют в единицах массового или объемного расхода, расход газообразных сред - в единицах объемного расхода, приведенного к стандартным условиям (tc = 20 ºС, рс = 0,101325 МПа = 1,03323 кгс/см2) по ГОСТ 2939 и ГОСТ 3900, расход энергосодержания горючих сред - в единицах расхода теплоты сгорания.
5.1.3 Уравнения, позволяющие выполнить пересчет результата измерений из объемных единиц в массовые, имеют вид:
(5.3)
5.1.4 В соответствии с 5.1, 5.2 и приложением В ГОСТ 8.563.1 массовый расход контролируемой среды определяют из уравнения
где Ke1 - масштабный коэффициент, значения которого приведены в таблице А.4;
d20 - значение диаметра отверстия СУ при температуре 20 "С.
5.1.5 Уравнение (5.4) применяют при непосредственном определении плотности среды в рабочих условиях.
При косвенном определении плотности газа в рабочих условиях через плотность при стандартных условиях уравнение (5.4) примет вид
или, с учетом стандартных значений
Тс = 293,15 К (20 °С) и рс = 1,03323 кгс/см2 = 101325 Па по ГОСТ 2939,
где Ке2 - масштабный коэффициент, значения которого приведены в таблице А.5.
5.1.6 Из уравнений (5.1), (5.4) и (5.6) следуют уравнения для объемного расхода
5.1.7 Число Рейнольдса определяют по одному из уравнений:
(5.11)
где Ке3 - масштабный коэффициент, значения которого приведены в таблице А.6.
5.2.1 При оценке хозяйственной деятельности и при поставке среды потребителю, а также связанных с этим взаимных расчетах кроме расхода среды важно знать ее количественные показатели (массу т, объем Vс и теплоту сгорания Еэ), которые определяют по уравнениям:
где τ1, τ2 - время начала и конца измерений.
Уравнения (5.13), (5.14) и (5.15) применяют при непрерывном процессе измерения указанных параметров среды. Реализация этого процесса возможна при применении аналоговых систем измерений и вычислений.
5.2.2 При применении приборов с дискретным вычислением или при ручной обработке результатов измерений допускается использовать приближенные уравнения определения количества, например:
где отчетный период времени
(5.19)
где Δτi - интервал опроса датчиков или интервал времени осреднения измеряемого параметра.
Если отчетный период времени τо разделен на равные части:
(5.20)
то
(5.21)
В этом случае уравнения (5.16), (5.17) и (5.18) представляют в виде
где
,
и
- средние
значения qm,
qc и
qэ за
отчетный период τо, рассчитанные по соответствующим
уравнениям (5.1),
(5.2),
(5.4),
(5.5),
(5.6),
(5.7),
(5.8)
и (5.9). Расходы
,
,
, рассчитанные
по указанным уравнениям, не равны расходам, вычисленным по этим же уравнениям с
использованием средних значений за отчетный период τо
параметров
,
,
,
,
,
,
,
,
,
,
,
,
,
. Расход,
рассчитанный по средним значениям параметров, как правило, не соответствует
расходу, рассчитанному по мгновенным значениям тех же параметров.
Достоверные средние значения расходов
,
,
могут быть
получены при применении автоматических вычислительных устройств.
5.2.3 Степень приближения уравнений (5.16), (5.17), (5.18), (5.22), (5.23), (5.24) к уравнениям (5.13), (5.14) и (5.15) определяется постоянством значений мгновенных расходов и параметров состояния среды, от которых зависят мгновенные расходы, за период Δτi, τo.
Если параметр среды, входящий нелинейно в уравнение расхода, принят за условно-постоянную величину, определяемую по формуле
(5.25)
и его изменение за время Δτi, τo и т.д. не учитывают, или, если количество среды определяют по средним значениям параметров потока, то при измерении количества возникает дополнительная систематическая погрешность (см. 9.3), которую рассчитывают по формуле
где
ув и ун - верхнее и нижнее значения диапазона изменения параметра за период осреднения;
q - общее обозначение, принятое для массового и объемного расходов при рабочих или стандартных условиях измерений.
Частная производная в формуле (5.27) может быть рассчитана через приращение аргумента (у) и функции (q):
(5.28)
где q1 - расход при у = ув;
q2 - расход при у = (ув+ ун)/2;
q3 - расход при у = ун.
Величина
для ряда параметров, рассчитанных по
формуле (5.27)
при q = уn, например, имеет следующие значения:
=
+0,5n (п
- 1);
=
+0,4 - в случаях принятия условно-постоянными величинами температуры Т,
плотности при стандартных условиях ρc или
коэффициента сжимаемости К;
=
-0,13 - в случаях принятия условно-постоянными величинами перепада давления
Δp, давления р или плотности в рабочих условиях ρ.
Если дополнительная погрешность, рассчитанная по формуле (5.26), менее 1/3 погрешности определения параметра измеряемой среды или 0,1 %, то данной погрешностью пренебрегают. Если условия не выполняются, то эту погрешность необходимо учитывать как систематическую или уменьшить отчетный интервал времени до выполнения указанных условий.
Последнему условию могут удовлетворять:
- параметры, рассчитанные по геометрическим характеристикам СУ и трубопровода (С~, Е, Кш, Кп, d220), как правило, за межповерочный интервал;
- физические характеристики среды (ρc, Hc, Hm), например за сутки или месяц;
- характеристики состояния среды (ρ, р или Т), например в течение суток.
5.2.4 Параметры, принятые за условно-постоянные
величины, допускается выносить за знак интегрирования или суммы
.
5.2.5 Допускается условно-постоянные параметры объединять в постоянные коэффициенты для каждого из интервалов времени: межповерочного, межсезонного, отчетного или другого. При этом образуется ряд видоизмененных уравнений расхода, часть из которых приведена в таблицах А.1- А.2.
6.1.1 В состав измерительных комплексов (ИК) входят основные узлы, перечисленные в разделе 1.
Перечень узлов определяют исходя из условий эксплуатации ИК и технико-экономической целесообразности.
6.1.2 По степени автоматизации процесса измерений и обработки результатов измерений ИК подразделяют на системы:
- раздельных измерений переменных контролируемых параметров и обработки результатов измерений;
- полуавтоматических измерений переменных контролируемых параметров с вычислительными устройствами обработки результатов измерений и устройствами с ручным вводом значений условно-постоянных параметров или ручной коррекцией результатов измерений и вычислений;
- автоматических измерений всех контролируемых параметров с вычислительными устройствами обработки результатов измерений в реальном масштабе времени.
6.1.3 В системах с раздельными процессами измерений контролируемых параметров и обработки результатов измерений применяют интегрирующие или самопишущие приборы для измерений параметров, изменяющихся во времени, а также планиметры или устройства для считывания графической информации, вычислительные устройства ручного или автоматического действия, микрокалькуляторы, ЭВМ для обработки результатов измерений.
6.1.5 При применении ЭВМ с решением многофункциональных задач обеспечивают приоритет определения количества среды, если она является предметом взаиморасчетов.
6.1.7 При применении единого вычислительного комплекса на многониточных пунктах учета среды обеспечивают проведение поверки системы измерений на одном из ИТ без помех в работе остальных систем измерений.
6.1.8 С целью обеспечить надежность работы ИК допускают дублирование и резервирование как средств измерений и обработки результатов измерений, так и ИТ с прямыми участками и СУ. Допускается также применять автоматическое отключение и включение дублирующих и резервных средств.
6.2.1 Измерение перепада давления на сужающем устройстве
6.2.1.1 Перепад давления на сужающем устройстве определяют и соответствии с 3.1.3 ГОСТ 8.563.1. Разницу между статическими давлениями среды на входе и выходе СУ определяют с помощью средств измерений перепада давления (дифференциальных манометров - дифманометров) любого типа путем подсоединения их через соединительные трубки к отверстиям для отбора давления.
6.2.1.2 Допускается подключение к одному СУ двух или более дифманометров.
6.2.1.3 Приведенные ниже правила выполнения соединений для передачи сигнала давления от отверстий для отбора давления до дифманометра соответствуют требованиям [1].
6.2.2 Разъединительные краны
Разъединительные краны предназначены для отделения средств измерений от ИТ.
Разъединительные краны рекомендуется помещать на соединительных трубках непосредственно у места их соединения с ИТ. В случае установки уравнительных (конденсационных) сосудов разъединительные краны можно монтировать непосредственно за ними.
Окончательный выбор места установки разъединительных кранов осуществляет конструктор или потребитель.
Внутренний диаметр проходного сечения крана должен быть равен внутреннему диаметру отверстия для отбора давления и соединительной трубки или быть не менее этого диаметра.
Кран должен быть равнопроходным для того, чтобы при протекании газа в кране не оставалась жидкость (конденсат), а при протекании жидкости не скапливались не растворенные в ней газы.
6.2.3 Уравнительные (конденсационные) сосуды
6.2.3.1 При измерениях расхода пара соединительные трубки заполняются конденсатом. При измерениях перепада давления происходит нарушение равенства высот конденсатных столбов в обеих соединительных трубках вследствие перемещения части конденсата в дифманометр. Изменение уровней столбов конденсата приводит к возникновению дополнительной погрешности измерений перепада давления.
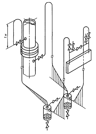
Для уменьшения этой дополнительной погрешности применяют уравнительные (конденсационные) сосуды. На рисунке 1 приведен чертеж уравнительных сосудов, рекомендуемых [1]. Основные геометрические характеристики этих сосудов указаны в таблице 2.
Таблица 2 - Размеры конденсационных сосудов
|
Вход d1 |
Вход d2 |
d3 |
l |
S |
V1) |
|||
|
Патрубки с газовой резьбой |
Приварные патрубки |
Патрубки с газовой резьбой |
Приварные патрубки |
|||||
|
дюймы |
мм |
дюймы |
мм |
мм |
см3 |
|||
|
1 |
1/2 |
- |
1/2 |
- |
8,7 |
230 |
5 |
800 |
|
- |
21,3 |
1/2 |
- |
|||||
|
- |
21,3 |
- |
21,3 |
|||||
|
2 |
1/2 |
- |
1/2 |
- |
8,7 |
100 |
5 |
250 |
|
- |
21,3 |
1/2 |
- |
|||||
|
- |
21,3 |
- |
21,3 |
|||||
|
3 |
5/8 |
- |
5/8 |
- |
8 |
230 |
7,1 |
700 |
|
- |
24 |
5/8 |
- |
|||||
|
- |
24 |
- |
24 |
|||||
|
4 |
5/8 |
- |
5/8 |
- |
8 |
100 |
7,1 |
220 |
|
- |
24 |
5/8 |
- |
|||||
|
- |
24 |
- |
24 |
|||||
|
5 |
- |
24 |
- |
24 |
8 |
230 |
12,5 |
600 |
|
6 |
- |
24 |
- |
24 |
8 |
100 |
12,5 |
170 |
1) Вместимость уравнительного сосуда.
Рисунок 1 - Уравнительные сосуды, рекомендуемые [1]
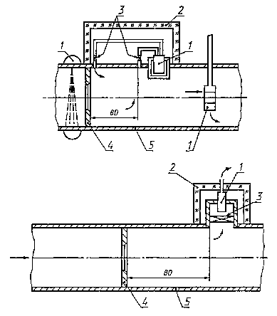
Область применения уравнительных сосудов (далее - сосудов) для типоразмеров, приведенных в таблице 2, определяют по схеме рисунка 2.
А - размеры 1 и 2; В - размеры 3 и 4; С - размеры 5 и 6 (по таблице 2)
Рисунок 2 - Область применения уравнительных сосудов
6.2.3.2 Вместимость сосуда должна быть тем больше, чем больше измерительный объем дифманометра, т.е. тот объем, который перемещается из одного колена дифманометра при изменении Δp от нуля до Δpв.
6.2.3.3 Горизонтальное поперечное сечение сосуда должно быть в несколько раз больше вертикального сечения.
6.2.3.4 Сосуды располагают на одном уровне. В горизонтальных трубопроводах сосуды размещают непосредственно у СУ на одном уровне с ним. При невозможности выполнения данного условия сосуды размещают выше СУ.
В вертикальных трубопроводах сосуды располагают на одном уровне с верхним отверстием для отбора давления или выше его уровня.
6.2.3.5 Теплоизоляцию уравнительных сосудов и соединительных трубок осуществляют в случаях, показанных на схемах рисунка 3.
6.2.3.6 Дифманометр при измерении расхода пара рекомендуется располагать ниже СУ (рисунок 3, а).
При р>2 кгс/см2 допускают устанавливать дифманометр выше СУ по схеме, представленной на рисунке 3, б (данная схема применима также при расположении дифманометра ниже СУ на расстоянии 1,5 м). При установке дифманометра по рисунку 3, б следует в наивысших точках соединительных трубок устанавливать газосборники.
Схема, приведенная на рисунке 3, в, допустима при р≤2 кгс/см2 и расстоянии между сосудом и трубопроводом не более 4 м. При этом трубки, соединяющие СУ с сосудами, должны иметь внутренний диаметр 25 мм.
Рисунок 3 - Схемы расположения уравнительных сосудов и соединительных трубок. Дифманометр находится:
а - ниже сужающего устройства; б - выше сужающего устройства (при р>2 кгс/см2); в - выше сужающего устройства (при р≤2 кгс/см2)
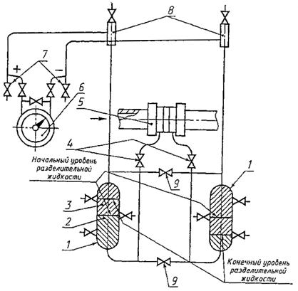
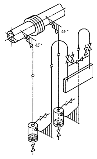
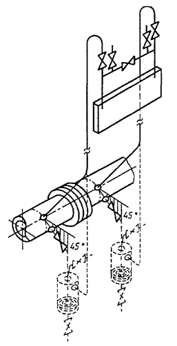
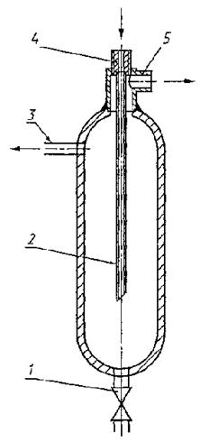
6.2.3.7 При работе с паром высокого давления и высокой температуры применяют обогревающие цилиндры [ловушки (рисунок 4)], объем которых должен быть равен объему уравнительных сосудов.
6.2.4 Отстойные камеры
6.2.4.1 При измерениях расхода жидкости, пара и газа, в которых имеется взвесь или влага (в газах), применяют отстойные камеры.
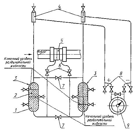
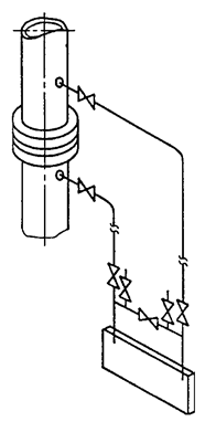
6.2.4.2 Отстойные камеры размещают в нижней точке соединительных трубок (рисунок 5).
1 - конденсационный сосуд; 2 - сварные соединения; 3 - изоляция; 4 - сужающее устройство; 5 - ловушка; 6 - кран; 7 - соединительная трубка
Рисунок 4 - Монтаж аппаратуры для пара высокого давления и высокой температуры на вертикальном трубопроводе
1 - отстойная камера; 2 - сужающее устройство; 3 - дифманометр; 4 - воздухосборник
Рисунок 5 - Схема соединений отстойной камеры для измерений расхода воды при установке дифманометра выше СУ
1 - продувочный кран; 2 - игольчатая трубка; 3 - выходной патрубок; 4 - входной патрубок; 5 - вентиляционный патрубок
Рисунок 6 - Отстойная камера
6.2.4.3 На рисунке 6 представлена типовая модель отстойной камеры. Вверху резервуара должно быть свободное пространство, обеспечивающее доступ к продувочному крану. Кран должен быть равнопроходным, чтобы его можно было промывать и очищать при засорении или образовании накипи.
6.2.4.4 Размеры отстойной камеры определяются необходимостью чистки и технического ухода, а также количеством твердых частиц в протекающем потоке или (и) степенью конденсации.
6.2.5.1 При измерениях расхода жидкости, содержащей газ, возможно скапливание газа в соединительных трубках.
Для устранения скапливания газа дифманометр устанавливают ниже СУ, а соединительные трубки располагают под постоянным уклоном вниз от СУ до дифманометра.
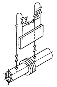
При необходимости установки дифманометра выше СУ устанавливают газосборные камеры.
6.2.5.2 Газосборные камеры устанавливают выше дифманометра.
6.2.5.3 Рекомендуемые форма газосборной камеры и расположение входа и слива показаны на рисунке 7.
6.2.6 Способы защиты соединительных трубок при низкой температуре окружающей среды
6.2.6.1 Для предохранения от замерзания жидкости в соединительных трубках при низкой температуре окружающей среды применяют обогреватели (электронагреватели, паровые змеевики и др.).
Способы защиты от действия низких температур выбирают в зависимости от конкретных условий.
6.2.6.2 Нагревание должно быть равномерным для всех соединительных трубок и их вспомогательных узлов. Соединительные трубки располагают рядом и теплоизолируют.
6.2.6.3 Минимальная температура нагрева соединительных трубок должна быть выше температуры замерзания жидкости (для жидких сред) или выше температуры образования конденсата (для газообразных сред).
Максимальная температура нагрева соединительных трубок не должна превышать допускаемой температуры эксплуатации подсоединенных к ним приборов и преобразователей и температуры кипения для жидких сред.
6.2.6.4 Рекомендуется применять обогрев холодных соединительных трубок малого диаметра во избежание их засорения в случаях измерений расхода вязких и горячих жидкостей.
6.2.7 Разделительные сосуды
6.2.7.1 Если среда вызывает коррозию, обладает способностью к конденсации или замерзанию в соединительных трубках, имеет очень высокую вязкость или может образовать накипь, то применяют разделительные сосуды с жидкостью, отделяющей измеряемое вещество от жидкости, заполняющей чувствительные элементы дифманометра (или манометра).
Однако следует иметь в виду, что разделяющая жидкость не будет защищать соединительные трубки между отверстиями для отбора давления и разделительными сосудами.
6.2.7.2 Разделительные сосуды применяют с перегородками или без них. В разделительных сосудах без перегородок разделительное вещество не должно смешиваться или вступать в химическую реакцию с измеряемой или манометрической жидкостью и его плотность должна существенно отличаться от плотности этих двух веществ для обеспечения постоянства поверхности контакта.
6.2.7.3 При отсутствии перепала давления поверхность раздела между измеряемым и разделительным веществами должна находиться на одном и том же уровне в обоих разделительных сосудах.
6.2.7.4 Применение разделительных сосудов влияет на показания дифманометра таким образом, что перепад давления в СУ оказывается больше разности давлений в дифманометре.
Влиянием разделительных сосудов на показания дифманометра можно пренебречь при условии, если удовлетворяется неравенство
где F - площадь сечения разделительного сосуда, м2;
Vв - объем жидкости, перетекающей из разделительного (или уравнительного) сосуда в дифманометр при изменении расхода от нуля до qв;
ρр - плотность разделительной жидкости;
ρ′ - плотность среды при давлении р и температуре разделительного сосуда.
Показания дифманометров с разделительными сосудами, не удовлетворяющие этому неравенству, корректируют с учетом перемещения уровня раздела в разделительном сосуде.
Корректировка особенно важна при большой разнице между плотностями разделительного вещества и среды, расход которой измеряют. При применении микрообъемных дифманометров такая корректировка не нужна.
В [1] приведен метод подсчета показаний дифманометра с разделительными сосудами в случае нарушения условия, выраженного неравенством (6.1).
6.2.7.5 Разделительные сосуды должны находиться как можно ближе к отверстиям для отбора давления. В приложении Б представлены различные варианты схем установок разделительных сосудов.
При измерениях расхода газа разделительные сосуды располагают выше СУ, а дифманометр может быть расположен выше или ниже СУ. Для случая расположения дифманометра ниже СУ при измерениях расхода газа допускают подключение соединительных трубок к боковым штуцерам разделительных сосудов.
При измерениях расхода жидкости разделительные сосуды располагают ниже СУ, а дифманометр может быть расположен выше или ниже СУ. Если дифманометр находится выше СУ, то в верхних точках соединительных трубок устанавливают газосборные камеры (6.2.5). Допускают подключение соединительных трубок к боковым штуцерам разделительных сосудов.
6.2.7.6 Если среда может замерзать или конденсироваться в соединительных трубках, то патрубки отверстий для отбора давления вместе с соединительными трубками покрывают теплоизоляцией или обогревают.
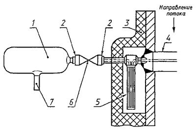
6.2.7.7 Вместимость разделительных сосудов должна превышать объем среды при максимальном ее перемещении в дифманометре. При проектировании разделительных сосудов обеспечивают равенство диаметров по всей их длине. Примерная конструкция разделительного сосуда приведена на рисунке 8.
6.2.7.8 При невозможности подобрать разделительную жидкость с необходимыми химическими и физическими характеристиками применяют разделительные сосуды с перегородками. Перегородками могут служить мягкие мембраны и сильфоны. Характеристика «нагрузка/перемещение» перегородок должна быть идентичной для двух разделительных сосудов.
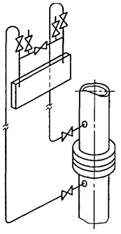
1 - выходной патрубок; 2 - входной патрубок; 3 - крап; 4 - вентиляционный патрубок
Рисунок 7 - Расположение газосборных камер и кранов, установленных на стенке трубопровода
1 - пробка; 2 - ушко; 3 - обечайка; 4 - днище; 5 - штуцер; 6 - штуцер
Рисунок 8 - Конструкция разделительного сосуда
6.2.7.9 Для удаления скопления газа в конструкции разделительного сосуда предусматривают вентиляционные устройства.
6.2.7.10 Примеры разделительных жидкостей и их свойства приведены в таблице 3.
При измерениях расхода сильных кислот, щелочей, окислителей и восстановителей в качестве разделительной жидкости могут быть использованы фтороуглеродистые жидкости Б-1 и М-1 [2].
6.2.8 Очистная система
6.2.8.1 Очистная система (пример установки которой приведен на рисунке 9) предназначена для предохранения соединительных трубок и дифманометров от попадания загрязненных или агрессивных веществ. В некоторых случаях очистные системы заменяют одновременно разделительные сосуды и отстойные камеры.
6.2.8.2 Расход вещества очистки за минуту должен быть эквивалентным общей вместимости дифманометра при изменении перепада давления от нуля до максимального значения.
6.2.8.3 При применении очистных систем поперечное сечение по всей длине соединительных трубок должно быть постоянным. Длины соединительных трубок, подключенных к плюсовой и минусовой камерам диафрагмы, должны быть одинаковыми и иметь одинаковое число сочленений.
6.2.8.4 Для поддержания равных расходов очистного потока в обеих соединительных трубках в очистной системе устанавливают ротаметры между продувочным краном и точкой ввода очистного потока в соединительную трубку.
6.2.8.5 Необходимо следить за тем, чтобы очистка не влияла на показания дифманометра и на температурное равновесие между двумя соединительными трубками.
6.2.8.6 Используемый в качестве очистительного вещества газ вводят в соединительные трубки под большим давлением по сравнению с давлением среды.
Очистной поток регулируют с помощью игольчатого вентиля.
6.2.8.7 При заполнении соединительных трубок вязкими жидкостями, для которых недопустим контакт с водой, тщательно выбирают соответствующее вещество для очистки.
6.2.8.8 При использовании питьевой воды в качестве очистительного вещества принимают меры против попадания очистного потока в систему питьевой воды.
Таблица 3 - Свойства разделительных жидкостей
|
Плотность при 20 ºС, кг/м3 |
Температура, ºС |
||
|
замерзания |
кипения |
||
|
Дибутилфталат |
1047 |
- 35 |
340 |
|
Глицерин |
1262 |
-17 |
200 |
|
Смесь воды с глицерином (объемное соотношение - 1:1) |
1130 |
- 22,5 |
106 |
|
Этиловый спирт |
789 |
- 112 |
78 |
|
Этиленгликоль |
1113 |
- 12 |
197 |
|
Смесь воды с этиленгликолем (объемное соотношение - 1:1) |
1070 |
- 36 |
110 |
6.2.8.9 При недостаточной эффективности описанных выше методов очистки для предохранения отверстий для отбора давления от загрязнения используют зонды (рисунок 10) или применяют другие методы очистки.
6.2.9 Соединительные трубки (линии)
6.2.9.1 Дифманометр должен находиться как можно ближе к СУ; скорость реакции дифманометра на изменение перепада давления уменьшается при увеличении этого расстояния. Рекомендуется, чтобы длина соединительных трубок не превышала 16 м. При необходимости применения больших длин целесообразно использовать электрическую или пневматическую передачу.
Использование соединительных трубок длиной более 16 м допускается, если установлено, что это не влияет на показания дифманометра (манометра).
6.2.9.2 Во избежание искажения перепада давления, возникающего из-за разности температур, две соединительные трубки должны находиться рядом.
В случае опасности нагрева или охлаждения соединительных трубок их совместно теплоизолируют.
6.2.9.3 Внутреннее сечение соединительных трубок должно быть одинаковым по всей длине, а диаметр должен быть более 6 мм, даже для чистых веществ и коррозионно-стойких трубок, чтобы избежать опасности их засорения при длительной эксплуатации.
Рисунок 9 - Пример установки очистной системы
1 - корпус; 2 - головка зонда; 3 - ось зонда; 4 - рукоятка
Рисунок 10 - Зонд
В случае опасности конденсации или образования пузырьков газа внутренний диаметр соединительных трубок должен быть не менее 10 мм.
Рекомендуемый внутренний диаметр соединительных трубок приведен в таблице 4.
Таблица 4 - Внутренний диаметр соединительных трубок
В миллиметрах
|
Длина соединительных трубок, м |
|||
|
0-16 |
16-45 |
45-90 |
|
|
Сухой газ, вода, пар |
7-9 |
10 |
13 |
|
Воздух или влажный газ (т.е. возникает опасность конденсации в соединительных трубках) |
13 |
13 |
13 |
|
Вязкие жидкости |
13 |
19 |
25 |
|
Загрязненные газ или жидкость |
25 |
25 |
38 |
6.2.9.4 Соединительные трубки устанавливают с наклоном к горизонтали более чем 1:12. Такой наклон обеспечивает движение конденсата и твердых частиц вниз до обогревающих отстойников или цилиндров, а пузырьков газа - до газосборных камер.
Допускается уклоны делать ступенчатыми при условии, что отстойные камеры находятся во всех нижних точках, а газосборные камеры - во всех верхних точках.
6.2.9.5 При подключении к СУ двух или более дифманометров допускается подключение соединительных трубок одного дифманометра к соединительным трубкам другого дифманометра.
6.2.10 Краны дифманометра
6.2.10.1 Дифманометр, как правило, оснащают присоединительными (разъединительными), продувочными и уравнительными кранами.
6.2.10.2 Присоединительные краны предназначены для подключения (отключения) дифманометра к соединительным трубкам.
При работе дифманометра в режиме измерений присоединительные краны должны быть полностью открыты.
При подаче очистного потока для очистки соединительных трубок или при продувке самого дифманометра присоединительные краны должны быть закрыты.
6.2.10.3 Продувочные (вентиляционные) краны предназначены для продувки чувствительных камер дифманометра с целью удалить осадки.
При работе дифманометра в режиме измерений продувочные краны должны быть закрыты.
При продувке дифманометра продувочные краны открывают, предварительно закрыв присоединительные краны.
Входные патрубки продувочных кранов могут быть использованы для подсоединения дифманометра к источнику образцового давления при проведении поверочных работ без отсоединения дифманометра от основных соединительных трубок.
6.2.10.4 Уравнительный кран предназначен для проверки установки указателя дифманометра на нуль под статическим давлением.
Во время этой операции присоединительные и продувочные краны должны быть закрыты. При работе дифманометра в режиме измерений уравнительный кран должен быть закрыт.
6.2.10.5 В приложении В приведены различные схемы присоединения дифманометра при измерениях расхода и количества различных сред.
6.2.11 Определение абсолютного давления
6.2.11.1 Абсолютное давление среды - это сумма избыточного и барометрического давлений
6.2.11.2 Абсолютное или избыточное давление измеряют перед СУ манометром любого типа через отдельное отверстие, размещенное в сечении ИТ в месте установки отверстия для отбора перепада давления. Допускается присоединение манометра к плюсовой соединительной трубке дифманометра. В этом случае место соединения трубок располагают непосредственно у СУ. При таком подсоединении манометра его одновременная работа с дифманометром не влияет на показания расходомера. При другой компоновке соединительных линий необходима проверка взаимного влияния манометра и дифманометра.
6.2.11.3 Измерения абсолютного или избыточного давления выполняют с учетом разности высот установки СУ и средства измерений давления.
6.2.11.4 Барометрическое давление измеряют в месте расположения манометра избыточного давления, если последний размещен в замкнутом пространстве при наличии поддува, создаваемого системами кондиционирования.
6.2.11.5 Барометрическое и (или) избыточное давления могут быть приняты за условно-постоянные величины при выполнении требований 5.2.3.
6.2.11.6 В многониточных системах измерений при разветвлении потока среды по нескольким параллельным ИТ с одинаковыми внутренними диаметрами и одинаковыми геометрическими размерами СУ допускается измерять давление только в одном из ИТ, в котором значение давления наиболее близко находится к среднему арифметическому значению давлений по всем ИТ. При этом все значения давлений в ИТ должны отличаться от среднего значения давления не более чем на 1/3 погрешности их измерений. Выполнение этого условия определяют по результатам измерений разности давлений с помощью дифманометра.
6.3.1 Температуру контролируемой среды определяют путем ее измерений термометрами любого типа.
6.3.2 Термодинамическую температуру контролируемой среды определяют по формуле
6.3.3 Измерения температуры среды проводят на прямом участке в проточной части ИТ перед или за СУ в соответствии с 6.3.7. Предпочтение следует отдавать измерениям температуры за СУ.
При установке чувствительного элемента термометра или его гильзы перед СУ расстояние от места их расположения до СУ выбирают в соответствии с требованиями 7.2 ГОСТ 8.563.1.
6.3.5 В многониточных системах измерений при разветвлении потока среды по нескольким параллельным ИТ с одинаковыми внутренними диаметрами и с одинаковыми геометрическими размерами СУ допускается измерять температуру только в одном из ИТ, в котором значение температуры наиболее близко находится к среднему арифметическому значению температуры по всем ИТ. Значения температуры, измеренные в каждом ИТ, должны отличаться от среднего значения не более чем на 1/3 погрешности ее измерений.
6.3.6 Чувствительный преобразователь термометра погружают в ИТ на глубину (0,3-0,7)D.
В случае измерения расхода пара рекомендуется чувствительный преобразователь термометра погружать в ИТ на глубину (0,5-0,7)D.
6.3.7 Наилучшим способом установки чувствительного преобразователя термометра (рисунок 11, а) является его радиальное расположение на теплоизолированном участке ИТ [3]. Однако это не всегда осуществимо.
Допускается наклонная установка чувствительного преобразователя термометра или его установка за СУ в колене, как показано на рисунках 11, б и 11, в, при условии выполнения требований 6.3.4 и 6.3.6.
Если диаметр чувствительного преобразователя превышает 0,13D, то допускается при установке термометра за СУ применять расширитель (рисунок 11, г, где D - диаметр расширителя).
6.3.8 Чувствительный элемент термометра устанавливают непосредственно в ИТ или в гильзу (карман).
При установке чувствительного преобразователя термометра в кармане обеспечивают надежный тепловой контакт. Для обеспечения теплового контакта карман, например, заполняют жидким маслом.
Рисунок 11 - Схема установки чувствительного преобразователя термометра
Часть чувствительного элемента термометра, выступающая над ИТ, должна иметь термоизоляцию, если температура потока отличается от температуры окружающей среды более чем на 40 °С.
6.3.9 Если контролируемая среда - газ, то при измерениях температуры потока за СУ и при достаточно большом перепаде давления вследствие расширения потока за СУ температура в точке измерения может оказаться ниже температуры перед СУ.
Поправка имеет, как правило, значение порядка 0,1-0,2 К [4]. Поэтому ее учитывают лишь при необходимости измерений с высокой точностью.
Уменьшение разности температур потока перед и за СУ достигают путем выбора СУ с большим относительным диаметром.
6.4.1 Определение плотности при рабочих условиях
6.4.1.2 Точку отбора пробы газа располагают в верхней, а жидкостей - в нижней части горизонтального участка трубопровода.
Точки отбора пробы располагают на участке трубопровода, где скорость потока больше нуля и отсутствуют завихрения.
6.4.1.3 Для обеспечения неизменности структуры потока плотномер (если он находится во внутренней полости трубы) располагают на расстоянии от СУ не менее указанного в 7.2 ГОСТ 8.563.1.
6.4.1.4 Плотномер, расположенный за СУ, должен отстоять от последнего на расстоянии не менее 8D.
6.4.1.5 Изменение плотности контролируемой среды отслеживают, создавая поток через чувствительный элемент плотномера путем ответвления части общего контролируемого потока (рисунок 12).
1 - плотномер; 2 - теплоизоляция; 3 - вентиль, 4 - сужающее устройство; 5 - трубопровод
Рисунок 12 - Схемы установки плотномеров
6.4.1.6 Для очистки пробы от примесей на входе плотномеров допускается применение фильтров и осушителей. Однако эти устройства не должны изменять основной состав контролируемой среды.
6.4.1.7 В общем случае значения давления, а следовательно, и плотности в чувствительном элементе плотномера отличаются от значений этих параметров в месте отбора давления перед СУ.
Применение фильтров и осушителей, а также дросселирующих устройств для нормирования расхода пробы через плотномер приводит к приближенному равенству давлений в чувствительном элементе плотномера и на выходе СУ.
Поэтому показания плотномера должны быть скорректированы на разность давлений между входом в СУ и выходом из плотномера. Для газов корректировка показаний плотномера может быть выполнена по формуле
(6.4)
где
-
поправочный коэффициент;
ρo - показания плотномера;
рρ - давление в чувствительном элементе плотномера;
Δрρ - разность между давлениями на входе в СУ и в чувствительном элементе плотномера.
При невозможности обеспечения равенства температур допускается ввод корректирующей температурной поправки на показания плотномера.
6.4.1.9 Конструкция плотномера и его монтаж должны обеспечить проверку выполнения требований 6.4.1.1-6.4.1.8.
6.4.1.10 Допускается плотность при рабочих условиях определять косвенным методом с использованием необходимых для расчета измеренных параметров среды.
Плотность газов при рабочих условиях может быть определена через их плотность при стандартных условиях, давление и температуру (для смесей газов дополнительно - через компонентный состав, например по ГОСТ 30319.1), а также только через давление и температуру (например для водяного пара по ГСССД 98).
Плотность жидкостей может быть определена через давление, температуру (для смесей жидкостей дополнительно - через компонентный состав, например по ГОСТ 28656).
Значение погрешности при расчете плотности по применяемым уравнениям должно быть известно.
6.4.2 Определение плотности при стандартных условиях
6.4.2.2 При отборе проб руководствуются требованиями ГОСТ 18917 и ГОСТ 14921, а также нижеприведенными:
- не допускается отбирать пробы из сепараторов, продувочных свечей, переходников или стояков;
- пробоотборный узел содержит заборную трубку, помещенную радиально открытым концом на глубину (0,4-0,6)D;
- допускается отсутствие заборной трубки, если ее роль выполняет чувствительный элемент плотномера, т.е. если последний размещен на глубине (0,4-0,6)D;
- установка соединительных трубок между точкой отбора пробы и плотномером (газоанализатором) соответствует требованиям 6.2.9 с той разницей, что вместо «сужающего устройства» следует читать «точка отбора пробы», а вместо «дифманометра» - «плотномер (газоанализатор)»;
- расстояние от точки отбора пробы до СУ зависит только от соответствия проб, взятых из установленной точки отбора и на расстоянии 8D±D от выхода СУ.
6.4.2.3 Две пробы соответствуют друг другу, если их средние арифметические значения плотностей при стандартных условиях в результате многократных (не менее 10) измерений одним и тем же средством измерений отличаются не более чем на 1/3, часть его погрешности.
6.4.2.4 Конструкция плотномера и его монтаж должны обеспечивать проверку выполнения требований 6.4.2.1.
6.4.2.5 Допускается определять плотность при стандартных условиях с помощью пикнометров или ареометров с учетом требований, устанавливаемых соответствующими нормативными документами, например ГОСТ 17310 и ГОСТ 18995.1, к этим методам измерений.
6.4.2.6 Частоту определения плотности при стандартных условиях рассчитывают исходя из требований к точности измерения количества среды, возможных изменений значений плотности между интервалами измерений и обусловленной этими изменениями дополнительной погрешности (5.2.3).
6.4.2.7 Плотность при стандартных условиях смесей жидкостей и газов допускается определять по компонентному составу в соответствии с требованиями нормативных документов (например ГОСТ 30319.1, ГОСТ 3900).
6.4.3 Определение компонентного состава
6.4.3.1 Для определения компонентного состава контролируемой среды применяют хроматографы любого типа, не изменяющие состав этой среды.
6.4.3.2 При отборе проб руководствуются требованиями 6.4.2.2.
6.4.3.3 Компонентный состав определяют в соответствии с требованиями ГОСТ 23781, ГОСТ 10679, [5], [6].
6.4.4 Определение влажности газа
6.4.4.1 Для определения влажности газа применяют влагомеры любого типа, измеряющие температуру конденсации паров влаги (температуру точки росы), массовое и объемное содержание водяных паров в единице объема контролируемого газа.
6.4.4.2 При отборе проб руководствуются требованиями 6.4.2.2.
6.4.4.3 Влажность природных газов определяют в соответствии с требованиями ГОСТ 20060.
6.4.5 Для определения плотности при стандартных условиях, состава и влажности газа пробы рекомендуется отбирать из одной точки. Если во время измерений этих параметров при работе автоматических устройств наблюдают их взаимное влияние, то точки отбора проб разносят на расстояние, исключающее это влияние.
6.5.1 В зависимости от условий измерений расхода и решаемого уравнения в соответствии А.1 вычислительные устройства должны автоматически учитывать действительные значения необходимых параметров.
Допускается применять вычислительные устройства, решающие уравнения расхода и количества контролируемой среды, отличные от приведенных в А.1.
6.5.2 При вычислении расхода и количества контролируемой среды допускается применение упрощенных расчетных формул. Дополнительную погрешность вычислительного устройства от введенных упрощений определяют относительно уравнений, приведенных в настоящем стандарте.
6.5.3 Для повышения точности измерений допускается сужение диапазона изменения входных сигналов. При этом диапазон изменения входных сигналов должен соответствовать диапазону изменения контролируемых параметров.
6.5.4 Вычислительное устройство должно отвечать требованиям 6.1.4 и 6.1.6.
6.5.5 При использовании вычислительного устройства в качестве счетчика с индикацией количества среды регистрация результатов измерений параметров среды и результатов вычислений необязательна.
7.1 Перед измерениями проверяют:
- соответствие прямых участков ИТ требованиям раздела 7 ГОСТ 8.563.1 (эту проверку проводят один раз перед пуском в эксплуатацию измерительного комплекса);
- соответствие монтажа соединительных и заборных трубок требованиям раздела 6 (эту проверку проводят один раз перед пуском в эксплуатацию измерительного комплекса);
- соответствие конструкции СУ одному из разделов 8, 9, 10 ГОСТ 8.563.1 (эту проверку проводят периодически через установленные межповерочные интервалы времени);
- соответствие монтажа средств измерений параметров потока требованиям раздела 6 и монтажно-эксплуатационной документации (эту проверку проводят один раз перед пуском в эксплуатацию);
- соответствие условий проведения измерений требованиям раздела 4 (эту проверку проводят не реже одного раза в год);
- соответствие применения СУ граничным условиям, приведенным в ГОСТ 8.563.1 (эту проверку проводят не реже одного раза в год).
Кроме того, проверяют герметичность всех узлов соединений, в которых находится среда. Утечка среды не допускается. Эту проверку проводят ежемесячно.
7.2 Допускается по договоренности между заинтересованными сторонами проверку измерительного комплекса или отдельных его узлов и соединений проводить чаще, чем это указано п. 7.1.
7.3 По результатам проверки и в соответствии с требованиями к обеспечению необходимой точности измерений (5.2.3 и 9.5) определяют условно-постоянные параметры, а по ним и различные постоянные коэффициенты (А.1).
7.4 После проверки все средства измерений приводят в рабочее состояние и измеряют действительные значения параметров, по которым определяют количество или (и) расход среды (см. приложение А).
7.5 При обнаружении несоответствия ИК требованиям, указанным в 7.1, принимают меры, направленные на устранение этого несоответствия.
Порядок восстановления действительных результатов измерений, связанных с обнаружением несоответствия по 7.1, должен быть установлен договором между заинтересованными сторонами. Основанием восстановления результатов может служить анализ прошедших или (и) последующих результатов измерений, или (и) обнаруженных ошибок, или погрешностей измерений и т.д.
Расчет расхода среды в общем случае выполняют следующим образом:
а) определяют переменные параметры контролируемой среды: Δр (6.2.1), р (6.2.11), Т (6.3), ρ (6.4.1 при наличии плотномера), для газов - ρс (6.4.2 при наличии плотномера), для смесей - компонентный состав (6.4.3), необходимый для расчета плотности, вязкости и показателя адиабаты (для газов) при применении косвенных методов их расчета;
б) для газов при отсутствии плотномера рассчитывают ρс (для природного газа, его компонентов и продуктов его переработки - по ГОСТ 30319.1, для ряда других сред - по 5.4 ГОСТ 8.563.1);
в) при отсутствии плотномера рассчитывают ρ или для газов К (для природного газа, его компонентов и продуктов его переработки - по ГОСТ 30319.1- ГОСТ 30319.3, для воды и пара - по ГСССД 98, для ряда других сред - по 5.4 ГОСТ 8.563.1);
г) рассчитывают μ (для природного газа, его компонентов и продуктов его переработки - по ГОСТ 30319.1 и ГОСТ 30319.3, для воды и пара - по ГСССД 6, для ряда других сред - по 5.4 ГОСТ 8.563.1);
д) если контролируемая среда - газ, рассчитывают κ (для природного газа, его компонентов и продуктов его переработки - по ГОСТ 30319.1 и ГОСТ 30319.3, для ряда других сред - по 3.3.3 и 5.4 ГОСТ 8.563.1);
е) рассчитывают для материалов СУ и трубопровода Ко, Кт (по B.1 ГОСТ 8.563.1);
ж) вычисляют D и d (по B.1 ГОСТ 8.563.1), β [по формуле (3.1) ГОСТ 8.563.1], E (по 5.1 ГОСТ 8.563.1), С~ (по разделам 8-10 ГОСТ 8.563.1);
и) для диафрагм вычисляют поправочный коэффициент Кп (по В.4 ГОСТ 8.563.1);
к) для газов и пара рассчитывают ε (по разделам 8-10 ГОСТ 8.563.1);
л) проверяют по ГОСТ 8.563.1 условие (8.6) для диафрагм и условие (9.4) для сопел ИСА 1932 и сопел Вентури; при выполнении этих условий Кш принимают равным единице, при невыполнении - определяют приближенное значение Кш по формуле (В.27) ГОСТ 8.563.1 при АRe = 0,5 (раздел В.3 ГОСТ 8.563.1);
м) вычисляют по соответствующей формуле (по 5.1) расход при С = С~;
н) по значению расхода (см. 8.1, перечисление м) вычисляют по соответствующей формуле (5.1.7) значение Re~ (5.3 ГОСТ 8.563.1);
п) определяют KRe (по разделам 8-10 ГОСТ 8.563.1);
р) определяют число Рейнольдса по формуле (5.12) ГОСТ 8.563.1;
с) при выполнении по ГОСТ 8.563.1 условия (8.6) для диафрагм и условия (9.4) для сопел ИСА 1932 и сопел Вентури (Кш = 1) определяют действительный расход путем умножения значения расхода (см. 8.1, перечисление м) на значение коэффициента KRe ;
т) при невыполнении по ГОСТ 8.563.1 условия (8.6) для диафрагм и условия (9.4) для сопел ИСА 1932 и сопел Вентури рассчитывают по В.3.2 ГОСТ 8.563.1 действительное значение коэффициента шероховатости К′ш с учетом значения Re (по 8.1, перечисление р) и действительный расход путем умножения значения расхода (см. 8.1, перечисление м) на значение коэффициента КRe и на отношение К′ш/Кш.
8.2.1 Объем или массу среды определяют путем интегрирования функции расхода по времени.
Операцию интегрирования реализуют с помощью вычислительного устройства путем циклического процесса расчета расхода по переменным исходным данным и их суммирования по одной из формул, приведенных в 5.2.
Процедура выполнения расчета расхода на одном цикле вычислений аналогична изложенной в 8.1.
Ввод условно-постоянных параметров потока, СУ и ИТ, установку длительности цикла измерений, фиксацию количества этих циклов за установленный промежуток времени, а также организацию циклов измерений переменных параметров осуществляют с помощью программных и технических средств.
8.2.2 При расчете количества среды с помощью вычислительного устройства используют следующую информацию:
- массив исходных данных;
- массив нормативно-справочной информации;
- массив формируемой информации.
Массив исходных данных включает в себя значения следующих параметров:
- условно-постоянных параметров потока, характеристик СУ и ИТ;
- переменных измеряемых параметров потока.
Массив нормативно-справочной информации включает в себя:
- табличные значения параметров, необходимых при расчете расхода, если их действительные значения определяют путем интерполяции;
- значения констант уравнений, используемых при расчете необходимых для вычисления расхода параметров.
Массив формируемой информации включает в себя:
- значения расчетных параметров;
- текущее значение расхода;
- количество среды.
Объем и содержание массивов определяют исходя из принятого для вычисления уравнения расхода (5.1 и А.1), а также методов измерений или (и) расчета параметров потока.
Форму представления формируемой информации, и ее архивирование определяют заинтересованные стороны.
Расчет количества потока по результатам показаний интегрирующих устройств или планиметрирования диаграмм с записью значений давления, температуры и перепада давления или квадратного корня из значений перепада давления за время измерения τ может быть выполнен в последовательности:
а) выполняют планиметрирование диаграмм (приложение Г) или фиксируют показания интегрирующих устройств (разность показаний интегратора в начале и конце времени измерения);
б) рассчитывают (приложение Г) по показаниям интегратора
или результатам планиметрирования
,
,
[для газов дополнительно
, значение
которого может быть принято равным
];
в) определяют средние за время измерения параметры
среды:
(6.4.1 при наличии плотномера), для
газов -
(6.4.2 при наличии плотномера), для
смесей - состав среды (6.4.3),
необходимый для расчета плотности, вязкости и для газов - показателя адиабаты
при применении косвенных методов их расчета;
г) при средних параметрах потока для газов при
отсутствии плотномера рассчитывают
(для природного газа, его компонентов и
продуктов его переработки - по ГОСТ
30319.1, для ряда других сред - по 5.4 ГОСТ
8.563.1);
д) при средних параметрах потока при отсутствии
плотномера рассчитывают
или для газов -
(для природного газа, его
компонентов и продуктов его переработки - по ГОСТ
30319.1- ГОСТ
30319.3, для воды и пара - по ГСССД
98, для ряда других сред - по 5.4 ГОСТ
8.563.1);
е) при средних параметрах потока рассчитывают μ (для природного газа, его компонентов и продуктов его переработки - по ГОСТ 30319.1 и ГОСТ 30319.3, для воды и пара - по ГСССД 6, для ряда других сред - по 5.4 ГОСТ 8.563.1);
ж) если контролируемая среда - газ, рассчитывают при
средних параметрах потока
(для природного газа, его компонентов и
продуктов его переработки - по ГОСТ
30319.1 и ГОСТ
30319.3, для ряда других сред - по 3.3.3 и 5.4 ГОСТ
8.563.1);
и) рассчитывают для материалов СУ и трубопровода
,
(по B.1 ГОСТ
8.563.1);
к) вычисляют
и
(по B.1 ГОСТ
8.563.1),
[по формуле (3.1) ГОСТ
8.563.1],
(по 5.1 ГОСТ
8.563.1),
(по разделам 8-10 ГОСТ
8.563.1);
л) для диафрагм вычисляют поправочный коэффициент
(по В.4 ГОСТ
8.563.1);
м) для газов и пара рассчитывают
(по разделам 8-10 ГОСТ
8.563.1);
н) проверяют по ГОСТ
8.563.1 условие (8.6) для диафрагм и условие (9.4) для сопел ИСА 1932 и
сопел Вентури; при выполнении этих условий
принимают равным единице, при
невыполнении определяют приближенное значение
по формуле (В.27) ГОСТ
8.563.1 при ARe
= 0,5 (В.3 ГОСТ
8.563.1);
п) вычисляют по соответствующей формуле (по 5.1)
расход при средних параметрах потока и СУ, принимая С =
;
р) по значению расхода (см. 8.3, перечисление п), вычисляют
по соответствующей формуле (по 5.1.7)
значение
(по
5.3 ГОСТ
8.563.1);
с) определяют
(по разделам 8-10 ГОСТ
8.563.1);
т) определяют число Рейнольдса по формуле (5.12) ГОСТ 8.563.1;
ф) при выполнении по ГОСТ
8.563.1 условия (8.6) для диафрагм и условия (9.4) для сопел ИСА 1932 и
сопел Вентури (Кш = 1) определяют действительный расход путем
умножения значения расхода (см. 8.3, перечисление п) на значение коэффициента
;
х) при невыполнении по ГОСТ
8.563.1 условия (8.6) для диафрагм, условия (9.4) для сопел ИСА 1932 и
сопел Вентури рассчитывают по В.3.2 ГОСТ
8.563.1 действительное значение коэффициента шероховатости
с учетом
значения Re (по 8.3, перечисление т) и действительный расход путем
умножения значения расхода (см. 8.3, перечисление п) на значение коэффициента
и на отношение
/
;
ц) вычисляют массу или объем среды путем умножения соответствующего действительного значения расхода, рассчитанного по 8.3, перечисление ф или х, на время измерения τ. Примеры расчета количества среды приведены в приложении Е.
8.4.1 Процедура расчета расхода и количества среды, изложенная в 8.1 и 8.3, может быть упрощена, если при измерениях расхода и количества параметры, принятые за условно-постоянные величины, объединяют и вычисляют заранее (по A.1).
Допускается (приложение Г) для повышения точности
определять по результатам планиметрирования
и
.
8.4.2 При раздельных измерениях переменных контролируемых параметров все измеряемые и условно-постоянные параметры фиксируют. Форму и место фиксации определяют заинтересованные стороны.
8.4.3 При определении параметров, расчет которых требует применения сложных формул, допускается применять таблицы.
8.4.4 Таблицы рекомендуется составлять таким образом, чтобы они не вносили дополнительную погрешность в значения определяемого параметра.
Условия для выполнения этого требования следующие:
- устанавливают значение допускаемой относительной погрешности определяемого параметра;
- абсолютная погрешность табличных значений должна составлять не более пяти единиц последнего разряда значений определяемого параметра;
- относительная погрешность табличных значений должна быть, по крайней мере, в четыре раза меньше относительной погрешности определяемого параметра.
8.4.5 Шаг таблицы выбирают таким образом, чтобы линейная интерполяция значений определяемого параметра не вносила дополнительную погрешность в табличные значения. Это достигается при соблюдении условия: наибольшая вторая разность таблицы должна быть менее четырех единиц последнего разряда табличных значений.
Первую разность таблицы определяют как разность двух соседних значений параметра, т.е.
и т.д.
Вторую разность таблицы определяют как разность двух соседних значений первых разностей, т.е.
и
т.д.
8.4.6 Допускается вычисления проводить любым способом [ручным или (и) машинным] и на любых машинах - от микрокалькулятора простейшего типа до сложных ЭВМ многофункционального назначения.
Необходимое количество значащих цифр N определяемого параметра может быть вычислено по формуле
(8.1)
где δ - относительная погрешность определяемого параметра, %;
К - числовое значение первой значащей цифры значения параметра.
Значения N округляют до целого числа.
8.5.1 Оператор должен знать процедуру обработки результатов измерений и требования настоящего стандарта и выполнять инструкции по эксплуатации применяемых средств измерений.
8.5.2 При выполнении вычислений на месте измерений оператор должен уметь проводить расчеты на имеющихся в его распоряжении вычислительных средствах. Оператор должен иметь на месте измерений, как минимум, микрокалькулятор.
9.1.1 Абсолютной погрешностью измерения параметра (Δу) называют разность измеренного у и действительного y значений этого параметра, т.е.
(9.1)
Относительной погрешностью измерения параметра (δ) называют отношение абсолютной погрешности измерения к действительному значению этого параметра, т.е.
Приведенной погрешностью средств измерений (δ0) называют отношение абсолютной погрешности к нормирующему значению измеряемого параметра. Если за нормирующее значение принимают диапазон измерений контролируемого параметра, то приведенную погрешность определяют по формуле
(9.3)
Если нижний предел измерений ун = 0, то приведенную погрешность определяют по формуле
(9.4)
Нормирование предела погрешности для средств измерений в нормальных условиях проводят по ГОСТ 8.395. В этих условиях ее называют пределом основной допускаемой погрешности средств измерений. В ряде отечественных документов ее называют классом точности, в зарубежных - точностью или нелинейностью средств измерений.
Если известен предел основной приведенной погрешности средства измерений, то предел относительной погрешности может быть определен по формуле
Абсолютное значение относительной погрешности всегда больше абсолютного значения приведенной погрешности, так как
(9.6)
Формулы (9.2) и (9.5) справедливы при однократном измерении контролируемого параметра, т.е. при мгновенном его значении.
9.1.2 При непрерывных или многократных измерениях количественных параметров, произвольно изменяющихся во времени (при накоплении и суммировании результатов измерений), относительную погрешность измерений контролируемого параметра определяют для его среднего значения как наиболее вероятного. Это условие применяют при определении объема, массы или энергосодержания методом переменного перепада давления.
Если известны значения Δу или δ0, то определяют значения относительной погрешности по формулам:
(9.7)
(9.8)
Значения объема, массы или энергосодержания, как
правило, пропорциональны значению квадратного корня из перепада давления,
плотности среды при рабочих условиях или давления и обратно пропорциональны
значению квадратного корня из температуры и плотности при стандартных условиях.
При этом средние значения
,
и
определяют по формуле
(9.9)
а значения
и
определяют по формуле
(9.10)
где
-
соответственно средние значения измеряемых параметров
,
,
и
,
;
ув и ун - соответственно верхнее и нижнее значения Δр, ρ, р и Т, ρс.
Если измеряемый объем обратно пропорционален плотности
измеряемой среды при стандартных условиях, то среднее значение
определяют по
формуле
(9.11)
9.1.3 В настоящем разделе представлены расчеты, необходимые для статистической оценки доверительных границ, в которых находится действительное значение расхода или количества среды.
Информация о результатах измерений включает в себя оценку возможной погрешности измерений или доверительных границ, в пределах которых находят значение измеряемого параметра.
Информация об оценке возможной погрешности измерений или доверительных границах полезна при исследованиях, связанных с нормированием режимов технологических процессов, при сопоставлении применимости различных средств измерений с различными метрологическими характеристиками, при рассмотрении разногласий по результатам измерений одного и того же потока двумя измерительными комплексами, при определении условно-постоянных параметров уравнения расхода и количества среды.
9.1.4 Требования, приведенные в настоящем разделе, соответствуют [7]. В настоящем разделе применены термины в соответствии с требованиями ГОСТ 16263 и [8].
9.1.5 Термин «погрешность результата измерений» определяют числом, указывающим возможные границы неопределенности полученного значения измеряемой величины.
Верхнюю и нижнюю границы интервала, в котором находится с заданной доверительной вероятностью случайное отклонение результата измерений, называют доверительными границами случайного отклонения результата измерений (ГОСТ 16263).
9.2.1 Погрешности, которые рассматривают в данном разделе, подразделяют на следующие виды:
- случайные;
- систематические;
- неисключенные систематические.
9.2.2 При анализе результатов измерений могут быть обнаружены результаты, резко отличающиеся от остальной группы результатов измерений, обусловленные случайным нарушением условий измерений или (и) грубой ошибкой оператора при снятии показаний или (и) при проведении расчетов. Такие резкие отклонения называют промахами или грубыми ошибками. Промахи исключают из результатов измерений.
Возможность отнесения результатов измерений к промахам определяют путем статистического анализа в соответствии с [7].
9.2.3 Составляющую погрешности, изменяющуюся случайным образом, закономерность возникновения которой не может быть определена при многократных измерениях одного и того же значения контролируемого параметра при неизменных условиях его определения, называют случайной погрешностью (ГОСТ 16263).
Случайную составляющую погрешности оценивают средним квадратическим отклонением σу по ГОСТ 8.207 и ГОСТ 8.508.
В настоящем стандарте доверительные границы случайной
составляющей погрешности определяют при нормальном законе распределения
случайных погрешностей и доверительной вероятности 0,95 (
).
Случайная погрешность уменьшается с увеличением количества измерений и стремится к нулю.
9.2.4 Составляющую погрешности измерений, остающуюся постоянной или закономерно изменяющуюся при многократных измерениях в неизменных условиях одного и того же значения контролируемого параметра, называют систематической погрешностью (ГОСТ 16263 и [7]).
Систематическая погрешность - это погрешность, значение и знак которой известны. Ее определяют по ГОСТ 8.508 и по приложению Д.
Известные систематические погрешности контролируемого параметра исключают из результата измерений.
Неисключенной систематической погрешностью называют часть систематической погрешности, которая остается не устраненной из результата измерений из-за сложности или (и) непредсказуемости изменения условий ее определения (ГОСТ 8.207). Неисключенная систематическая погрешность - такая погрешность, значение и знак которой не определены, но известны условия ее возникновения.
В настоящем стандарте доверительные границы неисключенной систематической погрешности находят, принимая нормальный закон распределения неисключенных систематических погрешностей при доверительной вероятности 0,95.
При суммировании составляющих погрешности результата измерений неисключенные систематические погрешности рассматривают как случайные величины и суммируют в соответствии с [7].
От случайной составляющей погрешности неисключенная систематическая составляющая отличается тем, что при многократных измерениях она остается неизменной и не стремится к нулю.
9.2.5 Предел допускаемой погрешности средства измерений - сумма систематической, неисключенной систематической и случайной погрешностей при доверительной вероятности 0,95. Сведения о значениях этих погрешностей должны предоставлять либо изготовитель, либо органы метрологического надзора.
При отсутствии данных о значениях составляющих погрешности в соответствии с [7] принимают основную погрешность средства измерений с вероятностью 0,95 за неисключенную систематическую погрешность. Систематическую и случайную составляющие погрешности в этом случае принимают равными нулю, если значения вариаций, гистерезиса, повторяемости, стабильности и дрейфа неизвестны. Если значения последних характеристик известны, то случайную составляющую с вероятностью 0,95 определяют как квадратный корень из суммы квадратов значений этих характеристик.
Если в результате однократной поверки средства измерений установлено, что ни в одной точке проверяемого диапазона погрешность не превышает 1/3 предела допускаемой основной погрешности этого средства, то с вероятностью 0,95 установленную погрешность принимают за случайную составляющую погрешности, а основную погрешность образцового средства измерений (рабочего эталона) принимают за неисключенную систематическую составляющую погрешности, если неизвестны такие характеристики образцового средства измерений, как вариация, гистерезис, повторяемость, стабильность и дрейф. Известные значения перечисленных характеристик относят к случайной погрешности и суммируют с установленной погрешностью средства измерений.
Если при однократной поверке средства измерений установлено, что хотя бы в одной точке проверяемого диапазона погрешность превышает 1/3, предела допускаемой основной погрешности (но не превышает последнюю), то допускают определять случайную и систематическую составляющие погрешности с вероятностью 0,95 в соответствии с [7] как 1/2 среднего арифметического значения погрешностей во всех проверяемых точках. Причем систематическая погрешность должна быть учтена в результате определения измеряемого параметра, если она превышает 0,1 %. Если эта погрешность не превышает 0,1 %, то ее относят к неисключенной систематической погрешности.
При суммировании погрешностей предварительно устанавливают влияние каждого измеряемого параметра на окончательный результат измерений. Это влияние оценивают коэффициентом влияния. Изменение в процентах результата измерений, вызванное изменением параметра на 1 %, называют «коэффициентом влияния». Если параметры f и у имеют математическую взаимосвязь, то коэффициент влияния вычисляют по формуле
(9.12)
Если нет математической взаимосвязи или
дифференцирование затруднено, для оценки
применяют конечные приращения
где Δу - приращение параметра у;
Δf - приращение параметра f, соответствующее приращению параметра у.
Для определения приращений рассчитывают значение f,
используя у, а для получения f+Δf используют у+Δу. Значение Δу рекомендуют
выбирать не более абсолютной погрешности параметра. Если принять Δу/у
= 0,01, то формула (9.13) принимает вид
.
(9.14)
(9.15)
где
-
коэффициент чувствительности i-го преобразователя;
у - значение входного измеряемого параметра;
уi - значение выходного параметра i-го преобразователя;
-
относительная случайная погрешность i-го
преобразователя с учетом погрешностей дрейфа, вариации, повторяемости,
стабильности и дополнительно для цифровых приборов - погрешности квантования;
-
относительная систематическая погрешность i-го
преобразователя, рассчитанная с учетом дополнительных погрешностей нелинейности,
которые определяют по техническим условиям на приборы данного типа или
оценивают по результатам поверки приборов в условиях, соответствующих условиям
эксплуатации;
п - число преобразователей комплекса.
При настройке прибора в условиях эксплуатации дополнительную погрешность принимают равной нулю.
Оценку погрешностей измерений расхода и количества проводят при следующих условиях:
- установлен список независимых источников погрешности измерений, который составляют на основе анализа зависимостей применяемого уравнения, используемых средств и методов измерений параметров потока, теплофизических свойств среды, характеристик СУ и ИТ [7];
- определены коэффициенты влияния (по 9.2.6) каждого измеряемого параметра на окончательный результат;
- установлены метрологические характеристики применяемых средств измерений и источники методических погрешностей зависимостей для расчета свойств среды и характеристик СУ;
- исключены систематические погрешности путем введения поправок или соответствующей настройкой средств измерений в условиях эксплуатации или в соответствии с приложением Д.
9.4.1 Для оценки доверительных границ, а также для сравнения результатов измерений расхода и количества последние должны быть представлены в виде
q, δq; V0, δV0; Vc, δVc; M, δm; Eэ, δэ.
Далее для упрощения написания формул для V0, Vс, M принято общее обозначение у.
9.4.2 Относительную погрешность измерений расхода δq рассчитывают по формуле
(9.16)
9.4.2.1 Случайную составляющую погрешности измерений расхода в общем случае при раздельных измерениях параметров рассчитывают по формуле
где
,
- случайные составляющие
погрешности измерений параметров yi из списка независимых источников погрешности
измерений расхода и их коэффициенты влияния по 9.2.6.
К случайным независимым источникам относят в общем случае перепад давления на СУ, абсолютное давление и температуру среды и в зависимости от применяемых методов и средств определения теплофизических свойств среды - плотность при рабочих условиях, плотность при стандартных условиях и компонентный состав среды.
Например, при измерениях расхода воды, плотность и вязкость которой рассчитывают по измеренным значениям давления и температуры, в формулу (9.17) включают случайные составляющие погрешности перепада давления, абсолютного давления и температуры потока.
При автоматическом и полуавтоматическом измерениях расхода случайную составляющую погрешности вычислительного устройства рекомендуется определять совместно с преобразователями.
9.4.2.2 Неисключенную систематическую составляющую погрешности измерений расхода и общем случае при раздельных измерениях параметров рассчитывают по формуле
где
,
- неисключенные составляющие
погрешности измерений параметров уi из
списка независимых источников погрешности измерений расхода, методические
погрешности используемых зависимостей для расчета свойств среды и характеристик
СУ и их коэффициенты влияния по (9.2.6);
-
составляющие погрешности, определяемые в соответствии с 5.2.3.
При автоматическом и полуавтоматическом измерениях
расхода неисключенную систематическую составляющую погрешности определяют по
формуле (9.18)
при условии замены погрешностей контролируемых параметров, значения которых
автоматически учитывают вычислительным комплексом, на систематическую погрешность
этого комплекса. При этом все методические погрешности (
,
и т.д.) суммируют с
систематической погрешностью комплекса.
9.4.3 Значения коэффициентов влияния
,
входящих в формулы (9.17) и (9.18), в большинстве случаев
вычисляют с учетом принятых для практических расчетов допущений:
- погрешности определения С, ε, Δp, ρ не зависят друг от друга;
- погрешность определения С, обусловленная погрешностью расчета или измерений вязкости среды, является пренебрежимо малой величиной;
- погрешности определения Кτ и Ко являются малыми величинами;
- погрешность расчета ε, обусловленная погрешностью расчета β, является малой величиной;
- погрешности определения коэффициента сжимаемости среды и ρс не зависят друг от друга.
При этих допущениях в формулы расчета погрешности расхода и количества вводят только погрешности С, ε (для газов), Δp, ρ, D, d и дополнительно ρс, если этот параметр используют в расчетах.
Значения коэффициентов влияния, вычисленных при принятых допущениях, представлены в таблице 5.
Таблица 5 - Значения коэффициентов влияния
|
Измеряемый параметр |
|
|
|
|
|
|
|
Примечание |
|
|
Жидкость |
qm, qo |
1,0 |
|
|
0,5 |
0,0 |
0,5 |
0,0 |
- |
|
Газ |
qm |
1,0 |
|
|
0,5 |
1,0 |
0,5 |
0,0 |
- |
|
qc |
1,0 |
|
|
0,5 |
1,0 |
0,5 |
1,0 |
ρ и ρc независимы |
|
|
1,0 |
|
|
0,5 |
1,0 |
0,5 |
0,5 |
ρ определена через ρc, K, р и Т |
9.4.4 С учетом значений, приведенных в таблице 5, формулы (9.17) и (9.18) примут вид:
- при измерениях объемного или массового расхода жидкости:
(9.20)
- при измерениях массового расхода газа:
(9.22)
- при измерениях объемного расхода газа, приведенного к стандартным условиям, в случае независимости ρ и ρc (например ρ определяют с помощью плотномера):
(9.24)
- при измерениях объемного расхода газа, приведенного к стандартным условиям, в случае зависимости ρ и ρc:
При наличии условно-постоянных параметров в формулах (9.19), (9.21), (9.23) и (9.25) в соответствии с формулой (9.18) учитывают дополнительную погрешность, рассчитанную по формуле (5.26).
9.4.5 Относительную погрешность измерений количества среды рассчитывают по формуле
(9.27)
где
- систематическая составляющая
погрешности, рассчитанная при средних параметрах потока за время измерений;
δτ - погрешность определения интервала времени τ.
При расчете погрешности измерений количества случайную составляющую погрешности принимают равном нулю.
9.5.1 Погрешность коэффициента истечения СУ - неисключенную методическую систематическую погрешность определяют по формуле
(9.28)
где
,
,
,
,
,
определяют в соответствии
с 7.2.4, 7.2.9, 7.5.1.4, 7.5.2.3, 8.1.4.3, В.3.5, В.3.6, В.4.5 и В.4.6 ГОСТ
8.563.1;
определяют
из таблицы 6.
Таблица 6 - Значения составляющей
погрешности ![]()
|
Диафрагмы |
Сопла |
Сопла Вентури |
Трубы Вентури |
|
|
β ≤ 0,6 |
0,6 |
0,8 |
1,2 + 1,5β4 |
Значения приведены в 10.1.7 ГОСТ 8.563.1 |
|
β ≥ 0,6 |
β |
2β - 0,4 |
9.5.2 Погрешности измерений d
и D являются неисключенными систематическими
погрешностями. Значение
принимают равным 0,07 %, а
- равным 0,4
%.
9.5.3 Погрешность ε имеет систематическую составляющую, которую рассчитывают по формуле
(9.29)
Случайной составляющей
можно пренебречь.
Значения
методической составляющей погрешности
представлены в таблице 7. Таблица 7 - Значения составляющей
погрешности ![]()
|
Относительная погрешность |
|
|
Диафрагмы при β < 0,75 |
4 Δp/р |
|
Диафрагмы (угловой отбор Δp) при β > 0,75 |
8 Δp/р |
|
Сопла ИСА 1932 |
2 Δp/р |
|
Сопла и трубы Вентури |
(4 + 100 β8) Δp/р |
Погрешность δс для жидкостей равна нулю.
9.5.4 Систематическую и случайную составляющие погрешности измерений перепада давления в соответствии с 9.2.7 вычисляют по формулам:
Значения коэффициентов чувствительности, входящих в формулы (9.30) и (9.31), для ряда случаев приведены в таблице 8.
Таблица 8 - Значения коэффициентов чувствительности для расчета составляющих погрешности перепада давления
|
Функция преобразования прибора |
|
|
|
|||
|
1-го |
2-го |
3-го |
||||
|
2 |
Линейная |
Линейная |
- |
1 |
1 |
- |
|
2 |
Линейная |
Квадратичная |
- |
1 |
2 |
- |
|
2 |
Квадратичная |
Линейная |
- |
2 |
2 |
- |
|
3 |
Линейная |
Линейная |
Линейная |
1 |
1 |
1 |
|
3 |
Линейная |
Линейная |
Квадратичная |
1 |
1 |
2 |
|
3 |
Линейная |
Квадратичная |
Линейная |
1 |
2 |
2 |
|
3 |
Квадратичная |
Линейная |
Линейная |
2 |
2 |
2 |
В соответствии с таблицей 8, например для случая комплекта, состоящего из преобразователя разности давлений, регистрирующего прибора с линейными функциями преобразования и корневого планиметра, формула (9.30) примет вид
(9.32)
где
,
и
- случайные составляющие
погрешности первого, второго преобразователя и планиметра соответственно.
9.5.5 Составляющие погрешности измерений плотности при рабочих условиях вычисляют следующим образом:
- если плотность измеряют плотномером, то
и
определяют по
паспортным данным или протоколу поверки;
- если плотность рассчитывают косвенным методом, то в общем случае
(9.33)
(9.34)
где
- методическая погрешность
расчета плотности (значение приводят в соответствующих нормативных документах,
устанавливающих методы косвенного расчета плотности); при расчете плотности
через коэффициент сжимаемости следует заменить
на методическую погрешность
определения коэффициента сжимаемости, а составляющие
и
учитывают при расчете составляющих погрешностей
определения К и ρс;
,
- составляющие погрешности определения компонентного
состава среды (для однокомпонентной среды их принимают равными нулю);
,
,
,
-
коэффициенты влияния, определяемые в соответствии с 9.2.6 (для газов допускается
значения
,
,
принимать
равными единице, для жидкостей
- равным нулю);
- если измеряют объемный расход при стандартных
условиях и плотность ρ зависит от ρс, то расчет
погрешностей
и
выполняют
без учета погрешностей
и
так как погрешность измерений расхода,
вызванная погрешностью измерений ρс, учтена в формулах (9.25)
и (9.26)
членом 0,25 δρс.
9.5.6 Погрешности измерений плотности газа при стандартных условиях определяют следующим образом:
- если ρс измеряют плотномером, то
и
определяют по
его паспортным данным или (и) данным протокола поверки;
- если ρс рассчитывают методом косвенных измерений, то δρс принимают равной погрешности расчета по используемому уравнению (значение приводят в соответствующих нормативных документах, устанавливающих методы косвенного расчета плотности, например ГОСТ 30319.1) с учетом погрешностей, связанных с определением исходных данных.
9.5.7 Погрешности измерений абсолютного давления, рассчитанного по формуле (6.2), определяют по формулам:
(9.35)
(9.36)
где
,
- случайная и систематическая
составляющие погрешности i-го преобразователя или прибора, входящего и комплект
для измерений избыточного давления;
,
- погрешности
измерений барометрического давления.
9.5.8 Составляющие погрешности определения температуры среды рассчитывают по формулам:
где tв, tн - верхнее и нижнее значения диапазона шкалы средства измерений температуры;
,
, - случайная и
систематическая составляющие абсолютной погрешности i-го
преобразователя или прибора, входящего в комплект;
,
- верхнее и
нижнее значения диапазона шкалы или выходного сигнала i-го
преобразователя или прибора, входящего в комплект.
Например, комплект средств измерений температуры включает в себя термопреобразователь типа ТСМ 100М, нормирующий преобразователь Ш-71, самопишущий прибор с токовым входным сигналом и полярный планиметр.
Верхнее и нижнее значения диапазона измеряемых температур:
tв = 50 °С, tн = -50 °С.
Диапазон выходного сигнала термопреобразователя и составляющие абсолютной погрешности:
![]()
![]()
Диапазон выходного сигнала нормирующего преобразователя:
![]()
поверкой установлено, что систематическая погрешность нормирующего преобразователя равна нулю, поэтому
![]()
![]()
где S2, А2 - класс точности нормирующего преобразователя и его нормирующее значение, равное значению верхнего предела измерений.
Диапазон шкалы показывающего самопишущего прибора и составляющие абсолютной погрешности:
![]()
![]()
![]()
(9.2.5).
где S3, A3 - класс точности самопишущего прибора и его нормирующее значение, равное значению верхнего предела измерений.
Диапазон показаний полярного планиметра при записи в течение τ = 8 ч, скорости протяжки ленты ил = 2 см/ч и ширине диаграммной ленты lш = 25 см:
![]()
Приведенная к номинальному значению результата планиметрирования погрешность S4 = 0,25 %.
В результате обработки диаграммной ленты получено планиметрическое число (Nл), равное 300,5 см2. Составляющие абсолютной погрешности для полученного значения:
![]()
(9.5.9).
Значение измеренной температуры (по приложению Г):
![]()
Составляющие погрешности измерений средней температуры с учетом установленных характеристик в соответствии с формулами (9.37) и (9.38) имеют значения:


9.5.9 Погрешность
планиметрирования не содержит случайную погрешность (
= 0), а систематическая
погрешность
=
.
9.5.10 Погрешность определения интервала времени τ:
- при планиметрировании диаграмм:
(9.39)
где Δх.д - абсолютная погрешность хода приводного механизма диаграммы, мин, при τ, ч;
- при автоматическом вычислении количества:
(9.40)
где τф - интервал времени, определенный с помощью образцового средства измерений, соответствующий интервалу, в котором производится n циклов вычислений.
Погрешность
- систематическая.
9.5.11 Составляющие погрешности параметра, принятого за условно-постоянную величину, оценивают по формулам:
(9.41)
(9.42)
9.6.1 Составляющие общей погрешности измерений расхода классифицируют по признакам:
-
погрешность, случайная как во времени, так и для каждого измерительного
трубопровода;
-
погрешность, случайная во времени, но одинаковая для всех ИТ (например
случайная составляющая погрешности определения ρс
пикнометрическим методом);
-
погрешность систематическая во времени, но случайная для каждого ИТ;
-
погрешность систематическая во времени и одинаковая для всех ИТ (например
систематическая составляющая ρс).
9.6.2 Случайную погрешность измерений расхода, суммарного по всем ИТ, рассчитывают по формуле
(9.43)
9.6.3 Систематическую погрешность измерений расхода, суммарного по всем ИТ, рассчитывают по формуле
(9.44)
9.6.4 Общую погрешность рассчитывают по формуле
(9.45)
9.6.5 Погрешность измерений суммарного количества среды определяют по формуле, приведенной в 9.4.5.
(справочное)
ЗАВИСИМОСТИ, ИСПОЛЬЗУЕМЫЕ ПРИ РАСЧЕТЕ РАСХОДА И КОЛИЧЕСТВА СРЕДЫ
А.1 Уравнения расхода и количества
Уравнения для расчета объема и объемного расхода газа, приведенных к стандартным условиям за отчетный цикл измерений, и условно-постоянные коэффициенты этих уравнений приведены в таблице A.1.
Таблица A.1 - Уравнения объема и объемного расхода газа, приведенных к стандартным условиям
|
Постоянные коэффициенты уравнений за межсезонный или (и) межповерочный период времени |
Уравнения объема и объемного расхода газа, приведенных к стандартным условиям за отчетный цикл измерений |
|
(1) |
|
|
(2) |
|
|
(3) |
|
|
(4) |
|
|
(5) |
|
|
(6) |
|
|
(7) |
|
|
(8) |
|
|
(9) |
|
|
(10) |
|
|
(11) |
|
|
(12) |
|
|
(13) |
|
|
(14) |
|
|
Для средств измерений перепада давления с дисковыми диаграммами, у которых отклонение указателя пропорционально Δр, а запись значения параметра обрабатывают корневым планиметром |
|
|
(15) |
|
|
(16) |
|
|
(17) |
|
|
(18) |
|
|
(19) |
|
|
(20) |
|
|
(21) |
|
|
(22) |
|
|
(23) |
|
|
(24) |
|
|
(25) |
|
|
(26) |
|
|
(27) |
|
|
(28) |
|
|
Для средств
измерений перепада давления с дисковыми диаграммами, у которых отклонение
указателя пропорционально |
|
|
(29) |
|
|
(30) |
|
|
(31) |
|
|
(32) |
|
|
(33) |
|
|
(34) |
|
|
(35) |
|
|
(36) |
|
|
(37) |
|
|
(38) |
|
|
(39) |
|
|
(40) |
|
|
(41) |
|
|
(42) |
|
|
Для средств
измерений перепада давления с ленточными диаграммами, у которых отклонение
указателя пропорционально |
|
|
(43) |
|
|
(44) |
|
|
(45) |
|
|
(46) |
|
|
(47) |
|
|
(48) |
|
|
(49) |
|
|
(50) |
|
|
(51) |
|
|
(52) |
|
|
(53) |
|
|
(54) |
|
|
(55) |
|
|
(56) |
|
Уравнения для расчета массы и массового расхода газа за отчетный цикл измерений и условно-постоянные коэффициенты этих уравнений приведены в таблице А.2.
Таблица А.2 - Уравнения массы и массового расхода газа
|
Постоянные коэффициенты уравнений за межсезонный или (и) межповерочный период времени |
Уравнения массы и массового расхода газа за отчетный цикл измерений |
|
|
|
|
(2) |
|
|
(3) |
|
|
(4) |
|
|
|
|
|
(6) |
|
|
(7) |
|
|
(8) |
|
|
(9) |
|
|
(10) |
|
|
(11) |
|
|
(12) |
|
|
(13) |
|
|
Для средств измерений перепада давления с дисковыми диаграммами, у которых отклонение указателя пропорционально Δр, а запись значения параметра обрабатывают корневым планиметром |
|
|
|
|
|
(15) |
|
|
(16) |
|
|
(17) |
|
|
|
|
|
(19) |
|
|
(20) |
|
|
(21) |
|
|
(22) |
|
|
(23) |
|
|
(24) |
|
|
(25) |
|
|
(26) |
|
|
Для средств
измерений перепада давления с дисковыми диаграммами, у которых отклонение
указателя пропорционально |
|
|
|
|
|
(28) |
|
|
(29) |
|
|
(30) |
|
|
|
|
|
(32) |
|
|
(33) |
|
|
(34) |
|
|
(35) |
|
|
(36) |
|
|
(37) |
|
|
(38) |
|
|
(39) |
|
|
Для средств
измерений перепада давления с ленточными диаграммами, у которых отклонение
указателя пропорционально |
|
|
|
|
|
(41) |
|
|
(42) |
|
|
(43) |
|
|
|
|
|
(45) |
|
|
(46) |
|
|
(47) |
|
|
(48) |
|
|
(49) |
|
|
(50) |
|
|
(51) |
|
|
(52) |
|
При расчете энергетического расхода (теплоты сгорания) газа уравнение объемного расхода газа при стандартных условиях или постоянный коэффициент следует умножить на удельную теплоту сгорания Hc.
Для массового расхода жидкости используют формулы (1)-(5) таблицы А.2, для расчета массы - формулы (14)-(18), (27)-(31), (40)-(44) таблицы А.2, в которых должно быть принято ε = 1.
Для объемного расхода жидкости при рабочих условиях используют формулы (1)-(5) таблицы А.2, для расчета объема-формулы (14)-(18), (27)-(31), (40)-(44) таблицы А.2, в которых ρ0,5 нужно заменить на ρ-0,5, а также принять ε = 1.
А.2 Уравнения для расчета числа Рейнольдса
Уравнения для расчета числа Рейнольдса и условно-постоянные коэффициенты этих уравнений приведены в таблице А.3.
Таблица А.3 - Уравнения для расчета числа Рейнольдса
|
Постоянные коэффициенты уравнений за межсезонный или (и) межповерочный период времени |
Уравнения для расчета числа Рейнольдса за отчетный цикл измерений |
|
|
|
|
|
|
|
|
|
А.3 Уравнения для расчета расхода сухой части влажного газа
Массовый расход сухой части влажного газа определяют по формуле
(А.1)
Объемный расход сухой части влажного газа, приведенный к стандартным условиям, рассчитывают по формуле
(А.2)
где ρв.r - плотность влажного газа в рабочих условиях;
ρc.r - плотность сухой части влажного газа при ее парциальном давлении и температуре t.
Число Рейнольдса для влажного газа рассчитывают по формуле
(А.3)
А.4 При выполнении расчетов, связанных с переводом единиц давления или перепада давления из одной системы в другую, рекомендуют использовать соотношения:
Па = 10-5 бар = 1,01972 · 10-5 кгс/см2 = 7,5006 · 10-3 мм рт.ст. = 1,0197 · 10-1 мм вод.ст.;
бар = 105 Па = 1,01972 кгс/см2 = 7,50075 · 102 мм рт.ст. = 1,0197 · 10-1 мм вод.ст.;
кгс/см2 = 9,80665 · 104 Па = 9,80665 · 10-1 бар = 7,3556 · 102 мм рт.ст. = 104 мм вод.ст.;
мм рт.ст. = 1,3332 · 102 Па = 1,3332 · 10-3 бар = 1,3595 · 10-3 кгс/см2 = 1,3595 · 10 мм вод.ст.;
мм вод.ст. = 9,80665 Па = 9,80665 · 10-5 бар = 10-4 кгс/см2 = 7,3556 · 10-2 мм рт.ст.
А.5 Значения динамической вязкости рассчитывают по известным значениям плотности среды и ее кинематической вязкости по формуле
(А.4)
При выполнении расчетов, связанных с переводом единиц динамическом вязкости из одной системы в другую, рекомендуют использовать соотношения:
кгс · с/м2 = 2,7778 · 10-4 кгс · ч/м2 = 9,80665 Па · с = 9,80665 · 10 дин · с/см2,
кгс · ч/м2 = 3600 кгс · с/м2 = 3,5304 · 104 Па · с = 3,5304 · 105 дин · с/см2,
Па · с = 1,0197 · 10-1 кгс · с/м2 = 2,8325 · 10-5 кгс ч/м2 = 10 дин · с/см2,
дин · с/см2 = 1,0197 · 10-2 кгс · с/м2 = 2,8325 · 10-6 кгс · ч/м2 = 10-1 Па · с.
А.6 Значения масштабных коэффициентов для различных единиц величин приведены в таблицах А.4-А.6.
Таблица А.4 - Значения масштабного коэффициента Кe1, для различных единиц величин
|
d |
Δр |
ρ |
Ke1 |
|
|
кг/с; м3/с |
м |
Па |
кг/м3 |
1,1107 · 100 |
|
кПа |
кг/м3 |
3,5124 · 101 |
||
|
мм |
Па |
кг/м3 |
1,1107 · 10-6 |
|
|
кПа |
кг/м3 |
3,5124 · 10-5 |
||
|
кгс/м2 |
кг/м3 |
3,4783 · 10-6 |
||
|
кг/ч; м3/ч |
м |
Па |
кг/м3 |
3,9986 · 103 |
|
кПа |
кг/м3 |
1,2645 · 105 |
||
|
мм |
Па |
кг/м3 |
3,9986 · 10-3 |
|
|
кПа |
кг/м3 |
1,2645 · 104 |
||
|
кгс/м2 |
кг/м3 |
1,2522 · 10-2 |
||
|
мм вод. ст. |
кг/м3 |
1,2522 · 10-2 |
||
|
кгс/см2 |
кг/м3 |
1,2522 · 100 |
||
|
мбар |
кг/м3 |
3,9986 · 10-2 |
||
|
т/ч |
м |
Па |
кг/м3 |
3,9986 · 100 |
|
кПа |
кг/м3 |
1,2645 · 102 |
||
|
мм |
Па |
кг/м3 |
3,9986 · 10-6 |
|
|
кПа |
кг/м3 |
1,2645 · 10-4 |
||
|
кгс/м2 |
кг/м3 |
1,2522 · 10-5 |
||
|
л/с |
м |
Па |
кг/м3 |
1,1107 · 103 |
|
кПа |
кг/м3 |
3,5124 · 104 |
||
|
мм |
Па |
кг/м3 |
1,1107 · 10-3 |
|
|
кПа |
кг/м3 |
3,5124 · 10-2 |
||
|
кгс/м2 |
кг/м3 |
3,4783 · 10-3 |
||
|
л/мин |
м |
Па |
кг/м3 |
6,6643 · 104 |
|
кПа |
кг/м3 |
2,1074 · 106 |
||
|
мм |
Па |
кг/м3 |
6,6643 · 10-2 |
|
|
кПа |
кг/м3 |
2,1074 · 100 |
||
|
кгс/м2 |
кг/м3 |
2,0870 · 10-1 |
Таблица А.5 - Значения масштабного коэффициента Ке2, для различных единиц величин
|
d |
Δр |
p |
T |
ρ |
Ke2 |
|
|
кг/с; м3/с |
м |
Па |
Па |
К |
кг/м3 |
5,9744 · 10-2 |
|
кПа |
МПа |
К |
кг/м3 |
1,8893 · 103 |
||
|
мм |
Па |
Па |
К |
кг/м3 |
5,9744 · 10-8 |
|
|
кПа |
МПа |
К |
кг/м3 |
1,8893 · 10-3 |
||
|
кгс/м2 |
кгс/см2 |
К |
кг/м3 |
5,8588 · 10-5 |
||
|
кг/ч; м3/ч |
м |
Па |
Па |
К |
кг/м3 |
2,1508 · 102 |
|
кПа |
МПа |
К |
кг/м3 |
6,8013 · 106 |
||
|
мм |
Па |
Па |
К |
кг/м3 |
2,1508 · 10-4 |
|
|
кПа |
МПа |
К |
кг/м3 |
6,8013 · 100 |
||
|
кгс/м2 |
кгс/см2 |
К |
кг/м3 |
2,1092 · 10-1 |
||
|
мбар |
бар |
К |
кг/м3 |
6,8013 · 10-1 |
||
|
мм вод. ст. |
кгс/см2 |
К |
кг/м3 |
2,1092 · 10-1 |
||
|
т/ч |
м |
Па |
Па |
К |
кг/м3 |
2,1508 · 10-1 |
|
кПа |
МПа |
К |
кг/м3 |
6,8013 · 103 |
||
|
мм |
Па |
Па |
К |
кг/м3 |
2,1508 · 10-7 |
|
|
кПа |
МПа |
К |
кг/м3 |
6,8013 · 10-3 |
||
|
кгс/м2 |
кгс/см2 |
К |
кг/м3 |
2,1092 · 10-4 |
||
|
л/с |
м |
Па |
Па |
К |
кг/м3 |
5,9744 · 101 |
|
кПа |
МПа |
К |
кг/м3 |
1,8893 · 106 |
||
|
мм |
Па |
Па |
К |
кг/м3 |
5,9744 · 10-5 |
|
|
кПа |
МПа |
К |
кг/м3 |
1,8893 · 100 |
||
|
кгс/м2 |
кгс/см2 |
К |
кг/м3 |
5,8588 · 10-2 |
||
|
л/мин |
м |
Па |
Па |
К |
кг/м3 |
3,5846 · 103 |
|
кПа |
МПа |
К |
кг/м3 |
1,1336 · 108 |
||
|
мм |
Па |
Па |
К |
кг/м3 |
3,5846 · 10-3 |
|
|
кПа |
МПа |
К |
кг/м3 |
1,1336 · 102 |
||
|
кгс/м2 |
кгс/см2 |
К |
кг/м3 |
3,5153 · 100 |
Таблица А.6 - Значения масштабного коэффициента Ке3 для различных единиц величин
|
D |
μ |
ρ |
Ke3 |
|
|
кг/с; м3/с |
м |
Па · с |
кг/м3 |
1,2732 · 100 |
|
мм |
Па · с |
кг/м3 |
1,2732 · 103 |
|
|
мм |
кгс · с/м2 |
кг/м3 |
1,2983 · 102 |
|
|
кг/ч; м3/ч |
м |
Па · с |
кг/м3 |
3,5368 · 10-4 |
|
мм |
Па · с |
кг/м3 |
3,5368 · 10-1 |
|
|
мм |
кгс · с/м2 |
кг/м3 |
3,6065 · 10-2 |
|
|
т/ч |
м |
Па · с |
кг/м3 |
3,5368 · 10-1 |
|
мм |
Па · с |
кг/м3 |
3,5368 · 102 |
|
|
мм |
кгс · с/м2 |
кг/м3 |
3,6065 · 101 |
|
|
л/с |
м |
Па · с |
кг/м3 |
1,2732 · 10-3 |
|
мм |
Па · с |
кг/м3 |
1,2732 · 101 |
|
|
мм |
кгс · с/м2 |
кг/м3 |
1,2983 · 10-1 |
|
|
л/мин |
м |
Па · с |
кг/м3 |
2,1221 · 10-5 |
|
мм |
Па · с |
кг/м3 |
2,1221 · 10-2 |
|
|
мм |
кгс · с/м2 |
кг/м3 |
2,1639 · 10-3 |
(справочное)
СХЕМЫ УСТАНОВОК РАЗДЕЛИТЕЛЬНЫХ СОСУДОВ
Б.1 Схемы установок разделительных сосудов при верхнем и нижнем присоединении импульсных линий
Б.1.1 Схемы установок разделительных сосудов при измерении расхода жидкости, которая легче разделительной:
а) дифференциальный манометр расположен ниже сужающего устройства

1 - дифференциальный манометр; 2 - разделительный сосуд; 3 - разделительная жидкость; 4 - контролируемая жидкость; 5 - запорный вентиль сужающего устройства; 6 - сужающее устройство; 7- уравнительный вентиль; 8 - продувочный вентиль
Рисунок Б.1
б) дифференциальный манометр расположен выше сужающего устройства

1 - уравнительный вентиль; 2 - разделительная жидкость; 3 - контролируемая жидкость; 4 - запорный вентиль сужающего устройства; 5 - сужающее устройство; 6 - продувочный вентиль; 7 - газосборник; 8 - дифференциальный манометр; 9 - разделительный сосуд
Рисунок Б.2
Б.1.2 Схемы установок разделительных сосудов при измерении расхода жидкости, которая тяжелее разделительной:
а) дифференциальный манометр расположен ниже сужающего устройства

1 - контролируемая жидкость; 2 - разделительная жидкость; 3 - разделительный сосуд; 4 - газосборник; 5 - сужающее устройство; 6 - запорный вентиль сужающего устройства; 7 - уравнительный вентиль; 8 - продувочный вентиль; 9 - дифференциальный манометр
Рисунок Б.3
б) дифференциальный манометр расположен выше сужающего устройства

1 - разделительный сосуд; 2 - контролируемая жидкость; 3 - разделительная жидкость;
4 - запорный вентиль сужающего устройства; 5 - сужающее устройство; 6 - дифференциальный манометр; 7 - продувочный вентиль; 8 - газосборник; 9 - уравнительный вентиль
Рисунок Б.4
Б.1.3 Схемы установок разделительных сосудов при измерении расхода газа:
а) дифференциальный манометр расположен ниже сужающего устройства

1 - дифференциальный манометр; 2 - сужающее устройство; 3 - запорный вентиль сужающего устройства; 4 - разделительный сосуд; 5 - уравнительный вентиль; 6 - контролируемый газ; 7 - разделительная жидкость; 8 - продувочный вентиль
Рисунок Б.5
б) дифференциальный манометр расположен выше сужающего устройства

1 - сужающее устройство; 2 - запорный вентиль сужающего устройства; 3 - разделительный сосуд; 4 - уравнительный вентиль; 5 - контролируемый газ; 6 - разделительная жидкость; 7 - продувочный вентиль; 8 - дифференциальный манометр
Рисунок Б.6
Б.2 Схемы установок разделительных сосудов при боковом присоединении импульсных линий
Б.2.1 Схемы установок разделительных сосудов при измерении расхода жидкости, которая легче разделительной:
а) дифференциальный манометр расположен ниже сужающего устройства

1 - дифференциальный манометр; 2 - продувочный вентиль; 3 - уравнительный вентиль; 4 - разделительный сосуд; 5 - контролируемая жидкость; 6 - запорный вентиль сужающего устройства; 7 - сужающее устройство; 8 - разделительная жидкость
Рисунок Б.7
б) дифференциальный манометр расположен выше сужающего устройства

1 - уравнительный вентиль; 2 - разделительная жидкость; 3 - контролируемая жидкость; 4 - запорный вентиль; 5 - газосборник; 6 - продувочный вентиль; 7 - дифференциальный манометр;
8 - сужающее устройство; 9 - разделительный сосуд
Рисунок Б.8
Б.2.2 Схемы установок разделительных сосудов при измерении расхода жидкости, которая тяжелее разделительной:
а) дифференциальный манометр расположен ниже сужающего устройства

1 - контролируемая жидкость; 2 - разделительный сосуд; 3 - уравнительный вентиль; 4 - сужающее устройство; 5 - газосборник; 6 - запорный вентиль сужающего устройства; 7 - продувочный вентиль; 8 - дифференциальный манометр; 9 - разделительная жидкость
Рисунок Б.9
б) дифференциальный манометр расположен выше сужающего устройства

1 - уравнительный вентиль; 2 - разделительный сосуд; 3 - контролируемая жидкость; 4 - разделительная жидкость; 5 - запорный вентиль сужающего устройства; 6 - дифференциальный манометр; 7 - продувочный вентиль; 8 - газосборник; 9 - сужающее устройство
Рисунок Б.10
Б.2.3 Схемы установок разделительных сосудов при измерении расхода газа:
а) дифференциальный манометр расположен ниже сужающего устройства

1 - дифференциальный манометр; 2 - продувочный вентиль; 3 - сужающее устройство; 4 - запорный вентиль сужающего устройства; 5 - контролируемый газ; 6 - разделительная жидкость; 7 - уравнительный вентиль; 8 - разделительный сосуд
Рисунок Б.11
б) дифференциальный манометр расположен выше сужающего устройства

1 - сужающее устройство; 2 - запорный вентиль сужающего устройства; 3 - уравнительный вентиль; 4 - контролируемый газ; 5 - разделительная жидкость; 6 - разделительный сосуд; 7 - продувочный вентиль; 8 - дифференциальный манометр
Рисунок Б.12
(справочное)
СХЕМЫ ПРИСОЕДИНЕНИЯ ДИФМАНОМЕТРОВ
Чистый сухой газ

Рисунок B.1 - Дифманометр над трубопроводом
Чистый сухой газ

Рисунок В.2 - Дифманометр под трубопроводом
Чистый сухой газ

Рисунок В.3 - Дифманометр выше отверстий для отбора давления. Вертикальный трубопровод
Чистый сухой газ

Рисунок В.4 - Дифманометр ниже отверстий для отбора давления. Вертикальный трубопровод
Водяной пар и конденсирующийся газ

Рисунок В.5 - Дифманометр под трубопроводом
Водяной пар и конденсирующийся газ

Рисунок В.6 - Дифманометр под трубопроводом (вариант)
Конденсирующийся газ

Рисунок В.7- Дифманометр над трубопроводом
Примечание - Наклон двух соединительных трубок одинаков.
Конденсирующийся газ

Рисунок В.8 - Дифманометр ниже отверстий для отбора давления. Вертикальный трубопровод
Чистый влажный газ

Рисунок В.9 - Дифманометр под трубопроводом
Чистый влажный газ

Рисунок В.10 - Дифманометр под трубопроводом (вариант)
Чистый влажный газ

Рисунок В.11 - Дифманометр над трубопроводом (два варианта)
Чистый влажный газ

Рисунок В.12 - Дифманометр ниже отверстий для отбора давления. Вертикальный трубопровод
Примечания
1. Наклон двух соединительных трубок одинаков.
2. При измерении потока чистого влажного газа в вертикальных трубопроводах следует принимать во внимание опасность засорения отверстии для отбора давления.
Чистый влажный газ

Рисунок В.13 - Дифманометр выше отверстий для отбора давления. Вертикальный трубопровод (вариант)
Чистый влажный газ

Рисунок В.14 - Дифманометр выше отверстий для отбора давления. Вертикальный трубопровод (вариант)
Примечание - Наклон двух соединительных трубок одинаков.
Холодная жидкость

Рисунок В.15 - Дифманометр под трубопроводом
Холодная жидкость

Рисунок В.16 - Дифманометр над трубопроводом
Очень горячая жидкость

Рисунок В.17 - Вертикальный трубопровод
(справочное)
ПЛАНИМЕТРИРОВАНИЕ ДИАГРАММ И ОБРАБОТКА ПОКАЗАНИЙ
ИНТЕГРИРУЮЩИХ УСТРОЙСТВ
Г.1 Методы обработки диаграмм планиметрами
Г.1.1 При раздельных измерениях контролируемых параметров самопишущими средствами измерений для определения средних значений этих параметров за установленный промежуток времени применяют пропорциональные, корневые и полярные планиметры.
Г.1.2 Корневые и пропорциональные планиметры применяют для обработки записей значений контролируемых параметров на дисковых диаграммах.
Полярные планиметры применяют для обработки записей значений контролируемых параметров на ленточных диаграммах.
Г.1.3 В пропорциональных планиметрах результат планиметрирования пропорционален среднему значению радиуса записи в процентах, а в корневых планиметрах - среднему значению квадратного корня из радиуса записи в процентах верхнего предела измерений.
Полярным планиметром измеряют площадь фигуры (в квадратных сантиметрах), ограниченную контуром.
Г.1.4 Планиметрирование записей на диаграммах проводят в соответствии с описанием порядка работы, приведенным в прилагаемом к планиметру паспорте или инструкции.
Г.1.5 При планиметрировании незамкнутых записей на дисковых диаграммах или планиметрировании по частям замкнутой записи следят за тем, чтобы планиметрирование завершалось на том же уровне значения параметра, с которого оно начиналось. Если кривая записи обрывается на уровне, отличном от уровня контролируемого параметра, с которого начиналось планиметрирование, то по дуге времени доводят обводной штифт до начального уровня. При этом нет необходимости замыкать кривую записи контролируемого параметра.
Г.1.6 При планиметрировании записей ленточных диаграмм визир обводной лупы перемещают обязательно по замкнутому контуру: от нулевого (или нижнего предела измерений) значения контролируемого параметра перпендикулярно к оси времени до записи кривой его значения, по самой кривой, по перпендикуляру к оси времени и по оси времени к началу планиметрирования.
При этом следят, чтобы угол между рычагами планиметра находился от 30 до 150°.
Г.1.7 Отсчет показаний корневого и пропорционального планиметров снимают с лимба и барабана в виде трехзначного числа; для корневого планиметра - отделяя запятой первую цифру, для пропорционального - отделяя первые две цифры.
Отсчет по полярному планиметру записывают в виде четырехзначного числа: первую цифру берут по стрелке диска, вторую и третью считывают с барабанчика, четвертую - с нониуса.
Для большей достоверности результатов отсчета кривую записи планиметрируют несколько раз и за результат окончательного отсчета принимают среднее арифметическое значение этих отсчетов, если не были допущены грубые ошибки.
Практикой установлено, что достаточно трехкратного планиметрирования записей на дисковой диаграмме и двухкратного - для записей на ленточной диаграмме, если не были допущены грубые ошибки.
Г.1.8 В результате планиметрирования получают отвлеченные планиметрические числа Nп, Nк и Nл соответственно для показаний пропорционального, корневого и полярного планиметров.
Преобразование планиметрических чисел в значения контролируемых параметров зависит от функции преобразования контролируемого параметра средствами измерений в отклонение записывающего устройства и от типа применяемого планиметра.
Функция преобразования контролируемого параметра средствами измерений может быть квадратичной или линейной.
Функцию преобразования считают линейной, если отклонение пера самопишущего средства измерений пропорционально значению измеряемого параметра, и квадратичной, если отклонение пера пропорционально квадратному корню из значения измеряемого параметра.
Формулы для расчета средних значений параметров за время измерения τ (в часах) по результатам планиметрирования диаграмм приведены для средств измерений с линейной функцией преобразования в таблице Г.1, а для средств измерений с квадратичной функцией преобразования - в таблице Г.2.
В таблицах Г.1 и Г.2 в формулах для расчета
средних значений
,
,
величины pн, рин, Δрн
приняты равными нулю.
Таблица Г.1 - Формулы для определения параметра по результатам планиметрирования диаграмм средств измерений с линейной функцией преобразования
|
Формула расчета параметра при применении планиметров |
|||
|
корневого |
пропорционального |
полярного |
|
|
y |
|
|
|
|
p |
|
|
|
|
pи |
|
|
|
|
t |
|
|
|
|
Δp |
|
|
|
Таблица Г.2 - Формулы для определения параметра по результатам планиметрирования диаграмм средств измерений с квадратичной функцией преобразования
|
Формула расчета параметра при применении планиметров |
||
|
пропорционального |
полярного |
|
|
у0,5 |
|
|
|
Δр0,5 |
|
|
Если отклонение пера самопишущего средства измерений пропорционально квадратному корню из значения измеряемого параметра с увеличенным диапазоном его изменения, а планиметрирование записи на дисковой диаграмме проводят пропорциональным планиметром, то значение измеряемого параметра определяют по формуле
При расчете квадратного корня из перепада давления по результатам планиметрирования с помощью пропорциональных планиметров формула Г.1 принимает вид
(Г.2)
Г.1.9 Если значение параметра у (например р и Т) изменяется в широком диапазоне, а его определение связано с извлечением квадратного корня, то может возникнуть значительная дополнительная погрешность, обусловленная извлечением квадратного корня из среднего значения указанного параметра, которую рассчитывают по формуле (5.26).
Согласно требованиям 5.2.3 эту погрешность учитывают в общей погрешности измерений расхода и количества или принимают меры к ее уменьшению.
Для уменьшения дополнительной погрешности диаграммную
запись у разбивают на такие участки, где изменения у
незначительны. Эти участки планиметрируют отдельно, определяют
для каждого
участка, извлекают квадратный корень из
и затем вычисляют среднее значение
квадратного корня из значения измеряемого параметра по формуле
При этом разбивку проводят в случае измерений расхода
газа, как минимум, для двух параметров, у которых диапазон изменений
наибольший, таких как Δр и р или Δр и t,
а в формулу (Г.3)
вместо у подставляют у = Δрр или у = Δр/Т,
и полученное среднее значение
используют при определении количества
среды.
Г.1.10 Если запись периода колебаний укладывается на
участке длиной не более 5 мм и амплитуда пульсаций не превышает 7 % измеряемой
величины, то планиметрирование производят по средней линии; если амплитуда
пульсаций превышает 7 %, то планиметрирование выполняют по внутренней (
) и внешней (
) огибающим
линиям пульсаций. В последнем случае за результат планиметрирования принимают
среднее арифметическое значение квадратного корня из значения перепада давления
(Г.4)
Кроме того, в этом случае учитывают дополнительную погрешность, определяемую по формулам (Д.3) и (Д.4).
Если запись периода колебаний укладывается на участке длиной более 5 мм, то планиметрирование необходимо производить по линии записи контролируемого параметра.
Г.2 Определение параметра по показаниям интегратора
Г.2.1 Если средство измерений, указатель которого отклоняется пропорционально значению измеряемого параметра, содержит интегратор, то среднее значение этого параметра определяют по формуле
(Г.5)
где ΔNв = Nв2-Nв1 - разность показаний интегратора за время Δτ0 при установке верхнего значения контролируемого параметра ув;
ΔNу = Nу2-Nу1 - разность показаний счетчика за время осреднения τ для определяемого параметра у.
Г.2.2 Если средство измерений, указатель которого отклоняется пропорционально квадратному корню из значения измеряемого параметра, содержит интегратор, то среднее значение этого параметра определяют по формуле
(Г.6)
(справочное)
ОЦЕНКА ПОГРЕШНОСТИ ИЗМЕРЕНИЙ КОЛИЧЕСТВА СРЕДЫ ПРИ
НЕСТАЦИОНАРНОМ
РЕЖИМЕ ТЕЧЕНИЯ ПОТОКА
Д.1 Классификация режимов течения потока
Д.1.1 В зависимости от диапазона (амплитуды) и частоты изменения значений параметров потока, а также от динамических характеристик применяемых систем измерений этих параметров режимы течения потока условно разграничивают на следующие: стационарный, пульсирующий, переменный и нестационарный.
Д.1.2 Такое условное разграничение режимов течения потока обусловлено также нелинейной зависимостью количества среды от измеряемых параметров [9], значения которых изменяются во времени, и возникновением в этой связи дополнительной систематической погрешности, оценка значений которой приведена ниже.
Д.2 Стационарный режим течения
Д.3 Пульсирующий режим течения
Д.3.1 Пульсирующий режим течения - такое течение потока, при котором частота изменений параметров потока превышает пропускную частоту систем их измерений, т.е. эти системы не обеспечивают фиксирование мгновенных изменений параметров потока.
Под системами измерений параметров подразумевают камеры для отбора давления, соединительные (импульсные) линии для передачи давления, преобразователи, электрические линии связи, регистрирующие средства измерений.
Вследствие инерционности применяемых систем измерений
происходит осреднение значений измеряемых параметров, например
и
. Но квадратный
корень из средних значений
и
всегда больше среднего квадратного корня
из мгновенных значений Δр и ρ, т.е. возникает
положительная дополнительная систематическая погрешность.
Д.3.2 Если изменяющимися параметрами потока являются
и
, а изменениями
значений параметров С, ε, К можно пренебречь, то
дополнительную погрешность определения количества среды оценивают по формуле
(Д.1)
где
-
дополнительная систематическая погрешность определения количества среды;
-
вторая производная количества по измеряемым параметрам;
и
-
относительное изменение параметров потока: соответственно перепада давления на
диафрагме и плотности среды.
При
и ![]()
можно принять
(Д.3)
Формулы (Д.2) и (Д.3) соответствуют требованиям технического отчета ИСО 3313 [9], хотя в нем формула (Д.3) представлена в ином виде:
Результаты сравнения расчетов по формулам (Д.3) и (Д.4) приведены в таблице Д.1.
Таблица Д.1 - Результаты сравнения расчетов по формулам (Д.3) и (Д.4)
Технический отчет ИСО 3313 [9] допускает не учитывать
при
и
.
Согласно Д.2.1 погрешностью
можно пренебречь при
и
.
Допускается те или иные условия наличия пульсаций устанавливать договором на поставку среды.
Относительное изменение Δр должно соответствовать условию
(Д.5)
Д.3.3 Среднее значение измеряемого параметра
определяют
более чем за 10 периодов основной частоты его изменения при опросе более 100
мгновенных значений за период по формуле
(Д.6)
где уi - измеренное мгновенное неискаженное значение параметра потока;
n - общее количество измерений.
Дифференциал ду определяют как среднее квадратическое отклонение от среднего значения по формуле
(Д.7)
Д.3.4 В связи с небольшим количеством надежных работ по экспериментальному определению влияния пульсаций потока на точность определения количества среды зарубежные стандарты, в частности [10], рекомендуют снижать уровень пульсаций.
Д.3.5 Основными источниками пульсаций являются:
- поршневые перекачивающие нагнетатели или двигатели;
- недостаточно отлаженные насосы, изношенные клапаны или плохо настроенные регуляторы давления;
- скопление конденсата в газопроводах или газов в водопроводах, образование «пробок»;
- автоматический слив конденсата или удаление шлаков из сепараторов;
- тройники, заглушенные участки трубопроводов, образующие «свистки»;
- срыв вихрей с различного рода неровностей (швов, уступов, углов, не полностью закрытой запорной арматуры).
Д.3.6 Для борьбы с пульсацией рекомендуют принимать меры:
- по возможности устраняют источники пульсаций;
- по возможности удаляют газоизмерительный пункт (далее - ГИП) от оставшихся источников пульсаций;
- при прохождении потока по трубопроводу, заполненному частично или полностью жидкостью (конденсатом), предусматривают устройство для удаления этой жидкости;
- размещают ГИП до (по направлению течения среды) редуцирующих систем газораспределительных станций;
- при создании ГИП избегают прямоугольных колен и «карманов» (заглушенных отводов), в которых могут возникать отраженные волны;
- избегают изгибов ИТ непосредственно перед прямым участком;
- на прямом участке ИТ швы зачищают, а уступы делают минимально возможными;
- в качестве запорной арматуры на прямых участках ИТ используют равнопроходные шаровые краны;
- в процессе измерений на ГИП всю запорную арматуру полностью открывают;
- прямые участки ИТ выбирают как можно более короткими;
- соединительные линии делают по возможности короткими и одинаковыми по длине и диаметру;
- диаметры отверстий для отбора давления и соединительных линий делают как можно большими и равными между собой. Независимо от диаметра соединительной линии предпочтительны бескамерные угловой или фланцевый отборы давления;
- при использовании камерного углового отбора давления применяют симметричные камеры для отбора давления, имеющие минимальный объем внутренней полости;
- установку дроссельных прокладок в соединительных линиях не допускают;
- не допускают установку каких-либо емкостей в соединительных линиях;
- к одной паре соединительных линий (с плюсовой и минусовой сторон) подключают приборы, имеющие равные объемы рабочих полостей;
- применяют струе выпрямители типа «Шпренкель»;
- применяют балластные емкости, гидравлические (акустические) фильтры в ИТ;
- по возможности создают и поддерживают как можно больший (но допустимый) перепад давления на СУ.
Д.3.7 Если принятые меры не позволили снизить уровень пульсаций до допустимого (установленного) уровня, то в результат измерений вводят поправку на значение, определяемое по формуле
(Д.8)
где
-
значение количества измеряемой среды, определенное как для стационарного
процесса.
Д.4.1 Переменный режим течения - такое изменение параметров потока, при котором применяемые системы измерения обеспечивают фиксирование этих измерений, т. с. частота изменения параметров находится в полосе пропускания частоты систем измерения.
В этом случае быстродействие систем измерения обеспечивает измерения мгновенных значений параметров потока.
Д.4.2 Это обстоятельство имеет важное значение при определении количества газовых сред путем раздельного измерения параметров потока.
При осреднении значений параметров потока за отчетный промежуток времени возникает такая же дополнительная систематическая погрешность, как и при измерениях количества контролируемой среды при пульсирующем режиме течения.
Для уменьшения этой дополнительной систематической
погрешности применяют при обработке результатов измерений перепада давления на
СУ корнеизвлекающее устройство. В этом случае окончательный результат измерений
представляет собой значение среднего квадратного корня из мгновенного значения
перепада давления
.
В этом же случае возможно возникновение дополнительной систематической погрешности, связанной с изменением других параметров. Причем, как показали исследования, извлечение квадратного корня из значений других параметров не приводит к уменьшению дополнительной систематической погрешности.
В отличие от измерений пульсирующих потоков переменный режим течения может приводить как к положительной, так и к отрицательной дополнительной систематической погрешности.
Д.4.3 Если изменяющимися параметрами потока являются
,
и
, а
изменениями значений параметров С, ε и К можно
пренебречь, то оценку дополнительной систематической погрешности проводят по
формуле
(Д.9)
При
и ![]()
т.е. при
(Д.10)
формула оценки дополнительной систематической погрешности примет вид
(Д.11)
При
и 
т.е. при
(Д.12)
расчетная формула примет вид
где
,
,
-
относительные изменения значений параметров потока соответственно
,
и
.
При однократном изменении значений параметров за отчетный период
(Д.14)
(Д.15)
(Д.16)
Параметры, обозначенные индексами 1 и 2, соответствуют их значениям за время, соответственно равное τ1, и (τ2- τ1) при
τ1 = 0,5 τ2,
где τ2 - отчетный промежуток времени.
Д.4.4 При переменном режиме течения потока равенство промежутков времени τ1, и (τ2- τ1), в которых значения параметров потока допускается принимать постоянными, маловероятно.
Поэтому, если эти промежутки времени не равны между собой, то формула (Д.13) примет вид
где действительные средние значения параметров определяют по формулам:
(Д.19)
Д.4.5 Дополнительной систематической погрешностью определения количества среды при переменном течении потока можно пренебречь, если ее значение не превышает суммарной погрешности значений измеряемых параметров, т.е.
или
Д.4.6 Причинами возникновения переменных потоков могут быть:
- изменение режимов транспортирования газа (включение или отключение газоперекачивающих агрегатов);
- изменение режимов потребления газа в течение суток;
- изменение количества ИТ на ГИП и т.д.
Д.4.7 При раздельном измерении потока для уменьшения дополнительной систематической погрешности определяют количество газа за промежутки времени, в которых изменение параметров было незначительным, т.е. выполнялись условия (Д.20) или (Д.21).
Кардинальным решением этой проблемы является применение автоматических вычислительных измерительных комплексов. Вычислительные измерительные комплексы с частотой опроса и вычислений количества газа через 2 с обеспечивают исключение дополнительной систематической погрешности.
Д.4.8 Для того чтобы показать важность проблемы уменьшения дополнительной систематической погрешности, можно привести такой пример.
Рассмотрим участок газопровода с тремя компрессорными станциями КС1, КС2 и КС3. На входе и выходе КС2 размещены соответственно ГИП1 и ГИП2 (см. рисунок Д.1).
В какой-то момент времени τ1, на КС2 была отключена часть газоперекачивающих агрегатов. В результате этого на входе КС2 расход уменьшился, перепад давления также снизился, а давление возросло, так как КС1 продолжает работать в прежнем режиме и закачивает газ в трубу. На выходе КС2 расход тоже снизился, но снизилось и давление, так как КС3 работает в прежнем режиме и откачивает газ из трубы.
Если обработку результатов измерений на ГИП1 и ГИП2
проводят по осредненным значениям параметров за отчетный период τ2,
то возникает дополнительная систематическая погрешность. Осреднение проводят по
и р.
|
ГИП1 |
ГИП2 |
|
|
|
|
|
|
|
|
|
|
|
|
|
|
|
|
|
|
|
|
|
|
|
|
формула (Д.17) |
|
формула (Д.17) |
|
|
0,01 |
0,99 |
0,0099 |
0,98 |
0,569 |
0,061 |
0,596 |
-0,038 |
0,10 |
|
0,02 |
0,98 |
0,0196 |
0,96 |
0,578 |
0,119 |
0,604 |
-0,075 |
0,19 |
|
0,05 |
0,95 |
0,0475 |
0,90 |
0,604 |
0,277 |
0,629 |
-0,175 |
0,45 |
|
0,10 |
0,90 |
0,0900 |
0,80 |
0,648 |
0,489 |
0,670 |
-0,311 |
0,80 |
|
0,20 |
0,80 |
0,1600 |
0,60 |
0,736 |
0,765 |
0,753 |
-0,492 |
1,3 |
|
0,40 |
0,60 |
0,2400 |
0,20 |
0,912 |
0,926 |
0,918 |
-0,605 |
1,5 |
|
0,50 |
0,50 |
0,2500 |
0 |
1,000 |
0,880 |
1,000 |
-0,579 |
1,5 |
|
0,80 |
0,20 |
0,1600 |
-0,60 |
1,264 |
0,446 |
1,247 |
-0,297 |
0,74 |
|
0,90 |
0,10 |
0,0900 |
-0,80 |
1,352 |
0,234 |
1,330 |
-0,157 |
0,39 |
|
0,95 |
0,05 |
0,0475 |
-0,90 |
1,396 |
0,120 |
1,371 |
-0,080 |
0,20 |
|
0,98 |
0,02 |
0,0196 |
-0,96 |
1,422 |
0,049 |
1,396 |
-0,033 |
0,08 |
|
0,99 |
0,01 |
0,0099 |
-0,98 |
1,431 |
0,024 |
1,404 |
-0,016 |
0,04 |
Рисунок Д.1 - Схема участка трубопровода и расчет дополнительной систематической погрешности ГИП
Из расчета видно, что на входе КС2 расход завышен, так как изменение параметров происходит в противофазе (т.е. перепад давления N на СУ падает, а давление р возрастает), на выходе же КС2 расход занижен, так как параметры изменяются в фазе (т.е. и перепад давления N на СУ, и давление р снизились). В результате обнаружилась как бы потеря газа. В зависимости от отношения τ1/τ2 эта потеря может достигать значительных размеров (в примере потеря газа достигает 1,5 % при τ1/τ2 = 0,4-0,5).
Если же расчет количества газа провести раздельно за периоды τ1 и τ2-τ1, то можно убедиться, что потери газа отсутствуют.
При применении автоматических вычислительных измерительных комплексов потери газа снижаются до минимума, так как эти измерительные комплексы рассчитывают количество газа за малые промежутки времени, что видно из примера: если τ1/τ2 = 0,01, то потеря газа не превышает 0,10 %.
Д.5 Нестационарный режим течения
Д.5.1 Нестационарный режим течения - такое течение потока, при котором характер изменения значений параметров соответствует изменениям значений параметров как пульсирующего, так и переменного течения потоков.
Д.5.2 При нестационарном течении потока используют рекомендации п. Д.3 и Д.4.
(справочное)
ПРИМЕРЫ РАСЧЕТА КОЛИЧЕСТВА СРЕДЫ
E.1 Пример расчета суточного количества природного газа
Исходные, текущие и расчетные данные примера расчета количества природного газа приведены в таблицах E.1.1-Е.1.3.
Таблица E.1.1 - Исходные данные
|
Условное обозначение |
Единица физической величины |
Значение |
|
|
Данные постоянных за межповерочный интервал |
|||
|
1 Тип СУ |
Диафрагма с фланцевым отбором давления |
||
|
2 Диаметр отверстия диафрагмы при t = 20 °С |
d20 |
мм |
84,00 |
|
3 Внутренний диаметр прямого участка ИТ расположенного перед диафрагмой, при t = 20 °С |
D20 |
мм |
150,0 |
|
4 Эквивалентная шероховатость внутренней поверхности прямого участка ИТ (для новой трубы из стали) |
Rш |
мм |
0,1 |
|
5 Среднее значение коэффициента линейного расширения материала диафрагмы |
γ |
°С-1 |
9,8 · 10-6 |
|
6 Среднее значение коэффициента линейного расширения материала ИТ |
γ |
°С-1 |
12,2 · 10-6 |
|
7 Начальный радиус закругления входной кромки диафрагмы |
rн |
мм |
0,05 |
|
8 Верхний предел измерений перепада давления |
Δрв |
кгс/см2 |
0,25 |
|
9 Функция преобразования комплекта приборов для измерений перепада давления |
Линейная |
||
|
10 Верхний предел измерений избыточного давления |
рн.в |
кгс/см2 |
16 |
|
11 Верхний предел показания корневого планиметра |
Nк.в |
- |
5 |
|
12 Верхний предел показания пропорционального планиметра |
Nп.в |
- |
12 |
|
13 Период времени определения количества природного газа |
τ |
ч |
24 |
Таблица E.1.2 - Текущие данные за время измерения
|
Наименование параметра |
Условное обозначение |
Единица физической величины |
Значение |
|
1 Температура газа (по термометру в среднем за сутки) |
t |
°С |
2 |
|
2 Показание корневого планиметра после обработки записи перепада давления на диафрагме |
Nк |
- |
4 |
|
3 Показание пропорционального планиметра после обработки записи избыточного давления газа |
Nп |
- |
9 |
|
4 Барометрическое давление |
Рб |
мм рт. ст. |
700 |
|
5 Плотность газа при стандартных условиях |
ρс |
кг/м3 |
0,68 |
|
6 Содержание азота в природном газе |
Ха |
% |
1,0 |
|
7 Содержание углекислого газа в природном газе |
Ху |
% |
0,2 |
Таблица Е.1.3 - Расчетные данные
|
Условное обозначение |
Единица физической величины |
Источник и расчетная формула |
Результат расчета |
|
|
1 Квадратный корень из перепада давления на диафрагме |
|
(кгс/см2)0,5 |
ГОСТ 8.563.2, по таблице Г.1 |
0,4 |
|
2 Перепад давления на диафрагме |
Δр |
кгс/см2 |
ГОСТ 8.563.2, п. 8.3, перечисление б |
0,16 |
|
3 Абсолютная температура |
Т2) |
К |
ГОСТ 8.563.2, формула (6.3) |
275,15 |
|
4 Избыточное давление |
ри2) |
кгс/см2 |
ГОСТ 8.563.2, по таблице Г.1 |
12 |
|
5 Абсолютное давление |
р |
кгс/см2 |
ГОСТ 8.563.2, формула (6.2) |
12,95 |
|
6 Фактор сжимаемости при стандартных условиях |
Zс2) |
- |
ГОСТ 30319.3, (36) |
0,9981 |
|
7 Фактор сжимаемости при рабочих условиях |
Z2) |
- |
ГОСТ 30319.3, (19) |
0,9707 |
|
8 Коэффициент сжимаемости |
K |
- |
ГОСТ 30319.1, (7) |
0,9725 |
|
9 Плотность природного газа |
ρ |
г/м3 |
ГОСТ 30319.1, (6) |
9,3381 |
|
10 Вязкость природного газа |
μ |
Па · с |
ГОСТ 30319.1, (44) и (45) |
10,5 · 10-6 |
|
11 Показатель адиабаты природного газа |
κ |
- |
ГОСТ 30319.1, (28) |
1,31 |
|
12 Внутренний диаметр ИТ |
D |
мм |
ГОСТ 8.563.1, (В.2) |
150,0 |
|
13 Внутренний диаметр отверстия диафрагмы |
d |
мм |
ГОСТ 8.563.1, (В.4) |
83,985 |
|
14 Относительный диаметр СУ |
β2) |
- |
ГОСТ 8.563.1, (3.1) |
0,5600 |
|
15 Коэффициент скорости входа |
E2) |
- |
ГОСТ 8.563.1, (5.1) |
1,0531 |
|
16 Коэффициент расширения |
ε |
- |
ГОСТ 8.563.1, (8.10) |
0,9958 |
|
17 Поправочный коэффициент на притупление входной кромки диафрагмы |
Кп |
- |
ГОСТ 8.563.1, (В.37) |
1,0041 |
|
18 Коэффициент истечения |
С~ |
- |
ГОСТ 8.563.1, (8.8) |
0,6040 |
|
19 Приближенное значение коэффициента шероховатости при АRe = 0,5, так как условие (8.6) ГОСТ 8.563.1 не выполняется |
Кш |
- |
ГОСТ 8.563.1, (В.27) |
1,0009 |
|
20 Расход при С = С~ (КRe = 1) |
qC~2) |
м3/ч |
ГОСТ 8.563.2, формула (5.8) |
10115,7 |
|
21 Число Рейнольдса при С = С~ |
Re~2) |
- |
ГОСТ 8.563.2, (5.12) |
1,545 · 106 |
|
22 Поправочный коэффициент на число Рейнольдса |
KRe |
- |
ГОСТ 8563.1, (8.9) |
1,0008 |
|
23 Число Рейнольдса |
Re |
- |
ГОСТ 8.563.1, (5.12) |
1,546 · 106 |
|
24 Действительное значение коэффициента шероховатости |
К’ш |
- |
ГОСТ 8.563.1, В.3.2 |
1,0017 |
|
25 Расход природного газа при Re > 106 |
qc |
м3/ч |
ГОСТ 8.563.2, (5.8) |
10124 |
|
26 Количество природного газа за сутки |
Vc |
м3 |
ГОСТ 8.563.2, формула (5.23) |
242966 |
|
27 Удельная объемная теплота сгорания, высшая |
Hc |
МДж/м3 |
ГОСТ 30319.1, (52) |
36,88 |
|
28 Энергосодержание природного газа |
Eэ |
МДж |
ГОСТ 8.563.2, формула (5.24) |
8960583 |
1)Номера расчетных формул приведены в скобках.
2)В результаты расчета по ГОСТ 8.563.3 значения параметров не выведены
Е.2 Пример расчета количества перегретого пара
Исходные, текущие и расчетные данные примера расчета количества перегретого пара приведены в таблицах Е.2.1 - Е.2.3.
Таблица Е.2.1 - Исходные данные
|
Условное обозначение |
Единица физической величины |
Значение |
|
|
Данные постоянных за межповерочный интервал |
|||
|
1 Тип сужающего устройства |
Сопло ИСА 1932 |
||
|
2 Диаметр горловины сопла |
d20 |
мм |
69,789 |
|
3 Внутренний диаметр прямого участка ИТ, расположенного перед соплом |
D20 |
мм |
100,3 |
|
4 Материал СУ |
Сталь марки 12Х18Н10Т |
||
|
5 Материал трубопровода |
Сталь марки 12Х18Н9Т |
||
|
6 Эквивалентная шероховатость внутренней поверхности прямого участка ИТ (для новой трубы из стали) |
Rш |
мм |
0,1 |
|
7 Верхний предел измерений перепада давления |
Δрв |
кПа |
25 |
|
8 Функция преобразования прибора для измерений перепада давления |
Линейная |
||
|
9 Верхний предел измерений избыточного давления |
рн.в |
МПа |
4 |
|
10 Ширина диаграммной ленты |
lш |
см |
25 |
|
11 Верхний предел показания термометра |
tв |
°С |
400 |
|
12 Нижний предел показания термометра |
tн |
°С |
0 |
|
13 Верхний предел показания корневого планиметра |
Nк.в |
- |
7,5 |
|
14 Верхний предел показания пропорционального планиметра |
Nп.в |
% |
100 |
Таблица Е.2.2 - Текущие данные за время измерения
|
Наименование параметра |
Условное обозначение |
Единица физической величины |
Значение |
|
1 Период времени определения количества пара |
τ |
ч |
12 |
|
2 Показание полярного планиметра после обработки записи температуры |
Nл |
см2 |
475,0 |
|
3 Длина ленты с записью температуры |
l1 |
см |
20 |
|
4 Показание корневого планиметра после обработки записи перепада давления на диафрагме |
Nk |
- |
3 |
|
5 Показание пропорционального планиметра после обработки записи избыточного давления газа |
Nп |
% |
31,25 |
|
6 Барометрическое давление |
рб |
гПа |
1005 |
Таблица Е.2.3 - Расчетные данные
|
Условное обозначение |
Единица физической величины |
Источник и расчетная формула1) |
Результат расчета |
|
|
1 Температура пара |
t |
°С |
ГОСТ 8.563.2, по таблице Г.1 |
380 |
|
2 Абсолютная температура пара |
T2) |
К |
ГОСТ 8.563.2, формула (6.3) |
653,15 |
|
3 Среднее значение коэффициента линейного расширения материала сопла |
γ |
°С-1 |
ГОСТ 8.563.1, (В.5) |
1,78 · 10-5 |
|
4 Поправочный коэффициент на изменение диаметра СУ |
Кo2) |
- |
ГОСТ 8.563.1, (В.4) |
1,0064 |
|
5 Диаметр цилиндрической части отверстия сопла |
d |
мм |
ГОСТ 8.563.1, (В.4) |
70,237 |
|
6 Среднее значение коэффициента линейного расширения материала ИТ |
γ |
°С-1 |
ГОСТ 8.563.1, (В.5) |
1,78 · 10-5 |
|
7 Поправочный коэффициент на изменение диаметра ИТ |
Кт2) |
- |
ГОСТ 8.563.1, (В.2) |
1,0064 |
|
8 Внутренний диаметр ИТ |
D |
мм |
ГОСТ 8.563.1, (В.2) |
100,94 |
|
9 Относительный диаметр СУ |
β2) |
- |
ГОСТ 8.563.1, (3.1) |
0,6958 |
|
10 Избыточное давление пара |
pи2) |
МПа |
ГОСТ 8.563.2, по таблице Г.1 |
2,5 |
|
11 Абсолютное давление пара |
р |
МПа |
ГОСТ 8.563.2, формула (6.2) |
2,6005 |
|
12 Плотность пара |
ρ |
кг/м3 |
ГСССД 98 |
8,982 |
|
13 Вязкость пара |
μ |
Па · с |
ГСССД 6 |
23,5 · 10-6 |
|
14 Показатель адиабаты пара |
κ |
- |
1,29 |
|
|
15 Среднее значение квадратного корня из перепада давления |
|
кПа0,5 |
ГОСТ 8.563.2, по таблице Г.1 |
4,00 |
|
16 Среднее значение перепада давления |
|
кПа |
ГОСТ 8.563.2, по таблице Г.1 |
16,00 |
|
17 Коэффициент расширения |
ε |
- |
ГОСТ 8.563.1, (9.8) |
0,9950 |
|
18 Коэффициент скорости входа |
Е2) |
- |
ГОСТ 8.563.1, (5.1) |
1,1429 |
|
19 Приближенное значение коэффициента шероховатости при АRe = 0,5, так как условие (9.4) ГОСТ 8.563.1 не выполняется |
Кш |
- |
ГОСТ 8.563.1, (В.27) |
1,0023 |
|
20 Коэффициент истечения при числе Рейнольдса, стремящемся к бесконечности |
С~ |
- |
ГОСТ 8.563.1, (9.6) |
0,9389 |
|
21 Расход при С = С~ (КRe = 1) |
|
т/ч |
ГОСТ 8.563.2, формула (5.4) |
8,020 |
|
22 Число Рейнольдса при |
Re~2) |
- |
ГОСТ 8.563.2, формула (5.10) |
1,192 · 106 |
|
23 Поправочный коэффициент на число Рейнольдса |
KRe |
- |
ГОСТ 8.563.1, (9.7) |
0,9999 |
|
24 Число Рейнольдса |
Re |
- |
ГОСТ 8.563.1, (5.12) |
1,192 · 106 |
|
25 Действительное значение коэффициента шероховатости |
K’ш |
- |
ГОСТ 8.563.1, В.3.2 |
1,0046 |
|
26 Значение среднего расхода при Re > 106 |
qm |
т/ч |
ГОСТ 8.563.2, формула (5.4) |
8,020 |
|
27 Количество пара за 12 ч |
т |
т |
ГОСТ 8.563.2, п. 8.2, перечисление ц |
96,24 |
1)Номера расчетных формул приведены в скобках.
2)В результаты расчета по ГОСТ 8.563.3 значения параметров не выведены.
Е.3 Пример расчета количества воды
Исходные, текущие и расчетные данные примера расчета количества воды приведены в таблицах Е.3.1 - Е.3.3.
Таблица Е.3.1 - Исходные данные
|
Условное обозначение |
Единица физической величины |
Значение |
|
|
Данные постоянных за межповерочный интервал (0,5 года) |
|||
|
1 Тип сужающего устройства |
Диафрагма с угловым отбором давления |
||
|
2 Диаметр отверстия диафрагмы |
d20 |
мм |
91,23 |
|
3 Начальный радиус закругления входной кромки диафрагмы |
rн |
мм |
0,12 |
|
4 Внутренний диаметр прямого участка измерительного трубопровода, расположенного перед диафрагмой |
D20 |
мм |
300,0 |
|
5 Материал СУ |
Сталь марки 12Х18Н9Т |
||
|
6 Материал ИТ |
Сталь марки 20 |
||
|
7 Эквивалентная шероховатость внутренней поверхности прямого участка ИТ (для новой трубы из стали) |
Rш |
мм |
0,1 |
|
8 Верхний предел измерений перепада давления |
Δрв |
кПа |
25 |
|
9 Функция преобразования прибора для измерения перепада давления |
Квадратичная |
||
|
10 Абсолютное давление среды (условно-постоянная величина) |
р |
МПа |
0,4 |
|
11 Верхний предел показания термометра |
tв |
°С |
50 |
|
12 Нижний предел показания термометра |
tн |
°С |
-50 |
|
13 Верхний предел показания пропорционального планиметра |
Nп.в |
% |
100 |
Таблица Е.3.2 - Текущие данные за время измерения
|
Наименование параметра |
Условное обозначение |
Единица физической величины |
Значение |
|
1 Период времени определения количества воды |
τ |
ч |
24 |
|
2 Показание пропорционального планиметра после обработки записи температуры воды |
Nп |
- |
72,0 |
|
3 Показание пропорционального планиметра после обработки записи перепада давления на диаграмме |
Nп |
- |
75,0 |
Таблица Е.3.3 - Расчетные данные
|
Условное обозначение |
Единица физической величины |
Источник и расчетная формула1) |
Результат расчета |
|
|
1 Температура воды |
t |
°С |
ГОСТ 8.563.2, по таблице Г.1 |
22 |
|
2 Абсолютная температура |
T2) |
К |
ГОСТ 8.563.2, формула (6.3) |
295,15 |
|
3 Среднее значение коэффициента линейного расширения материала СУ |
γ |
°С-1 |
ГОСТ 8.563.1, (В.5) |
1,58 · 10-5 |
|
4 Поправочный коэффициент на изменение диаметра СУ |
Кo2) |
- |
ГОСТ 8.563.1, (В.4) |
1,0000 |
|
5 Диаметр цилиндрической части отверстия СУ |
d |
мм |
ГОСТ 8.563.1, (В.4) |
91,23 |
|
6 Среднее значение коэффициента линейного расширения материала ИТ |
γ |
°С-1 |
ГОСТ 8.563.1, (В.5) |
1,13 · 10-5 |
|
7 Поправочный коэффициент на изменение диаметра ИТ |
Кт |
- |
ГОСТ 8.563.1, (В.2) |
1,0000 |
|
8 Внутренний диаметр ИТ |
D |
мм |
ГОСТ 8.563.1, (В.2) |
300,0 |
|
9 Коэффициент скорости входа |
Е |
- |
ГОСТ 8.563.1, (5.1) |
1,0043 |
|
10 Относительный диаметр СУ |
β |
- |
ГОСТ 8.563.1, (3.1) |
0,3041 |
|
11 Плотность воды |
ρ |
кг/м3 |
ГСССД 98 |
997,9 |
|
12 Вязкость воды |
μ |
Па · с |
ГСССД 6 |
955 · 10-6 |
|
13 Среднее значение квадратного корня из перепада давления |
|
кПа0,5 |
ГОСТ 8.563.2, по таблице Г.2 |
3,75 |
|
14 Поправочный коэффициент на притупление кромки СУ |
Кп |
- |
ГОСТ 8.563.1, (В.37) |
1,0074 |
|
15 Поправочный коэффициент на шероховатость при выполнении условия (8.6) ГОСТ 8.563.1 |
Кш |
- |
ГОСТ 8.563.1, 8.3.1 |
1,0000 |
|
16 Коэффициент истечения при числе Рейнольдса, стремящемся к бесконечности |
С~ |
- |
ГОСТ 8.563.1, (8.8) |
0,5985 |
|
17 Расход при С = С~ (КRe = 1) |
|
т/ч |
ГОСТ 8.563.2, формула (5.4) |
75,49 |
|
18 Число Рейнольдса при |
Re~2) |
- |
ГОСТ 8.563.2, формула (5.10) |
9,321 · 104 |
|
19 Поправочный коэффициент на число Рейнольдса |
KRе |
- |
ГОСТ 8.563.1, (8.9) |
1,0015 |
|
20 Число Рейнольдса |
Re |
- |
ГОСТ 8.563.1, (5.12) |
9,335 · 104 |
|
21 Значение среднего расхода |
qm |
т/ч |
ГОСТ 8.563.2, п. 8.3, перечисление ф |
75,58 |
|
22 Количество воды за 24 ч |
т |
т |
ГОСТ 8.563.2, п. 8.3, перечисление ц |
1814 |
1)Номера расчетных формул приведены в скобках.
2)В результаты расчета по ГОСТ 8.563.3 значения параметров не выведены.
(информационное)
[1] ISO 2186-1973 (Е) Fluid flow in closed conduits - Connections for pressure signal transmissions between primary and secondary elements
[2] Кремлевский П. П. Расходомеры и счетчики количества. - Ленинград.: «Машиностроение» Ленинградское отделение, 1989
[3] Оленник Б. Н., Лаздина С. И., Лаздин В. П., Жагулло О. М. Приборы и методы температурных измерений. - М.: Изд-во стандартов, 1987
[4] ISO/TC 30/SC2/8 № н: 1990 Code of practice of ISO 5167
[5] ISO 6568: 1981 Natural gas - Simple analysis by gas chromatography
[6] ISO 6569- 1981 (Е) Natural gas - Rapid analysis by gas chromatography
[7] ISO 5168: 1978, Measurement of fluid flow - Evaluation of uncertainties
[8] ISO 3534: 1977 Statistics Vocabulary and symbols Bilingual edition
[9] Пистун Е. П. О погрешностях определения среднесуточного значения расхода газа, измеренного методом переменного перепада давления // Республиканский межведомственный научно-технический сборник. Контрольно-измерительная техника. - Львов: «Выща школа», 1985. - Вып. 37
[10] ISO/TC 3313: 1992 (Е) Measurement of pulsating fluid flow in a pipe by means of orifice plates, nozzles or Venturi tubes
Ключевые слова: расход, количество, расчет, среда, перепад давления, диафрагмы, сопла, трубы Вентури, сечение, погрешность, измерения