
ГОСУДАРСТВЕННЫЙ СТАНДАРТ СОЮЗА ССР
ДЕТАЛИ КРЕПЛЕНИЯ ТРУБОПРОВОДОВ
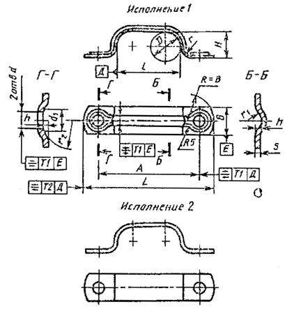
СКОБЫ ДВУХМЕСТНЫЕ
Конструкция и размеры
ГОСТ 24134-80
ИЗДАТЕЛЬСТВО СТАНДАРТОВ
Москва
ГОСУДАРСТВЕННЫЙ СТАНДАРТ СОЮЗА ССР
|
Детали крепления трубопроводов СКОБЫ ДВУХМЕСТНЫЕ Конструкция и размеры Pipe-line fastening parts. |
ГОСТ Взамен |
Постановлением Государственного комитета СССР по стандартам от 25 апреля 1980 г. № 1891 срок введения установлен
с 01.01.81
Ограничение срока действия отменено, ИУС II-12-94
1. Настоящий стандарт распространяется на двухместные скобы диаметром D от 4 до 110 мм.
2. Конструкция и размеры двухместных скоб должны соответствовать указанным на чертеже и в таблице.

Примечания:
1. Все размеры, кроме размеров В и s, обеспечиваются инструментом.
2. Отклонение от центра радиуса R относительно оси поверхности Е не должно быть более 1 мм.
Размеры, мм
|
D |
A ± 0,5 |
b ´ s для исполнений |
Н |
L |
d H14 |
d1 |
h |
l |
r |
r1 |
r2 |
Масса 1000 шт., кг, для исполнения |
Применяемость для исполнений |
||||
|
1 |
2 |
Номин. |
Пред. откл. |
1 |
2 |
1 |
2 |
||||||||||
|
4 |
26 |
16 ´ 1,0 |
16 ´ 1,6 |
3 |
42 |
5,8 |
9 |
1,0 |
8 |
±0,6 |
3 |
2 |
10 |
5,2 |
8,3 |
||
|
5 |
27 |
4 |
43 |
10 |
5,5 |
8,8 |
|||||||||||
|
6 |
32 |
16 ´ 2,0 |
5 |
48 |
12 |
6,2 |
12,4 |
||||||||||
|
8 |
34 |
6 |
50 |
16 |
6,7 |
13,4 |
|||||||||||
|
10 |
38 |
8 |
54 |
20 |
7,6 |
15,2 |
|||||||||||
|
12 |
42 |
10 |
58 |
24 |
8,5 |
17,0 |
|||||||||||
|
14 |
52 |
18 ´ 1,6 |
18 ´ 3 |
12 |
70 |
7,0 |
10 |
1,4 |
28 |
5 |
3 |
18,6 |
34,8 |
||||
|
16 |
56 |
14 |
74 |
32 |
20,0 |
37,4 |
|||||||||||
|
18 |
60 |
16 |
78 |
36 |
21,8 |
40,8 |
|||||||||||
|
20 |
65 |
18 |
83 |
41 |
23,6 |
44,1 |
|||||||||||
|
22 |
75 |
22 ´ 1,6 |
22 ´ 3 |
20 |
97 |
9,0 |
14 |
45 |
32,9 |
61,5 |
|||||||
|
25 |
85 |
22 |
104 |
55 |
36,6 |
68,4 |
|||||||||||
|
28 |
90 |
24 |
112 |
60 |
38,7 |
72,4 |
|||||||||||
|
32 |
100 |
28 |
122 |
70 |
43,2 |
80,8 |
|||||||||||
|
36 |
105 |
32 |
127 |
75 |
46,3 |
86,6 |
|||||||||||
|
40 |
120 |
30 ´ 2,0 |
30 ´ 3 |
35 |
150 |
2,0 |
85 |
6 |
4 |
16 |
92,2 |
138,3 |
|||||
|
45 |
130 |
40 |
160 |
95 |
100,7 |
151,0 |
|||||||||||
|
50 |
140 |
45 |
170 |
105 |
109,0 |
163,5 |
|||||||||||
|
55 |
150 |
50 |
180 |
11,0 |
16 |
115 |
±1,0 |
116,5 |
174,8 |
||||||||
|
60 |
160 |
55 |
190 |
125 |
124,8 |
187,2 |
|||||||||||
|
65 |
170 |
60 |
200 |
135 |
133,2 |
199,8 |
|||||||||||
|
70 |
185 |
- |
60 |
215 |
145 |
- |
- |
- |
209,8 |
||||||||
|
75 |
195 |
65 |
225 |
155 |
221,9 |
||||||||||||
|
80 |
215 |
30 ´ 4 |
70 |
245 |
13,0 |
- |
165 |
319,3 |
|||||||||
|
85 |
230 |
75 |
260 |
175 |
340,7 |
||||||||||||
|
90 |
240 |
80 |
270 |
185 |
357,6 |
||||||||||||
|
95 |
250 |
85 |
280 |
195 |
374,3 |
||||||||||||
|
100 |
200 |
90 |
290 |
205 |
391,2 |
||||||||||||
|
105 |
270 |
95 |
300 |
215 |
408,0 |
||||||||||||
|
110 |
280 |
100 |
310 |
225 |
424,8 |
||||||||||||
Пример условного обозначения двухместной скобы исполнения 1 D = 20 мм из стали марки 20 с покрытием Кд15.хр:
Скоба 1-20-20-Кд15.хр ГОСТ 24134-80
То же, исполнения 2 из стали марки 12Х18Н10Т с покрытием Хим. Пас.:
Скоба 2-20-12Х18Н10Т-Хим.Пас. ГОСТ 24134-80
3. Технические требования - по ГОСТ 24140-80.