
ГОСУДАРСТВЕННЫЙ СТАНДАРТ СОЮЗА ССР
АЭРОДРОМЫ
ДНЕВНАЯ МАРКИРОВКА ГРУНТОВЫХ АЭРОДРОМОВ
ГОСТ 25269-82
ГОСУДАРСТВЕННЫЙ КОМИТЕТ СССР ПО СТАНДАРТАМ
Москва
ГОСУДАРСТВЕННЫЙ СТАНДАРТ СОЮЗА ССР
|
АЭРОДРОМЫ Дневная маркировка грунтовых аэродромов Airfields. Day marking of unpaved airfields |
ГОСТ |
Постановлением Государственного комитета СССР по стандартам от 21 мая 1982 г. № 2033 срок введения установлен
с 01.07. 1983 г.
Настоящий стандарт устанавливает требования к дневной маркировке главных, запасных и вспомогательных грунтовых взлетно-посадочных полос (ГВПП), рулежных дорожек (РД), мест стоянок (МС) и перронов, а также назначение маркировочных знаков, их размеры, форму, цвет и расположение на грунтовых аэродромах.
1.1. Дневная маркировка грунтовых аэродромов предназначена для обеспечения безопасности при выполнении взлетно-посадочных операций и рулении воздушных судов и обязательна для аэродромов всех классов, определенных Строительными нормами и правилами (СНиП II-47-80) в зависимости от размеров аэродрома, категории нормативной нагрузки и ветровой загрузки летной полосы.
1.2. Дневная маркировка включает маркировку ГВПП, РД, МС и перронов. Она должна быть выполнена маркировочными знаками.
1.3. Изображения маркировочных знаков должны быть расположены навстречу движению воздушных судов так, чтобы обеспечить наилучшую их видимость и исключить возможность повреждения их транспортными средствами.
1.4. Цвет маркировочных знаков в зависимости от фона местности и района расположения должен быть постоянным для всех периодов года и иметь сочетание белого с красным (черным), красного с черным и желтого с красным (черным) цветом.
1.5. Если нет контрастности поверхности маркировочного знака с фоном местности, допускается изменять цвет маркировочных знаков.
2.1. Знак центра ГВПП (черт. 1) имеет форму круга и окрашен в желтый цвет. Устанавливают знак по обеим сторонам ГВПП на расстоянии 10 м от боковых границ с наклоном 45° к горизонту, изображением навстречу направлению посадки воздушного судна.
2.2. Границы ГВПП, РД, МС и перрона обозначают пограничными знаками (черт. 2) в виде усеченного конуса, призмы или флажка. Усеченный конус окрашивают чередующимися полосами красного и белого или черного и белого цвета. Нижняя полоса должна быть окрашена в красный или черный цвет. Призмы окрашивают в красный цвет.
Знак центра ГВПП
1 - знак; 2 - стойка
Черт. 1
Устанавливают пограничные знаки на расстоянии друг от друга 100-200 м - на ГВПП, 20-50 м - на РД, МС и перроне и в 1-5 м вдоль боковых границ.
На временных аэродромах класса Е и аэродромах, используемых в народном хозяйстве, в качестве пограничных знаков применяют флажки белого, красного и черного цвета в зависимости от времени года и фона местности, которые устанавливают на расстоянии 50 м друг от друга.
При оборудовании ГВПП для ночных полетов пограничные знаки устанавливают в 2-3 м от посадочных огней так, чтобы не закрывать их видимость.
2.3. Посадочный знак «Т» обозначает место приземления воздушного судна и состоит из двух сигнальных полотнищ размерами 5´1 м белого, красного и черного цвета в зависимости от фона местности, района расположения аэродрома и времени года.
Посадочный знак устанавливают к моменту производства полетов, слева по направлению посадки воздушного судна, на боковой полосе безопасности, в 3-15 м от края ГВПП и на расстоянии 50-200 м от ее начала в зависимости от класса аэродрома.
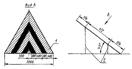
2.4. Знаки зоны приземления (черт. 3) служат для обозначения места приземления воздушных судов, имеют форму трехгранной призмы. В сечении знак имеет форму равностороннего треугольника.
Пограничные знаки
а - усеченный конус; б - призма; в - флажок
Черт. 2
Поверхность знака, видимую со стороны посадки, окрашивают на летний период в белый цвет, на зимний - в черный, противоположную сторону знака окрашивают в красный цвет. Допускается окрашивать знаки зоны приземления двумя чередующимися цветами черного и красного с обеих сторон. Устанавливают знаки зоны приземления по обеим сторонам ГВПП в 1-5 м от ее боковых границ на расстоянии 50-300 м от начала (конца) ГВПП.
Зона приземления может быть увеличена в зависимости от класса аэродрома и типа воздушного судна.
Знаки зоны приземления
Черт. 3
1 - место установки пограничного знака
Черт. 4
2.5. Угловые знаки (черт. 4) предназначены для обозначения и закрепления границ ГВПП. Устанавливают знаки по углам ГВПП, в центре которых устанавливают пограничный знак.
2.6. Осевые знаки концевой полосы безопасности (КПБ) обозначают направление КПБ и представляют собой равносторонний треугольник длиной стороны 3 м. Устанавливают знаки на КПБ на расстоянии 200 и 400 м от начала (конца) ГВПП.
2.7. Угловые и осевые знаки КПБ выполняют из слоя уплотненного щебня (гравия) толщиной 0,1-0,12 м, заподлицо с поверхностью грунта и окрашивают в белый цвет.
Входной знак
Черт. 5
2.8. Входные знаки (черт. 5) обозначают начало и конец ГВПП, имеют форму трехгранной призмы. В сечении знак имеет форму равнобедренного треугольника с основанием 1,2 м.
Поверхность знака с обеих сторон окрашивают чередующимися полосами черного и красного цвета. Крайние полосы окрашивают в черный цвет. Устанавливают знаки на линии начала (конца) ГВПП в 1-5 м от ее боковых границ.
2.9. Знаки боковых границ КПБ (черт. 6) представляют собой щит, закрепленный на стойках, или призму. Щит закрепляют на стойках так, чтобы высота знака от поверхности расчетного слоя снега до верхней грани щита составляла 1,4 м.
Поверхность щита со стороны посадки окрашивают в красный цвет с полосой белого цвета по диагонали, проведенной из нижнего левого угла в верхний правый. Призма должна быть окрашена полосами красного и белого цвета. Крайние полосы окрашивают в красный цвет.
Знаки устанавливают в 1-5 м от внешней боковой границы КПБ на расстоянии 400-1000 м от начала (конца) ГВПП через 100-200 м друг от друга.
Знаки боковых границ КПБ
1 - стойка
Черт. 6
2.10. Дневные ориентиры (черт. 7) обозначают продолжение оси ГВПП, имеют форму равностороннего треугольника и окрашивают чередующимися полосами красного и черного цвета, крайнюю полосу окрашивают в красный цвет. Устанавливают знаки по линии продолжения оси ГВПП на расстоянии 600-1200 м от ее начала (конца), через 200 м на протяжении 2000-4000 м, с наклоном к горизонту под углом 45°, в направлении посадки воздушного судна.
2.11. Знак РД (черт. 8) указывает направление и номер рулежной дорожки, представляет собой щит, который окрашивают с обеих сторон в желтый цвет и окаймляют полосой оранжевого (красного) цвета. В центре щита с обеих сторон наносят буквы РД и цифру, соответствующую номеру рулежной дорожки, которые окрашивают в оранжевый (красный) цвет. Устанавливают знаки перпендикулярно боковой границе ГВПП или РД напротив места сопряжения РД с ГВПП или другой РД, на расстоянии 1 м за линией установки пограничных знаков.
Дневные ориентиры
1 - крайняя полоса знака; 2 - стойки
Черт. 7
Рулежный знак
1 - стойки
Черт. 8
2.12. Знак МС (черт. 9) обозначает номер двух смежных стоянок, представляет собой сдвоенный щит, укрепленный на стойке.
Маркировочный знак МС
1 - стойка
Черт. 9
Знак окрашивают в желтый цвет и окаймляют полосой черного цвета. В центре щита наносят цифру черного цвета, которая соответствует номеру места стоянки воздушного судна. Устанавливают знак на расстоянии 2 м от боковых границ мест стоянок.
2.13. Ветроуказатель (черт. 10) предназначен для определения направления ветра, имеет форму усеченного конуса.
Окрашивают ветроуказатель чередующимися полосами шириной 0,2 м белого и черного или белого и красного цвета. Крайние полосы окрашивают в красный (черный) цвет.
Ветроуказатель должен быть хорошо виден со всех точек летного поля. Он должен быть свободен для ветров всех направлений и свободно вращаться вокруг своей оси. На временных аэродромах в качестве ветроуказателей допускается применять флажки белого и красного цвета размерами 1´0,75 м.
Конус-ветроуказатель
Черт. 10
2.14. Знак для обозначения опасных мест на летном поле вне пределов ГВПП (черт. 11) представляет собой трехгранную призму. В сечении призма имеет форму равностороннего треугольника.
Окрашивают знак белыми и красными квадратами размером 0,3´0,3 м, расположенными в шахматном порядке. Заштрихованные квадраты окрашивают в красный цвет.
Знак для обозначения опасных мест
Черт. 11
На временных аэродромах опасные места обозначают флажками красного цвета.
3.1. Наличие и отсутствие маркировочных знаков на грунтовых летных полосах должно соответствовать таблице.
|
Наименование маркировочного знака |
Наличие маркировочных знаков на грунтовой летной полосе |
Летные полосы, используемые в народном хозяйстве и класса Е |
||
|
главной |
вспомогательной |
запасной при наличии ИВПП |
||
|
для аэродрома класса |
||||
|
В, Г, Д |
А, Б, В, Г, Д |
|||
|
Знак центра полосы |
+ |
+ |
+ |
- |
|
Пограничный знак |
+ |
+ |
+ |
+ |
|
Посадочный знак «Т» |
+ |
+ |
+ |
+ |
|
Зона приземления |
+ |
+ |
+ |
- |
|
Угловой знак |
+ |
- |
- |
- |
|
Входной знак |
+ |
+ |
+ |
+ |
|
Знак боковых границ КПБ |
+ |
- |
- |
- |
|
Осевой знак КПБ |
+ |
- |
- |
- |
|
Дневные ориентиры |
+ |
- |
- |
- |
|
Знак РД |
+ |
+ |
+ |
- |
|
Знак МС |
+ |
+ |
+ |
- |
|
Ветроуказатель |
- |
- |
- |
+ |
Примечания:
1. Знак « + » означает наличие маркировочного знака; знак «-» означает отсутствие маркировочного знака.
2. ИВПП - искусственная взлетно-посадочная полоса.
3.2. Расположение маркировочных знаков на грунтовых летных полосах указано на черт. 12-15.
3.3. Места сопряжений РД с ГВПП, другими РД, МС и перроном обозначают сдвоенными пограничными знаками, которые устанавливают с каждой стороны РД.
РАСПОЛОЖЕНИЕ МАРКИРОВОЧНЫХ ЗНАКОВ НА ГЛАВНОЙ ГВПП
а) для ГВПП с постоянным положением оси (для работы в одну полосу)
б) для ГВПП с периодически меняющимся положением оси (для работы в несколько полос)

1 - знак центра полосы; 2 - пограничные знаки; 3 - посадочный знак «Т»; 4 - знак зоны приземления; 5 - угловой знак; 6 - входной знак; 7 - знак боковых границ КПБ (зон подхода); 8 - осевой знак КПБ; 9 - знак дневные ориентиры; 10 - ближний приводной радиомаркер; 11 - дальний приводной радиомаркер
Черт. 12
Примечание. Размеры приведены в метрах.
Расположение маркировочных знаков на запасной ГВПП

1 - знак центра ГВПП; 2 - пограничные знаки; 3 - посадочный знак «Т»; 4 - знаки зоны приземления; 5 - входной знак
Черт. 13
Расположение маркировочных знаков на вспомогательной ГВПП

1 - знак центра ГВПП; 2 - пограничные знаки; 3 - посадочный знак «Т»; 4 - знаки зоны приземления; 5 - входной знак
Черт. 14
Расположение маркировочных знаков на летных полосах, используемых в народном хозяйстве и класса Е
1 - пограничные знаки; 2 - посадочный знак «Т»; 3 - входной знак
Черт. 15
СОДЕРЖАНИЕ