ПРАВИТЕЛЬСТВО МОСКВЫ
КОМПЛЕКС АРХИТЕКТУРЫ, СТРОИТЕЛЬСТВА,
РАЗВИТИЯ И РЕКОНСТРУКЦИИ ГОРОДА
ТЕХНИЧЕСКИЕ РЕКОМЕНДАЦИИ
ПО ТЕХНОЛОГИИ ПРИМЕНЕНИЯ
КОМПЛЕКСНОЙ
СИСТЕМЫ МАТЕРИАЛОВ,
ОБЕСПЕЧИВАЮЩИХ КАЧЕСТВЕННОЕ
УПЛОТНЕНИЕ И ГЕРМЕТИЗАЦИЮ СТЫКОВ
СВЕТОПРОЗРАЧНЫХ КОНСТРУКЦИЙ
ТР 109-00
МОСКВА - 2000
Настоящие Технические рекомендации представляют собой практическое руководство для строительно-монтажных работ по технологии уплотнения и герметизации стыков сопряжений светопрозрачных конструкций со стенами зданий комплексной системой материалов при строительстве и ремонте.
Технические рекомендации разработаны ГУП «НИИМосстрой» (зав. лабораторией герметизации Е. Ф. Файфман) при участии российского представительства корпорации «Иллбрук» и ГУ «Мосстройлицензия» (Ю. П. Емельянов).
При использовании технических рекомендаций следует учитывать утвержденные изменения, внесенные в стандарты и технические условия на материалы, применяемые при проектировании, строительстве и ремонте стыков сопряжений светопрозрачных конструкций со стенами зданий с применением комплексной системы материалов.
Технические рекомендации предназначены для инженерно-технического персонала и рабочих-герметчиков, выполняющих работы по уплотнению и герметизации стыков сопряжений светопрозрачных конструкций со стенами зданий комплексной системой материалов при строительстве и ремонте.
Технические рекомендации согласованы с Техническим управлением АО ХК «Главмосстрой», АО ДСК-1.
|
Правительство Москвы Комплекс архитектуры, строительства, развития и реконструкции города |
Технические рекомендации |
ТР 109-00 Вводятся впервые |
1.1. Настоящие технические рекомендации предназначены для проектирования, строительства и ремонта стыков сопряжений светопрозрачных конструкций со стенами зданий с использованием комплексной системы материалов.
1.2. Настоящие технические рекомендации содержат требования, предъявляемые к производству работ по уплотнению и герметизации стыков сопряжений теплосберегающих светопрозрачных конструкций со стенами зданий, позволяющие обеспечить уменьшение оттока тепла из помещения через утепляющий слой и откос проема, а также исключить насыщение влагой стыка и появление плесени.
1.3. Работы по уплотнению и герметизации стыков сопряжений светопрозрачных конструкций со стенами зданий должны выполняться в соответствии с рабочими чертежами проекта, соответствующими главами СНиП и настоящими техническими рекомендациями.
Замена предусмотренных проектом материалов допускается только по согласованию с организацией-автором проекта.
Ремонтная герметизация стыков должна предусматриваться в рабочих чертежах проектов зданий или в проектах организации работ.
1.4. Уплотнение и герметизацию стыков должны выполнять рабочие-герметчики, прошедшие специальное обучение и имеющие удостоверение на право производства герметизационных работ.
|
Разработаны НИИМосстроем |
Утверждены: Начальник Управления экономической, научно-технической и промышленной политики в строительной отрасли А. И. Воронин 25 октября 2000 г. |
Дата введения в действие 1.01.2001 |
1.5. Работы по уплотнению и герметизации стыков следует выполнять в последовательности, предусмотренной типовыми технологическими картами возведения здания, в том числе полносборных зданий.
1.6. При всех тепловлажностных режимах помещений конструкции узлов сопряжений светопрозрачных конструкций со стенами зданий должны обеспечивать отсутствие конденсата, влаги и плесени.
1.7. Работы по уплотнению и герметизации стыков с использованием комплексной системы материалов не должны производиться при температуре наружного воздуха ниже -10 °С, при дожде, снеге, тумане. В отдельных случаях возможно применение данных материалов с использованием дополнительного оборудования для прогрева поверхностей.
1.8. Конструкция стыка должна обеспечивать:
- водонепроницаемость;
- заданную воздухопроницаемость окон и балконных дверей жилых, общественных и бытовых зданий и помещений в пластмассовых или алюминиевых переплетах не более 5 кг/(м2 · ч), а в деревянных переплетах не более 6 кг/(м2 · ч);
- теплоизолирующую способность;
- температурно-влажностный режим согласно СНиП II-3-79* и изменениям к нему.
1.9. В конструктивных решениях стыков сопряжений светопрозрачных конструкций со стенами зданий рекомендуется применять комплекс материалов, обеспечивающих качественное уплотнение и герметизацию стыков:
- уплотняющие и герметизирующие ленты;
- теплоизоляционные материалы (монтажные пены);
- вулканизующиеся герметики.
2.1. Российские материалы для уплотнения и герметизации стыков включают в себя:
- систему пенополиуретановую «Вилан-405» (ТУ 2254-204-21081385-96) или аналогичные отечественные монтажные пены;
- уплотнительную пористую ленту «Каскад» или аналогичные отечественные ленты;
- эпоксиуретановый герметик «Элур-Т» или аналогичные отечественные герметики.
2.2. Система пенополиуретановая «Вилан-405» (ТУ 2254-204-21081385-96)
Однокомпонентный пенный герметик на основе полиуретана. Благодаря мелкопористой структуре и относительно невысокой гигроскопичности подходят для заполнения стыков при монтаже окон, дверей, витражей и перегородок.
Продукт используют также при строительстве и ремонте для уплотнения и герметизации, тепло- и звукоизоляции стыков, пазов и щелей.
Технические данные:
- кажущаяся плотность 25-45 кг/м3
- разрушающее напряжение при растяжении, не менее 0,11 МПа
- относительное удлинение при разрыве, не менее 15 %
- разрушающее напряжение при сжатии, не менее 0,08 МПа
- адгезионная прочность к бетону, не менее 0,12 МПа
- теплопроводность 0,035 Вт/(м · К)
- теплостойкость, не менее 65 °С
- водопоглощение за 24 часа, не более 250 см3/м2
- температура эксплуатации от -40 °С до +60 °С
- рабочая температура (при температуре баллона
не ниже +10 °С) от -10 °С до +30 °С
- время образования поверхностной корочки, не более 20 мин.
- время полного отверждения, не более 3 час
2.3. Уплотнительная лента «Каскад»
Продукт состоит из прочной пористой резины шириной 10-15 мм с нанесенным с двух сторон клеящим слоем.
Материал применяют для уплотнения стыков ограждающих конструкций зданий:
- при монтаже оконных и дверных блоков;
- для уплотнения стыков примыкания оконных сливов, подоконников.
2.4. Герметик «Элур-Т»
Двухкомпонентная герметизирующая мастика «Элур-Т» (ТУ ЛГ 05799048-24-97) состоит из двух компонентов: основного и отверждающего. Мастика изготовлена на основе эпоксиуретанового каучука с добавлением пластификаторов, наполнителей, тиксотропных и других активных добавок.
Технические данные:
Жизнеспособность, ч, не менее при Т = 23+2 °С 5
Условная прочность в момент разрыва, МПа (кгс/см2), не менее 0,2 (2,0)
Относительное удлинение в момент разрыва на образцах-швах, %,
не менее 150
Характер разрушения Когезионный
Сопротивление текучести, мм, не более 2
Наносится шприцем или шпателем.
2.5. Для стыков с повышенными требованиями (коммерческое строительство) на период до освоения отечественных материалов применяется система уплотнения и герметизации стыков «Иллбрук», состоящая из комплекта материалов, который включает в себя:
- предварительно сжатую саморасширяющуюся уплотнительную ленту (ПСУЛ), устанавливаемую в стыке снаружи проема, которая защищает стык от атмосферных воздействий и одновременно обеспечивает испарение влаги из стыка наружу;
- пароизоляционные ленты, которые изолируют стык от проникновения в него влаги из воздуха изнутри помещения, а также исключают выход конденсата из стыка вовнутрь помещения и на откосы, препятствуют образованию плесени и грибка на внутренней поверхности стыка;
- влагозащитную ленту мембранного типа, которая изолирует стык под оконным сливом от проникновения наружной влаги и обеспечивает вентилирование стыка;
- полиуретановый герметик (монтажная пена), который качественно телоизолирует стык.
2.6. Уплотнительная саморасширяющаяся лента Illmod 2D (ПСУЛ - предварительно сжатая саморасширяющаяся уплотнительная лента) (Сертификат соответствия № ГОСТ Р DE. 9016.1.4.0133).
Эластичный ленточный герметик серого цвета на основе вспененного полиуретана, пропитан специальными составами. Применяется в строительстве и при ремонте для уплотнения различных фасадных стыков, между стенами и оконными рамами, дверными коробками; в наружных и внутренних четвертях оконных рам, при установке накладок и т.д. Одинаково пригоден для работы с профилями из ПВХ, металла и дерева.
Продукт имеет следующие преимущества:
- устойчивость к воздействию природных факторов;
- возможность использования ленты для стыков с неровными поверхностями;
- устойчивость к дождю и ветру под давлением до 600 Па;
- шов, выполненный из ленты, обеспечивает фильтрацию пара;
- возможность монтажа при температуре воздуха от минус 20 до плюс 35 °С.
Технические данные:
- теплопроводность 0,050-0,055 Вт/(м×С)
- класс огнестойкости В1 - трудносгораемый
- температура эксплуатации от -50 °С до +90 °С
- рабочая температура от -20 °С до +35 °С
- устойчивость к дождю и ветру до 600 Па;
- коэффициент проницаемости шва 0,1 мг/(м×ч×Па)
- совместимость с др. материалами совместим
Подбор требуемого сечения:
Товарные марки лент: 13/3-8, 15/5-12, 20/8-20; где:
число над дробью - ширина лент, в мм;
число под дробью - оптимальный зазор между уплотняемыми поверхностями от ... до ..., в мм.
2.7. Пароизоляционная бутилкаучуковая уплотнительная лента ILLTAPE Vlies Duo (Сертификат соответствия № ГОСТ Р DE. 9016.1.4.0132.).
Продукт изготовлен из эластичной массы бутилового каучука высокой степени клейкости серого цвета, с одной стороны обработан искусственным волокном и имеет самоклеящуюся крепежную полосу, посредством которой монтируется в скрытые места.
Ленту применяют для паронепроницаемого уплотнения сопряжения оконных рам и дверных коробок с конструкциями зданий, при оштукатуривании откосов.
По стороне, обработанной волокном, можно наносить штукатурку, краску, шпаклевку.
Товарные марки лент: 75×2,0, 100×2,0; 150×2,0; где
первое число- ширина лент в мм;
второе число - толщина лент в мм.
По согласованию можно заказать др. размеры.
Преимущества продукта следующие:
- высокая степень пароизоляции;
- качественная адгезия крепежной полосы к разным материалам;
- высокая клеящая способность бутилкаучука к различным поверхностям;
-лента совместима с акрилами, поликарбонатами и различными штукатурками.
Технические данные:
- содержание твердых частиц 100 %
- сопротивление паропроницанию 1,5
- рабочая температура от +5 до +40 °С
- температура эксплуатации от -40 до +80 °С
Требуемый размер подбирается в зависимости от ширины утеплительного слоя.
2.8. Пароизоляционная уплотнительная лента ILLDIF I (Сертификат соответствия № ГОСТ Р DE. 9016.1.4.0132).
Продукт состоит из алюминиевой фольги, армированной высокопрочной нитью, и выполнен в виде ленты, покрытой с одной стороны самоклеящимся слоем, с другой стороны имеющей полосу из бутилкаучука высокой клейкости.
Лента служит для пароизоляции и герметизации сопряжений элементов светопрозрачных конструкций между собой, а также для пароизоляции швов изнутри помещений между рамами окон и коробками дверей и наружными стенами, при «сухих» способах отделки откосов.
Преимущества продукта:
- высокая паронепроницаемость;
- простота монтажа благодаря клеящей способности слоя и полос;
- возможность выполнения любого вида отделки поверх ленты.
Технические данные:
- сопротивление паропроницанию 1,2
- клеящая способность бутила и самоклеящегося слоя 12 Н/25 мм
- температура эксплуатации от -40 до +100 °С
- температура применения от +5 до +50 °С
Товарные марки лент: 50, 70, 100, что обозначает ширину ленты в мм.
Подбор ленты по максимальной ширине зазора, соответственно: 25, 40, 70 мм.
2.9. Гидроизоляционная паропроницаемая лента IlldifA (Сертификат соответствия № ГОСТ Р DE.9016.1.4.0132).
Продукт состоит из прочной полиэстеровой ткани мембранного типа с двумя полосами из бутилкаучука высокой клейкости шириной 10 и 15 мм, нанесенными с одной стороны или с обеих сторон ленты.
Материал применяют для наружного уплотнения стыков ограждающих конструкций зданий:
- при монтаже оконных и дверных блоков;
- в панельных зданиях или подвесных фасадных конструкциях;
- для уплотнения стыков примыкания оконных сливов, подоконников;
- дверных порогов и других элементов.
Преимущества продукта:
- защищает шов от проникновения влаги;
- обеспечивает диффузионную паропроницаемость;
- благодаря клеящей способности бутилкаучука прост в монтаже.
Технические данные:
- сопротивление паропроницанию 0,005
- устойчивость к старению от УФ (на период монтажных работ) около 8 месяцев
- устойчивость к дождю и ветру 600 Па
- температура эксплуатации от -40 до +100 °С
- рабочая температура от +5 до +50 °С
Товарные марки: Е 50, Е 70, Е 100, где числа обозначают ширину лент в мм.
Подбор ленты по максимальной ширине (высоте) зазора, соответственно Illfoarn 1K 25, 45, 75 мм.
2.10. Полиуретановый пенный герметик (всесезонная монтажная пена) /Сертификат соответствия № ГОСТ Р DE.9016.1.4.0132/.
Профессиональный однокомпонентный пенный герметик на основе полиуретана. Благодаря мелкопористой структуре и низкой гигроскопичности, оптимально подходит для заполнения стыков при монтаже окон, дверей, витражей и перегородок.
Продукт используют также при строительстве и ремонте для уплотнения и герметизации, тепло- и звукоизоляции стыков, пазов и щелей; может применяться в качестве монтажного материала для изоляции и приклеивания легких отделочных элементов.
Технические данные:
- теплопроводность 0,025-0,030 Вт/(м×К)
- прочность при растяжении 150 кПа
- удлинение при растяжении 15 %
- прочность на сжатие 60 кПа
- водопоглощение 0,3 %
- температура эксплуатации -40 °С до +90 °С
- рабочая температура (при температуре баллона
не ниже +10 °С) от -10 °С до +35 °С
- плотность 25-30 кг/м3
2.11. Уплотняющие и герметизирующие материалы должны удовлетворять следующим основным требованиям:
- обеспечивать воздухо- и водонепроницаемость стыков и соединений;
- не вызывать коррозию металлических конструкций;
- сохранять пластичность или эластичность, позволяющую компенсировать температурные и другие изменения в элементах герметизируемых конструкций без разрыва материала и отслаивания его от конструкции;
- отвечать санитарно-гигиеническим требованиям;
- обладать удобоукладываемостью при механизации процессов сборки конструкций и уплотнения стыков.
2.12. Уплотнительные и герметизирующие ленты должны быть озоно-, свето-, морозостойкими и восстанавливать в течение нескольких минут первоначальную форму.
2.13. Уплотняющие и герметизирующие материалы должны храниться в сухих отапливаемых, вентилируемых закрытых помещениях с соблюдением требований ГОСТов на эти материалы и в соответствии с правилами пожарной безопасности. По истечении срока хранения, материалы допускаются к использованию только после повторных испытаний при условии их соответствия требованиям ГОСТов.
Каждая партия материала должна иметь паспорт (сертификат) завода-изготовителя, который сохраняется и впоследствии прикладывается к акту приемки работ.
2.14. Уплотняющие и герметизирующие материалы должны поступать на строительную площадку в комплекте в сопровождении технической документации. Использование материалов допускается только в пределах срока годности, указанного в НТД.
Перевозить и хранить уплотняющие и герметизирующие материалы разрешено только в заводской упаковке.
3.1. На все системы должна быть разработана следующая документация:
- проектное решение в составе АСЧ;
- проект производства работ с использованием СНиПов, ВСН и типовых технических карт.
3.2. Для обеспечения качества следует применять технологии, обеспечивающие качественную герметизацию и теплоизоляцию стыков светопрозрачных конструкций со стенами зданий, что контролируется входным и пооперационным контролем качества.
3.3. При остеклении проемов необходимо предусматривать установку оконных блоков с применением обвязки блока к четверти конструкции, причем зазор между четвертью и обвязкой должен быть в пределах 10-15 мм.
3.4. Узлы сопряжений (примыканий) элементов светопрозрачных ограждений со строительными конструкциями следует разрабатывать с учетом их циклических деформаций в течение всего периода эксплуатации под воздействием ветровой нагрузки и изменений наружной температуры, а также под воздействием вибрационных и других динамических нагрузок.
3.5. Конструкции узлов сопряжений светопрозрачных конструкций со стенами зданий должны обеспечивать отсутствие конденсата, влаги и плесени (рис. 1, 2).
4.1. Основные операции по уплотнению и герметизации стыков едины как при строительстве, так и при ремонте, с некоторым отличием при производстве работ в осенне-зимний период, а при ремонте - в отапливаемых или не отапливаемых зданиях.
4.2. С использованием отечественных материалов
4.2.1. Технологический процесс уплотнения и герметизации стыков состоит из следующих основных операций:
- подготовка проема и монтируемой конструкции;
- заготовка по размерам уплотнительных лент;
- крепление уплотнительных лент по периметру оконного блока;
- установка (монтаж) и механическое крепление конструкции заполнения проема;
- установка слива из оцинкованной стали;
- заполнение полостей стыков пеной;
- нанесение герметика;
- установка подоконной плиты.

Рис. 1. Схема установки оконного блока в проемы стеновой панели наружных стен:
1 - гвоздь, забитый в заранее просверленное отверстие диаметром 3,5 мм; 2 - наличник; 3 - Вилан-405; 4 - окраска откосов; 5 - декоративная круглая заглушка; 6 - оконная коробка; 7 - герметик; 8 - слив из оцинкованной стали; 9 - дюбель гвоздь с шайбой; 10 - шуруп, завинченный в просверленное отверстие диаметром 4 мм; 11 - деревянная пробка в панели; 12 - цементный раствор; 13 - плита подоконная асбестоцементная экструзионная.
Примечание. По периметру оконного блока уплотнить резиновой клеящей лентой.

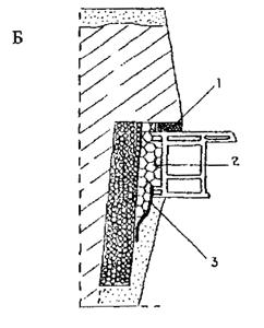
А. При «сухом» способе отделки откоса:
1 - лента уплотнительная саморасширяющаяся; 2 - полиуретановый герметик (монтажная пена); 3 - лента пароизоляционная уплотнительная

Б. При оштукатуривании откоса:
1 - лента уплотнительная саморасширяющаяся; 2 - полиуретановый герметик (монтажная пена); 3 - лента пароизоляционная уплотнительная

В. Уплотнение нижнего стыка:
1 - лента гидроизоляционная паропроницаемая; 2 - лента пароизоляционная уплотнительная
Рис. 2. Варианты стыков сопряжений светопрозрачных конструкций со стенами зданий
4.2.2. Подготовка проема и монтируемой конструкции
Внутренние поверхности проема и внешние поверхности рамы (коробки) монтируемой конструкции следует очистить от наплывов раствора, пыли и грязи, для чего используют металлическую щетку, ветошь, губку или любой обтирочный материал. Масляные поверхности следует обезжирить. При минусовой температуре окружающей среды поверхности очищают от снега, льда и инея.
При ремонте необходимо восстановить целостность элементов стыков и фасадов, что включает в себя восстановление водозащитной функции противодождевого гребня, целостности «зуба», углов и граней панелей. Поверхности в местах контакта восстанавливаемой части и бетона панели следует обработать 20 % раствором эмульсии ПВА в воде или цементным молоком. Замоноличивание восстанавливаемых участков необходимо производить полимерцементными составами.
При хранении и транспортировке конструкций в осенне-зимний период перед монтажом их следует выдержать при комнатной температуре не менее 12 часов. При монтаже в осенне-зимний период в неотапливаемых зданиях для конструкций из ПВХ и алюминия следует предусматривать увеличение зазора в стыках, из расчета 2 мм на 1 пог. м длины и высоты внешних размеров изделия.
Если в проеме стены отсутствует четверть, то ее следует создать в соответствии с проектом.
4.2.3. Заготовку по размерам уплотнительных лент следует выполнять на разделочном столе, доске или др. ровной чистой поверхности, или по месту непосредственно из ролика, при этом к требуемому размеру (для вертикальных стыков это полная высота проема, для горизонтального потолочного - ширина проема «в свету» плюс 5 мм) прибавляют 1 см, а при поверхности по кирпичной кладке с расшивкой швов - 1 см на пог. м кладки. Ленты по длине раскраивают для потолочного стыка по размеру проема между вертикальными откосами, для вертикальных стыков - от потолочного откоса до низа проема. Ролик уплотнительной ленты освобождают от упаковочной клейкой ленты. Затем от материала отделяют с двух сторон защитную ленту, примерно на 3-4 см (для удобства выдерживается опережение отслоения защитной ленты от материала до полного использования ролика).
4.2.4. Крепление уплотнительных лент по периметру оконного блока выполняют в следующей последовательности:
- крепление этой ленты следует выполнять к наружной поверхности рамы (коробки), для чего следует обеспечить точность ее размещения, так чтобы лента не оказалась за внешней гранью четверти проема; ленту устанавливают вначале на оба вертикальных стыка и затем на горизонтальные стыки;
- приклеивать ленту необходимо так, чтобы внутренний край клеящегося слоя совпал с гранью рамы;
- единым условием является требование крепления внутреннего клеящего слоя на раму конструкции на ширину не менее 10 мм.
- при наклеивании уплотняющих и герметизирующих лент на стыки запрещается вытягивать ленту. Наклеивать и прикатывать ленту следует так, чтобы поверхность ленты была ровной, без складок, вздутий и воздушных пузырей. Лента должна плотно приклеиваться к кромкам, повторяя конфигурацию поверхности стыков.
4.2.5. Установка (монтаж) и механическое крепление конструкции заполнения проема.
Монтаж оконных и балконных блоков производится в цехе завода ЖБИ. Следует снять створки с петель. Сначала вставить коробку в проем, не закрепляя. Оценить соответствие ее внешних габаритов проему, отметить на раме положение пробок и границ четверти и подобрать по уровню инвентарные клинья, после чего коробку установить в проем на клиновидные подпорки, а также расклинить по периметру проема. Просверлить отверстия в коробках и пробках.
Коробки, установленные в проем, крепятся к закладным деревянным пробкам гвоздями с антикоррозийным покрытием. Гвозди следует забивать в заранее просверленные отверстия в пробках.
4.2.6. Установка слива из оцинкованной стали.
Сливы из оцинкованной стали устанавливаются до заполнения зазоров пенополиуретаном «Вилан-405» и до полного его отверждения.
Вертикальный отгиб слива заводится под оконную (дверную) коробку на глубину 8-10 мм так, чтобы он зацепился за коробку.
Сливы крепить в торцах к вертикальным откосам панели с помощью дюбель-гвоздя с шайбой. Для комплектов с балконной дверью оконный слив крепится в торце к вертикальному откосу панели, а второй конец пристреливается к подоконной плоскости панели также дюбель-гвоздем с шайбой.
В проемах шириной более 1200 мм следует предусмотреть промежуточное крепление к подоконной плоскости панели либо в середине слива по длине, либо в двух местах, т.е. 1/3 длины слива.
4.2.7. Заполнение полостей стыков пеной.
В технологии монтажа светопрозрачных конструкций этап заполнения полости стыка пеной является наиболее ответственным, так как при этом обеспечиваются теплоизоляционные качества шва и его долговечность.
Для качественной заделки стыка необходимо обеспечить равномерное заполнение стыка пенополиуретаном «Вилан-405» на всю глубину. Допускается оставлять незаполненным зазор в стыке, если его глубина со стороны наличника не превышает 15 мм. Для предотвращения выхода пенопласта с наружной стороны стыка оконного (дверного) блока напыление «Вилан-405» необходимо производить после проверки соответствия величины зазора (с наружной стороны) между стеновой панелью и блоком требуемым размерам. Величина зазора должна быть не более 2 мм.
4.2.8. Нанесение герметика.
Перед установкой подоконной плиты следует сначала нанести на торцы в месте контакта с оконной коробкой и откосами слой качественного герметика с помощью шпателя или шприца.
4.2.9. Установка подоконной плиты.
После нанесения герметика следует поставить подоконную плиту на слой цементного раствора марки не менее М 150.
Затем необходимо закрепить подоконную плиту шурупами, которые ставятся в заранее просверленные отверстия в местах расположения деревянных пробок, предусмотренных в панелях.
4.3. С использованием комплексной системы материалов «Иллбрук»
4.3.1. Технологический процесс уплотнения и герметизации стыков состоит из следующих основных операций:
- подготовка проема и монтируемой конструкции;
- заготовка по размерам уплотнительных лент;
- крепление ПСУЛ и пароизоляционных лент;
- установка (монтаж) и механическое крепление конструкции заполнения проема;
- установка мембранной ленты под слив;
- заполнение полостей стыков пеной;
- крепление пароизоляционных лент.
4.3.2. Подготовка проема и конструкции.
Внутренние поверхности проема и внешние поверхности рамы (коробки) монтируемой конструкции следует очистить от наплывов раствора, пыли и грязи, для чего используют металлическую щетку, ветошь, губку или любой обтирочный материал. Масляные поверхности следует обезжирить. При минусовой температуре окружающей среды поверхности очищают от снега, льда и инея.
При ремонте необходимо восстановить целостность элементов стыков и фасадов, что включает в себя восстановление водозащитной функции противодождевого гребня, целостности «зуба», углов и граней панелей. Поверхности в местах контакта восстанавливаемой части и бетона панели следует обработать 20 % раствором эмульсии ПВА в воде или цементным молоком. Замоноличивание восстанавливаемых участков необходимо производить полимерцементными составами.
При хранении и транспортировке конструкций в осенне-зимний период перед монтажом их следует выдержать при комнатной температуре не менее 12 часов. При монтаже в осенне-зимний период в неотапливаемых зданиях для конструкций из ПВХ и алюминия следует предусматривать увеличение зазора в стыках, из расчета 2 мм на 1 пог. м длины и высоты внешних размеров изделия.
Если в проеме стены отсутствует четверть, то ее следует создать в соответствии с проектом.
4.3.3. Заготовку саморасширяющихся лент ПСУЛ по размерам следует выполнять на разделочном столе, доске или др. ровной чистой поверхности, или по месту непосредственно из ролика, при этом к требуемому размеру (для вертикальных стыков это полная высота проема, для горизонтального потолочного - ширина проема «в свету» плюс 5 мм) прибавляют 1 см, а при поверхности по кирпичной кладке с расшивкой швов - 1 см на пог. м кладки. Пароизоляционные ленты по длине раскраивают для потолочного стыка по размеру проема между вертикальными откосами, для вертикальных стыков - от потолочного откоса до низа проема. Ролик саморасширяющейся ленты ПСУЛ освобождают от упаковочной клейкой ленты. Затем от материала отделяют бумажную защитную ленту, примерно на 3-4 см (для удобства выдерживается опережение отслоения защитной ленты от материала до полного использования ролика), и от материала отрезается 1 см прессованного начала ленты. При этом рез выполняется по защитной ленте. Заготовку по размерам других лент выполняют в таком же порядке, обеспечивая отслоение защитных ленточек с опережением на 3-4 см.
4.3.4. Установку лент выполняют в следующей последовательности:
- первой на внутреннюю поверхность четверти проема крепят ПСУЛ самоклеящейся стороной ленты, отступая на 2-3 мм от внешней грани. Крепление этой ленты можно выполнять к наружной поверхности рамы конструкции, для чего следует обеспечить точность ее размещения, так чтобы лента не оказалась за внешней гранью четверти проема, ПСУЛ устанавливают вначале на оба вертикальных стыка и затем на горизонтальный потолочный стык;
- следующей устанавливают пароизоляционную ленту; при отделке откосов проема штукатурным раствором используют бутилкаучуковую ленту, которая крепится посредством самоклеящейся монтажной полоски (как правило защищаемой ленточкой желтого цвета), расположенной на поверхности обработанной волокном, к наружной поверхности рамы (коробки), с внутренней стороны по вертикали и потолочной горизонтали, так чтобы внутренний край клеящегося слоя совпал с внутренней гранью рамы; лента, защищающая бутилкаучуковый слой, не снимается, для удобства последующих операций лента по разрезу защитной полоски загибается вовнутрь рамы. При «сухой» отделке откоса используют пароизоляционную ленту из алюминиевой фольги, которая бутилкаучуковой монтажной полоской крепится к внутренним вертикальным и потолочной поверхностям откоса, при этом бумажная полоса, защищающая клеящий слой, не снимается. Возможны другие варианты установки этой ленты в зависимости от материала поверхности откоса, однако единым условием является требование крепления внутреннего клеящего слоя на раму конструкции на ширину не менее 10 мм. Выполняя работы при температуре окружающей среды ниже плюс 5 °С ленты с бутилкаучуковыми монтажными полосками следует хранить в термошкафу будки герметчиков. Температура ленты должна быть в пределах от +25 до -30 °С. Пароизоляционную ленту под подоконную доску следует устанавливать в зависимости от проектного решения узла примыкания подоконной доски к самой конструкции заполнения проема, что возможно и после заполнения стыка пенным материалом.
4.3.5. Следующим этапом является установка конструкции по месту в соответствии с проектом и крепление монтажными элементами напостоянно.
4.3.6. Гидроизоляционную мембранную ленту под слив устанавливают после постоянного закрепления конструкции в проеме, крепят ее к элементу нижнего профиля рамы или дополнительному проставочному профилю, в зависимости от проектного решения; заделка углов должна быть особо тщательной, для чего концы ленты на длину 4-5 см подрезают по внутреннему краю широкой монтажной полоски, заводят их на вертикальную поверхность четверти проема или откоса и перекрывают в горизонтальном направлении узкой монтажной полоской.
4.3.7. При наклеивании уплотняющих и герметизирующих лент на стыки запрещается вытягивать ленту. Наклеивать и прикатывать ленту следует так, чтобы поверхность ленты была ровной, без складок, вздутий и воздушных пузырей. Лента должна плотно приклеиваться к кромкам, повторяя конфигурацию поверхности стыков.
4.3.8. В технологии монтажа светопрозрачных конструкций этап заполнения полости стыка пеной является наиболее ответственным, так как при этом обеспечиваются теплоизоляционные качества шва и его долговечность.
В целях обеспечения качества утепляющего слоя и экономичного расходования пенного утеплителя при плюсовых температурах окружающей среды, внутреннюю полость стыка и пространство вокруг следует увлажнить, затем с пароизоляционных лент снимают защитные бумажные полосы. Ранее это делать не следует, т.к. при увлажнении открытых лент теряются клеящие свойства их поверхностей. Баллон с пенным составом перед заполнением стыка следует тщательно встряхнуть до образования внутри него однородной массы, при этом температура баллона и его содержимого не должна быть менее плюс 10 °С.
Пена наносится по всему периметру проема в глубину стыка равномерным слоем толщиной не более 35-40 мм с учетом ее способности вторичного расширения, что исключает излишний расход и трудозатраты при удалении излишков, а также обеспечивает сохранность изоляционной прочной пленки на ее поверхности и продлевает срок эксплуатации. Рациональный уровень заполнения стыка следует отработать предварительным тестом (пробным заполнением стыка или его имитации) с целью определения расширяющихся свойств пены именно в данных условиях окружающей среды. При значительной глубине и ширине стыков пену следует вносить послойно, с интервалом не менее 10 минут и с повторным увлажнением.
4.3.9. При соблюдении вышеназванных условий, не ожидая полного расширения пены, возможно наклеивание липких пароизоляционных лент. Важным является плотное крепление к поверхностям откоса, что достигается применением специального прижимного ролика или шпателя.
Уплотнение лент по углам проема выполняют внахлест горизонтальных лент на вертикальные.
5.1. Контроль осуществляется на стадиях входного, пооперационного контроля работ и после завершения работ оформлением актов скрытых работ и приемки закопченных работ, актом фасадных работ.
5.2. Строительная лаборатория должна регулярно проводить контроль качества применяемых материалов на их соответствие НТД в момент поступления и в процессе хранения.
5.3. Работы по уплотнению и герметизации стыков сопряжений светопрозрачных конструкций со стенами зданий с использованием комплексной системы материалов должны выполняться под пооперационным контролем технического персонала и периодическим контролем лаборатории.
5.4. Контроль качества работы осуществляется визуально в 2 этапа. Первый этап - непосредственно после завершения работ, при этом проверяется качество приклеивания лент к откосу или конструкции. Второй этап - через сутки, что диктуется свойствами пенного материала. Дефекты устраняются по месту.
5.5. Контроль качества работ по уплотнению и герметизации стыков комплексной системой материалов осуществляется пооперационной проверкой:
- качества подготовки поверхности кромок в стыках;
- качества приклеивания ленты: поверхность ленты должна быть без складок, вздутий и воздушных пузырей; лента должна быть плотно приклеена без пропусков;
- качества нанесения монтажной пены.
5.6. Контроль адгезии (сцепления) лент с кромками стыков выполняется с помощью металлического шпателя или ножа, которым край ленты подрезается и отделяется от кромок с помощью динамометра и специального захвата. При удовлетворительном сцеплении происходит разрыв по ленте без отслаивания от кромок. Допускается отслаивание ленты от кромок при нагрузке не менее 1,5 кгс/см2.
5.7. Приемку выполненных работ следует сопровождать осмотром всех уплотненных и загерметизированных стыков с выборочными контрольными замерами. По завершении контроля производится запись в журнале операционного контроля с участием Заказчика и авторского надзора.
По завершении приемки отремонтированных стыков составляется акт, который должен быть подписан представителями организации, производившей ремонт, проектной, научной и эксплуатирующей организациями и использован в дальнейшем для подготовки акта фасадных работ.
6.1. При производстве работ по уплотнению, герметизации и ремонту стыков должны соблюдаться требования СНиП III-4-80* «Техника безопасности в строительстве», «Правил пожарной безопасности при производстве строительно-монтажных работ» (утвержденных ГУПО МВД СССР от 26.02.86 г.) и настоящих Технических рекомендаций.
6.2. Рабочие, выполняющие герметизацию, должны:
- быть обучены безопасным и прогрессивным приемам выполнения соответствующих операций технологического цикла;
- быть проинструктированы о свойствах материалов и мерах пожарной безопасности;
- иметь наряд-допуск на производство этих работ, а до их начала быть проинструктированы по технике безопасности на рабочем месте.
6.3. Перед началом монтажных и ремонтных работ по уплотнению и герметизации стыков на рабочих местах должны быть вывешены плакаты, разъясняющие безопасные способы выполнения операций, и предупредительные надписи.
6.4. До начала работ должны быть проверены заземление корпуса электрошкафа, исправность его терморегулятора и изоляции проводов.
6.5. Электрооборудование будки герметчиков должно быть заземлено, включать и выключать его разрешено только дежурному электрику.
6.6. Хранение комплексной системы материалов и тары из-под них допускается в помещениях, безопасных в пожарном отношении и имеющих хорошую вентиляцию. Тара, в которой транспортируются и хранятся материалы, должна плотно закрываться.
6.7. Герметчики должны быть обеспечены спецодеждой из брезента, рукавицами, резиновыми перчатками, профилактическими мазями.
Приложение
ПЕРЕЧЕНЬ
оборудования и инструментов для нанесения комплексной системы материалов, обеспечивающих качественное уплотнение и герметизацию стыков светопрозрачных конструкций
1. Щетка металлическая
2. Шпатель (70×1,2)
3. Волосяная губка или ветошь для очистки поверхностей проема и рамы окна от пыли
4. Ножницы
5. Нож со сменными лезвиями
6. Ролик с коническим валиком
7. Емкость для увлажнения полости стыка
8. Пистолет для нанесения пены с набором гибких трубок
9. Набор ключей или универсальный ключ для разборки пистолета
10. Баллон с растворителем для прочистки пистолета
При выполнении работ в осенне-зимний период дополнительно:
11. Пистолет-нагреватель для прогрева поверхностей (рабочая температура 150-350 °С)
12. Чехол для утепления баллона с пеной
13. Термошкаф в будке герметчика для сохранения рабочей температуры материалов и пены
СОДЕРЖАНИЕ
|
2. Герметизирующие и уплотняющие материалы и требования к ним.. 2 |