
МИНИСТЕРСТвО
ЭНЕРГЕТИКИ И ЭЛЕКТРИФИКАЦИИ СССР
ГЛАВИИИПРОЕКТ ИДУ ЕЭС СССР
РУКОВОДЯЩИЕ УКАЗАНИЯ
ПО ВЫБОРУ ЧАСТОТ
ВЫСОКОЧАСТОТНЫХ КАНАЛОВ
ПО ЛИНИЯМ ЭЛЕКТРОПЕРЕДАЧИ
35, 110, 220, 330, 500 И 750 КB
РД 34.48.153
СО 34.48.153

МОСКВА
2009
Составлено СПО ОРГРЭС
Составители инж. И.И. ЦИТВЕР (гл. 1 - 4), канд. физ.-мат. наук М.Х. ЗАХАР-ИТКИН (гл. 5 - 8)
В Руководящих указаниях приведена методика выбора частот и электрического расчета высокочастотных (ВЧ) каналов по ВЛ 35, 110, 220, 330, 500 и 750 кВ, а также необходимые справочные материалы.
Руководящие указания базируются на методах упрощенного расчета ВЧ трактов по фазным проводам, проводящим грозозащитным тросам и изолированным один от другого проводам расщепленных фаз.
Приведены материалы по анализу распределения частот ВЧ каналов с помощью ЭВМ.
Руководящие указания предназначены для специалистов проектных институтов и эксплуатационных организаций Минэнерго СССР.
С выходом настоящих Руководящих указаний выпущенные ранее «Руководящие указания по выбору частот высокочастотных каналов по проводам линий электропередачи напряжением 35, 110, 220, 330 и 500 кВ» (БТИ ОРГРЭС, 1964) аннулируются.
© СПО ОРГРЭС, 1977.
|
УТВЕРЖДАЮ: Начальник Главниипроекта А.А. ТРОИЦКИЙ 9 декабря 1975 г. |
УТВЕРЖДАЮ: Главный инженер ЦДУ ЕЭС СССР Г.А. ЧЕРНЯ 30 октября 1975 г. |
ВВЕДЕНИЕ
Наиболее ответственным этапом при проектировании и организации ВЧ каналов по ВЛ для телефонии, телемеханики, релейной защиты и противоаварийной автоматики является выбор рабочих частот.
Методика выбора частот базируется на данных измерений электрических параметров аппаратуры ВЧ каналов, теории распространения электромагнитных колебаний вдоль ВЛ, исследованиях ВЧ помех от короны. Методика позволяет рационально решать задачи выбора частот, т.е. наиболее целесообразно использовать частотный диапазон, выделенный для ВЧ связи энергосистем, исключив взаимные влияния между каналами.
До выпуска настоящих руководящих указаний при выборе частот ВЧ каналов проектные организации и работники энергосистем пользовалась [Л.1 и 2]. В настоящее время эти работы частично устарели, так как за последние годы часть аппаратуры ВЧ связи по линиям электропередачи снята с производства и заменена более совершенной; создано оборудование для передача информации устройств релейной защиты и противоаварийной автоматики; методика расчета ВЧ трактов и ВЧ помех от короны уточнена и дополнена новыми исследованиями [Л.3 - 9]; организуются новые виды ВЧ трактов по ВЛ с использованием проводящих грозозащитных тросов и изолированных проводов расщепленных фаз [Л.10 и 11]; выполнены некоторые разработки в области рационального использования ВЧ диапазона [Л.12 - 15]; внедрены в проектных организациях и энергосистемах ЭВМ, позволяющие автоматизировать отдельные этапы выбора частот.
Выбор частот, как правило, осуществляется при разработке перспективных схем ВЧ каналов в энергосистеме. На этом этапе отсутствуют окончательные сведения о конфигурации электрических сетей и конструкций ВЛ, поэтому при выборе частот используются методы упрощенного расчета затухания ВЧ трактов, основанные на материалах [Л.4].
В Руководящих указаниях упрощенные методы расчета ВЧ трактов применены таким образом, что погрешность результатов увеличивает запасы по таким параметрам, как перекрываемое аппаратурой затухание и разнос частот между каналами.
Материалы [Л.4] и технические данные ВЧ аппаратура в настоящих Руководящих указаниях переработаны и систематизированы с целью обеспечения максимального сокращения объема и длительности электрических расчетов при выборе частот ВЧ каналов.
В соответствии с принятой методикой упрощенного расчета затухание ВЧ тракта для полезного и мешающего сигналов принимается равным сумме затуханий всех элементов вдоль тракта, т.е. затуханий ВЧ кабелей, аппаратуры обработки и присоединения, ВЛ, ответвлений, шунтирующих сопротивлений, разделительных фильтров, переходов между линиями.
Для определения переходных затуханий для проектируемых ВЛ и подстанций используются в основном прежние ориентировочные данные [Л.1 и 2], поскольку отсутствуют методика и данные, которые могли бы дополнить или скорректировать материалы.
Высокочастотный тракт распространения мешающего сигнала в большинстве случаев содержит элементы переходов между ВЛ через шины подстанций и через электромагнитную связь между ВЛ. Затухание этих переходов, как правило, выше затухания ВЛ, поэтому расчет затухания ВЛ, расположенных после первого перехода, упрощен и сведен к определению минимально возможного затухания междуфазного канала.
Методика, изложенная в ч. I Руководящих указаний, универсальна и позволяет решать практические задачи выбора частот. При использовании ее исходные материалы оформляются в виде скелетной схемы ВЧ каналов, нанесенной на схеме электрических сетей и графика частот.
При большом количестве ВЧ каналов и сложной схеме электрических сетей проверку правильности выбора частот целесообразно осуществлять на ЭВМ. Методика такого анализа с помощью ЭВМ изложена в ч. II. При использовании ЭВМ исходные материалы оформляются в виде четырех матриц, по которым перфокарты подготавливаются к программе.
В обеих частях Руководящих указаний для определения уровней мешающего сигнала и влияний между каналами принята одинаковая методика упрощенного расчета затухания ВЧ трактов, переходных затуханий, ВЧ помех от короны и одинаковые характеристики избирательности приемников ВЧ аппаратуры.
Часть I Руководящих указаний содержит четыре главы. В гл. 1 приведена методика определения наибольшей возможной частоты канала и справочные материалы, даны рекомендации по рациональному использованию частотного диапазона, приведены нормы допустимого отношения уровней полезного и мешающего сигналов на входе ВЧ приемника, а также методика определения минимальных значений разноса частот между каналами и сдвига частот для промежуточных усилителей сложных каналов. Для автоматических импульсных искателей повреждений на ВЛ напряжением 330, 500 и 750 кВ указаны полосы частот для работы в зависимости от напряжения, длины и схемы транспозиции линии, а также приведены рекомендации по схемам подключения искателя повреждений к фазным проводам линии.
В гл. 2 приведены материалы и рекомендации по выполнению поверочного электрического расчета ВЧ трактов и каналов различной сложности при конкретном проектировании с целью уточнения основных качественных характеристик по более точным данным применяемой аппаратуры и конструкции ВЛ.
Глава 3 содержит формулы, использованные для построения трафиков и составления справочных данных; пояснения к рекомендациям по ограничению применяемого частотного диапазона; обоснования принятых норм отношения уровней сигнала и помех на входе ВЧ приемника; пояснения к методу расчета затухания простых и сложных ВЧ трактов и ВЧ каналов различных назначений; пояснения к рекомендациям по выбору частот ВЧ каналов с промежуточными усилителями и без них.
В гл. 4 разобраны четыре примера выбора частот и поверочного расчета ВЧ каналов. В первом примере определяется полоса частот для ВЧ канала по ВЛ 110 кВ с ответвлением, в которой это ответвление можно не обрабатывать заградителем. Выбор частот и поверочный расчет простых и сложных ВЧ каналов по ВЛ 110 кВ с ответвлениями для телефонии, телемеханики и релейной защиты рассмотрены во втором и третьем примерах. В четвертом примере приводятся расчеты для выбора оптимальных схем ВЧ обхода линейного разъединителя на ВЛ 35 кВ в зависимости от расстояния до места его установки от ближайшей подстанции.
Часть II Руководящих указаний содержит четыре главы, в которых излагается методика расчета на ЭВМ влияний (перекрестных помех) между ВЧ каналами энергосистемы.
В гл. 5 описывается способ подготовки исходного числового материала об энергосистеме и ее каналах связи, ориентированный на ввод этой информации в память ЭВМ в отличающийся от графического задания информации при использовании методики ч. I Руководящих указаний. В приложении к гл. 5 поясняется, как используется программой анализа распределения частот заданный в виде матриц исходный числовой материал.
Глава 6 содержит инструкции по использованию ЭВМ типа M-20 при выборе частот: по подготовке перфокарт, соответствующих матрицам исходного числового материала об энергосистеме и ее ВЧ каналах, по составлению расчетной колоды перфокарт и запуску на ЭВМ рабочей программы, по чтению выданных на бумажную ленту результатов расчета на ЭВМ типа М-222. Кроме того, описаны варианты разноцелевого использования программы анализа распределения частот, в том числе для назначения частоты вновь проектируемых каналов. Приведены пробивка перфокарт АЛГОЛ-программы и результаты ее трансляции на ЭВМ типа М-222 с помощью транслятора ТA-2M.
В гл. 7 приводится контрольный пример расчета по программе анализа распределения частот энергосистемы. Показано, как по электрической схеме линий и подстанций и скелетной схеме ВЧ каналов составляются матрицы МК, МЛ, ОБ, ЭМ исходного числового материала и по ним пробиваются перфокарты, приведены рабочая программа для расчета по программе и результаты расчета, напечатанные ЭВМ типа М-222 на бумажной ленте.
Методика анализа распределения частот высокочастотных каналов энергосистемы с помощью ЭВМ изложена в гл. 8, составляющей приложение к ч. II Руководящих указаний. Поскольку программа составлена на языке АЛГОЛ-60, изложение методики, заложенной в программу, дано с привлечением текстов на языке АЛГОЛ. Обозначения переменных величин и числовых массивов, используемых АЛГОЛ-программой в гл. 6, соответствуют системе обозначений, принятой в гл. 5, и сохранены в гл. 8.
Все замечания и пожелания по составу и содержанию данной работы просьба направлять в Службу телемеханики и связи ЦДУ ЕЭС СССР по адресу: 103074, Москва, К-74, Китайский проезд, д. 7.
1.1.1. Выбор рабочих частот ВЧ каналов по ВЛ должен производиться при составлении перспективных схем развития сети связи в энергосистемах.
Выбор частот ВЧ каналов может производиться при разработке технического или технорабочего проекта, если проектируемые каналы отсутствуют в перспективных схемах.
1.1.3. На выбранных частотах затухание ВЧ тракта канала не должно превышать допустимого значения, а работа ВЧ каналов должна обеспечиваться без взаимных помех между каналами, без помех со стороны радиостанций центрального и местного радиовещания на ВЧ каналы и без помех со стороны ВЧ каналов радиоприему и ВЧ связи по воздушным линиям связи.
1.1.4. Для выбора частот ВЧ каналов необходимы следующие исходные материалы:
1) данные об электрической сети в районе прохождения проектируемых каналов;
2) схемы существующих, ранее запроектированных и перспективных ВЧ каналов в энергосистеме или районе прохождения проектируемых навалов;
3) данные о радиовещательных станциях;
4) данные о гололедности района;
5) технические характеристики ВЧ оборудования;
6) данные по сближению ВЛ с воздушными линиями связи, уплотненными в диапазоне частот до 150 кГц.
1.1.5. Данные об электрической сети должны содержать: однолинейную схему сети с указанием электростанций и подстанций и общих коридоров; схему присоединения энергообъектов; схему подходов линий к подстанциям, напряжение, конструктивные данные, схему транспозиции, протяженность линий; однолинейную схему первичных цепей подстанций, на которых устанавливаются усилители.
1.1.6. На схемах ВЧ каналов должны быть указаны: пункты установки оконечной аппаратуры и промежуточных усилителей; способ подключения аппаратуры к ВЛ; тип оборудования; назначение и частоты каналов; полосы настройки аппаратуры присоединения и обработки ВЛ.
1.1.7. Данные о радиовещательных станциях должны содержать частоты радиостанций центрального и местного вещания, расположенных в районе прохождения каналов и работающих в диапазоне ВЧ связи по ВЛ.
1.1.8. В данных о гололедности должны содержаться сведения, к какому району по гололеду относится местность, по которой проходит трасса ВЛ.
1.1.9. Технические характеристики ВЧ оборудования должны содержать сведения об избирательности и чувствительности приемников, мощности передатчиков, полос настройки, о ВЧ параметрах фильтров присоединения, заградителей, разделительных фильтров.
1.1.10. Частоты существующих, ранее запроектированных и перспективных ВЧ каналов удобно представить в виде графика, на котором должны быть также указаны частоты радиовещательных станций, которые учитываются при выборе частот в данном районе.
Выбор рабочих частот осуществляется в такой последовательности:
1) определяется наибольшая возможная частота для каждого запроектированного канала. Методика определения наибольшей возможной частоты приведена в пп. 1.2.1 - 1.2.5;
2) определяются свободные участки диапазона на графике частот в пределах наибольшей возможной частоты, которые могут быть заняты для полос частот проектируемых каналов. Выбор свободных участков частот для конкретных каналов осуществляется согласно рекомендациям пп. 1.2.6 - 1.2.7;
3) определяется минимальный разнос частот между проектируемым и существующим (или ранее запроектированным) каналами, при котором обеспечивается работа каналов без взаимных помех в выбранном свободном участке диапазона частот. Минимальный разнос частот определяется согласно рекомендациям разд. 1.3 и 1.4;
4) выбираются рабочие частоты проектируемых каналов с минимальным разносом полос частот между каналами и допустимым - между приемником и передатчиком проектируемого канала, чтобы диапазон частот был использован достаточно экономично и в будущем была возможность выбора частот для новых каналов.
Выбор частот осуществляется с учетом рекомендаций пп. 1.1.2, 1.2.8 - 1.2.16 и технических параметров аппаратуры.
1.1.11. Для рационального использования целесообразно диапазон частот 36 - 600 кГц разбить на единичные полосы шириной 2 кГц. Частоты деления должны быть целыми числами, кратными двум.
Для организации одного канала телефонной связи и канала противоаварийной автоматики в одном направлении передачи используется двойная полоса частот, равная 4 кГц. Для многоканальных систем телефонной связи занимается полоса частот в одном направления, равная 4n кГц, где n - число каналов системы.
Для каналов релейной защиты с передачей блокирующего сигнала используется одна единичная полоса, равная 2 кГц (несущая частота располагается в середине используемой полосы).
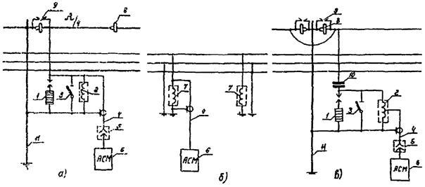
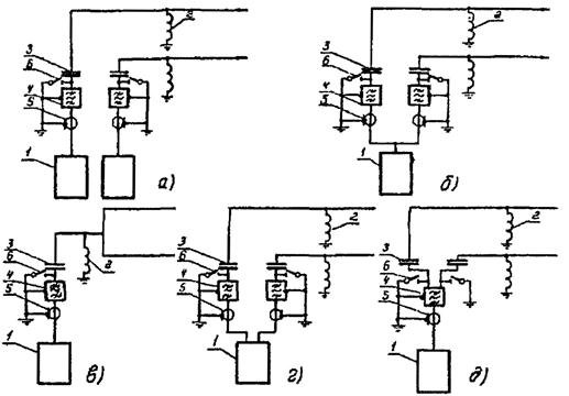
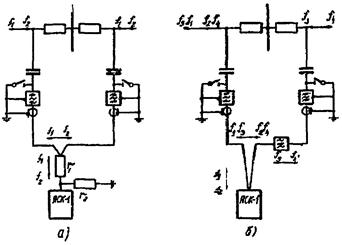
1.2.1.* Значение наибольшей возможной частоты канала fмакс зависит от напряжения ВЛ, расположения фаз и наличия транспозиций, параметров ВЧ аппаратуры и схемы ее присоединения к ВЛ, сложности ВЧ тракта, района по гололеду, в котором расположена трасса ВЛ. С учетом этого оно определяется по значении наибольшего возможного километрического затухания линейного тракта, которое допускается для данной ВЛ (рис. 1-1 ÷ 1-21):
* Здесь и далее звездочкой обозначены пункты, к которым даны пояснения в гл. 3.
где Апер - затухание, перекрываемое ВЧ аппаратурой, дБ;
аэл - затухание всех элементов ВЧ тракта усилительного или переприемного участка канала, кроме затухания междуфазной волны, дБ;
Азап - запас по перекрываемому затуханию на случай увеличения затухания ВЧ тракта при гололеде и коротких замыканиях на ВЛ или увеличения помех от короны при ухудшении погодных условий, дБ;
l - длина ВЛ, км.
В табл. 1-1 приведен перечень рисунков, по которым определяется значение fмакс.
Для ВЧ каналов по фазным проводам ВЛ 750 кВ значение fмакс определяется по значению наибольшего возможного затухания ВЧ тракта. Расчеты затухания ВЧ тракта на различных частотах для этой цели должны выполняться на ЭВМ.
Если неизвестны марка проводов и расположение фаз ВЛ, то значение fмакс ВЧ канала по такой ВЛ рекомендуется определять по графикам для линий с горизонтальным расположением фаз с проводами:
|
Напряжение ВЛ, кВ |
Марка проводов |
|
35 |
АС-70 |
|
110 |
АС-120 |
|
220 |
АС-300 |
|
330 |
2×АС-300 |
|
500 |
3×АС-400 |
1.2.2.* Затухание, перекрываемое ВЧ аппаратурой, определяется по формуле:
Апер = рпер - рпр.мин дБ, (1-2)
где рпер - уровень передачи сигнала, дБ;
рпр.мин - минимальный уровень приема в канале, дБ.
Уровень передачи сигнала рпер приведен в табл. 1-2 и 1-3. При использовании дополнительных усилителей мощности (например, УМ-1/12-100) уровень передачи определяется по формуле:
(1-3)
где рпер - расчетный уровень передачи сигнала по табл. 1-2;
рУМ - максимальный уровень дополнительного усилителя мощности. Для УМ-1/12-100 рУМ = 50 дБ;
рмакс - максимальный уровень передатчика ВЧ аппаратуры по табл. 1-2.
Минимальный уровень приема:
1) для ВЧ каналов релейной защиты с передачей блокирующего сигнала на аппаратуре УПЗ-70, ПВЗД, ПВЗК и АЗВ принимается равным уровню порога запирания (насыщения) для данного класса напряжения линии электропередачи (по табл. 1-4);
2) для ВЧ каналов релейной защиты с передачей отключающего сигнала, противоаварийной автоматики и сигнализации гололедообразования на аппаратуре с ограничителем максимальных амплитуд (ВЧТО-М, ДСГ-68) принимается равным уровню порога ограничения (чувствительности) приемника.
Если средний уровень распределенных помех на линии в полосе фильтров широкополосной части приемника, расположенных до ограничителя амплитуд, равен или выше уровня порога ограничения, то минимальный уровень приема определяется в зависимости от среднего уровня помех в точке подключения устройства присоединения к линии:
3) для ВЧ каналов телефонной связи и телемеханики определяется в зависимости от среднего уровня распределенных помех на линии в точке подключения устройства присоединения к линии:
Таблица 1-1
Номера рисунков для определения fмакс
|
Расположение фаз |
Схема присоединения аппаратуры |
Номер рисунка для определения fмакс |
Частотный диапазон, кГц |
|
|
35 |
Любое |
К любой фазе |
18 - 600 |
|
|
110 - 500; нетранспонированные |
Горизонтальное |
Средняя фаза - земля |
40 - 600 |
|
|
110 - 330; нетранспонированные |
Треугольное |
Верхняя фаза - земля |
40 - 600 |
|
|
110 и 220; нетранспонированные |
Горизонтальное |
Крайняя фаза - земля |
||
|
Треугольное |
Нижняя фаза - земля |
|||
|
Вертикальное на двухцепных опорах |
Нижняя фаза - земля |
|||
|
100 - 330; нетранспонированные |
Вертикальное на двухцепных опорах |
Фаза - земля, фаза - фаза, к фазам 1, 2, 4, 5 (по pиc. 2-4,а) |
40 - 600 |
|
|
220 - 500; транспонированные (по рис. 2-4,б) |
Горизонтальное |
Фаза - земля |
Расчетная частота не выше значения по рис. 1-15, 1-16, 1-17 для данной длины ВЛ и схемы присоединения |
|
|
220 и 330; транспонированные (по pиc. 2-4,б) |
Треугольное |
Фаза - земля |
Расчетная частота не выше значения по рис. 1-18, 1-19 для данной длины ВЛ и схемы присоединения |
|
|
330 и 500; нетранспонированные и транспонированные |
Любое |
Провод - провод расщепленной фазы (внутрифазный тракт) |
36 - 600 |
|
|
500 и 750; транспонированные |
Любое |
Трос - земля, два троса - земля, трос - трос к проводящим грозозащитным тросам |
36 - 340, 420 - 600 |
Таблица 1-2
Основные электрические параметры комбинированной ВЧ аппаратуры
|
Тип аппаратуры |
Диапазон частот, кГц |
Число каналов |
Ширина линейного спектра частот, кГц |
Полоса частот телефонного канала, кГц |
Скорость передачи в канале телемеханики, Бод |
Максимальный уровень передачи, +дБ |
Расчетный уровень передачи, +дБ |
Чувствительность приемника, дБ |
|
|
телефонных |
телемеханики |
||||||||
|
АСК-1 |
40 - 304 |
1 |
- |
3,7 |
3,1 или 2,0 |
- |
40,0 |
37,5 |
-23,5 |
|
1 |
4 |
3,7 |
2,0 |
50 |
40,0 |
33,0 |
|||
|
1 |
3 |
3,7 |
2,0 |
100 |
40,0 |
32,5 |
|||
|
1 |
1 |
3,7 |
2,0 |
200 |
40,0 |
35,0 |
|||
|
- |
12 |
3,7 |
50 |
40,0 |
17,0 |
||||
|
301 - 500 |
1 |
- |
3,7 |
3,1 или 2,0 |
- |
39,0 |
36,5 |
-23,5 |
|
|
1 |
4 |
3,7 |
2,0 |
50 |
39,0 |
32,0 |
|||
|
1 |
3 |
3,7 |
2,0 |
100 |
39,0 |
31,5 |
|||
|
1 |
1 |
3,7 |
2,0 |
200 |
39,0 |
34,0 |
|||
|
- |
12 |
3,7 |
- |
50 |
39,0 |
16,0 |
|||
|
АСК-1 с УМ-1/12-100 |
40 - 500 |
1 |
- |
3,7 |
3,1 или 2,0 |
- |
50,0 |
47,5 |
-23,5 |
|
1 |
4 |
3,7 |
2,0 |
50 |
50 0 |
43,0 |
|||
|
1 |
3 |
3,7 |
2,0 |
100 |
50 0 |
42,5 |
|||
|
1 |
1 |
3,7 |
2,0 |
200 |
50,0 |
45,0 |
|||
|
- |
12 |
3,7 |
- |
50 |
50,0 |
27,0 |
|||
|
АСК-3 |
40 - 500 |
3 |
- |
11,1 |
3,1 или 2,0 |
- |
39,0 |
28,0 |
-23,5 |
|
3 |
9 |
11,1 |
2,0 |
50 |
390 |
24,0 |
|||
|
3 |
3 |
11,1 |
2,0 |
100 |
390 |
26,0 |
|||
|
3 |
3 |
11,1 |
2,0 |
200 |
390 |
25,5 |
|||
|
АСК-3 с УМ-1/12-100 |
40 - 500 |
3 |
- |
11,1 |
3,1 или 2,0 |
- |
50,0 |
39,0 |
-23,5 |
|
3 |
9 |
11,1 |
2,0 |
50 |
50,0 |
35,0 |
|||
|
3 |
3 |
11,1 |
2,0 |
100 |
50,0 |
37,0 |
|||
|
3 |
3 |
11,1 |
2,0 |
200 |
50,0 |
36,5 |
|||
|
ВЧА-1ТФ |
40 - 500 |
1 |
- |
3,4 |
3,1 или 2,1 |
- |
40,0 |
37,5 |
-30,5 |
|
1 |
4 |
3,4 |
2,1 |
50 |
40,0 |
32,0 |
|||
|
1 |
2 |
3 4 |
2,1 |
100 |
40,0 |
34,0 |
|||
|
1 |
1 |
3,4 |
2,1 |
200 |
40,0 |
35,0 |
|||
|
- |
10 |
3,4 |
- |
50 |
40,0 |
19,0 |
|||
|
ВЧА-1ТФ с УМ-1/12-100 |
40 - 500 |
1 |
- |
3,4 |
3,1 или 2,1 |
- |
50,0 |
47,5 |
-30,5 |
|
1 |
4 |
3,4 |
2,1 |
50 |
50,0 |
42,0 |
|||
|
1 |
2 |
3,4 |
2,1 |
100 |
50,0 |
44,0 |
|||
|
1 |
1 |
3,4 |
2,1 |
200 |
50,0 |
45,0 |
|||
|
- |
10 |
3,4 |
- |
50 |
50,0 |
29,0 |
|||
|
ВЧА-3ТФ |
40 - 500 |
3 |
- |
11,4 |
3,1 или 2,1 |
- |
40,0 |
29,5 |
-30,5 |
|
3 |
6 |
11,1 |
2,1 |
50 |
4010 |
26,0 |
|||
|
3 |
3 |
11,1 |
2,1 |
100 |
40,0 |
27,0 |
|||
|
3 |
3 |
11,1 |
2,1 |
200 |
40,0 |
26,5 |
|||
|
2 |
10 |
11,4 |
3,1 или 2,1 |
50 |
40,0 |
26,5 |
|||
|
ВЧА-3ТФ с УМ-1/12-100 |
40 - 500 |
3 |
- |
11,4 |
3,1 или 2,1 |
- |
50,0 |
39,5 |
-30,5 |
|
3 |
6 |
11,4 |
2,1 |
50 |
50,0 |
36,0 |
|||
|
3 |
3 |
11,4 |
2 1 |
100 |
50,0 |
37,0 |
|||
|
3 |
3 |
11,4 |
2 1 |
200 |
50,0 |
36,5 |
|||
|
2 |
10 |
11,4 |
3,1 или 2,1 |
50 |
50,0 |
36,5 |
|||
|
АСК-РС |
40 - 500 |
1 |
1 |
8,0 |
2,0 |
50 |
36,0 |
32,0 |
-9,0 |
|
ВЧА-СЧ |
40 - 200 |
1 |
- |
7,4 |
2,1 |
- |
37,0 |
34,0 |
-9,0 |
|
201 - 500 |
1 |
- |
7,4 |
2,1 |
- |
35,0 |
32,0 |
||
|
АСМ |
50 - 53 |
1 |
- |
2,7 |
2,1 |
- |
30,0 |
30,0 |
-48,0 |
|
100 - 103 |
1 |
- |
2,7 |
2,1 |
- |
30,0 |
30,0 |
||
|
150 - 153 |
1 |
- |
2,7 |
2,1 |
- |
30,0 |
30,0 |
||
|
МП-58 |
50 - 100 |
1 |
1,7 |
1,7 |
- |
31,5 |
31,5 |
-30,5 |
|
|
101 - 151 |
1 |
- |
1,7 |
1,7 |
- |
27,0 |
27,0 |
||
|
B-12-3 |
36 - 143 |
12 |
- |
48,0 |
3,1 |
- |
39,0 |
22,0 |
-33,0 |
|
В-12-3 с УМ-1/12-100 |
36 - 143 |
12 |
- |
48,0 |
3,1 |
- |
50,0 |
35,0 |
-33,0 |
|
В-12-3 с МПУ-12 |
168 - 602 |
12 |
- |
48,0 |
3,1 |
- |
39,0 |
22,0 |
-33,0 |
|
В-12-3 с МПУ-12 к УМ-1/12 |
168 - 602 |
12 |
- |
48,0 |
3,1 |
- |
50,0 |
35,0 |
-33,0 |
|
УМ-1/12-100 |
36 - 602 |
Определяется оконечной аппаратурой |
50,0 |
- |
- |
||||
|
КП-59M |
100 - 250 |
2 |
- |
5,4 |
2,1 |
- |
40,0 |
32,0 |
-30,5 |
|
1 |
6 |
5,4 |
2,1 |
50 |
40,0 |
32,5 |
|||
|
- |
12 |
5,4 |
- |
50 |
40,0 |
16,5 |
|||
|
50 - 100 и 251 - 350 |
2 |
- |
5,4 |
2,1 |
- |
38,0 |
30,5 |
||
|
1 |
6 |
5,4 |
2,1 |
50 |
38,0 |
30,5 |
|||
|
- |
12 |
5,4 |
- |
50 |
38,0 |
14,5 |
|||
|
МК-60М |
100 - 250 |
1 |
- |
2,6 |
1,5 |
- |
40,0 |
37,5 |
-21,5 |
|
1 |
2 |
2,6 |
1,5 |
50 |
40,0 |
34,0 |
|||
|
50 - 100 |
1 |
- |
2,6 |
1,5 |
- |
38,0 |
35,0 |
||
|
251 - 350 |
1 |
2 |
2,6 |
1,5 |
50 |
38,0 |
32,5 |
||
|
КМК-64 (передача от КП к ДП) |
100 - 250 |
1 |
- |
2,5 |
1,5 |
- |
40,0 |
37,5 |
-21,5 |
|
1 |
3 |
2,5 |
1,5 |
40 |
40,0 |
33,0 |
|||
|
50 - 100 |
1 |
- |
2,5 |
1,5 |
- |
38,0 |
35,0 |
||
|
251 - 350 |
1 |
3 |
2,5 |
1,5 |
40 |
38,0 |
31,0 |
||
|
КМК-226 КМК-64 (передача от ДП к КП) |
50 - 350 |
2 |
- |
6,0 |
1,5 |
- |
43,0 |
35,0 |
-21,5 |
|
2 |
6 |
6,0 |
1,5 |
40 |
43,0 |
31,0 |
|||
|
АРС-64 |
18 - 66 |
1 |
5 |
12,0 |
1,7 |
- |
33,0 |
32,0 |
-12,0 |
|
ТСД-70 |
40 - 300 |
1 |
2 |
5,0 |
2,4 |
- |
34,5 |
34,5 |
-9,0 |
|
301 - 500 |
1 |
2 |
5,0 |
2,4 |
- |
30,5 |
30,5 |
||
Таблица 1-3
Технические данные приемопередатчиков ВЧ релейных защит, противоаварийной автоматики и телесигнализации
|
Назначение |
Система передачи |
Диапазон частот, кГц |
Полоса ВЧ фильтра приемника, кГц |
Время передачи сигнала, с |
Уровень передачи, +дБ |
Частоты прием - передача |
Уровень порога чувствительности приемника, дБ |
Уровень порога запирания (насыщения, ограничения), дБ |
Тип релейной защиты |
Количество передатчиков в канале |
|
|
УПЗ-70 |
Релейная защита |
АМ |
40 - 100 |
1,4 |
- |
45* |
Одинаковые |
+8,0 |
+11,5 |
Дифференциально-фазная, направленная, дистанционная |
2 - 4 |
|
100,5 - 300 |
1 % (но не менее 1,4) |
- |
44* |
Сближенные (1,5 - 2,0 кГц) |
+4,0 |
+7,5 |
|||||
|
С разносом не менее 10 % |
0,0 |
+3,5 |
|||||||||
|
300,5 - 500 |
1 % |
- |
43* |
||||||||
|
ПВЗД |
То же |
АМ |
40 - 300 |
1 % (но не менее 1,4) |
- |
45 |
Одинаковые Сближенные (1,5 - 2,0 кГц) С разносом не менее 10 % |
+8,0 |
+11,5 |
То же |
2 - 3 |
|
+4,0 |
+7,5 |
||||||||||
|
0,0 |
+3,5 |
||||||||||
|
АЗВ |
Релейная защита |
АМ |
40 - 200 |
1 % (но не менее 1,4) |
- |
45 |
Одинаковые |
-6,0 |
-6,0 |
Дифференциально-фазная, направленная, дистанционная |
2 - 4 |
|
Сближенные (1,5 - 2,0 кГц) |
-10,0 |
-10,0 |
|||||||||
|
200,5 - 600 |
1 |
- |
43 |
С разносом 5 %, но не менее 5 кГц |
-10,0 |
-10,0 |
|||||
|
ПВЗК |
То же |
АМ |
50 - 300 |
1 % (но не менее 1,4) |
- |
43** |
Одинаковые |
0,0 |
4,0 |
То же |
2 - 3 |
|
ВЧTО-М |
Релейная защита, телеавтоматика |
ЧМ |
40 - 300 |
3,5 |
0,05 |
42 |
- |
-30,0 |
-20,0 |
С отключающим сигналом |
Один передатчик и несколько приемников |
|
301 - 500 |
3,5 |
0,05 |
40 |
||||||||
|
АСК-РС Блоки телеотключения |
То же |
ЧМ |
40 - 500 |
0,4 |
0,1 |
36 |
- |
-19,0 |
-9,0 |
То же |
То же |
|
ДСГ-68 |
Сигнализация гололеда |
ЧМ |
30 - 50 |
2,5 |
- |
34,5 |
- |
-40,0 |
-30,0 |
- |
Один приемник и до пяти передатчиков |
* При питании от источника напряжением 110 В уровень передачи снижается на 7 дБ.
** При питании от источника напряжением 110 В уровень передачи снижается на 5 дБ.
Примечания:
1. Уровень порога чувствительности - минимальный уровень сигнала, при котором начинается изменение тока в выходном рабочем органе.
2. Уровень порога запирания (насыщения) - для приемопередатчиков УПЗ-70, ПВЗД, АЗВ, ПВЗК, уровень порога ограничения (в заводской документации соответствует чувствительности приемника) - для приемников ВЧТО-М, АСК-РС и ДСГ-68.
3. Для приемопередатчиков АЗВ приведены данные опытной серии.
4. АМ - амплитудная модуляция, ЧМ - частотная модуляция.
В формулах (1-4) и (1-5) приняты обозначения:
рпом - средний уровень помех от короны на фазных проводах в полосе 1 кГц, дБ. Он принимается по табл. 1-5 или определяется согласно рекомендациям гл. 2, если имеются данные для расчетов. Для существующих линий рекомендуется принимать среднестатистический уровень помех согласно измерениям на данной ВЛ;
Δf - полоса эффективно передаваемых частот канала, кГц. Для каналов на аппаратуре с ограничителем максимальных амплитуд (BЧТО-М, ДСГ-68, ТСД-70) уровень помех определяется в полосе фильтров широкополосной части приемника, расположенных до ограничителя амплитуд;
Δр'пом - поправка, учитывающая изменение среднего уровня помех для ВЧ трактов по грозозащитным тросам и внутрифазным трактам по проводам расщепленных фаз.
Принимается равной:
|
Схема присоединения |
Δр'пом, дБ |
|
Трос - трос |
-4,5 |
|
Трос - земля |
-3,0 |
|
Два троса - земля |
-1,0 |
|
Провод - провод расщепленной средней фазы |
+2,5 |
|
То же расщепленной крайней фазы |
-1,5 |
рс/п - минимальная разность уровней сигнала и распределенной помехи на входе приемника. Определяется в точке подключения устройства присоединения к ВЧ и принимается для каналов с системой передачи:
|
Канал |
Система передачи |
рс/п, дБ |
|
Телефонная связь |
ОБП |
26 |
|
То же |
ЧМ |
22 |
|
Телемеханики для скорости передачи 50 Бод |
ЧМ-ОБП |
18 |
|
То же для скорости передачи 100, 200 и 300 Бод |
ЧМ-ОБП |
22 |
Δрпром - поправка, учитывающая суммирование распределенных помех в каналах с промежуточными усилителями и переприемами. Определяется по формуле
(1-6)
где m - число промежуточных усилителей и переприемов.
На ВЛ с низкими уровнями распределенных помех (например, на ВЛ 35 и 110 кВ и при временной работе ВЛ на напряжении ниже проектного) могут иметь место случаи, когда чувствительность приемников аппаратуры ниже расчетного уровня рпр.мин. В подобных случаях за расчетный уровень рпр.мин принимается уровень чувствительности приемника, приведенный в табл. 1-2.
1.2.3.* Затухание элементов ВЧ тракта аэл для расчета значения fмакс определяется из выражений:
- для ВЧ трактов по фазным проводам
где n1 - количество ВЛ в ВЧ тракте канала;
n2 - количество ВЛ короче 20 км в ВЧ тракте канала;
m - количество элементов данного вида в ВЧ тракте канала;
ак - концевые затухания двух концов ВЛ, дБ;
Δатр1 - дополнительное затухание, обусловленное многократными отражениями междуфазной волны от концов ВЛ и ответвлений, дБ. Учитывается для сложных ВЧ трактов с обходами и ответвлениями;
Δа(0) - поправка, учитывающая увеличение затухания из-за влияния земляной волны на ВЛ короче 20 км для схем присоединения фаза - земля;
аз - затухание, вносимое заградителем, дБ;
аф.п - затухание фильтра присоединения, дБ;
акаб - затухание ВЧ кабеля, соединяющего ВЧ аппаратуру с фильтром присоединения, дБ;
аш - затухание, вносимое параллельно включенной аппаратурой других ВЧ каналов на оконечном пункте, дБ;
апром - затухание, вносимое в транзитный канал аппаратурой уплотнения на промежуточном пункте, подключенной к схеме ВЧ обхода, дБ;
ар.ф - затухание разделительного фильтра (дБ), учитываемое на передающем конце и в пункте ВЧ обхода;
аотв - затухание, вносимое ответвлением от ВЛ, дБ;
арад - затухание, обусловленное ответвлением ВЧ энергии в другие ВЧ тракты при радиально-лучевой схеме канала, дБ.
Значения затуханий элементов ВЧ тракта для расчетов по формуле (1-7) приведены в табл. 1-6;
- для ВЧ трактов по биметаллическим (проводящим) грозозащитным тросам и внутрифазным трактам (по расщепленной фазе)
где атрансп.т - затухание, вносимое транспозицией на тросах в ВЧ тракт по грозозащитным тросам, дБ;
атрансп.ВЛ - затухание, вносимое транспозицией фазных проводов в ВЧ тракт по грозозащитным тросам, дБ;
аш.д - затухание, вносимое ВЧ дросселем, шунтирующим тросы, дБ.
Остальные обозначения те же, что для выражения (1-7).
Значения затуханий элементов ВЧ тракта для расчетов аэл по формуле (1-8) приведены в табл. 1-6.
Примечание. Для ВЧ каналов всех назначений, минимальный уровень приема которых определен по формулам (1-4) и (1-5), исходя из уровня распределенных помех на ВЧ, на приемном конце учитывается только затухание, вносимое заградителем.
Для ВЧ каналов, минимальный уровень которых принят равным уровню порога запирания (насыщения) или порогу ограничения приемника (для каналов релейной защиты и противоаварийной автоматики и сигнализации гололедообразования на аппаратуре УПЗ-70, ПВЗД, ПВЗК, АЗВ, ВЧТО-М, ДСГ-68), и для каналов по ВЛ 35 - 110 кВ на аппаратуре с приемниками невысокой чувствительности, для которых минимальный уровень приема принят равным чувствительности приемника (ВЧА-СЧ, АСК-РС, ТСД-70, АРС-64), затухание элементов ВЧ тракта aф.п, aкаб, аш, ар.ф должно учитываться и на приемном конце канала.
Таблица 1-4
Минимальный уровень приема для ВЧ каналов релейной защиты
|
Тип приемопередатчика |
Тип релейной защиты |
Подключение к фазе |
Разнос частот приема и передачи, кГц |
Pпр.мин (дБ) для ВЛ напряжением, кВ |
||||
|
35, 110 |
154, 220 |
330 |
500, 750 |
|||||
|
Один провод в фазе |
Расщепленные фазы |
|||||||
|
ПВЗК |
Дифференциально-фазная |
Любой |
0 |
+4,0 |
+4,0 |
- |
- |
- |
|
УПЗ-70, ПВЗД |
Дифференциально-фазная на электромеханических реле |
Любой |
0 |
+11,5 |
+11,5 |
+14,5 |
+11,5 |
+11,5 |
|
Любой |
1,5 |
+7,5 |
+7,5 |
+14,5 |
+7,5 |
+7,5 |
||
|
Направленная, дистанционная |
Любой |
0 |
+11,5 |
+11,5 |
+11,5 |
+11,5 |
+11,5 |
|
|
Любой |
1,5 |
+7,5 |
+7,5 |
+7,5 |
+7,5 |
+7,5 |
||
|
АЗВ |
Дифференциально-фазная на электромеханических реле |
Средней |
0 |
-6,0* |
-2,0* |
+11,0* |
-3,5* |
+2,0* |
|
Средней |
1,5 |
-10,0* |
-2,0* |
+11,0* |
-3,5* |
+2,0* |
||
|
Крайней |
0 |
-6,0* |
-5,0* |
+8,5* |
-6,5* |
-1,0* |
||
|
Крайней |
1,5 |
-10,0* |
-5,0* |
+8,5* |
-6,5* |
-1,0* |
||
|
Дифференциально-фазная на транзисторах |
Средней |
0 и 1,5 |
-5,0* |
+2,5* |
+16,0* |
+1,0* |
+6,0* |
|
|
Крайней |
0 и 1,5 |
-5,0* |
-1,0* |
+12,0* |
-2,0* |
+2,5* |
||
|
Направленная, дистанционная на электромеханических реле |
Любой |
0 |
-6,0 |
-6,0 |
-2,5* |
-6,0 |
-6,0 |
|
|
Любой |
1,5 |
-10,0 |
-10,0 |
-2,5* |
-10,0 |
-10,0 |
||
|
Направленная, дистанционная на транзисторах |
Любой |
0 |
-6,0 |
-6,0 |
0,0* |
-6,0 |
-6,0 |
|
|
Любой |
1,5 |
-10,0 |
-10,0 |
0,0* |
-10,0 |
-9,5* |
||
* На частотах настройки приемопередатчика f0 > 200 кГц значение рпр.мин увеличивается на Δр = 10lgf0 - 21,5 дБ, где f0 - в кГц.
Таблица 1-5
Уровни распределенных помех на фазных проводах ВЛ в полосе 1 кГц
|
Число проводов в фазе |
Средний уровень помех, дБ |
|
|
Воздушные линии: |
||
|
35 |
1 |
-45 |
|
110 |
1 |
-38 |
|
220 |
1 |
-29 |
|
330 |
1 |
-15 |
|
330 |
2 |
-30 |
|
500 |
3 |
-25 |
|
750 |
4 и 5 |
-20 |
|
Кабельные линии: |
||
|
6 и 10 |
- |
-43 (-52)* |
|
35 |
- |
-61 |
* В скобках - для диапазона частот выше 100 кГц.
Примечание: Для районов с повышенной загрязненностью атмосферы расчетный уровень помех рекомендуется увеличивать на 9 дБ для ВЛ с одним проводом в фазе и на 5 дБ для ВЛ с расщепленными фазами.
Таблица 1-6
Расчетные значения затухания элементов ВЧ тракта
|
Схема присоединения ВЧ аппаратуры |
Значения аэл, дБ |
|||||||||||||||
|
ак |
Δатр1 |
Δа(0) |
аз |
аф.п |
акаб |
aш |
апром |
aр.ф |
aотв |
атрансп.ВЛ |
атрансп.т |
аш.д |
арад |
|||
|
ВЛ на одноцепных опорах |
ВЛ на двухцепных опорах |
не используемые для связи |
используемые для связи |
|||||||||||||
|
Фаза - земля |
2,5 |
1,0 |
3,0 |
2,0 |
3,0 |
1,5 |
0,5 |
1,0 |
3,5 |
1,0 |
5,5 |
7,0 |
- |
- |
- |
10lgm |
|
Фаза - фаза |
0 |
0 |
0 |
0 |
3,0 |
1,5 |
0,5 |
1,0 |
3,5 |
1,0 |
3,0 |
5,0 |
- |
- |
- |
10lgm |
|
Провод - провод расщепленной фазы |
0 |
0 |
0 |
0 |
1,0 |
1,5 |
0,5 |
1,0 |
- |
1,0 |
- |
- |
- |
- |
- |
- |
|
Трос - земля |
7,0 |
- |
0 |
0 |
- |
1,5 |
1,0 |
1,0 |
- |
1,0 |
- |
- |
1,0 |
0 |
1,0 |
- |
|
Два троса - земля |
2,0 |
- |
0 |
0 |
- |
1,5 |
1,0 |
1,0 |
- |
1,0 |
- |
- |
1,0 |
0 |
1,0 |
- |
|
Трос - трос |
1,0 |
- |
0 |
0 |
- |
1,5 |
1,0 |
1,0 |
- |
1,0 |
- |
- |
1,0 |
1,3 |
1,0 |
- |
Параллельное подключение аппаратуры каналов релейной защиты к аппаратуре каналов противоаварийной автоматики должно осуществляться через разделительные фильтры.
В таких случаях значение затухания, вносимого в ВЧ тракт канала, определяется из выражений:
- для канала релейной защиты или противоаварийной автоматики
(1-9)
где mр.з - число приемопередатчиков релейной защиты (противоаварийной автоматики), включенных параллельно;
mр.ф - число разделительных фильтров, включенных последовательно в ВЧ кабель BЧ аппарата рассчитываемого канала;
- для канала телефонной связи и телемеханики
(1-10)
где mтф - число аппаратов телефонной связи и телемеханики, включенных параллельно.
1.2.5.* Запас по перекрываемому затуханию Азап в канале необходим для обеспечения нормальной работы канала при увеличении уровня распределенных помех на BЛ из-за ухудшения погодных условий, при увеличении затухания линейного тракта от гололеда и изморози, а для каналов релейной защиты с передачей отключающего сигнала - также и при увеличении затухания линейного тракта при коротких замыканиях фазных проводов.
Значение Азап определяется в зависимости от назначения канала и района по гололеду, в котором находится трасса ВЛ. Если ВЛ проходит в различных районах по гололеду, то значение Азап принимается для района с большим номером.
Значения Азап, принимаемые в расчетах ВЧ каналов, определяются по формулам:
- для ВЧ каналов релейной защиты с передачей блокирующего сигнала
Допускается в отдельных случаях снижение значения Азап до
с обоснованием в проекте этого снижения.
Максимальное расчетное значение Азап может быть ограничено 20 дБ в 1-й районе по гололеду и 25 дБ - в остальных районах;
- для ВЧ каналов релейной защита с передачей отключающего сигнала и ВЧ каналов противоаварийной автоматики
- для ВЧ каналов телефонной связи и телемеханики
но не менее 9,0 дБ. Допускается снижение значения Азап до 9,0 дБ для ВЧ каналов по BЛ 35 - 110 кВ с линейными трактами с ответвлениями и обходами, если невозможно обеспечить расчетное значение Азап по формуле (1-13);
- для ВЧ каналов сигнализации гололедообразования
но не менее 9,0 дБ.
В формулах (1-11) - (1-14) принято:
Δаголf - прирост зазрения линейного тракта из-за гололеда на расчетной частоте. Определяется по рис. 1-22 - 1-29. Если длина линейного тракта короче 30 км, то значение Δаголf определенное по рис. 1-22 - 1-29, уменьшается в 30/l раз, где l - длина линейного тракта, км;
агол - прирост затухания из-за гололеда на всей длине линейного тракта при толщине стенки гололеда, принятой для срабатывания датчика нагрузки;
K3 - коэффициент, равный 1,0; 0,68; 0,48; 0,32 соответственно при числе проводов в фазе 1, 2, 3 и 5;
l - длина линейного тракта, км.
При невозможности обеспечения значения Азап по формулам (1-11) и (1-12) для ВЧ каналов релейной защиты и противоаварийной автоматики возможность снижения значения Азап согласовывается с заказчиком.
Поскольку значение Δаголf, учитываемое запасом по перекрываемому затуханию Азап, зависит от частоты, расчет значения fмакс по формуле (1-1) рекомендуется начинать, приняв максимальное значение Δаголf (например, для частот 400 - 500 кГц). Если определенное значение fмакс будет ниже 400 кГц, необходимо снизить значение Δаголf и выполнить повторный расчет. Определение fмакс заканчивается в случае, если достигнуто соответствие частот для Δаголf и fмакс.
После определения fмакс ВЧ каналов по проводящим грозозащитным тросам и внутрифазным трактам рекомендуется выполнять проверку достаточности принятого значения Азап путем сравнения его с затуханием из-за изморози на проводах линии. Увеличение затухания из-за изморози можно определить по формуле
где K3, s, m - то же, что и в формуле (1-14);
lиз - длина линейного тракта, покрытого изморозью, км.
Значения длины линейного тракта, покрытого изморозью, и толщины стенки изморози на проводах линии dиз могут быть определены по климатологическим справочникам.
Расчет по формуле (1-15) выполняется для такого одновременного сочетания lиз и dиз, которое дает наибольшее значение Δаиз за пятилетний период наблюдений.
Если значение Δаиз более принятого значения Азап, то оно должно быть скорректировано и принято равным Δаиз. После этого значение fмакс должно быть заново рассчитано.
Выбор частот производится с учетом назначений канала, затухания ВЧ тракта, возможных взаимных влияний между каналами, возможных помех ВЧ каналам от радиостанций, возможных помех радиоприему и ВЧ связи по воздушным проводным линиям, а также участка диапазона, который наиболее удобно использовать для применяемого оборудования (табл. 1-2, 1-3, 1-7 ÷ 1-14).
В тех случаях, когда частоты проектируемого канала можно разместить только в диапазоне выше расчетной наибольшей рабочей частоты, рекомендуется на выбранных частотах выполнить поверочный расчет ВЧ канала с использованием уточненных значений затухания элементов ВЧ тракта и уровней распределенных помех на BЛ. Поверочный расчет выполняется в соответствии с рекомендациями гл. 2.
1) для каналов релейной защиты и противоаварийной автоматики можно выбирать частоты во всем диапазоне 36 - 600 кГц с учетом ограничений, изложенных в пп. 1.2.8 и 1.2.10. На длинных линиях частоты этих каналов выбираются в диапазоне 36 - 92 кГц. В исключительных случаях на длинных линиях в диапазоне 36 - 92 кГц можно выбирать частоты каналов другого назначения;
2) в диапазоне 92 - 252 кГц выбираются частоты для межсистемных каналов диспетчерской связи ОДУ, магистральных каналов диспетчерской связи ДП РЭУ с ПЭС и с другими объектами системного значения, которые наиболее сложны и имеют большую протяженность;
3) в диапазоне 252 - 600 кГц выбираются частоты каналов для внутрисистемной телефонной связи небольшой протяженности с учетом ограничений, изложенных в пп. 1.2.8 и 1.2.9. В слабогололедных районах следует использовать более высокие частоты;
4) для каналов линейно-эксплуатационной связи с подвижными объектами на аппаратуре АСМ выделены полосы частот 50 - 53, 100 - 103 и 150 - 153 кГц.
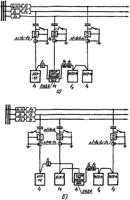
1.2.8. Для автоматических локационных искателей повреждений «ЛИДА», применяемых на ВЛ напряжением 330 - 750 кВ, требуется полоса частот 70 кГц. Рекомендуемые полосы частот для искателей повреждений приведены в табл. 1-15.
В полосе частот, используемой для работы автоматических искателей, нельзя размещать частоты ВЧ каналов, организуемых по фазным проводам к тросам данной линии (обслуживаемой искателем) и по второй линии, расположенной на тех же опорах (если ВЛ двухцепная), однако между полосами ВЧ каналов и искателя повреждений допускается нулевой разнос частот.
Таблица 1-7
Электрические данные ВЧ заградителей серии ВЗ
|
Индуктивность силовой катушки, мГ |
Номинальный ток силовой катушки, А |
Термическая устойчивость в течение 1 с, кА |
Электродинамическая устойчивость, нА |
Полоса заграждения по активному сопротивлению, кГц |
Активное сопротивление в полосе заграждения, Ом |
|
|
ВЗ-600-0,25 (выпуск с 1973 г.) |
0,25 |
600 |
20 |
30 |
100 - 140; 120 - 180; 150 - 260; 200 - 400; 300 - 600 |
500 |
|
ВЗ-600-0,25 (выпуск до 1973 г.) |
0,25 |
600 |
20 |
30 |
110 - 150; 140 - 200; 165 - 265; 205 - 430; 245 - 470 |
500 |
|
ВЗ-1000-0,6 (выпуск с 1973 г.) |
0,6 |
1000 |
30 |
42 |
40 - 50; 45 - 58; 50 - 65; 60 - 90; 75 - 115; 100 - 200; 120 - 300; 180 - 500 |
600 |
|
ВЗ-1000-0,6 (выпуск до 1973 г.) |
0,6 |
1000 |
30 |
42 |
45 - 53; 50 - 70; 60 - 90; 70 - 110; 90 - 185; 110 - 300; 220 - 600 |
600 |
|
BЗ-2000-1,2 |
1,2 |
2000 |
65 |
75 |
41 - 74; 53 - 125; 110 - 650 |
600 |
Таблица 1-8
Значения резонансных сопротивлений заградителя ВЗ-600-0,25 при одночастотной и двухчастотной настройках
|
Диапазон настройки, кГц |
Минимальное значение резонансного сопротивления при схемах настройки, кОм |
|||
|
резонансной одночастотной |
резонансной двухчастотной |
притуплённой одночастотной |
притуплённой двухчастотной |
|
|
40 - 100 |
3,0 |
1,2 |
1,2 |
0,8 |
|
100 - 250 |
6,0 |
3,0 |
2,0 |
0,8 |
Примечание. Отношение резонансных частот при двухчастотной настройке допускается в пределах 1,1 - 2,5.
Таблица 1-9
Электрические данные заградителей серий ВЧЗ и ВЧЭС
|
Тип заградителя |
Индуктивность силовой катушки, мГ |
Полоса заграждения по активному сопротивлению, кГц |
Активное сопротивление в полосе заграждения (Ом) не менее |
Номинальный ток силовой катушки, А |
Термическая устойчивость в течение 1 с, кА |
Электродинамическая устойчивость, кА |
|
ВЧЗ-300-0,15 |
0,16 |
50 - 600* |
500 |
300 |
10 |
25,6 |
|
ВЧЗ-100-0,15 |
0,14 |
50 - 600* |
500 |
100 |
4,5 |
13,5 |
|
ВЧЗС-200 |
1,3 (1,65)** |
25 - 33; 32 - 47; 39 - 61; 45 - 81; 53 - 108; 60 - 153; 73 - 600 |
500 |
200 |
8,3 |
22,0 |
|
ВЧЗС-200-В |
1,3 (1,65)** |
70 - 600 |
500 |
200 |
8,3 |
22,0 |
|
ВЧЗС-100 |
1,3 (1,65)** |
27 - 34; 33 - 47; 40 - 62: 46 - 78; 53 - 103; 65 - 190; 74 - 600 |
500 |
100 |
4,5 |
13,5 |
|
ВЧЗС-100-В |
1,3 (1,65)** |
70 - 600 |
500 |
100 |
4,5 |
13,5 |
* Диапазон, в котором осуществляется настройка на полосу частот.
** 1,3 мГ - на частоте 50 Гц; 1,65 кГ - на частоте 27 кГц.
Таблица 1-10
Электрические данные фильтров присоединения ФП и ФПУ
|
Емкость конденсатора связи, пФ |
Полоса пропускания, кГц |
Характеристическое сопротивление, Ом |
Рабочее затухание, дБ |
Схема фильтра |
Напряжение ВЛ, кВ |
|
2140 |
40 - 60 |
700 |
1,7 |
Тр |
330 |
|
2140 |
50 - 85 |
680 |
1,7 |
Тр |
330 |
|
2140 |
60 - 120 |
680 |
1,7 |
Тр |
330 |
|
2140 |
100 - 800 |
666 |
1,7 |
АТр |
330 |
|
2200 |
40 - 60 |
760 |
1,3 |
Тр |
110 |
|
2200 |
50 - 85 |
660 |
1,3 |
Тр |
110 |
|
2200 |
60 - 120 |
660 |
1,3 |
Тр |
110 |
|
2200 |
100 - 800 |
730 |
1,3 |
Тр |
110 |
|
3000 |
36 - 60 |
630 |
1,7 |
Тр |
750 |
|
3000 |
52 - 110 |
600 |
1,7 |
Тр |
750 |
|
3000 |
60 - 160 |
637 |
1,7 |
Тр |
750 |
|
3000 |
100 - 600 |
515 |
1,7 |
АТр |
750 |
|
3200 |
36 - 84 |
855 |
1,7 |
Тр |
220 |
|
3200 |
60 - 300 |
720 |
1,7 |
Тр |
220 |
|
3200 |
100 - 800 |
483 |
1,3 |
Тр |
220 |
|
4650 |
36 - 75 |
545 |
1,3 |
Тр |
500 |
|
4650 |
52 - 210 |
550 |
1,3 |
Тр |
500 |
|
4650 |
100 - 800 |
405 |
1,3 |
АТр |
500 |
|
6400 |
36 - 165 |
685 |
1,3 |
Тр |
110 |
|
6400 |
65 - 800 |
450 |
1,3 |
АТр |
110 |
|
7000 |
36 - 350 |
630 |
1,3 |
АТр |
330 |
|
7000 |
65 - 800 |
450 |
3,3 |
АТр |
330 |
|
17500 |
36 - 800 |
366 |
1,3 |
АТр |
Любое* |
* Используется для присоединения аппаратуры ВЧ каналов к проводящим грозозащитным тросам.
Примечания: 1. Рабочее затухание фильтра присоединения на частотах 10 % и менее от края полосы пропускания не более 1,7 дБ. 2. Схемы фильтров присоединения: Тр - трансформаторная, АТр - автотрансформаторная.
Таблицa 1-11
Электрические данные фильтров присоединения ОФП-4 и ФП-500
|
Тип фильтра присоединения |
Емкость конденсатора связи, пФ |
Полоса пропускания, кГц |
Характеристическое сопротивление, Ом |
Максимальное рабочее затухание, дБ |
|
ОФП-4 |
1100 |
49 - 120 |
1750 |
3,0 |
|
То же |
1100 |
75 - 200 |
1200 |
2,0 |
|
-"- |
1100 |
125 - 300 |
740 |
2,0 |
|
-"- |
2200 |
49 - 120 |
875 |
2,0 |
|
-"- |
2200 |
75 - 200 |
600 |
2,0 |
|
-"- |
2200 |
125 - 300 |
340 |
2,0 |
|
ФП-500 |
4650 |
40 - 200 |
720 |
1,0 |
|
То же |
4650 |
120 - 600 |
205 |
0,5 |
Примечание. Схема фильтра присоединения - трансформаторная.
Таблица 1-12
Электрические данные модификаций фильтра присоединения ОФП-4
|
Модификация |
Емкость конденсатора связи, пФ |
Полоса пропускания, кГц |
Характеристическое сопротивление, Ом |
Максимальное рабочее затухание, дБ |
Схема фильтра |
Модификация |
Емкость конденсатора связи, пФ |
Полоса пропускания, кГц |
Характеристическое сопротивление, Ом |
Максимальное рабочее затухание, дБ |
Схема фильтра |
|
A-1 |
1100 |
51 - 63 |
400 |
1,5 |
Тр |
Б-4 |
2200 |
95 - 200 |
400 |
1,0 |
Тр |
|
А-2 |
1100 |
57 - 69 |
400 |
1,5 |
Тр |
Б-5 |
2200 |
115 - 350 |
400 |
1,0 |
Тр |
|
А-3 |
1100 |
62 - 76 |
400 |
1,5 |
Тр |
Б-6 |
2200 |
120 - 500 |
400 |
1,5 |
АТр |
|
А-4 |
1100 |
66 - 92 |
400 |
1,0 |
Тр |
Б-7 |
2200 |
35 - 56 |
800 |
2,0 |
ТР |
|
А-5 |
1100 |
79 - 96 |
400 |
1,0 |
Тр |
Б-8 |
2200 |
45 - 87 |
800 |
2,0 |
Тр |
|
А-6 |
1100 |
96 - 120 |
400 |
1,5 |
Тр |
Б-9 |
2200 |
62 - 187 |
800 |
2,0 |
Тр |
|
А-7 |
1100 |
107 - 205 |
400 |
1,5 |
Тр |
Б-10 |
2200 |
85 - 420 |
800 |
2,0 |
АТр |
|
А-8 |
1100 |
125 - 225 |
400 |
1,0 |
Тр |
Б-11 |
2200 |
37 - 110 |
1600 |
2,0 |
АТр |
|
А-9 |
1100 |
175 - 340 |
400 |
1,0 |
Тр |
Б-12 |
2200 |
45 - 140 |
1600 |
2,0 |
АТр |
|
А-10 |
1100 |
39 - 56 |
800 |
2,0 |
Тр |
Б-13 |
2200 |
50 - 220 |
1600 |
2,5 |
АТр |
|
А-11 |
1100 |
48 - 63 |
800 |
1,5 |
Тр |
B-1 |
4400 |
110 - 1000 |
250 |
1,5 |
АТр |
|
A-12 |
1100 |
51 - 71 |
800 |
2,0 |
Тр |
В-2 |
4400 |
39 - 57 |
400 |
1,0 |
Тр |
|
A-13 |
1100 |
61 - 96 |
800 |
1,5 |
Тр |
В-3 |
4400 |
56 - 110 |
400 |
1,0 |
Тр |
|
A-14 |
1100 |
81 - 135 |
800 |
2,0 |
Тр |
В-4 |
4400 |
60 - 320 |
400 |
1,5 |
АТр |
|
A-15 |
1100 |
105 - 410 |
800 |
2,0 |
АТр |
В-5 |
4400 |
39 - 125 |
800 |
2,0 |
АТр |
|
A-16 |
1100 |
33 - 49 |
1600 |
2,0 |
Тр |
Г-1 |
3200 |
37 - 61 |
400 |
2,0 |
Тр |
|
A-17 |
1100 |
47 - 77 |
1600 |
2,0 |
Тр |
Г-2 |
3200 |
45 - 75 |
400 |
2,0 |
Тр |
|
A-18 |
1100 |
62 - 200 |
1600 |
2,0 |
АТр |
Г-3 |
3200 |
58 - 94 |
400 |
2,0 |
Тр |
|
A-19 |
1100 |
85 - 280 |
1600 |
2,0 |
АТр |
Г-4 |
3200 |
62 - 123 |
400 |
2,0 |
Тр |
|
А-20 |
1100 |
36 - 75 |
1600 |
3,0 |
АТр |
Г-5 |
3200 |
85 - 200 |
400 |
2,0 |
АТр |
|
A-21 |
1100 |
47 - 110 |
2000 |
3,0 |
Тр |
Г-6 |
3200 |
100 - 500 |
400 |
2,0 |
АТр |
|
А-22 |
1100 |
65 - 240 |
2000 |
3,0 |
АТр |
Д-1 |
6400 |
33 - 80 |
400 |
2,0 |
АТр |
|
Б-1 |
2200 |
49 - 75 |
400 |
1,0 |
Тр |
Д-2 |
6400 |
70 - 190 |
250 |
2,0 |
Тр |
|
Б-2 |
2200 |
65 - 100 |
400 |
1,0 |
Тр |
Д-3 |
6400 |
100 - 500 |
200 |
2,0 |
АТр |
|
Б-3 |
2200 |
71 - 120 |
400 |
1,0 |
Тр |
Примечание. Схема фильтра присоединения: Тр - трансформаторная, АТр - автотрансформаторная.
Таблица 1-13
Электрические данные фильтра присоединения УФП-75
|
Емкость конденсатора связи, пФ |
Полоса пропускания, кГц |
Характеристическое сопротивление, Ом |
Схема фильтра |
Емкость конденсатора связи, пФ |
Полоса пропускания, кГц |
Характеристическое сопротивление, Ом |
Схема фильтра |
Емкость конденсатора связи, пФ |
Полоса пропускания, кГц |
Характеристическое сопротивление, Ом |
Схема фильтра |
|
1100 |
288 - 600 |
600 |
ФВЧ |
2200 |
49 - 81 |
800 |
ПФ |
6200 |
35 - 600 |
800 |
ФВЧ |
|
1100 |
140 - 268 |
600 |
ПФ |
2200 |
43 - 68 |
800 |
ПФ |
6400 |
152 - 600 |
200 |
ФВЧ |
|
1100 |
94 - 240 |
800 |
ПФ |
3200 |
95 - 600 |
600 |
ФВЧ |
6400 |
90 - 224 |
200 |
ПФ |
|
1100 |
70 - 144 |
800 |
ПФ |
3200 |
57 - 140 |
600 |
АТр |
6400 |
72 - 140 |
200 |
ПФ |
|
1470 |
232 - 600 |
600 |
ФВЧ |
3200 |
54 - 116 |
600 |
ПФ |
6400 |
72 - 600 |
400 |
ФВЧ |
|
1470 |
144 - 280 |
600 |
ПФ |
3200 |
45 - 78 |
600 |
ПФ |
6400 |
47 - 135 |
400 |
ПФ |
|
1470 |
106 - 222 |
600 |
ПФ |
3200 |
75 - 600 |
800 |
ФВЧ |
6400 |
41 - 90 |
400 |
ПФ |
|
1470 |
94 - 164 |
600 |
ПФ |
3200 |
53 - 170 |
600 |
АТр |
6400 |
50 - 600 |
600 |
ФВЧ |
|
1470 |
78 - 117 |
600 |
ПФ |
4400 |
212 - 600 |
200 |
ФВЧ |
6400 |
42 - 280 |
600 |
АТр |
|
1470 |
62 - 89 |
800 |
ПФ |
4400 |
124 - 311 |
200 |
ПФ |
6400 |
39 - 166 |
600 |
ПФ |
|
2200 |
200 - 600 |
400 |
ФВЧ |
4400 |
108 - 230 |
200 |
ПФ |
6400 |
40 - 600 |
800 |
ФВЧ |
|
2200 |
126 - 324 |
400 |
ПФ |
4400 |
80 - 123 |
200 |
ПФ |
7000 |
48 - 600 |
600 |
ФВЧ |
|
2200 |
106 - 220 |
400 |
ПФ |
4400 |
104 - 600 |
400 |
ФВЧ |
11670 |
82 - 600 |
200 |
ФВЧ |
|
2200 |
80 - 125 |
400 |
ПФ |
4400 |
65 - 154 |
400 |
ПФ |
11670 |
40 - 600 |
400 |
ФВЧ |
|
2200 |
68 - 96 |
400 |
ПФ |
4400 |
54 - 110 |
400 |
ПФ |
11670 |
27 - 600 |
600 |
ФВЧ |
|
2200 |
144 - 600 |
600 |
ПФ |
4400 |
47 - 79 |
400 |
ПФ |
14000 |
28 - 600 |
600 |
ФВЧ |
|
2200 |
92 - 250 |
600 |
ПФ |
4400 |
42 - 62 |
400 |
ПФ |
17500 |
52 - 600 |
200 |
ФВЧ |
|
2200 |
73 - 142 |
600 |
ПФ |
4400 |
76 - 600 |
600 |
ФВЧ |
17500 |
32 - 600 |
400 |
ФВЧ |
|
2200 |
63 - 105 |
600 |
ПФ |
4400 |
46 - 136 |
600 |
ПФ |
17500 |
18 - 600 |
600 |
ФВЧ |
|
2200 |
54 - 77 |
600 |
ПФ |
4400 |
40 - 90 |
600 |
ПФ |
17500 |
14 - 600 |
800 |
ФВЧ |
|
2200 |
108 - 600 |
600 |
ФВЧ |
4400 |
52 - 600 |
800 |
ФВЧ |
35000 |
27 - 600 |
200 |
ФВЧ |
|
2200 |
60 - 210 |
800 |
АТр |
4400 |
52 - 330 |
800 |
АТр |
35000 |
14 - 600 |
400 |
ФВЧ |
|
2200 |
65 - 156 |
800 |
ПФ |
4400 |
40 - 140 |
800 |
АТр |
35000 |
10 - 600 |
600 |
ФВЧ |
|
2200 |
55 - 113 |
800 |
ПФ |
4400 |
36 - 105 |
800 |
ПФ |
||||
|
4400 |
40 - 600 |
800 |
ФВЧ |
Примечания: 1. Рабочее затухание фильтра присоединения в полосе пропускания не более 1,74 дБ (на краях полосы пропускания не более 2,18 дБ).
2. Схемы фильтров присоединения: ФВЧ - фильтра верхних частот, ПФ - полосового фильтра, АТр - автотрансформаторная.
Таблица 1-14
Электрические данные фильтра присоединения: ФП-РС-6-35
|
Емкость конденсатора связи, пФ |
Характеристическое сопротивление, Ом |
Максимальное рабочее затухание, дБ |
Схема фильтра |
Емкость конденсатора связи, пФ |
Полоса пропускания, кГц |
Характеристическое сопротивление, Ом |
Максимальное рабочее затухание, дБ |
Схема фильтра |
|
|
4400 |
18 - 30 |
1600 |
3,5 |
КУ |
17500 |
54 - 66 |
200 |
0,5 |
ФВЧ |
|
4400 |
27 - 57 |
1100 |
2,5 |
КУ |
17500 |
27 - 66 |
400 |
0,5 |
ФВЧ |
|
4400 |
27 - 39 |
800 |
2,5 |
КУ |
17500 |
18 - 66 |
800 |
0,5 |
ФВЧ |
|
4400 |
36 - 66 |
850 |
2,0 |
КУ |
35000 |
54 - 66 |
100 |
1,5 |
ФВЧ |
|
4400 |
36 - 48 |
650 |
1,5 |
КУ |
35000 |
27 - 66 |
200 |
1,0 |
ФВЧ |
|
4400 |
45 - 57 |
450 |
1,5 |
КУ |
35000 |
18 - 66 |
400 |
0,5 |
ФВЧ |
|
4400 |
54 - 86 |
450 |
1,0 |
КУ |
107000 |
18 - 66 |
100 |
1,5 |
ФВЧ |
|
11670 |
36 - 66 |
400 |
1,5 |
ФВЧ |
107000 |
18 - 66 |
200 |
0,5 |
ФВЧ |
|
11670 |
18 - 66 |
800 |
1,0 |
ФВЧ |
107000 |
18 - 66 |
400 |
0,5 |
ФВЧ |
Примечание. Схемы фильтров присоединения: КУ - компенсационного устройства; ФВЧ - фильтра высоких частот.
Таблица 1-15
Полосы частот, рекомендуемые для работы автоматических искателей повреждений «ЛИДА» на ВЛ 330 - 750 кВ
|
Напряжение ВЛ, кВ |
Схема ВЛ |
Подключение генератора искателя к фазе ВЛ |
Рекомендуемая полоса частот (кГц) при длине ВЛ, км |
|
|
до 200 |
выше 200 |
|||
|
330 |
Транспонированная |
Любой |
265 - 335 |
215 - 285 |
|
500, 750 |
То же |
То же |
215 - 285 |
165 - 235 |
|
330 - 750 |
Нетранспонированная |
Средней |
365 - 435 |
- |
|
330 - 750 |
То же |
Крайней |
215 - 285 |
- |
Частоты радиостанций общесоюзного вещания 173 ± 6, 236 ± 6, 263 ± 6 кГц не разрешается занимать по всей территории СССР.
Во избежание возможных помех радиоустройствам, осуществляющим обмен сигналами вызова и бедствия, не разрешается занимать для ВЧ каналов полосы частот 333 ± 4, 500 ± 4 кГц по всей территории СССР.
В таких случаях для каналов релейной защиты выбор частот осуществляется в соответствия с п. 1.2.9.
1.2.12. Мешающее влияние ВЧ каналов по ВЛ на ВЧ каналы по воздушным проводным линиям связи следует учитывать при пересечениях и сближениях ВЛ с линиями связи шириной менее 100 м в случае применения передатчиков мощностью более 5 Вт на один канал с полосой 4 кГц. В этих случаях рекомендуется проверять возможность применения для ВЧ каналов по ВЛ частот выше 150 кГц.
Влияния ВЧ каналов по ВЛ с передатчиками мощностью более 5 Вт в диапазоне 18 - 150 кГц на ВЧ каналы трех- и двенадцатиканальных систем по воздушным линиям связи можно не учитывать для:
- передатчиков каналов релейной защиты с кратковременной передачей сигналов в линию;
- одноканальных и многоканальных систем с внутрифазными трактами по расщепленным фазам;
- двенадцатиканальных систем совместно с усилителями с пиковой мощностью до 100 Вт при любых схемах подключения к проводам ВЛ;
- линий связи, оборудуемых в местах пересечения с ВЛ кабельными вставками;
- передатчиков мощностью более 5 Вт (но не выше 10 Вт) на один канал, если при сближении шириной 100 м и пересечения с линией связи напряжение помехи от ВЧ канала по ВЛ на входе усилительной станции будет не выше значений, приведенных в «Правилах защиты устройств проводной связи, железнодорожной сигнализации и телемеханики от опасного и мешающего влияний линий электропередачи. Часть II. Мешающие влияния». («Связь», 1972), с учетом дополнительных документов, вносящих поправки в Правила.
1.2.13. В случае большой загрузки диапазона частот существующими ВЧ каналами, приводящей к невозможности выбора частот для вновь проектируемых каналов, следует рассмотреть целесообразность перестройки или реконструкции части существующих каналов с целью более рационального использования диапазона частот, или сооружения разделительного ВЧ фильтра для увеличения переходного затухания между ВЛ (см. п. 1.5.11).
1.2.14.* Для лучшего использования диапазона частот ВЧ каналов, а также для уменьшения взаимного влияния между каналами, аппаратура которых подключена к различным фазам и линиям, рекомендуется группировать частоты приемников и передатчиков. При этом между полосами частот (или несущими частотами) каналов внутри групп и между группами должен быть обеспечен необходимый разнос по частоте.
При параллельном подключении ВЧ аппаратуры нескольких каналов рекомендуется чередовать частоты передатчиков и приемников, что позволит уменьшить разнос частот между каналами.
1.2.15. Для ВЧ каналов с обходами подстанций при параллельном подключении аппаратуры нескольких каналов к одной фазе рекомендуется группировать частоты каналов с различным количеством обходов и разделять полосы частот этих каналов с помощью разделительных фильтров, включаемых в ВЧ обход. Разделительные фильтры должны пропускать через обход частоты транзитных каналов и запирать частоты каналов, заканчивающихся на подстанции с обходом.
При такой схеме обеспечиваются лучшие частотные характеристики ВЧ тракта и большое значение переходного затухания подстанции в месте обхода для частот ближних каналов.
Полосы частот повышенного затухания для ВЧ обходов с фильтрами присоединения ОФП-4 и ФП приведены в табл. 1-16.
1.3. Условия, определяющие разнос частот
1.3.1. Разнос частот между рабочими полосами или несущими передатчика и приемника дуплексного ВЧ канала должен быть не менее значений, указанных в технической документации на аппаратуру завода-изготовителя (табл. 1-17).
1.3.2.* Частоты передатчиков УПЗ-70, АЗВ в ВЧ каналах релейной защиты должны различаться:
Схема и длина ВЛ, км Разность частот передатчиков, кГц
Без ответвлений, короче 100 0
Без ответвлений, более 100 1,5
С ответвлениями 0,5
На ВЛ без ответвлений длиной более 100 км допускается работа передатчиков на одной частоте, если соблюдается условие
(1-16)
где
- затухание линейного тракта, дБ.
Примечание. На ВЛ без ответвлений короче 100 км допускается принимать разность частот 1,5 кГц для приемопередатчиков УПЗ-70, если необходимо увеличить перекрываемое затухание в канале на 4 дБ (см. табл. 1-4).
Таблица 1-16
Области повышенного затухания ВЧ обхода подстанции с входным сопротивлением 50 Ом и более с фильтрами присоединения ОФП-4 и ФП
|
Емкость конденсатора связи, пФ |
Полоса пропускания фильтра присоединения, кГц |
Области повышенного затухания ВЧ обхода (кГц) при схеме включения обмоток обоих фильтров присоединения |
||
|
одинаковой |
встречной |
|||
|
ОФП-4 |
2200 |
49 - 120 |
63 - 88 |
49 - 52 |
|
2200 |
75 - 200 |
95 - 135 |
|
|
|
2200 |
125 - 300 |
156 - 212 |
125 - 130 |
|
|
ФП, ФПУ |
2200 |
40 - 60 |
47 - 56 |
40 - 42 |
|
2200 |
50 - 85 |
61 - 78 |
50 - 52 |
|
|
2200 |
60 - 120 |
75 - 101 |
60 - 63 |
|
|
2200 |
100 - 500 |
120 - 220 |
100 - 105 |
|
|
2200 |
100 - 800 |
130 - 210 |
- |
|
|
3200 |
36 - 84 |
47 - 69 |
36 - 38 |
|
|
3200 |
60 - 300 |
75 - 135 |
- |
|
|
2200 |
100 - 800 |
138 - 210 |
- |
|
|
6400 |
36 - 185 |
49 - 83 |
36 - 39 |
|
|
6400 |
65 - 800 |
80 - 140 |
- |
|
1.3.3.* Разнос частот между рабочими полосами или несущими различных ВЧ каналов по ВЛ должен обеспечивать работу каналов без взаимных помех.
Таблица 1-17
Частотные параметры приемников ВЧ аппаратуры
|
Рабочий диапазон частот, кГц |
Минимальный разнос частот приемника и передатчика, % |
Полоса частот зеркального канала, кГц |
Минимальная избирательность приемника по зеркальному каналу, дБ |
||
|
fдм1 > fб |
fдм1 < fб |
||||
|
ACК-1 |
40 - 500 |
5 (но не менее 5 кГц)* |
fб.в + (40 - 44) |
fб.н - (40 - 44) |
95,0 |
|
АСК-3 |
40 - 500 |
5 (но не менее 12 кГц)* |
fб.в + (40 - 52) |
fб.н - (40 - 52) |
87,0 |
|
ACК-PC |
40 - 300 |
- |
fб.в + (40 - 48) |
fб.н - (40 - 48) |
70,0 |
|
301 - 500 |
- |
fб.в + (40 - 48) |
fб.н - (40 - 48) |
52,0 |
|
|
ВЧА-СЧ |
40 - 500 |
- |
fб.в + (16 - 24) |
fб.н - (16 - 24) |
44,0 |
|
ВЧА-ГТФ |
40 - 300 |
7 (но не менее 8 кГц)* |
fб.в + (24 - 28) |
fб.н - (24 - 28) |
52,0 |
|
301 - 500 |
То же |
fб.в + (24 - 28) |
fб.н - (24 - 28) |
44,0 |
|
|
ВЧА-ЭТФ |
40 - 300 |
10 (но не менее 12 кГц)* |
fб.в + (8 - 20) |
fб.н - (8 - 20) |
44,0 |
|
301 - 500 |
То же |
fб.в + (8 - 20) |
fб.н - (8 - 20) |
39,0 |
|
|
МПУ-12 |
168 - 602 |
50 кГц при двухпроводном выходе. Любой при четырехпроводном выходе |
fб.в + (72 - 120) или fб.в + (188 - 236) |
fб.н - (72 - 120) или fб.н - (188 - 236) |
87,0 |
|
КМК-64 КМК-226 |
50 - 160 |
12** |
fб.в + (13,8 - 15,9) (МК-63) fб.в + (7 - 12,5) (ВЧ-63) |
fб.н - (13,8 - 15,9) (МК-63) fб.н - (7 - 12,5) (ВЧ-63) |
83,0 (МК-63) |
|
161 - 260 |
15** |
70,0 (ВЧ-53) |
|||
|
261 - 350 |
17** |
70,0 (МК-63-01) |
|||
|
ТСД-70 |
40 - 500 |
10 (но не менее 10 кГц)** |
fнес + (20 ± 3) |
- |
52,0 |
|
ДСГ-68 |
30 - 50 |
- |
fнес + (20 ± 3) |
- |
52,0 |
|
АСМ |
50 - 53 |
- |
900 - 903 |
- |
70,0 |
|
100 - 103 |
- |
900 - 903 |
- |
70,0 |
|
|
150 - 153 |
- |
850 - 853 |
- |
70,0 |
|
|
ВЧТО-М |
40 - 200 |
5 (но не менее 10 кГц)*** |
fнес + 20 |
- |
61,0 |
|
201 - 500 |
То же |
- |
fнес - 20 |
61,0 |
|
* От верхнего края нижней полосы частот.
** Между средними частотами полос или несущими частотами.
*** Между несущими частотами ВЧТО-М или несущей частотой ВЧТО-М и ближайшим краем полосы передатчика другого канала при их параллельном подключении.
Примечание: fдм1 - частота первого демодулятора; fб.в, fб.н - верхняя и нижняя граничные частоты рабочей полосы приема; fнес - несущая частота.
В настоящих Руководящих указаниях приняты следующие нормы разности уровней полезного и мешающего сигналов, обеспечивающие работу ВЧ каналов без взаимных помех:
- на выходе приемника телефонного канала мешающий сигнал должен быть ниже полезного сигнала не менее чем на 35 дБ, а на входе приемника канала телемеханики - не менее чем на 25 дБ;
- уровень мешающего сигнала на выходе ВЧ фильтра приемника аппаратуры УПЗ-70, ПВЗД, ПВЗК, АЗВ ВЧ каналов релейной защиты с передачей блокирующего сигнала должен быть ниже уровня порога чувствительности не менее чем на 10 дБ;
- уровень мешающего сигнала на выходе фильтров широкополосной части приемника (до ограничителя амплитуд) ВЧ каналов релейной защиты с передачей отключающего сигнала, противоаварийной автоматики, телесигнализации должен быть ниже уровня порога чувствительности не менее чем на 10 дБ;
- на входе первого преобразователя частоты приемника с двойным преобразованием мешающий сигнал, частота которого находится за пределами полосы рабочих частот, может превышать полезный сигнал не более чем на 9,0 дБ (для аппаратуры ВЧТО-М это значение превышения относится к уровню порога ограничения).
1.3.4. В соответствии с методикой выбора частот, принятой в настоящих Руководящих указаниях, разность уровней полезного и мешающего сигналов определяется на входе приемника ВЧ канала для наихудших условий для данного района по гололеду.
1.3.5. Мешающее влияние автоматических искателей повреждений на ВЧ каналы всех назначений, кроме каналов релейной защиты и противоаварийной автоматики, на смежных ВЛ не учитывается (на ВЛ, не обслуживаемых искателем повреждений). Для этих каналов можно выбирать частоты в полосах, рекомендуемых для искателя повреждений. Полоса частот искателя повреждений и частоты каналов релейной защиты и противоаварийной автоматики на смежных ВЛ не должны совпадать.
1.3.6. Уровень мешающего сигнала определяется с учетом переходного затухания между ВЧ трактами каналов.
На существующих ВЛ значения переходных затуханий между передатчиком и приемником, подверженным влиянию, рекомендуется определять измерениями.
Для проектируемых ВЛ переходные затухания определяются согласно рекомендациям разд. 1.4 и 1.5.
1.3.7. Выбор частот для промежуточного усилителя на смежных участках может производиться без смены частот, с инверсией частот приема и передачи или со сдвигом частот.
Без смены частот и с инверсией частот приема и передачи требуется меньшее количество полос частот, чем при усилении со сдвигом частот.
- для ВЧ каналов по фазным проводам
где Sус = рпер - рпр - усиление промежуточного усилителя, дБ;
рпер - уровень передачи сигнала промежуточного усилителя, дБ;
рпр - расчетный уровень сигнала на входе приемника промежуточного усилителя, дБ; определяется для нормальных погодных условий;
Ал.б - переходное затухание между фазами ВЛ (или тросами ВЛ), к которым подключается промежуточный усилитель, на ближнем конце, дБ; определяется согласно рекомендациям разд. 1.5;
ΔААРУ - расчетное значение автоматической регулировки уровня системы АРУ промежуточного усилителя, дБ; принимается равным Азап;
m - количество промежуточных усилителей прямого усиления в канале;
- для ВЧ каналов по грозозащитным тросам
1) переходное затухание с ближнего конца для частот передачи
где Δрпер - разность уровней передачи сигналов промежуточного усилителя в противоположных направлениях, дБ. Рекомендуется принимать Δрпер ≤ 4 дБ.
Остальные обозначения те же, что и в (1-17);
2) переходное затухание с дальнего конца для частот приема
где Δр'пр = Δрпр + ΔААРУ - разность уровней приема сигналов со смежных усилительных участков при гололедных образованиях на ВЛ одного из усилительных участков, дБ;
Δрпр - разность уровней приема сигналов со смежных усилительных участков при нормальных условиях, дБ.
Рекомендуется принимать Δрпр ≤ 4 дБ.
Остальные обозначения те же, что и в (1-17).
При определении переходных затуханий согласно рекомендациям разд. 1.5, возможность применения инверсии частот проверяется для наихудших условий, т.е. по выражению (1-19), поскольку переходные затухания принимаются независимыми от частоты.
Применение промежуточных усилителей с инверсией частот на линиях, у которых усилительные участки различаются по затуханию более чем на 4 дБ, не рекомендуется ввиду невозможности эффективного использования усилительной способности аппаратуры. Применение более двух промежуточных усилителей с инверсией частот в одном ВЧ канале по фазным проводам ВЛ не рекомендуется, поскольку многочисленные цепи обратных связей могут послужить причиной нестабильности остаточного затухания и паразитной генерации в канале [Л.5].
В случае применения для промежуточных усилителей сдвига частот значение сдвига определяется так же, как и значение разноса частот между различными каналами в соответствии с разд. 1.4 с учетом переходных затуханий.
1.3.10. С целью рационального использования диапазона частот следует повторять частоты ВЧ каналов на разных участках электрической сети (включая ВЧ каналы на смежных участках ВЛ), особенно на линиях различного напряжения. Возможность повторения частот проверяется по условию допустимой разности уровней полезного и мешающего сигналов на входе приемника аппаратуры и определяется по рис. 1-32 ÷ 1-46 для нулевого значения разноса частот. Уровень приема полезного сигнала в этих случаях принимается равным минимальному уровню приема, а уровень мешающего сигнала определяется с учетом затухания ВЧ тракта при нормальных погодных условиях.
1.3.11. При определении необходимого разноса частот между каналами влияние передатчиков каналов релейной защиты с передачей блокирующего сигнала на приемники каналов телефонной связи и телемеханики можно не учитывать, так как передача сигналов релейной защиты осуществляется кратковременно во время аварии или при проверках канала.
1.3.13.* Допустимость совместной работы приемника и передатчика, частота которого попадает в полосу зеркального канала приемника (рис. 1-47), проверяется по условию:
- для канала телефонной связи
где рмеш.макс - максимальный уровень мешающего передатчика (дБ), значение которого принимается из табл. 1-1 и 1-2;
Азерк - избирательность приемника в полосе зеркального канала (дБ), принятая из табл. 1-17;
рпp. мин - минимальный уровень приема ВЧ канала, для которого проверяется условие (1-20);
- для канала телемеханики
(1-20а)
- для каналов релейной защиты с передачей отключающего сигнала, противоаварийной автоматики, телесигнализации гололедообразования
(1-20б)
где рп.ч - уровень порога чувствительности приемника по табл. 1-3.
Значение рмеш.макс для передатчиков одноканальных и трехканальных систем принимается равным максимальному уровню передачи, а для передатчиков двенадцатиканальных систем, занимающих полосу 48 кГц, - равным уровню передачи на один канал.
1.3.14. На протяженных ВЛ 500 и 750 кВ, по которым организуются ВЧ каналы по проводящим тросам с применением двенадцатиканальной системы в спектре частот 36 - 143 кГц, допускается сокращение количества телефонных каналов этой системы с занятием освободившихся полос частот для организации каналов релейной защиты (или противоаварийной автоматики) по фазным проводам.
Необходимый разнос частот между несущими каналов для релейной защиты и ближайшим телефонным каналом двенадцатиканальной системы определяется по рис. 1-41 ÷ 1-44. Уровень мешающего сигнала на входе приемника релейной защиты определяется с учетом переходного затухания между линейными трактами согласно рекомендациям разд. 1.5.
В указанных случаях необходимо учитывать следующее:
1) не рекомендуется использование для каналов релейной защиты полос, в которых расположены контрольные частоты двенадцатиканальной системы;
2) при организации нескольких ВЧ каналов релейной защиты по фазным проводам (например, для основной и резервных защит) следует стремиться к сокращению у двенадцатиканальной системы каналов обоих направлений передачи и к использованию промежутка между полосами обоих направлений. При этом количество неиспользуемых каналов у двенадцатиканальной системы будет минимальным.
Передатчик Разнос полос частот, %.
Мощностью до 10 Вт......................................... 10 (но не менее 8 кГц)
УМ-1/12-100 с полосой 4 и 12 кГц................... 10 (но не менее 10 кГц)
УМ-1/12-100 с полосой 48 кГц......................... 15 (но не менее 30 кГц)
1.4.2.* Значение минимального разноса частот между полезным и мешающим сигналами для приемников аппаратуры (см. табл. 1-1 и 1-2) определяется по рис. 1-32 ÷ 1-46, где Δf соответствует разносу частот между ближайшими краями полос полезного и мешающего сигналов для однополосной аппаратуры, а также между несущей частотой и ближайшей частотой мешающего сигнала для аппаратуры систем ЧМ и релейной защиты (ТСД-70, ДСГ-68, ПВЗК, ПВЗД, УПЗ-70, AЗB, ВЧТО-М),
![]()
1.4.3. Уровень мешающего сигнала на входе приемника определяется по формуле
где атр - затухание тракта на частоте мешающего передатчика от места его включения до входа приемника, подверженного влиянию, дБ;
рмеш.макс - то же, что в формуле (1-20).
Значение атр определяется приближенно по формуле
где 7,5 дБ - затухание элементов ВЧ тракта на передающем конце и концевые затухания.
Принято:
аз = 3,0 дБ; аф.л = 1,5 дБ; акаб = 0,5 дБ; ак = 2,5 дБ;
Σα(ф)l - сумма затуханий линейных трактов всех ВЛ на частоте мешающего передатчика, дБ; определяется по рис. 1-1 ÷ 1-7; 1-13 ÷ 1-19 в зависимости от класса напряжения ВЛ, расположения фаз и наличия транспозиций;
3,5 дБ - среднее затухание, вносимое ответвлением;
mотв - количество ответвлений;
10 дБ - среднее затухание, вносимое ВЧ обходом, которое принимается для оценки затухания ВЧ тракта для мешающего сигнала;
mобх - количество обходов;
ΣАпрх - сумма всех переходных затуханий подстанций, не имеющих ВЧ обходов на частоте мешающего передатчика, дБ; определяется согласно рекомендациям разд. 1.5.
Схема ВЧ обхода подстанции учитывается формулой (1-21) как обход в случае, если ВЧ обход выполнен на фазе, одноименной с фазой мешающего передатчика; частота мешающего передатчика расположена в полосе настройки заградителей и фильтров присоединения обхода, в схеме обхода нет разделительных фильтров, запирающих частоту мешающего передатчика.
Если одно из условий, указанных выше, не выполняется, то ВЧ обход не учитывается, а затухание такой подстанции определяется Апрх из формулы (1-22).
Если уровень мешающего сигнала определяется через один участок ВЛ и более (рис. 1-48), переходное затухание промежуточных подстанций (например, п/ст.2 на рис. 1-48,а и п/ст.2 на рис. 1-48,б) рекомендуется учитывать следующим образом:
1) для подстанций, на которых расположен приемник, подверженный влиянию (например, на п/ст.1 рис. 1-48,б для мешающих сигналов Прд1 и Прд2 на Прм3), переходное затухание определяется с дальнего конца. При этом заградитель на п/ст.1 со стороны ВЛ2 учитывается в тех случаях, когда он включен в фазу, одноименную с фазой мешающего передатчика, если ВЛ2 симметричная (области частот 1 по рис. 2-5, 2-6, 2-9 ÷ 2-13), или в среднюю (верхнюю) фазу, если ВЛ2 несимметричная или транспонированная;
2) для промежуточных подстанций (например, п/ст.2 на рис. 1-48,а для мешающего сигнала Прд3 на Прм1) переходное затухание учитывается в тех случаях, когда на промежуточной подстанции имеется заградитель, включенный в фазу, одноименную с фазой мешающего передатчика, если ВЛ перед этой подстанцией (ВЛ2) симметричная, или в среднюю (верхнюю) фазу, если ВЛ несимметричная или транспонированная.
При возможности распространения мешающего сигнала по нескольким трактам расчет по формуле (1-21) производится для тракта с наименьшим затуханием.
Формулой (1-21) нужно пользоваться в случаях, когда передатчики мешающего и полезного сигналов расположены на различных подстанциях (например, Прд2 и Прд1 или Прд3 и Прд1 на рис. 1-48,а).
При расположении передатчиков на одном объекте полезный и мешающий сигналы распространяются до приемника, подверженного влиянию, по одной и той же ВЧ (см. рис. 1-48,б). Поэтому в таких случаях разность уровней полезного и мешающего сигналов Δр или уровень мешающего сигнала рмеш можно определять из выражений:
(1-23)
где Ал.б - переходное затухание между ВЛ на ближнем конце, дБ; определяется согласно рекомендациям разд. 1.5;
рмеш.макс - то же, что и в формуле (1-20);
рпер - уровень передачи полезного сигнала, дБ; определяется по табл. 1-2 и 1-3;
(1-24)
где α(ф)l - линейное затухание на частоте мешающего передатчика до входа приемника, подверженного влиянию, дБ.
1.4.4. При расположении мешающего передатчика и приемника, подверженного влиянию, на одном объекте (например, Прд1 и Прм2 на рис. 1-48,а) значения Δр и рмеш определяются из выражений:
(1-25)
(1-26)
Если для каналов телефонной связи и телемеханики может быть рассчитан уровень приема полезного сигнала рпр при нормальных атмосферных условиях, значение Δp может быть определено по формуле
(1-27)
1.4.5. Возможность размещения рядом полос мешающего и полезного сигналов каналов на аппаратуре системы ОБД проверяется по рис. 1-32 ÷ 1-40, 1-45 и 1-46 для разноса частот 0,6 кГц.
1.5.1. Расчетные значения переходного затухания между фазами одной ВЛ 35 - 750 кВ и между фазами разных ВЛ на двухцепных опорах принимаются согласно табл. 1-18.
1.5.3.* Затухание перехода подстанции с ближнего конца для ВЧ трактов со схемой присоединения фаза - земля разных ВЛ одного напряжения, обусловленное электрической связью (Ал.б) без смены обрабатываемой фазы, определяется по рис. 1-49.
Входное сопротивление подстанции с длиной сборных шин не более 30 м на одну фазу (без учета спусков к оборудованию) в диапазоне частот до 500 кГц приближенно определяется по формуле
(1-28)
где f - расчетная частота канала, кГц;
Cn = ΣС - сумма эквивалентных емкостей оборудования и сборных шин одной фазы на землю, пФ; определяется по данным табл. 1-19.
При отсутствии одного из заградителей значение Ал.б, определенное по рис. 1-49, уменьшается на 9,0 дБ. При расчете уровня мешающего сигнала на входе приемника канала релейной защиты и противоаварийной автоматики значение Ал.б таких подстанций принимается равным 10 дБ при наличии заградителей на частоте мешающего сигнала.
Таблица 1-18
Переходные затухания между фазами ВЛ 35 - 750 кВ
|
Переходное затухание, дБ |
|||||||||
|
Симметричная BЛ |
Транспонированная ВЛ с одним циклом транспозиции |
Нетранспонированные ВЛ |
|||||||
|
Ал.б |
Ал.д |
||||||||
|
Ал.б |
Ал.д |
Ал.б |
Ал.д |
1-2 |
1-3 |
2-1 |
1-2 и 1-3 |
2-1 |
|
|
35 |
18 |
5 |
18 |
5 |
- |
- |
- |
- |
- |
|
110 |
18 |
5 |
18 |
5 |
13 |
18 |
13 |
0 |
5 |
|
220 |
22 |
5 |
22 |
5 |
18 |
22 |
18 |
0 |
5 |
|
330 и выше |
- |
- |
26 |
5 |
22 |
26 |
22 |
0 |
5 |
Примечания:
1. Значение Ал.д, равное 5 дБ для транспонированных ВЛ и 0 дБ для нетранспонированных ВЛ, дано в диапазоне частот, рекомендуемом для организации ВЧ связи. Вне пределов рекомендуемого диапазона Ал.д может принимать значения до 0 дБ для транспонированных ВЛ и до минус 22 дБ для нетранспонированных ВЛ.
2. Графа 1-2 - переход с крайней фазы на среднюю фазу; 1-3 - переход с одной крайней фазы на другую крайнюю; 2-1 - переход со средней фазы на крайнюю.
Если длина сборных шин подстанции превышает 30 м, значение Ал.б между одноименными фазами не рассчитывается и принимается равным 0 дБ - при отсутствии заградителей, 20 дБ - при наличии заградителя в одной ВЛ, 25 дБ - при наличии заградителей в обеих ВЛ.
Смена обрабатываемой фазы на подстанции увеличивает затухание перехода подстанции с ближнего конца на 9,0 дБ независимо от наличия заградителей.
1.5.4.* Затухание перехода подстанции с ближнего конца для линейных трактов со схемой присоединения фаза - земля ВЛ разных классов напряжения определяются суммированием значений, указанных в п. 1.5.3, и значений, приведенных в табл. 1-20.
1.5.5.* Затухание перехода подстанции с дальнего конца для линейных трактов со схемой присоединения фаза - земля ориентировочно определяется из выражения
(1-29)
со схемой присоединения фаза - фаза Ал.д ≈ Aл.б.
Таблица 1-19
Эквивалентная емкость оборудования подстанции
|
Напряжение обмотки, кВ |
Эквивалентная емкость, пФ |
Тип оборудования |
Напряжение обмотки, кВ |
Эквивалентная емкость, пФ |
|
|
ТМ-1800/35 |
37 |
280 |
ТФНД-110 |
110 |
280 |
|
ТМ-5600/35 |
35 |
640 |
ТФНД-220 |
220 |
150 |
|
ОДГ-10500/110 |
110 |
1350 |
ТФНКД-500 |
500 |
120 |
|
ТМГ-5600/110 |
110 |
790 |
ВМД-35 |
35 |
350/190** |
|
ТДТГ-10000/110 |
110 |
760 |
МКП-110М |
110 |
1220/350** |
|
ТДТГ-20000/110 |
110 |
630 |
ВВН-110/800 |
110 |
75/-** |
|
ТДТГ-60000/110 |
112 |
970 |
ВВН-220 |
220 |
500/-** |
|
ТДНГ-20000/110 |
112 |
1040 |
ВВН-500/2000 |
500 |
470/300** |
|
ТДТНГ-20000/110 |
112 |
1200 |
РЛНЗ-35/600 |
35 |
140/45** |
|
ОДТГ-30000/220 |
242 |
2500* |
РЛНЗ-110М |
110 |
130/23** |
|
121 |
1500 |
Нож РЛНЗ-110М |
110 |
100 |
|
|
ОДТГ-40000/220 |
242 |
2680* |
РЛНЗ-220 |
220 |
240/200** |
|
121 |
2170 |
РОНЗ-500/2000 |
500 |
200/50** |
|
|
ОДТГА-138000/220 |
242 |
3100 |
Нож РОНЗ-500/2000 |
500 |
140 |
|
121 |
8700 |
РВС-35 |
35 |
50 |
|
|
АТДЦТН-250000/500 |
600 |
2000 |
РВС-110 |
110 |
85 |
|
НОМ-35 |
37 |
160 |
РВС-220 |
220 |
85 |
|
НКФ-110 |
121 |
110 |
РВМК-500 |
500 |
200 |
|
НКФ-220 |
220 |
50 |
Сборные шины (на 1 м длины) |
- |
7,5 |
|
НКФ-500 |
500 |
100 |
|||
|
ТФН-35 |
35 |
90 |
* В диапазоне частот 40 - 250 кГц.
** Числитель соответствует включенному положению, знаменатель - отключенному.
Таблица 1-20
Увеличение переходного затухания для ВЛ разных напряжений
|
Увеличение затухания ΔАл.б (дБ) при напряжении второй ВЛ, кВ |
||||||
|
35 |
110 |
220 |
330 |
500 |
750 |
|
|
35 |
0 |
18 |
26 |
44 |
44 |
44 |
|
110 |
18 |
0 |
18 |
26 |
44 |
44 |
|
220 |
26 |
18 |
0 |
18 |
26 |
44 |
|
330 |
44 |
26 |
16 |
0 |
18 |
26 |
|
500 |
44 |
44 |
26 |
18 |
0 |
18 |
|
750 |
44 |
44 |
44 |
26 |
18 |
0 |
Переходное затухание внутрифазного тракта на тракт фаза - земля другой фазы той же ВЛ принимается равным 40 дБ на ближнем конце и 30 дБ на дальнем конце. Если переходное затухание определяется на линейные тракты по схеме фаза - земля других ВЛ, то оно определяется суммированием указанных значений и значений переходных затуханий, определенных согласно пп. 1.5.3 и 1.5.4.
1.5.7.* Переходное затухание между линейным трактом по грозозащитным тросам и трактом со схемой присоединения фаза - земля той же ВЛ принимается равным 20 дБ на ближнем конце и 5 дБ на дальнем конце.
Переходное затухание между линейным трактом по грозозащитным тросам и трактами со схемой присоединения фаза - земля других ВЛ определяется суммированием указанных значений и значений переходных затуханий, приведенных в пп. 1.5.3 и 1.5.4.
1.5.9.* Переходное затухание на ближнем конце между линейными трактами по грозозащитным тросам в пункте промежуточного усиления на трассе ВЛ принимается равным для схем присоединения:
Схема присоединения Переходное затухание Ал.б, дБ
Трос - трос 52
Трос - земля 37
Два троса - земля 32
1.5.10.* Переходное затухание между линейными трактами со схемой присоединения фаза - земля разных ВЛ, обусловленное электромагнитной связью на участке сближения, на ближнем конце определяется по формуле
где Аэм.б.∞ - переходное затухание при бесконечной длине параллельного расположения, дБ; определяется по рис. 1-50;
Δ1А - поправка, учитывающая конечную длину параллельного расположения, дБ; определяется по рис. 1-51.
При параллельном расположении
двух ВЛ на длине
км значение Δ1А принимается равным нулю, а при
км электромагнитная связь не учитывается.
В случае, когда две ВЛ имеют косое сближение (рис. 1-52), эквивалентное расстояние между ними определяется по формуле
(1-31)
где dмакс и dмин - максимальное и минимальное расстояния между осями ВЛ. Расчетная длина косого сближения принимается из условия dмакс = 5dмин.
Если на одной или обеих ВЛ
используется схема присоединения фаза - фаза или сближение двух ВЛ имеет место только на трассе
при удалении от подстанции на расстояние
км с любой схемой присоединения аппаратуры на этих подстанциях, значение Аэм.б ориентировочно принимается на 20 дБ больше определенного по
формуле (1-30).
(1-32)
где Δ2A - поправка, определяемая по рис. 1-53 в зависимости от значения Ал.б - Аэм.б.
1.5.12. Частотное деление различных частей электросети можно осуществлять включением ВЧ фильтра в разрез между разделяемыми ВЛ. Одна из возможных схем разделительного ВЧ фильтра проведена на рис. 1-54 [Л.6].
Разделительный ВЧ фильтр может быть включен у подстанции или в ячейке отходящей ВЛ, если между ВЛ нет сильной электромагнитной связи. При наличии электромагнитной связи разделительный ВЧ фильтр должен включаться в конце параллельного расположения линии, т.е. в месте, где ВЛ расходятся по разным трассам.
Затухание перехода подстанции с разделительным ВЧ фильтром определяется как сумма затуханий перехода подстанции, определенных согласно пп. 1.5.3 - 1.5.6, 1.5.10, 1.5.11, и разделительного фильтра.
1.5.13. Переходное затухание между линейными трактами, определенное по рекомендациям разд. 1.5, должно ограничиваться значениями 65 дБ для схем присоединения фаза - земля, трос - земля, два троса - земля и 85 дБ для схем присоединения фаза - фаза и трос - трос. Это ограничение отсутствует, если определяется переходное затухание с линейных трактов по фазным проводам и тросам на внутрифазный тракт других ВЛ.
1.6.1. Генератор импульсов автоматического локационного искателя повреждений «ЛИДА» рекомендуется подключать к выделенной фазе по схеме фаза - земля. При невозможности выделения фазы подключение генератора импульсов искателя повреждений можно осуществлять параллельно с аппаратурой ВЧ каналов любого назначения, кроме релейной защиты и противоаварийной автоматики, с ограничением напряжения генерируемых импульсов до 1 кВ (рис. 1-55).
1.6.2. Приемник искателя повреждений подключается ко всем трем фазам линии. Высокочастотные заградители и фильтры присоединения всех трех фаз, к которым подключается искатель повреждений, должны выбираться согласно рекомендациям пп. 1.6.3 ÷ 1.6.4.
На противоположном конце линии, где искатель повреждений не устанавливается, ВЧ заградители для искателя повреждений не требуются.
1.6.3. Высокочастотные заградители должны обеспечивать в полосе рабочих частот искателя повреждений активную составляющую полного сопротивления не менее 350 Ом.
Затухание фильтров присоединения в полосе рабочих частот искателя повреждений не должно превышать 2,5 дБ.
1.6.4. Разделительные фильтры между аппаратурой ВЧ каналов по фазным проводам и искателя повреждений «ЛИДА» устанавливаются в случаях, если длина ВЧ кабеля между этими аппаратами определяется выражением
(1-33)
где f - максимальная рабочая частота, запираемая разделительным фильтром, кГц.
Затухание, вносимое в ВЧ тракт разделительным фильтром на рабочих частотах, расположенных в полосе пропускания, не должно превышать 1 дБ.
1.6.5. В тех случаях, когда для ВЧ каналов телефонной связи и телемеханики по проводящим грозозащитным тросам ВЛ необходимо занять частоты в полосе, используемой для искателя повреждений на этой же ВЛ, допускается кратковременное прерывание передачи в канале телефонной связи и телемеханики на время около 0,1 с коммутационным устройством искателя повреждений.
2.1.1. Электрические расчеты ВЧ каналов производятся после выбора рабочих частот, поскольку выбор частот осуществляется на основе ориентировочно определенного затухания ВЧ тракта.
Электрические расчеты каналов являются проверочными, т.е. оценивающими правильность предварительно принятых проектных решений с точки зрения обеспечения качества ВЧ каналов.
2.1.2. Если расчет выявляет недопустимость какого-либо значения, принимаются меры по приведению его к норме изменением рабочих частот, изменением схемы подключения ВЧ аппаратуры к ВЛ, перераспределением каналов, заменой типа оконечной и промежуточной аппаратуры, применением усилителей мощности и т.д. После этого производится повторный расчет.
Расчет считается законченным только в том случае, когда полученные значения соответствуют нормам.
2.1.3. Электрический расчет ВЧ каналов производится в такой последовательности:
1) определяется затухание, перекрываемое данным типом ВЧ аппаратуры при работе ее на ВЛ данного напряжения и конструкции. Для каналов с промежуточными усилителям и переприемами, организуемых по ВЛ с различными уровнями распределенных помех, перекрываемое затухание определяется для каждого усилительного и переприемного участка. Расчет перекрываемого затухания производится в соответствии с разд. 1.2 на основании уточненных значений уровней распределенных помех, определяемых по данным разд. 2.2;
2) определяется затухание ВЧ тракта канала. Для каналов с промежуточными усилителями и переприемами затухание определяется для каждого усилительного и переприемного участка. Расчет затухания ВЧ тракта производится в соответствия с разд. 2.4.
Расчетное значение затухания ВЧ тракта каждого усилительного и переприемного участков канала сверяется с допустимым значением;
3) для ВЧ каналов, оборудованных промежуточными усилителями с прямым усилением и инверсией частот, строится диаграмма уровней передачи.
2.1.4. Затухание ВЧ тракта канала определяется для высшей частоты рабочей полосы канала при использовании систем с передачей в линию одной боковой полосы частот (ОБП) и для несущей частоты для систем ЧМ и каналов релейной защиты.
При организации дуплексных (двусторонних) ВЧ каналов без промежуточных усилителей и с промежуточными усилителями со сдвигом частот расчет затухания ВЧ тракта производится в одном направлении для высшей частоты канала, если нет необходимости в построении диаграммы уровней передачи или оценке неравномерности затухания ВЧ тракта, обусловленной многократными отражениями междуфазной волны.
2.1.5. В случае применения комбинированной аппаратуры для организации ВЧ каналов телефонной связи и телемеханики расчет ВЧ тракта производится только для канала телефонной связи, поскольку при соответствии ВЧ тракта телефонного канала принятым нормам качественные показатели каналов телемеханики также будут им соответствовать.
2.1.6. При организации каналов телефонной связи и телемеханики на многоканальной аппаратуре расчет производится для одного канала. Если при этом каналы имеют различную протяженность (например, в случае переприема некоторых из них на аппаратуру другого ВЧ канала), расчет ВЧ тракта усилительного участка производится для канала, имеющего наибольшее количество усилительных участков.
2.1.7. Основные исходные материалы для электрических расчетов ВЧ трактов каналов перечислены в разд. 1.1.
2.1.8. Параметры аппаратуры ВЧ каналов, необходимые для электрических расчетов, приведены в табл. 1-2, 1-3, 1-7 ÷ 1-14.
При выполнении электрических расчетов ВЧ каналов необходимо соблюдать следующее: длина ВЛ и ВЧ кабелей определяется с точностью до 5 %, значение затуханий междуфазной волны, ВЧ кабелей, разделительных фильтров, фильтров присоединения определяется с точностью до 0,5 дБ.
При определении затухания, перекрываемого аппаратурой, и минимального уровня приема в канале все значения, входящие в расчет, и конечный результат определяются с точностью до 0,5 дБ.
2.2.1. Средний уровень распределенных помех в полосе 1 кГц на фазных проводах BЛ 35 - 500 кВ в районах с малой загрязненностью атмосферы определяется для номинального напряжения на средней фазе по формуле:
где
или принимается по данным проекта ВЛ для
номинального напряжения.
или определяется по данным табл. 2-1;
δ = 1 - 0,0875Н - относительная плотность воздуха. При высоте трассы ВЛ над уровнем моря до 1 км значение δ принимается равным единице;
Н - высота трассы ВЛ над уровнем моря, км;
а - расстояние между проводами расщепленной фазы, см;
rпр - радиус провода, см (приведен в табл. 2-1);
m - количество проводов в расщепленной фазе;
C - рабочая емкость фазы ВЛ, пФ/м;
Uл - линейное напряжение ВЛ (номинальное), кВ;
k - коэффициент, равный 0; 2 и 3,5 соответственно для одного, двух и трех проводов в расщепленной фазе.
Рабочая емкость средней фазы принимается согласно проекту BЛ. Для ВЛ с горизонтально расположенными фазами при расстоянии между ними S12 см рабочую емкость можно определить по формуле

На рис. 2-1 приведена рассчитанная по (2-1) зависимость

2.2.2. Для районов с повышенной загрязненностью атмосферы уровень помех, определенный до (2-1), рекомендуется увеличивать на 9 дБ для ВЛ с одиночными проводами в фазе и на 5 дБ для ВЛ с расщепленными фазами.
2.2.3. Уровень распределенных помех в любой полосе Δf кГц, отличной от 1 кГц, определяется по формуле
(2-2)
Таблица 2-1
Параметры линейных проводов
|
E0 кВ/см |
Радиус провода, см |
Марка провода |
E0 кВ/см |
Радиус провода, см |
|
|
АС-70/11 |
34,68 |
0,565 |
АС-240/56 |
31,82 |
1,120 |
|
АС-70/72 |
33,27 |
0,770 |
АС-300/39 |
31,58 |
1,200 |
|
AС-95/15 |
33,84 |
0,675 |
АС-300/48 |
31,57 |
1,205 |
|
AC-95/16 |
33,64 |
0,675 |
АC-300/66 |
31,51 |
1,225 |
|
AC-95/141 |
32,27 |
0,990 |
АС-300/204 |
30,95 |
1,460 |
|
AC-120/19 |
33,32 |
0,760 |
АС-330/27 |
31,53 |
1,220 |
|
АС-120/27 |
33,24 |
0,775 |
АС-330/43 |
31,42 |
1,260 |
|
АС-120/24 |
32,84 |
0,855 |
АС-400/22 |
31,24 |
1,330 |
|
AC-120/34 |
32,74 |
0,875 |
АС-400/51 |
31,14 |
1,375 |
|
AC-185/24 |
32,44 |
0,945 |
АС-400/64 |
31,11 |
1,335 |
|
АС-185/29 |
32,46 |
0,940 |
АС-400/93 |
30,96 |
1,455 |
|
АС-185/43 |
32,31 |
0,980 |
АС-500/64 |
30,81 |
1,530 |
|
AC-185/128 |
31,72 |
1,155 |
AC-500/336 |
30,23 |
1,875 |
|
AC-240/32 |
31,95 |
1,080 |
АС-600/72 |
30,57 |
1,660 |
|
AC-240/39 |
31,95 |
1,080 |
АС-700/86 |
30,32 |
1,810 |
На частотах выше 100 кГц уровень помех может быть уменьшен на
(2-3)
2.2.4. Если ВЧ тракт организован с обходом на ВЛ разных классов напряжения, то уровень помех на выходе тракта со стороны ВЛ более низкого напряжения определяется по формуле
(2-4)
где
рпом.нн - уровень помех на ВЛ низшего напряжения;
рпом.вн - то же высшего напряжения;
атр - затухание участка ВЧ тракта между точкой определения помех и ВЛ высшего напряжения, дБ.
Построенная по (2-5) зависимость Δрпом = φ(рпом.вн - рпом.нн - атр) приведена на рис. 2-2.
2.2.5.* Суммирование помех в каналах с промежуточными усилителями и переприемами учитывается поправкой Δрпром по формуле (1-5). Расчет значения Δрпром выполняется без учета усилительных и переприемных участков, для которых разность уровней сигнала и распределенной помехи на входе приемника рк.с/п соответствует выражению
![]()
где pмин.с/п - минимальная разность уровней сигнала и распределенной помехи усилительного или переприемного участка канала, с который сравниваются значения рк.с/п других участков, дБ.
Поправкой Δрпром не учитываются переприемы на каналы воздушных, кабельных и радиорелейных линий связи.
Линия электропередачи
2.3.1. Затухание линейного тракта определяется в зависимости от напряжения ВЛ, расположения фаз, наличия транспозиций и схемы присоединения ВЧ аппаратуры к ВЛ.
Формулы для расчета затухания линейного тракта ал приведены в табл. 2-2.
В формулах (2-6), (2-8), (2-10), (2-11) табл. 2-2 членом Δа(0) учитывается влияние земляной волны на ВЛ короче 20 км.
Схему присоединения аппаратуры ВЧ каналов крайняя фаза - земля на одном конце и средняя фаза - земля на втором конце нетранспонированных ВЛ [табл. 2-2, формула (2-14)] рекомендуется применять в тех случаях, когда невозможно использовать схему присоединения к одному проводу на обоиx концах. Для такой схемы аппаратура обработки в крайней и средней фазах на обоих концах ВЛ должна быть настроена на частоты рассчитываемого канала.
2.3.2. Если на транспонированных ВЛ по схеме рис. 2-4,б кроме транспозиций выполняются скрутки вблизи подстанции для фазировки проводов ВЛ на расстоянии l ≤ 900/f км (где f - в килогерцах), то их влияние на затухание ал не учитывается.
Расчет затухания линейного тракта по ВЛ 330 - 500 кВ, имеющим схему транспозиции с количеством транспозиционных опор более двух, а также по ВЛ 750 кВ рекомендуется выполнять на ЭВМ.
Таблица 2-2
Формулы для расчета затухания линейного тракта
|
Схема присоединения |
Расчетные формулы |
Частотный диапазон, кГц |
|
|
35; любое |
фаза - земля |
18 - 500 |
|
|
фаза - фаза |
α(ф) - по рис. 1-1 ак - по табл. 1-6 Δа(0) - по рис. 2-3 l - длина BЛ, км |
18 - 500 |
|
|
110 - 500; горизонтальное по рис. 2-4,а; нетранспонированные |
Средняя фаза - земля |
ак - по табл. 1-6 Δа(0) - по рис. 2-3 l - длина BЛ, км |
40 - 500 |
|
110 - 330; треугольное по рис. 2-4,а; нетранспонированные |
Верхняя фаза - земля |
По формуле (2-8) ак - по табл. 1-6 Δа(0) - по рис. 2-3 l - длина BЛ, км |
40 - 500 |
|
110, 220; горизонтальное по рис. 2-4,а; нетранспонированные |
Крайняя фаза - земля |
По формуле (2-6) ак - по табл. 1-6 Δа(0) - по рис. 2-3 l - длина BЛ, км |
|
|
110, 220; треугольное и вертикальное по рис. 2-4,а; нетранспонированные |
Нижняя фаза - земля |
По формуле (2-6) ак - по табл. 1-6 Δа(0) - по рис. 2-3 l - длина BЛ, км |
|
|
110, 220; любое; транспонированные многократно |
фаза - земля |
По формуле (2-6) |
40 - 500 |
|
фаза - фаза |
По формуле (2-7) |
40 - 500 |
|
|
110 - 330; вертикальное по рис. 2-4,а; нетранспонированные |
фаза 1 - фаза 2, фаза 1 - фаза 4, фаза 4 - фаза 5 |
ал = α(1)l (2-9) |
40 - 500 |
|
фаза 1 - земля, фаза 4 - земля |
40 - 500 |
||
|
фаза 2 - земля, фаза 5 - земля |
40 - 500 |
||
|
фаза 3 - земля, фаза 6 - земля |
Область частот 2 по рис. 2-14 |
||
|
α(ф.э) - по рис. 2-15 ак - по табл. 1-6 а(0) - по рис. 2-3 l - длина BЛ, км |
|||
|
110 - 500; горизонтальное по рис. 2-4,а; нетранспонированные |
Крайняя фаза - земля на одном конце и средняя фаза - земля на другом конце |
40 - 500 |
|
|
Крайняя фаза - земля |
|||
|
а1 = 0,115α1l а2 = 0,115α2l D2D1 - по табл. 2-3 Δ(2) - по табл. 2-4 или рис. 2-21, 2-22 ак - по табл. 1-6 l - длина BЛ, км |
|||
|
110 - 500; горизонтальное и треугольное по рис. 2-4,а; нетранспонированные |
фаза 1 - фаза 2 |
ал = аф.э аф.э - по формуле (2-16) |
40 - 500 |
|
220; 330; треугольное по рис. 2-4,а; нетранспонированные |
фаза 1 - земля |
|
|
|
Нижняя фаза - земля по схемам табл. 2-3 |
|||
|
фаза 2 - фаза 3, фаза 1 - фаза 3 |
ал = аф.э аф.э - по формуле (2-16) a1 = 0,115α(1)l а2 = 0,115α(2)l в2 = Δ(2)fl А, В - по табл. 2-3 α(2) - по рис. 2-20 Δ(2) - по табл. 2-4 или рис. 2-21,б ак - по табл. 1-6 l - длина ВЛ, км |
||
|
110 - 500; горизонтальное по рис. 2-4,а; одна транспозиционная опора по рис. 2-4,б |
фаза В - земля на одном конце и фаза А - земля на другом конце |
По формуле (2-15), в которой
|
40 - 500 |
|
фаза С - земля |
По формуле (2-15), в которой
|
Области частот 1, 2, 3 по рис. 2-5, 2-6, 2-7,а; 2-8,а без разрывов между областями, |
|
|
фаза А - земля |
По формуле (2-15), в которой
|
||
|
фаза В - земля |
По формуле (2-15), в которой
|
То же l = l2 |
|
|
фазе А - фаза С |
По формуле 2-15, в которой
|
40 - 500 |
|
|
фаза В - фаза С |
По формуле (2-15), в которой
ак - по табл. 1-6 a1 = 0,115α(1)l1 а2 = 0,115α(1)l2 b1 = (0,115α(2) +jΔ(2)f)l1 b2 = (0,115α(2) +jΔ(2)f)l2 Δ(2) - по табл. 2-4 или рис. 2-21, 2-22 l1, l2 - длина участков ВЛ, км |
40 - 500 |
|
|
220; горизонтальное по рис. 2-4,а; транспонированные по рис. 2-4,б |
фаза - земля |
По формуле (2-12) α(ф.э) - по рис. 1-15 ак - по табл. 1-6 l - длина ВЛ, км |
Не выше значения по рис. 1-15 |
|
220, 330; треугольное по рис. 2-4,а; транспонированные по рис. 2-4,б |
фаза - земля |
По формуле (2-12) ак - по табл. 1-6 l - длина ВЛ, км |
|
|
330, 500; горизонтальное по рис. 2-4,а; транспонированные по рис. 2-4,б |
фаза А - земля |
По формуле (2-12) |
|
|
фаза В - земля |
По формуле (2-15), в которой
|
||
|
фаза С - земля |
По формуле (2-12) |
||
|
По формуле
(2-15), в которой |
|||
|
фаза А - земля на одном конце и фаза В - земля на другом конце |
По формуле (2-15), в которой
|
||
|
По формуле
(2-15), в которой |
|||
|
фаза А - фаза В |
|
||
|
По формуле (2-15), в которой
|
|||
|
a = 0,115α(1)lт b = (0,115α(2) +jΔ(2)f)lт ак - по табл. 1-6 lт - длина шага транспозиции, км l - длина ВЛ, км |
- |
||
|
330; 500; любое |
Провод - провод расщепленной фазы |
По формуле (2-7) α(ф) - по рис. 1-20 l - длина ВЛ, км |
36 - 602 |
|
500; 750; любое |
Трос - земля два троса - земля |
|
36 - 340; 420 - 600 |
|
Трос - трос |
α(т) - по рис. 1-21 ак - по табл. 1-6 атрансп.т - по табл. 1-6 атрансп.ВЛ - по табл. 1-6 l - длина усилительного участка, км |
36 - 340; 420 - 600 |
* Границы областей частот 2 и 3 нетранспонированных ВЛ и границы частотного диапазона 1, 2 и 3 транспонированных ВЛ, в которых допустима работа ВЧ каналов, определены для удельного сопротивления земли на высоких частотах ρз = 200 Ом ∙ м. Если значение ρз < 200 Ом ∙ м, то частотный диапазон может быть расширен и определен по формулам (3-4), (3-5), (3-14), (3-15), в которых значения Δ(2) определяются по [Л. 4] для ВЛ 110 и 220 кВ и по рис. 2-21, 2-22 для ВЛ 330 в 500 кВ.
Заградители, шунтирующие сопротивления, фильтры присоединения, ВЧ кабели, разделительные фильтры
2.3.3. Затухание, вносимое заградителем, включенным на конце линейного тракта, определяется по формулам:
- для схемы присоединения фаза - земля
- для схемы присоединения фаза - фаза
(2-21)
где Zф.л - характеристическое сопротивление однофазного фильтра присоединения со стороны линии, Ом; определяется по табл. 1-10 ÷ 1-14;
Zз - запирающее сопротивление заградителя, Ом; определяется по табл. 1-7 ÷ 1-9;
Zл - входное сопротивление линейного тракта для принятой схемы присоединения, Ом; принимается равным:
|
Напряжение ВЛ, кВ |
Zл (Ом) для схемы присоединения фаза - земля |
Zл (Ом) для схемы присоединения фаза - фаза |
|
35 - 220 |
450 |
760 |
|
330 |
330 |
560 |
|
500 |
310 |
525 |
|
750 |
280 |
475 |
Затухание, вносимое заградителем без элемента настройки, используемого для внутрифазного тракта (по проводам расщепленной фазы), определяется по формуле
где Zл - входное сопротивление внутрифазного тракта; принимается равным 420 Ом при расстоянии между проводами расщепленной фазы 40 см и 470 Ом при расстоянии между проводами 60 см;
Zф.л - характеристическое сопротивление фильтра присоединения со стороны линии, ВЧ;
Xз = 6,28fL - реактивное сопротивление заградителей, включенных между проводами, Ом;
L - индуктивность заградителя, Г.
Таблица 2-3
Расчетные значения коэффициентов D и D1 для нетранспонированных ВЛ
|
Присоединение к фазам |
D |
D1 |
||
|
на передающем конце |
на приемном конце |
|||
|
Горизонтальное |
1 - 2 |
1 - 2 |
1,35 |
0,35 |
|
1 - земля |
1 - земля |
4 |
3 |
|
|
1 - земля |
3 - земля |
4 |
-3 |
|
|
Треугольное |
1 - 2 |
1 - 2 |
1,11 |
0,11 |
|
2 - 3 |
2 - 3 |
1,8 |
0,8 |
|
|
1 - 3 |
2 - 3 |
23 |
22 |
|
|
1 - земля |
1 - земля |
3 |
2 |
|
|
3 - земля |
3 - земля |
15 |
14 |
|
|
1 - земля |
3 - земля |
6,5 |
-5,0 |
|
Таблица 2-4
Расчетные значения разности фазовых скоростей второго и первого волновых каналов Δ(2)
|
Напряжение BЛ, кВ |
Δ(2), град/км |
|
|
Горизонтальное |
110 |
0,8 ∙ 10-2 |
|
220 |
1,2 ∙ 10-2 |
|
|
330 |
По рис. 2-21,а |
|
|
500 |
По рис. 2-22 |
|
|
Треугольное |
110 |
0,3 ∙ 10-2 |
|
220 |
0,6 ∙ 10-2 |
|
|
330 |
По рис. 2-21,б |
Подставив в формулу (2-22) вместо Хз выражение входного сопротивления заградительной петли, используемой для внутрифазных трактов, можно определить вносимое ею затухание
где f - расчетная частота канала, кГц;
- резонансная частота заградительной петли, кГц;
fн, fв - нижняя и верхняя границы полосы заграждения петли, кГц.
Примечания:
1. Полоса заграждения петли Δfп1 находится в пределах, в которых вносимое ею затухание в ВЧ тракт аз ≤ 3 дБ. Практически можно использовать две полосы заграждения петли:
Δfп1 = (0,3 - 1,7)f0 и Δfп2 = (2,3 - 3,7)f0 кГц.
2. Длина заградительной петли
lп = 75/f0 км.
Зависимости аз от Zф.л, рассчитанные по формулам (2-20) и (2-22а), приведены на рис. 2-23 и 2-24.
2.3.4. Затухание, вносимое параллельно включенным сопротивлением (шунтом), Zш, определяется по паспортным данным (например, ВЧ аппаратура других каналов) или по формуле:
где Zн - сопротивление нагрузки, параллельно которой включается шунтирующее сопротивление, Ом;
Zг - внутреннее сопротивление эквивалентного генератора, к которому подключено сопротивление нагрузки, Ом.
Затухание, вносимое ВЧ аппаратурой других каналов, согласно паспортным данным, не превышает 1,0 дБ при допустимом разносе частот (см. 1.3).
Затухание, вносимое ВЧ кабелями параллельных ВЧ трактов каналов, организованных по радиально-лучевой схеме, определяется по формуле
(2-24)
где m - количество лучей (направлений).
При реактивном сопротивлении шунта и согласованных значениях сопротивлений нагрузки и эквивалентного генератора формула (2-23) примет вид
где Хш
= ωL или
Ом.
На рис. 2-25 приведена зависимость затухания, вносимого короткой кабельной вставкой в ВЛ 35 кВ, от частоты и длины вставки, рассчитанная по формуле (2-25) в предположении, что емкость жилы кабеля на землю составляет 0,035 мкФ/км.
Схемы присоединения ВЧ аппаратуры к фазным проводам ВЛ приведены на рис. 2-26.
Для ВЧ трактов по грозозащитным тросам, заземляемым через ВЧ дроссель (рис. 2-27), затухание, вносимое ВЧ дросселем, можно определять по формуле (2-22), в которой вместо Хз подставляется Хш. Входное сопротивление Zл принимается равным 500 Ом для схем присоединения (по рис. 2-27,а,б,г,д) и 250 Ом для схемы присоединения по рис. 2-27,в.
Для ВЧ дросселя из модернизированной силовой катушки заградителя ВЗ-1000-0,6 значения аш, рассчитанные по (2-22), приведены в табл. 2-5.
Шунтирующим сопротивлением является аппаратура уплотнения на промежуточной подстанции, включенная параллельно ВЧ обходу. Затухание, вносимое этой аппаратурой в тракт сквозного канала, определяется по формуле (2-23). Если параллельно ВЧ обходу подключена аппаратура других каналов, то затухание, вносимое этой аппаратурой, не превышает 1,0 дБ.
Таблица 2-5
Параметры ВЧ дросселя из реактора-заградителя ВЗ-1000-0,6 и расчетные значения затухания, вносимого им в линейный тракт по грозозащитным тросам
|
кГц |
30 |
60 |
100 |
130 |
165 |
200 |
250 |
300 |
350 |
400 |
450 |
500 |
550 |
620 |
|
Lэкв мГ |
2,2 |
2,66 |
4,3 |
3,54 |
2,9 |
- |
- |
- |
- |
- |
- |
- |
- |
- |
|
Сэкв пФ |
- |
- |
- |
- |
- |
444 |
534 |
566 |
684 |
766 |
770 |
890 |
970 |
704 |
|
аш дБ |
1 |
0 |
0 |
0 |
0 |
0 |
0 |
0 |
0,5 |
0,5 |
1 |
1 |
1,5 |
1 |
Аппаратура уплотнения, настроенная на частоты рассчитываемого канала, вносит в тракт сквозного канала затухание 3,5 дБ. При необходимости это затухание может быть уменьшено включением Г-образного удлинителя, как показано на рис. 2-28. Сопротивления резисторов рекомендуется принимать равными R1 = R2 = 200 Ом. При этом аппаратура уплотнения вносит в сквозной ВЧ тракт затухание 1,5 дБ, а расчетное затухание участка между оконечной аппаратурой и параллельно подключенной на обходе вычисляется с учетом затухания 9 дБ, вносимого Г-образным удлинителем. Нерекомендуемая схема включения аппаратуры на обходе приведена на рис. 2-29.
2.3.5. Затухание фильтра присоединения определяется по паспортным данным, приведенным в табл. 1-10 ÷ 1-14. При использовании двух однофазных фильтров присоединения для схемы присоединения фаза - фаза затухание обоих фильтров принимается равным затуханию одного фильтра присоединения.
Если значение затухания фильтра присоединения неизвестно, его можно определить по формуле
2.3.6. Затухание устройства присоединения с антенной связью при использовании участка грозозащитного троса ВЛ длиной, равной четверти длины волны (рис. 2-30,а), принимается ориентировочно 20 дБ.
Более точно затухание антенной связи может быть рассчитано по [Л.7].
2.3.7. Затухание ВЧ кабеля определяется по формуле
где αкаб - километрическое затухание ВЧ кабеля на расчетной частоте, дБ/км; определяется по рис. 2-31;
l - длина ВЧ канала, км.
Для схем присоединения фаза - фаза, трос - трос, два троса - земля, провод - провод расцепленной фазы с применением двух однофазных фильтров присоединения и двух коаксиальных ВЧ кабелей затухания ВЧ кабеля определяется по формуле (2-27), в которую подставляется длина одного кабеля, т.е. длина трассы кабеля.
2.3.3. Затухание разделительного фильтра в полосе пропускания определяется по паспортным данным. Стандартный разделительный фильтр РФ вносит затухание не более 1,0 дБ для частот, располагаемых не ближе 10 % от частоты настройки (запирания) фильтра.
Применение разделительных фильтров обязательно в тех случаях, когда параллельно с аппаратурой ВЧ канала релейной защиты или противоаварийной автоматики подключается аппаратура каналов телефонной связи и телемеханики. Разделительный фильтр включается в разрез ВЧ кабеля, отходящего к аппаратуре телефонной связи вблизи ВЧ аппаратуры релейной защиты (рис. 2-32).
Затухание, вносимое разделительным фильтром в ВЧ тракт канала релейной защиты, рассчитывается в предположении, что входные цепи аппаратура телефонной связи закорочены.
В таком режиме затухание, вносимое разделительным фильтром РФ в ВЧ тракт канала релейной защиты, будет не более 1,0 дБ.
Для разделительного фильтра другого типа вносимое им затухание в ВЧ тракт канала релейной защиты из-за шунтирующего действия разделительного фильтра можно определять по формуле
(2-28)
где Zвх.пп - входное сопротивление приемопередатчика релейной защиты или противоаварийной автоматики. Ом;
Zр.ф - сопротивление разделительного фильтра на частоте канала релейной защиты (противоаварийной автоматики), Ом.
Рекомендуется применять разделительные фильтры, у которых значение ар.ф более 1,0 дБ.
Разделительные фильтры рекомендуется применять также в тех случаях, когда параллельно включается аппаратура ВЧ каналов релейной защиты и противоаварийной автоматики (см. рис. 2-32). Затухание, вносимое разделительным фильтром РФ, включенным в разрез ВЧ кабеля рассчитываемого канала, будет не более 1,0 дБ. При такой схеме включения разделительных фильтров затухание, вносимое в рассчитываемый канал релейной защиты или противоаварийной автоматики параллельно включенной аппаратурой других каналов, можно определить по формуле (2-23) с учетом сопротивления разделительных фильтров.
Ответвления
2.3.9. В расчетах затухания ВЧ трактов принимается максимальное значение затухания, вносимого ответвлением, которое может иметь место для принятых схем присоединения ВЧ аппаратуры к ВЛ и электрических параметров заградителей и фильтров присоединения.
2.3.10.* Ответвление, используемое для организация связи, вносит в сквозной тракт затухание аотв.макс определяемое по рис. 2-33 и 2-34. Для ВЧ каналов, работа которых должна обеспечиваться при включенной и отключенной от подстанции ВЛ, рекомендуется применять фильтры присоединения на конце ответвления с характеристическим сопротивлением, близким к значению Zл (cм. п. 2.3.3). При этом обеспечиваются меньшие значения вносимого ответвлением затухания и частотной неравномерности затухания ВЧ тракта (см. пп. 2.4.4 и 2.4.5).
2.3.11.* Затухание,
вносимое в ВЧ тракт коротким ответвлением, не
используемым для связи, обработанным вначале заградителями, определяется по графику
на рис. 2-36. Высокочастотные заградители
должны включаться не далее чем на расстоянии
км от точки разветвления ВЧ. Если
соблюдение этого условия затруднительно, то допускается включение заградителя на подстанции в конце ответвления
с установкой в рабочей фазе конденсатора связи с фильтром присоединения. Кабельная обмотка фильтра
присоединения должна быть нагружена на резистор сопротивлением 75 - 100 Ом.
Затухание, вносимое ответвлением, в таких случаях определяется по рис. 2-34 и 2-35 с учетом рекомендаций п. 2.3.10. Принятие такого решения должно быть обосновано в проекте.
Если входное сопротивление подстанции на конце короткого ответвления чисто емкостное и ответвление не используется для организации связи, то оно может не обрабатываться заградителем для частот, определяемых по графику рис. 2-36.
Емкостной характер входного сопротивления имеет подстанция 35 - 220 кВ с упрощенной схемой цепей высшего напряжения (по схеме блок - линия - трансформатор), имеющих длину сборных шин не более 30 м без учета спусков к оборудованию.
Если работа ВЧ канала не должна нарушаться при заземлении ВЛ в конце ответвления, то допустимый диапазон частот ограничивается кривыми Сп = ∞ (ВЧ заземлена) и Сп/lотв.
Емкость оборудования подстанции по отношению к земле определяется как сумма эквивалентных емкостей оборудования и сборных шин одной фазы на землю по данным табл. 1-19.
Для ВЧ каналов, работа которых необязательна при заземления ВЧ на подстанции, диапазон частот ограничивается кривой Сп/lотв.
При определении по рис. 2-36 полосы частот, в которой возможна работа ВЧ каналов релейной защиты, значение аотв может быть принято исходя из допустимого значения затухания ВЧ тракта с учетом возможного увеличения этого затухания, определяемого по формуле (2-36).
Для каналов телефонной связи и телемеханики определение рабочей полосы частот по рис. 2-36 рекомендуется выполнять исходя из допустимого значения неравномерности затухания ВЧ тракта в полосе канала, которое зависит от коэффициента отраженья Котв. Paсчетное значение неравномерности затухания ВЧ тракта не должно превышать значений, приведенных в п. 2.4.5.
Рекомендации по организации высокочастотных обходов
2.3.12. Расчетное значение затухания, вносимого ВЧ обходом промежуточной подстанции, определяется по формуле
2.3.13. Применение ВЧ заградителей в схеме обхода с номинальным запирающим сопротивлением менее 500 Ом не рекомендуется.
2.3.14. Если ВЧ обход осуществляется для ВЧ трактов по ВЛ одного напряжения на подстанции с входным сопротивлением Zn ≥ 50 Ом (как правило, это подстанции 35 - 220 кВ, имеющие только две ВЛ одного напряжения), может иметь место повышенное затухание обхода в полосах, указанных в табл. 1-16, если рабочая фаза на подстанции обхода не меняется и обход выполняется по схеме фаза - земля. Если рабочая частота канала располагается в полосе повышенного затухания при любой схеме соединения: обоих фильтров присоединения (см. табл. 1-16), то рекомендуется в схеме ВЧ обхода выполнять смену рабочего провода.
При схеме присоединения фаза - фаза полоса частот повышенного затухания отсутствует.
2.3.15. При параллельном подключении аппаратуры нескольких каналов, имеющих различное количество ВЧ обходов подстанций, рекомендуется включать в ВЧ обход разделительный фильтр, пропускающий частоты транзитных каналов и запирающий частоты каналов, оканчивавшихся на обходе. При такой схеме обеспечиваются лучшие характеристики ВЧ тракта ближних каналов, а также снижаются уровни мешающих частот в энергосистеме.
2.3.16. Высокочастотный обход подстанций с упрощенной схемой цепей высшего напряжения (по схеме блока BЛ - трансформатор) можно осуществлять по упрощенной схеме, приведенной на рис. 2-37, если диапазон частот не превышает 400 кГц. В этой схеме заградитель включается последовательно с заземляющим ножом разъединителя.
Затухание элементов схемы упрощенного обхода аобх.упр при включенных ВЛ можно определять по рис. 2-38. При отключённых и заземленных ВЛ затухание ВЧ обхода определяется по формуле (2-29).
Для ВЧ обходов по упрощенной схеме полоса повышенного затухания отсутствует.
2.3.17.* Затухание ВЧ обхода разомкнутого линейного разъединителя на трассе ВЛ по схемам рис. 2-39 определяется по формуле (2-29). Затухание Т-образното фильтра верхних частот при организации ВЧ обхода по схеме рис. 2-39,б определяется по формуле (2-26).
При согласованных входных сопротивлениях ВЛ и фильтров присоединения (или фильтра верхних частот) и сопротивлении заградителя, равном 500 Ом, затухание ВЧ обхода составит 8,5 дБ для схемы рис. 2-29,а и 6,5 дБ для схемы рис. 2-39,б.
Если линейный разъединитель включает и соединяет оба участка ВЛ (ВЛ1 и ВЛ2 на рис. 2-39), то устройства присоединения схемы ВЧ обхода окажутся подключенными электрически почти к одной точке и будут являться шунтирующим сопротивлением для линейного тракта. Затухание, обусловленное этим шунтирующим сопротивлением, определяется следующим образом:
1) при расположении линейного
разъединителя на расстоянии
от ближайшей подстанции - по формуле
где Zш - шунтирующее сопротивление элементов ВЧ обхода, Ом.
Для схемы ВЧ обхода (см. рис. 2-39,а) формула (2-30) примет вид
а для схемы по рис. 2-39,б
где r - активная составляющая полного сопротивления последовательного контура на расчетной частоте, Ом;
x - реактивная составляющая полного сопротивления того же контура на расчетной частоте, Ом;
Rл - входное сопротивление ВЛ для схема присоединения фаза - земля, которое в расчетах принимается активным;
2) при расположении линейного
разъединителя на расстоянии
от ближайшей подстанций - по формуле
2.3.18.* Осуществление ВЧ обхода на трассе ВЛ в начале параллельного сближения ВЛ не рекомендуется.
2.4.1. Расчетное затухание ВЧ тракта канала определяется арифметическим суммированием затуханий элементов ВЧ тракта:
(2-34)
Затухание элементов ВЧ тракта определяется согласно рекомендациям разд. 2.2 и 2.3 и данным табл. 1-6. На расчетной частоте канала должно соблюдаться условие
(2-35)
Значение перекрываемого ВЧ аппаратурой затухания Апер определяется согласно п. 1.2.2 с учетом уровня помех, определенного согласно разд. 2.2.
Значение запаса по перекрываемому затуханию в канале на расчетной частоте Азап определяется согласно п. 1.2.5.
2.4.2. Для ВЧ каналов с линейными трактами затуханием менее 10 дБ со схемой присоединения фаза - земля следует стремиться к использованию фильтров присоединения с характеристическим сопротивлением Zф.л, близким к входному сопротивлению ВЛ Zл. При этом может быть обеспечено приемлемое значение неравномерности затухания ВЧ тракта, обусловленное многократными отражениями междуфазной волны от концов ВЛ.
2.4.3. При расчете ВЧ каналов телефонной связи и телемеханики, а также каналов другого назначения, для которых значение минимального уровня приема определено по формулам (1-4) и (1-5) исходя из уровня распределенной помехи на ВЛ, на приемном конце учитывается только затухание, вносимое заградителем. Для ВЧ каналов релейной защиты на аппаратуре ПВЗК, ПВЗД, УПЗ-70, АЗВ, ВЧТО-М, а также для каналов другого назначения, для которых минимальный уровень приема определяется чувствительностью приемника, на приемном конце учитывается затухание всех элементов ВЧ тракта.
2.4.4. При расчете ВЧ каналов со сложными трактами с ответвлениями и обходами необходимо учитывать возможность увеличения затухания ВЧ тракта из-за многократного отражения междуфазной волны от точек неоднородности (концов ВЛ, места включения ответвления).
Это увеличение затухания линейного тракта определяется в такой последовательности:
1) по номограмме на рис. 2-40 определяется значение неравномерности затухания линейного тракта Δатр.1i на каждом однородном участке. Для линейных трактов на ВЛ без ответвлений значение Δатр.1i определяется в зависимости от значения Zф.л на конце ВЛ и затухания междуфазной волны.
Для линейных трактов на ВЛ с одним ответвлением значение Δатр.1i определяется для каждого участка. На одной из шкал номограммы откладывается значение коэффициента отражения от места включения ответвления, который определяется по рис. 2-33 - 2-36, на другой - значение коэффициента отражения от конца ВЛ, определяемое по рис. 2-41, в зависимости от Zф.л.
Если линейный тракт содержит несколько ответвлений, значения Δатр.1i участка между смежными ответвлениями определяется в зависимости от коэффициентов отражения от каждого ответвления и затухания междуфазной волны между этими ответвлениями;
2) из определенных величин Δатр.1i выбираются две с максимальным значением Δатр.1i и Δатр.1к.
Расчетное значение возможного увеличения затухания линейного тракта принимается равным
2.4.5. Для ВЧ каналов телефонной связи и телемеханики на комбинированной аппаратуре серии ВЧА, АСК и КМК со сложными линейными трактами с ответвлениями и обходами рекомендуется выполнять оценку неравномерности затухания ВЧ тракта в полосе канала, обусловленную многократными отражениями междуфазной волны от точек неоднородности.
В расчетах принято определять максимальное возможное значение наравномерностей затухания ВЧ тракта в полосе 3 кГц (Δатр.1Δf), которое может иметь место при замыкании фаз BЛ на землю или при их отключении без заземления.
Значение Δатр.1Δf определяется в такой последовательности:
1) согласно рекомендациям п. 2.4.4, определяется неравномерность затухания ВЧ тракта:
Если длина каждого участка более 25 км, то Δатр.1Δf = Δатр.1
2) если длина ВЧ менее 25 км, то по номограмме на рис. 2-42 определяется значение Δатр.1Δf в зависимости от значения Δатр.1, определенного по формуле (2-37), и длины ВЛ, которая определяется из выражения
![]()
где li, lк - длина участков ВЛ, для которых определялось значение Δатр.1i и Δатр.1к.
Если длина одного из участков ВЛ менее 0,6 длины второго участка, то неравномерность Δатр.1 этого участка не учитывается;
3) определяется неравномерность затухания линейного тракта, обусловленная неравномерностью частотной характеристики затухания ответвления:
(2-38)
где аотв.макс - максимальное значение затухания, вносимого ответвлением, дБ; определяется по рис. 2-34 - 2-37;
аотв.мин - минимальное значение затухания, вносимого ответвлением, дБ; определяется по рис. 2-34 ÷ 2-35 для ответвлений, используемых для связи, и принимается равным нулю для ответвлений, не используемых для связи, обработанных заградителями;
4) по номограмме (см. рис. 2-42) определяется значение Δатр.2Δf в зависимости от Δатр.2 и длины ответвления lотв;
5) неравномерность затухания ВЧ тракта в полосе канала (3 кГц) с ответвлениями и обходами оценивается по формуле
(2-39)
Рекомендуется, чтобы неравномерность затухания ВЧ тракта в полосе 3 кГц ΔатрΔf не превышала значений (дБ):
Высокочастотный тракт канала телемеханики, телефонной связи и телемеханики на комбинированной аппаратуре, телефонной связи на двух- и трехканальной аппаратуре с промежуточными усилителями и переприемами 5,0
Высокочастотный тракт канала телефонной связи без промежуточных усилителей 9,0
2.4.6. Расчет ВЧ тракта канала с антенной связью на одном конце производится для направления передачи от антенного устройства присоединения. Если между антенным устройством присоединения и подстанцией ВЛ не имеет транспозиций, ВЧ аппаратуру на подстанции рекомендуется подключать к крайней фазе ВЛ с горизонтальным расположением фаз и к верхней фазе ВЛ с треугольным и вертикальным расположением фаз. При наличии одной транспозиции между антенным устройством присоединения и подстанцией ВЧ аппаратуру на подстанции рекомендуется подключать к средней фазе.
К п. 1.2.1
1) Графики километрического затухания симметричных линий, приведенные на рис. 1-1, 1-8 - 1-12, рассчитаны по формуле [Л.4]
(3-1)
Значения коэффициентов К1(ф) и К2(ф) приведены в табл. 3-1 и 3-2.
Диапазон изменения отношения
для унифицированных опор (где
- среднее
расстояние между проводами
условной симметричной двухпроводной ВЛ;
- расчетная высота подвеса провода), для
которых получены значения коэффициента К2(ф), приведен в табл. 3-2.
2) Графики километрического затухания средней и верхней фаз нетранспонированных ВЛ с горизонтальным, треугольным и вертикальным расположением фаз (первого волнового канала), приведенные на рис. 1-2 - 1-7, 1-14, а также второго волнового канала, приведенные на рис. 2-16 - 2-18, рассчитаны по формуле [Л.4]
(3-2)
где f - в килогерцах.
Значения коэффициентов К1(1), К2(1), К1(2), К2(2), К3 и К4 приведены в табл. 3-3 - 3-5.
Пределы изменений проекции расстояния между фазами к расчетной высоте подвески фаз для унифицированных опор трехпроводных и шестипроводных ВЛ, для которых получены значения коэффициентов К2(1) и К2(2), приведены в табл. 3-6, 3-7.
3) Графики километрического затухания линейного тракта по транспонированной ВЛ, приведенные на рис. 1-15 - 1-19, заимствованы из [Л.4]. Частотное ограничение для заданной длины ВЛ рассчитано по рекомендациям [Л.4] по формулам:
- для схем присоединения фаза - земля и фаза - фаза к фазам А и В (рис. 2-4,б).
- для схемы присоединения фаза С - земля
где Δ(2) - по табл. 2-4 и рис. 2-21, 2-22;
l - длина BЛ, км.
Значения Δ(2) приняты для ρз = 200 Ом ∙ м, т.е. для наихудшего из наиболее часто встречающихся значений ρз.
Если значение ρз известно и менее 200 Ом ∙ м, то частотный диапазон, в котором допустима работа ВЧ каналов, может быть расширен. Граница этого частотного диапазона может быть определена по формулам (3-3) и (3-4), в которых значения Δ(2) определяются по [Л.4] для ВЛ 110 и 220 кВ и по рис. 2-21, 2-22 для ВЛ 330 и 500 кВ.
4) График километрического затухания внутрифазного тракта (провод - провод расщепленной фазы), приведенный на рис. 1-20, заимствован из информационного материала института «Энергосетьпроект».
5) График километрического затухания линейного тракта по биметаллическим грозозащитным тросам ВЛ 500 и 750 кВ, приведенный на рис. 1-21, построен по данным экспериментальных исследований ВНИИЭ на ВЛ 750 кВ, расположенных на территориях центральной части РСФСР и УССР.
Таблица 3-1
Расчетные значения коэффициента К1(ф) симметричных ВЛ
|
К1(ф) |
Марка провода |
К1(ф) |
Марка провода |
К1(ф) |
|
|
АС-50/3,0 |
7,4 |
|
3,7 |
АС-330/27 |
3,0 3,0 |
|
АС-70/11 |
6,3 |
АС-185/128 |
3,0 |
АС-330/43 |
2,9 |
|
|
5,3 |
АС-185/128 |
|
2,6 |
|
|
АС-95/141 |
3,7 |
|
3,3 |
||
|
|
4,7 |
АС-300/39 |
3,0 |
Таблица 3-2
Расчетные значения коэффициента К2(ф) симметричных BЛ
|
Расположение фаз |
К2(ф) |
Пределы изменения S/h |
|
|
35 |
Треугольное |
0,09 |
0,49 |
|
Горизонтальное |
|||
|
110 |
Треугольное |
0,12 |
0,45 - 0,5 |
|
Горизонтальное |
0,23 |
0,68 - 0,72 |
|
|
Вертикальное двухцепное |
0,16 |
0,52 - 0,66 |
|
|
220 |
Треугольное |
0,25 |
0,7 - 0,74 |
|
Горизонтальное |
0,38 |
0,81 - 0,9 |
|
|
Вертикальное двухцепное |
0,25 |
0,6 - 0,72 |
Таблица 3-3
Расчетные значения коэффициентов К1(1) и К1(2)
|
К1(1) |
К1(2) |
Марка провода |
К1(1) |
К1(2) |
|
|
АС-70/11 |
7,0 |
6,2 |
|
3,4 |
3,0 |
|
|
6,0 |
5,3 |
АС-300/204 |
2,8 |
2,4 |
|
АС-95/141 |
4,2 |
3,7 |
АС-330/43 |
3,2 |
2,8 |
|
|
5,3 |
4,7 |
АС-330/27 |
3,4 |
3,0 |
|
|
4,2 |
3,7 |
|
3,0 |
2,6 |
|
АС-185/128 |
3,4 |
3,0 |
АС-400/93 |
2,8 |
2,4 |
|
|
3,7 |
3,3 |
АС-500/64 |
2,7 |
2,3 |
Таблица 3-4
Расчетные значения коэффициентов К3 и К4
|
К3 |
К4 |
|
|
1 |
1,00 |
1,00 |
|
2 |
0,68 |
1,35 |
|
3 |
0,48 |
1,45 |
Таблица 3-5
Расчетные значения коэффициентов К2(1), К2(2) и разности фазовых скоростей второго и первого волновых каналов несимметричных ВЛ
|
Напряжение ВЛ, кВ |
К2(1) |
К2(2) |
Δ(2) град/(км ∙ кГц) |
|
|
Горизонтальное |
110 |
0,12 ∙ 10-1 |
0,32 |
0,8 ∙ 10-2 |
|
220 |
0,24 ∙ 10-1 |
0,54 |
1,2 ∙ 10-2 |
|
|
330 |
0,365 ∙ 10-1 |
В зависимости от |
По рис. 2-21,а |
|
|
500 |
То же |
По рис. 2-22 |
||
|
Треугольное |
110 (железобетонные опоры) |
0,24 ∙ 10-1 |
0,13 |
0,3 ∙ 10-2 |
|
110 - 150 (металлические опоры) |
0,24 ∙ 10-1 |
0,22 |
0,3 ∙ 10-2 |
|
|
220 |
0,24 ∙ 10-1 |
0,28 |
0,6 ∙ 10-2 |
|
|
330 |
0,24 ∙ 10-1 |
0,44 |
По рис. 2-21,б |
|
|
Вертикальное двухцепное |
35 - 330 |
0 |
0 |
0 |
Таблица 3-6
Пределы изменений проекции расстояния между фазами к расчетной высоте подвески фаз трехпроводных несимметричных ВЛ
|
Напряжение ВЛ, кВ |
Пределы изменения |
||
|
|
|
||
|
Горизонтальное |
110 |
1,02 - 1,10 |
0,51 - 0,55 |
|
220 |
1,22 - 1,50 |
0,61 - 0,75 |
|
|
330 |
1,64 - 1,66 |
0,82 - 0,83 |
|
|
550 |
2,06 - 2,20 |
1,03 - 1,10 |
|
|
Треугольное |
110 - 154 (железобетонные опоры) |
0,53 - 0,62 |
0,32 - 0,35 |
|
110 - 154 (металлические опоры) |
0,77 - 0,80 |
0,35 - 0,45 |
|
|
220 |
0,89 - 1,01 |
0,45 |
|
|
330 |
1,14 - 1,19 |
0,57 |
|
Таблица 3-7
Пределы изменений проекции расстояния между фазами к расчетной высоте подвески фаз шестипроводных ВЛ
|
Пределы изменения |
|||
|
|
|
|
|
|
110 |
0,53 - 0,57 |
0,57 - 0,61 |
0,25 - 0,27 |
|
220 |
0,85 |
0,78 - 0,95 |
0,33 |
|
330 |
0,99 |
0,92 |
0,4 |
К п. 1.2.2
I. Уровни передачи сигнала рпер, приведенные в табл. 1-1 и 1-2:
1) для передатчиков каналов релейной защиты типа ПВЗК, ПВЗД, УПЗ-70, АЗВ и ВЧТО-М - соответствуют максимальному уровню передатчика, указанному в технической документации на аппаратуру;
2) для передатчиков однополосных систем каналов телефонной связи и телемеханики (комбинированная аппаратура) - соответствует технической документации на аппаратуру.
Для тех сочетаний каналов телефонной связи и телемеханики, которые не приведены в технической документация на аппаратуру (например, при передаче информации со скоростями 100 и 200 Бод), уровни передачи телефонного канала рассчитывались в предположении, что напряжения сигналов всех каналов в групповом усилителе складываются арифметически. Напряжение каждого сигнала выбиралось исходя из условий, при которых влияние телефонных каналов на каналы телемеханики будет не более допустимого значения, приведенного в нормах на каналы телемеханики. Уровень передачи каждого канала определялся по формуле
![]()
(3-7)
n - количество каналов соответствующего назначения по табл. 3-8. Индекс соответствует порядковому номеру канала (см. табл. 3-8);
m - коэффициент по табл. 3-8;
Uмакс - максимальное напряжение передатчика, В.
Максимальное напряжение передатчика для расчета по формуле (3-6) можно принимать равным:
рмакс дБ (Вт) 50 (100) 40 (10) 39 (8)
Uмакс В 100 31,6 28,3
Для других значений мощностей передатчика
В (3-8), где Р - максимальная мощность передатчика, Вт.
Таблица 3-8
Значения коэффициента m для расчета уровня передачи
|
Канал |
Полоса эффективно передаваемых частот, кГц |
Скорость передачи, Бод |
Коэффициент m |
|
|
1 |
Телефонный |
0,3 - 3,4 |
- |
1,0 |
|
2 |
То же |
0,3 - 2,3 |
- |
0,8 |
|
3 |
То же |
0,3 - 2,0 |
- |
0,74 |
|
4 |
Контрольной частоты |
- |
- |
0,33 |
|
5 |
Телемеханики |
- |
40 - 60 |
0,2 |
|
6 |
То же |
- |
100 |
0,25 |
|
7 |
-"- |
- |
200 |
0,33 |
|
8 |
-"- |
- |
300 |
0,43 |
Для двенадцатиканальной системы количество одновременно работающих каналов телефонной связи принято равным 5.
Рассчитанные по формуле (3-6) уровни передачи округлялись до 0,5 дБ.
Согласно технической документации, а также расчетам по формулам (3-6) и (3-7), каналы телефонной связи имеют наименьшее перекрываемое затухание, поэтому расчет ВЧ каналов на этой аппаратуре осуществляется для телефонного канала;
3) для передатчиков системы ЧМ каналов телефонной связи и телесигнализации типа ТСД-70 и ДСГ-68 - соответствуют максимальному уровню передатчика, указанному в технической документации на аппаратуру.
II. Минимальная разность уровней сигнала и распределенной помехи на входе приемника ВЧ канала принята исходя из следующих соображений:
1) для телефонных каналов по ВЛ считается достаточной разность уровней сигнала и распределенной помехи рс/п = 26 дБ на выходе канала. Приемники аппаратуры систем АМ ОБП не изменяют разности рс/п, поэтому на ВЧ входе приемника принято то же значение. Собственные шумы приемника значительно ниже уровня помех на ВЛ и поэтому в расчетах не учитываются;
2) приемники систем ЧМ с индексом модуляции около 1 дают выигрыш в помехозащищенности около 4 дБ [Л.5], поэтому на ВЧ входе приемника телефонного канала принято значение рс/п = 26 - 4 = 22 дБ;
3) исследования, проведенные ВНИИЭ, показали, что в ВЧ каналах телемеханики по ВЛ с системой передачи ЧМ-ОБП при рс/п = 18 дБ при скорости передача 50 Бод и рс/п = 22 дБ при скорости передачи 100, 200 и 300 Бод обеспечивается приемлемое качество передачи информации с вероятностью появления ошибки в элементарной посылке 4 ∙ 10-4;
4) согласно технической документации на аппаратуру ВЧТО-М, гарантируется нормальная работа выходного устройства приемника при минимальной разности уровней сигнала и гладкой помехи на входе приемника рс/п = 4 дБ. Это же значение рс/п принято для аппаратуры сигнализации гололедообразования ДСГ-68 в формуле (1-4).
Если уровень помех в полосе фильтров широкополосной части приемника, расположенных до ограничителя максимальных амплитуд (в точке подключения устройства присоединения к линии), ниже уровня порога ограничения (чувствительности) приемника на 1 дБ и более, то значение рс/п ≥ 4 дБ обеспечивается на входе приемника вследствие затухания помехи в фильтре присоединения, ВЧ кабеле и шунтирующих сопротивлениях.
III. Уровень ВЧ помех от короны на проводах ВЛ не является постоянной величиной, а изменяется во времени в зависимости от условий погоды и состояния поверхности проводов. Поэтому в расчетах принимается средний уровень помех, вероятность появления которого соответствует 50 %. В табл. 1-5 приведены средние уровни помех, рассчитанные по формуле (2-1), для ВЛ, расположенных на высоте до 1000 м над уровнем моря, с горизонтальным расположением фаз, с усредненными размерами опор и наиболее часто применяемыми проводами (см. п. 2.2.1).
Уровни ВЧ помех на кабельных линиях, приведенные в табл. 1-3, взяты из [Л.2].
IV. Минимальный уровень приема ВЧ каналов релейной защиты на аппаратуре ПВЗК, ПВЗД, УПЗ-70 и АЗВ определен согласно [Л.16].
К п. 1.2.3
Затухание элементов ВЧ тракта на приемном конце аф.п, акаб, аш, ар.ф одинаково для полезного сигнала и для помехи и не изменяет соотношения между ними. Поэтому для ВЧ каналов всех назначений, минимальный уровень приема которых определен исходя из уровня помех на BЛ, затухание этих элементов не учитывается. Эта рекомендация распространяется на ВЧ каналы с приемниками высокой чувствительности (АСК-1, АСК-3, ВЧА-1, ВЧА-3 и т.д.).
Если для ВЧ канала минимальный уровень приема соответствует чувствительности приемника, то для обеспечения нормального остаточного затухания в телефонном канале или нормального уровня сигнала на выходе приемника релейной защиты (противоаварийной автоматики) необходимо учитывать затухание всех элементов ВЧ тракта на приемном конце.
К п. 1.2.4
При параллельном включении аппаратуры ВЧ каналов релейной защиты, противоаварийной автоматики, телефонной связи и телемеханики последовательно с каждым ВЧ аппаратом включаются разделительные фильтры.
Эти фильтры, включенные последовательно с аппаратурой телефонной связи и телемеханики, должны быть настроены на запирание частот параллельно включенных приемопередатчиков каналов релейной защиты и противоаварийной автоматики.
Разделительные фильтры, включенные последовательно с ВЧ аппаратурой релейной защиты и противоаварийной автоматики, должны быть настроены на запирание частот других параллельно включенных приемопередатчиков релейной защиты и противоаварийной автоматики.
Разделительные фильтры ограждают ВЧ каналы релейной защиты и противоаварийной автоматики от нежелательных случайностей (например, коротких замыканий входных цепей параллельно включенной аппаратуре, низкого входного сопротивления параллельно включенного ВЧ кабеля при значительной его длине) и позволяют выводить аппаратуру каждого ВЧ канала на профилактические осмотры и ремонты без отключения аппаратуры других каналов.
Можно считать допустимым значение затухания, вносимого в ВЧ канал при коротком замыкании входных цепей параллельно включенной аппаратуры, равное 1 дБ. При этом условии активное сопротивление разделительного фильтра на частоте настройки определится из выражения
(3-9)
где rвх.каб - входное сопротивление ВЧ кабеля, Ом;
rвх.пп - входное сопротивление приемопередатчика на рабочей частоте, Ом.
При rвх.каб = 75 Ом и rвх.пп = 100 Ом, rр.ф = 357 Ом.
При расчете затухания ВЧ тракта канала релейной защиты (противоаварийной автоматики) принято учитывать наиболее тяжелые условия, т.е. считать, что за разделительным фильтром входное сопротивление ВЧ кабеля равно нулю.
Стандартный разделительный фильтр РФ, согласно технической документации, имеет активное сопротивление на частоте настройки не менее 500 Ом.
При отстройке на 10 % от частоты настройки разделительный фильтр РФ имеет небольшое комплексное сопротивление, которое при включении последовательно с ВЧ кабелем вносит затухание не более 1 дБ.
Если используется нестандартный разделительный фильтр (контур), то затухание, вносимое им в ВЧ тракт телефонного канала, можно определить по формуле [Л.17]
(3-10)
где хр.к - реактивная составляющая сопротивления разделительного контура, Ом;
rр.к - активная составляющая этого сопротивления, Ом;
rн - входное сопротивления нагрузки (ВЧ аппаратуры) на рабочих частотах канала, Ом.
При rн = 100 Ом, rр.к = 0, хр.к ≈ 100 Ом, ар.к = 1 дБ.
К п. 1.2.5
Запасом по перекрываемому затуханию в канале Азап учитывается вероятность совпадения следующих факторов:
1) для ВЧ канатов релейной защиты с передачей блокирующего сигнала - формула (1-11):
- 7 дБ - ухудшение параметров приемопередатчика при снижении напряжения аккумуляторной батареи и старении электронный ламп;
- 6 дБ - помехи от работы линейных выключателей при отключении аварийных ВЛ;
- Δагол - прирост затухания линейного тракта при образовании гололеда на проводах линии;
2) для ВЧ каналов релейной защиты с передачей отключающего сигнала и противоаварийной автоматики - формула (1-12):
- 20 дБ - прирост затухания линейного тракта при замыкании на землю рабочей фазы (кроме случаев короткого замыкания на землю около конденсатора связи);
- 2 дБ - снижение уровня передачи при падении напряжения аккумуляторной батареи;
- Δагол - прирост затухания линейного тракта при образовании гололеда на проводах линии;
3) для каналов телефонной связи и телемеханики учитывается один из двух факторов:
- увеличение уровня распределенных помех при плохих погодных условиях. Принято значение Δрпом = 9,0 дБ, соответствующее вероятности обеспечения принятой нормы pc/п в течение 97 % времени;
- прирост затухания линейного тракта от гололеда Δагол. В качестве Азап принимается тот фактор, который для данного района гололедности имеет наибольшее значение;
4) ограничение максимального расчетного значения Азап для ВЧ каналов релейной защиты с передачей блокирующего сигнала принято по Эксплуатационному циркуляру № Э-1/74 [Л.16], в котором не рекомендуется устанавливать запас по перекрываемому затуханию более 20 дБ в 1 районе по гололеду и 25 дБ в остальных районах;
5) прирост затухания линейного тракта от гололеда в расчетах принят для следующей толщины стенки гололеда на проводах ВЛ повторяемостью один раз в пять лет в районах по гололеду: в I и II - 5 мм, в III - 10 мм, в IV - 15 мм.
Расчетная длина гололедного участка принимается равной 30 км при lВЛ ≥ 30 км и длине ВЛ, если lВЛ < 30 км. На рис. 1-22 - 1-29 построены графики Δагол при длине гололедного участка 30 км. Марка проводов принималась для ВЛ 35 кВ АС-95/15; 110 кВ - AC-185/24; 220 кВ - АС-400/51; 330 кВ - AС-300/39; 500 кВ - АС-400/51; 750 кВ - АС-300/39. Грозозащитные проводящие тросы марки АС-70/72.
Значение Δагол определено по формуле [Л.4]
где К3 - коэффициент; для ВЧ 35 - 500 кВ принят по табл. 3-4, для ВЧ 750 кВ принят равным 0,32;
m - коэффициент по рис. 1-31;
dл - толщина стенки гололеда, мм;
rпр - радиус провода (мм) по табл. 2-1.
В формуле (1-14) коэффициент S получен из формулы (3-11):
(3-12)
К п. 1.2.11
Внутрифазный тракт по расщепленной фазе обладает высокой симметрией, поэтому излучение от ВЧ каналов по этому линейному тракту создает невысокую напряженность поля вблизи ВЛ, которая ниже минимального уровня нормального радиоприема.
Уровень сигнала радиостанций на входе приемника ВЧ канала с внутрифазным трактом ниже уровня помех от короны на этой же BЛ.
К п. 1.2.14
При параллельном подключении ВЧ аппаратуры нескольких каналов не учитываются влияния остатков несущих второй ступени преобразования передатчиков на приемники других каналов, даже если они попадают в полосу пропускания приемников. У передатчиков современной аппаратура уровни остатков несущих второй ступени преобразования находятся ниже уровня помех на ВЛ. У передатчиков аппаратуры старых типов, находящихся в эксплуатации, можно подстройкой фильтров передатчика добиться того, чтобы уровень остатков несущих второй ступени преобразования был ниже уровня помех на ВЛ.
К п. 1.3.2
Линейный тракт ВЧ канала по ВЛ практически никогда не бывает согласован. По этой причине импульсы высокой частоты, посылаемые в ВЛ при работе передатчика с дифференциально-фазной защитой, отражаются от конца ВЛ и попадают на вход своего приемника с запаздыванием на некоторый угол (около 12° на 100 км ВЛ).
На BЛ без ответвлений короче 100 км основной и отраженный сигналы своего передатчика практически сливаются, поэтому отраженные сигналы не влияют на работу защиты. В таких каналах частоты обоих передатчиков могут быть одинаковыми.
На ВЛ длиннее 100 км отраженные сигналы запаздывают на значительный угол и заполняют существенную часть паузы между сигналами своего передатчика; по амплитуде они могут быть сравнимы с сигналами передатчика противоположного конца ВЛ. Если частоты передатчиков будут одинаковыми, то в результате биений между отраженным сигналом и сигналом, принятым с другого конца ВЛ, при небольшом линейном затухании могут появиться «провалы» в общем сигнале. Для устранения этого недостатка, а также для отстройки от отраженного сигнала своего передатчика частоты передатчиков в канале на ВЛ без ответвлений длиннее 100 км выбираются с разницей в 1,5 кГц. При соблюдении условия
(3-13)
уровень отраженного сигнала на входе приемника будет ниже минимального уровня приема, приведенного в табл. 1-4, не менее чем на 10 дБ при |Котр| ≤ 0,5. В канале с таким линейным трактом можно выбирать одинаковые частоты для обоих передатчиков, поскольку из-за большой разницы уровней отраженного сигнала и сигнала передатчика противоположного конца ВЛ биения между ними на входе приемника не влияют на работу защиты.
На ВЛ с ответвлениями часто оказывается невозможным обеспечить во всех пунктах установки приемопередатчиков необходимую разницу в напряжениях сигналов, приходящих от других передатчиков. При одинаковых частотах передатчиков в канале на входе приемников могут возникать биения с появлением «провалов» в общем сигнале, что может привести к ложной работе защиты. Для устранения указанного недостатка частоты передатчиков в каждом пункте на ВЛ с ответвлениями должны отличаться не менее чем на 0,5 кГц.
К п. 1.3.3
Нормы допустимых помех между ВЧ каналами по ВЛ приняты на основании опыта эксплуатации ВЧ каналов в энергосистемах и исследовательских работ ВНИИЭ.
1. Помехи в каналах телефонной связи от других каналов идентичны невнятным переходным разговорам в многоканальных системах дальней связи. Исходя из этого, для ВЧ каналов по ВЛ считается достаточным, чтобы уровни мешающих сигналов были ниже уровня распределенной помехи на 9 дБ. При этом разность уровней полезного и мешающего сигналов будет равна 35 дБ.
2. Для каналов телемеханики считается достаточной разность уровней сигнала и помехи в 20 дБ.
Учитывая, что в каналах телемеханики суммируются помехи от короны и от других каналов (перекрестные помехи), принята разность уровней полезного и мешающего сигнала в 25 дБ.
3. Разность уровней сигнала и помехи для каналов релейной защиты в 10 дБ принята согласно [Л.16].
4. Линейная работа демодулятора первого преобразователя обеспечивается при определенном уровне сигнала на демодуляторе, указанном в технической документации на аппаратуру. При наличии помех, проникающих через входной фильтр приемника на вход демодулятора, необходимо снижать уровень полезного сигнала таким образом, чтобы суммарный уровень сигнала и помехи на входе демодулятора не превышал допустимого значения. Считается допустимым, чтобы уровень мешающего сигнала, частоты которого находятся вне полосы рабочих частот канала, на входе демодулятора первого преобразователя был выше уровня полезного сигнала не более чем на 9 дБ.
При такой разности уровней сигнала и помехи обеспечивается установка режима линейной работы демодулятора приемника аппаратуры.
К п. 1.3.8.
Выражение (1-17), определяющее возможность применения частот без их смены (прямое усиление), составлено исходя из допустимости неравномерности частотной характеристики промежуточного усилителя (1 дБ) в полосе канала из-за обратной связи через шины подстанций. При этом предполагается, что в полосе канала фазовая характеристика цепи обратной связи, включая фильтры аппаратуры и переход через шины подстанции, может изменять угол от 0 до 180° и на каждой подстанции эти характеристики различны.
Для ВЧ каналов по тросам ВЛ с промежуточными усилителями прямого усиления предполагается, что фазовая характеристика перехода с выхода промежуточного усилителя на его вход в полосе канала стабильна и идентична для всех усилительных пунктов. Принимая во внимание идентичность фильтров аппаратуры всех промежуточных усилителей, можно специальным включением фильтров получить фазовую характеристику обратной связи четных промежуточных усилителей, сдвинутую на 180° по отношению к фазовой характеристике нечетных промежуточных усилителей, и этим избежать сложения неравномерностей частотной характеристики в канале.
Поэтому в формуле (1-17а) отсутствует член 10lgm, имеющийся в формуле (1-17).
К п. 1.3.9.
Выражения (1-18) и (1-19), определяющие возможность применения усиления в канале с инверсией частот (одинаковые полосы частот передачи в обоих направлениях и одинаковые полосы частот приема в обоих направлениях), составлены исходя из допустимости колебания остаточного затухания в канале 1 дБ из-за биения контрольных частот обоих направлений на входе приемника промежуточного усилителя. Если контрольные частоты различны и их биение не наблюдается (обратное направление полос частот), то соблюдение зависимостей (1-18) и (1-19) обеспечивает уровень мешающего сигнала телемеханики обратного направления в телефонном канала прямого направления не менее 35 дБ.
К п. 1.3.12
Разнос частот ВЧ каналов при параллельном включении аппаратуры через разделительный фильтр РФ, согласно техническим условиям на фильтр, должен быть не менее 10 % частоты настройки РФ, т.е. несущей частоты канала релейной защиты (или противоаварийной автоматики). При этом затухание, вносимое фильтром в канал, согласно ТУ, не превышает 1,0 дБ.
К п. 1.3.13
Помехозащищенность приемников с двойным преобразованием частот в полосе зеркального канала определяется в основном избирательными свойствами входного ВЧ фильтра приемника. Поскольку передатчики аппаратуры имеют уровни 40 - 50 дБ, а избирательность входного фильтра на частоте зеркального канала относительно невысока, то в некоторых случаях при параллельном подключении приемников и передатчиков не соблюдается принятая в настоящих Руководящих указаниях разность уровней полезного сигнала и мешающего передатчика (см. п. 1.3.3).
К п. 1.4.1
Разнос частот между краями рабочих полос передатчиков мощностью до 10 Вт не менее 10 %, но не менее 8 кГц при параллельном подключении их принят временно по документации на аппаратуру АСК-1. Поскольку ВЧ характеристики линейных фильтров аппаратуры ВЧ каналов по ВЛ, перечисленной в табл. 1-2 и 1-3, близки, разнос частот для аппаратуры АСК-1 распространен на все типы передатчиков. При указанном разносе частот затухание, вносимое параллельно включенным передатчиком другого канала, будет не более 1,0 дБ, а продукты паразитной модуляции сигнала одного передатчика сигналом другого передатчика, проникающим через линейный фильтр на транзисторы (лампы) выходного каскада, не будут оказывать заметного влияния на работу ВЧ каналов. После проведения исследований указанное значение разноса частот может быть уточнено.
К п. 1.4.2.
Графики для определения минимального значения разноса частот составлены с учетом избирательности фильтров приемника согласно технической документации на аппаратуру и нормам, изложенным в п. 1.3.3. Для приемников, имеющих высокую чувствительность, уровень которой практически во всех случаях ниже минимального уровня приема на BЛ 35 - 500 кВ, графики разноса частот составлены в зависимости от разности уровней полезного и мешающего сигналов на входе приемника Δр = рпр - рмеш.
Для приемников с невысокой чувствительностью (например, у аппаратуры ВЧА-СЧ, АСК-РС, ДСГ-68, ТСД-70, УПЗ-70, ПВЗД, ПВЗК), а также приемников ВЧТО-М, которая, как правило, принимается в качестве минимального уровня приема, графики разноса частот составлены в зависимости от уровня мешающего сигнала на входе приемника рмеш.
Приведены наиболее вероятные значения переходных затуханий на основании анализа измерений, проведенных при наладке каналов и исследовательских работах.
К п. 1.5.9
Значения переходных затуханий на ближнем конце между линейными трактами по грозозащитным тросам в пункте промежуточного усиления на трассе ВЛ приняты по [Л.10].
Определение переходных затуханий между линейными трактами, обусловленных электромагнитной связью на участке параллельного следования, производится по данным [Л.4].
К п. 2.2.5
Формула (1-5) для определения поправки Δрпром, учитывающей квадратичное сложение распределенных помех в каналах с промежуточными усилителями и переприемами, справедлива при равенстве значений всех усилительных участков.
Расчет значения Δрпром по формуле (1-5) без учета усилительных и переприемных участков, для которых рн.с/п выше на 10 дБ и более, чем для усилительного участка с наименьшим значением рмин.с/п, имеет погрешность не более 1 дБ при числе усилительных участков до четырех по сравнению с расчетом по точной формуле квадратичного сложения с учетом всех усилительных участков
К п. 2.3.
Рекомендации по расчету линейных трактов по фазным проводам ВЛ составлены по материалам [Л.4].
1. Увеличение затухания из-за влияния земляной волны при схемах присоединения фаза - земля Δа(0) (см. рис. 2-3), рассчитано по формуле
Значения α(0) и α(ф) определены из [Л.4].
2. Расчет линейных трактов по нетранспонированным шестипроводным ВЛ со схемой присоединения верхняя фаза - земля и средняя фаза - земля по формулам (2-10) и (2-11) дает погрешность (в сторону увеличения результата) против расчета по уточненной формуле [Л.4] соответственно на 2 и 3 дБ в нижней части диапазона частот.
3. Области частот, в которых допустима работа ВЧ каналов по крайним (нижним) фазам нетранспонированных ВЛ, приведенные на рис. 2-5 - 2-14, означают:
- область 1 - область симметричных ВЛ.Граничные значения fl этой области частот приведены в табл. 3-9 по [Л.4];
- область 2 - область несимметричных ВЛ при схеме присоединения фаза - земля к одноименной фазе на обоих концах.
Граничные значения этой области рассчитаны по рекомендациям [Л.4] по формуле
где f - в килогерцах.
Значения Δ(2) принималось для ρз = 200 Ом ∙ м.
При известном значении ρз границы области частот 2 могут быть уточнены по формуле (3-16), в которой значения Δ(2) определяются по [Л.4] для ВЛ 110 и 220 кВ и по рис. 2-21 и 2-22 - для ВЛ 330 и 500 кВ;
- область 3 - область несимметричных трехпроводных ВЛ при схемах присоединения фаза - земля к разноименным фазам по концам.
Граничные условия этой области рассчитаны по рекомендациям [Л.4] по формулам:
(3-17)
(3-18)
Значения Δ(2) принимались для ρз = 200 Ом ∙ м.
При известном значении ρз границы области частот 2 могут быть уточнены;
- область 4 - область частот, граничные условия которой рассчитаны по рекомендациям [Л.4] по формулам, приведенным в табл. 3-10.
Таблица 3-9
Максимальные расчетные значения fl симметричных ВЛ
|
Напряжение ВЛ, кВ |
fмаксlВЛ кГц ∙ км |
|
|
Горизонтальное |
35 |
20 ∙ 103 |
|
110 |
8 ∙ 103 |
|
|
220 |
5 ∙ 103 |
|
|
Треугольное |
35 |
60 ∙ 103 |
|
110 |
30 ∙ 103 |
|
|
220 |
15 ∙ 103 |
|
|
Двухцепное (бочка) |
35 |
75 ∙ 103 |
|
110 |
33 ∙ 103 |
|
|
220 |
9,5 ∙ 103 |
|
|
Примечание. ВЛ 330 кВ и выше считаются несимметричными. |
||
Таблица 3-10
Расчетные формулы граничных условий области частот 4 нетранспонированных ВЛ
|
Расчетная формула |
|
|
Горизонтальное |
|
|
Вертикальное |
|
|
Треугольное для фазы 1 (рис. 2-4,а) |
|
Погрешность расчета затухания линейного тракта в области частот 4 до формулам табл. 2-2 не превышает 2 дБ на границе области по сравнению с расчетом затухания по формулам [Л.4].
4. Границы областей частот 1-5 по рис. 2-7,б и 2-8,б, в которых допустима работа ВЧ каналов по транспонированным ВЛ 330 и 500 кВ с горизонтальным расположением фаз, соответствуют: 1, 2, 3 и 5 - области частот при схеме присоединения фаза А (В) - земля; 1, 2, 4 и 5 - области частот при схеме присоединения фаза С - земля; 2, 3, 4 и 5 - области частот при схеме присоединения фаза А - земля на одном конце и фаза В - земля нa втором конце.
Граничные условия областей частот рассчитаны по формулам:
- области 2
области 3 ![]()
- области 4
области 5 ![]()
Формулы граничных условий областей 4 и 5 получены из выражения
(3-22)
Значения Δ(2) принимались для ρз = 200 Ом ∙ м. При известном значении ρз границы областей частот 2 и 3 могут быть уточнены.
Формулы для определения затухания линейного тракта в областях 4 и 5 (по рис. 2-7,б и 2-8,б), приведенные в табл. 2-2, получены из выражения
Максимальная погрешность расчета затухания линейного тракта по формуле (3-23) не превышает 2 дБ на границе области по сравнению с расчетом затухания по точным формулам.
Для транспонированных ВЛ 110 и 220 кВ, а также для ВЛ 330 кВ с треугольным расположением фаз границы областей частот, в которых применима формула (3-23) для расчета затухания линейного тракта, находятся выше 500 кГц при длине ВЛ до 250 - 300 км. Для этих ВЛ рекомендуется использование диапазона частот, ограниченного согласно рис. 1-15, 1-18 и 1-19 [см. пояснения к п. 1.2.1 - формулы (3-3) и (3-4)].
5. Расчеты, выполненные на ЭBМ, и измерения показали, что при схемах присоединения аппаратуры ВЧ каналов к разным фазам по концам BЛ изменение затухания эквивалентной междуфазной волны не превышает 1 - 2 дБ при изменении сопротивления нагрузки нерабочих фаз от нуля до бесконечности, т.е. при замыкании их на землю и отключении от шин подстанции.
К п. 2.3.10
Кривые графиков на рис. 2-33 и 2-34 для определения затухания, вносимого ответвлением, используемым для связи, рассчитаны по формулам [Л.4]:
где 
К11 - коэффициент отражения междуфазной волны от конца ответвления.
Расчет по формулам (3-24) и (3-25) выполнялся для того режима работы ВЛ, при котором абсолютное значение К11 наибольшее. Сопротивление заградителей в рабочей фазе принималось равным 500 Ом.
Кривые аотв.мин, используемые для расчета неравномерности затухания ВЧ тракта, обусловленной неравномерностью частотной характеристики затухания ответвления, рассчитывались при Zф.л = 400 Ом. При других значениях Zф.л в пределах 300 - 800 Ом значения аотв.мин отличается от приведенных на рис. 2-33 и 2-34 не более чем на 20 %.
К п. 2.3.11
Кривые на рис. 2-35 для определения максимального затухания, вносимого ответвлением, обработанным заградителями, рассчитаны по формуле
(3-26)
где ξ определялась по [Л.4].
Кривые на рис. 2-36 для определения максимального затухания, вносимого необработанным ответвлением, не используемым для организации связи, рассчитаны по формуле [Л.4]:
(3-27)
где
град;
Сп - емкость оборудования подстанции пФ;
К4 = 1 - коэффициент для ВЛ с фазами из одиночных проводов.
К п. 2.3.17
Расчет затухания, вносимого в ВЧ тракт канала за счет шунтирования устройствами присоединения обхода линейного разъединителя при включенном линейном разъединителе, выполняется с учетом следующих допущений:
1) при расположении линейного
разъединителя
на расстояния не более трех длин волн (
)
от ближайшей подстанции устройства присоединения
рассматриваются
как шунт, включенный только в рабочую фазу. Формула (2-30) получена из формулы (2-23) в предположении, что Zн = Zг = Zл;
2) при расположении линейного разъединителя на расстоянии более трех длин волн (
) от ближайшей подстанции
устройства присоединения рассматриваются как короткое ответвление от ВЛ, при котором
сопротивление нагрузки рабочей фазы равно шунтирующему сопротивлению Zш, а
нерабочих фаз -
бесконечности.
Формула (2-33) получена преобразованием формулы [Л.4].
(3-28)
где
![]()
![]()
Z2 - сопротивление нагрузки нерабочих фаз;
Zн - сопротивление нагрузки рабочей фазы.
При выводе формулы (2-33) принималось:
Z2 = ∞; Zн = Zш; К4 = 1.
К п. 2.3.18
Вынос схемы ВЧ обхода в начало параллельного следования ВЛ, расположенных на участке параллельного следования на двухцепных опорах, может ухудшить частотную характеристику затухания ВЧ тракта за счет появления нескольких областей повышенного затухания в пределах полосы пропускания фильтра присоединения [Л.8].
Происходит это из-за сдвига по фазе напряжений на нерабочих фазах ВЛ до и после обхода.
Пример 1
Определить полосу частот, в которой можно не обрабатывать заградителем ответвлений от ВЛ 110 кВ, длина которого 0,2 км. На конце ответвления расположена подстанция «Блок 110 кВ (линия - трансформатор)» по схеме рис. 4-1.
Высокочастотный канал в этой полосе частот должен быть работоспособным при замыкании на землю ответвления на подстанции. Затухание, вносимое ответвлением, должно быть не более 3,0 дБ.
1. По данным табл. 1-19 определяется емкость оборудования подстанции на землю для одной фазы, пФ:
Трансформатор ТДТГ-60000/110.................................. 970
Разрядник РВС-110, 2 шт............................................. 170
Разъединитель РЛНЗ-110 м.......................................... 100
Шины 30 м по 7,5 пФ/м................................................ 225
Сn = 1465
2. Относительная емкость подстанции в рабочем режиме
![]()
3. По рис. 2-36 находится значение fl
для двух крайних случаев, т.е. при
замыкании ответвления на землю (Сn = ∞)
и при включенной в работу подстанции на конце ответвления (рабочий режим подстанции) ![]()
а) по кривой Сn = ∞ при замыкании на землю фаз в конце ответвления при аотв = 3,0 дБ
fl = 22 кГц ∙ км; ![]()
б) по кривой Сn = 7325 пФ/км для рабочего режима подстанции при аотв = 3,0 дБ
fl =30 кГц ∙ км; ![]()
Согласно поставленным условиям для полосы частот 110 - 150 кГц, ответвление можно не обрабатывать заградителем.
Пример 2
Требуется выбрать рабочие частоты для вновь проектируемого ВЧ канала на аппаратуре АСК-PC по ВЛ 110 кВ (рис. 4-2). Воздушная линия одноцепная, нетранспонированная с горизонтальным расположением фаз. Фазные провода марки AC-185. Рабочий ток линий 500 А. Ударный ток короткого замыкания не превышает 30 кА. ВЛ проходит по территории II района по гололеду. На расстоянии до 300 км от BЛ расположена радиовещательная станция с несущей частотой 254 кГц.
Районный диспетчерский пункт расположен при подстанции № 1; с ним должна осуществляться связь подстанций № 2 и 3. На подстанции № 1 располагается аппаратура ВЧА-СЧ действующего канала по ВЛ 110 кВ.
I. Выбор частот
1. Минимальный уровень приема телефонного канала определяется по формуле (1-5)
рпр.мин = рпом + 10lgΔf + рс/п = -38 + 3 + 26 = -9 дБ.
где Δf = 2 кГц - полоса эффективно передаваемых частот телефонного канала;
рпом = -38 дБ - уровень помех на ВЛ 110 кВ в полосе частот 1 кГц;
рс/п = 26 дБ - минимальная разность уровней сигнала и распределенной помехи в телефонном канале.
2. Затухание, перекрываемое аппаратурой АСК-РС, определяется по формуле (1-2):
Апер = рпер - рпр.мин = 32 + 9 = 41 дБ.
3. Затухание элементов ВЧ тракта определяется по формуле (1-7):
аэл = ак + Δатр1 + 2аз + 2аф.л + 2акаб + аотв = 2,5 + 3 + 6 + 3 + 1 + 7,0 = 22,5 дБ.
Поскольку значение рпр.мин соответствует чувствительности приемника АСК-РС (по табл. 1-2), в расчете аэл учитывается затухание всех элементов ВЧ тракта на приемном конце.
4. Наибольшая возможная рабочая частота канала определяется по рис. 1-2 по максимально допустимому значению километрического затухания междуфазной волны:
![]()
fмакс = 270 кГц,
здесь Азап = 11,5 дБ - запас по перекрываемому затуханию в канале из рис. 1-23 для частоты 270 кГц.
5. Минимальный разнос частот между краями рабочих полос аппаратуры АСК-РС и ВЧА-СЧ на подстанции № 1 определяется по рис. 1-36 и 1-37 в зависимости от уровня мешающего сигнала:
рмеш = рмакс - Ап.б = 36 - 25 = 11 дБ,
где рмакс = 36 дБ - максимальный уровень передатчика АСК-РС и ВЧА-СЧ;
Ап.б = 25 дБ - затухание перехода подстанции.
Δfмин1 = 1 кГц для приемника аппаратуры АСК-РС;
Δfмин2 = 2,5 кГц для приемника аппаратуры ВЧА-СЧ.
Рабочая полоса частот проектируемого канала выбирается равной 138 - 146 кГц.
6. Высокочастотные заградители выбираются типа ВЗ-600-0,25 с полосой заграждения 120 - 180 кГц при минимальном значении активного сопротивления в полосе заграждения 500 Ом.
7. Фильтры присоединения выбираются типа УФП-75 на полосу пропускания 42 - 280 кГц при Zф.л = 600 Ом с конденсатором связи емкостью 6400 пФ.
II. Поверочный электрический расчет ВЧ канала
1. Затухание ВЧ тракта между подстанциями № 1 и 3
атр = α1l + ак + 2аз + 2аф.л + 2акаб + аотв = 5 + 2,5 + 7 + 3,5 + 1 + 8,5 = 27,5 дБ;
α(1)l = 0,053 ∙ 95 = 5 дБ (по рис. 1-2).

аф.п = 1,74 дБ - по паспортным данным (см. табл. 1-10);
акаб = 0,5 дБ - по рис. 2-31 для кабеля марки РК-75 длиной по 0,25 км на один пункт;
аотв = 8,5 дБ - по рис. 2-33 при Zф.п = 600 Ом и α(ф)lотв = 0 дБ.
2. Запас по перекрываемому затуханию в канале
Азап = Апер - атр = 41 - 27,5 = 13,5 дБ.
III. Оценка неравномерности затухания ВЧ тракта канала, обусловленная многократными отражениями междуфазной волна от мест неоднородности и неравномерностью частотной характеристики затухания ответвления
1. Коэффициент отражения от концов ВЛ при Zф.л = 600 Ом (по рис. 2-41); К1 = 0,52.
2. Коэффициент отражения от места включения ответвления (по рис. 2-33) при аотв = 8,5 дБ К2 = Котв = 0,62.
3. Неравномерность затухания ВЧ тракта на первом участке подстанции № 1 - место включения ответвления при α(1)l(1) = 0,053 ∙ 55 = 3 дБ (по рис. 2-40) Δaтр11 = 3,0 дБ.
4. Неравномерность затухания ВЧ тракта на втором участке подстанции № 3 - место включения ответвления при α(1)l2 = 0,053 ∙ 40 = 2,0 дБ Δaтр12 = 4,0 дБ.
5. Суммарная неравномерность затухания ВЧ тракта на участке подстанция № 1 - подстанция № 3
Δатр1 = Δатр11 + Δатр12 = 3,0 + 4,0 = 7,0 дБ.
Неравномерность затухания ВЧ тракта 7,0 дБ будет наблюдаться в полосе частот канала одного направления, так как длина ВЛ более 25 км.
6. Неравномерность затухания ВЧ тракта, обусловленная неравномерностью частотной характеристика затухания ответвления, определяется по рис. 2-42:
Δатр2 = аотв.макс - аотв.мин = 8,5 - 1,5 = 7,0 дБ.
Поскольку lотв < 25 км, значение Δaтр2 в полосе 3 кГц определится по рис. 2-34:
Δатр2Δf = 2,5 дБ.
7. Неравномерность затухания ВЧ тракта в полосе 3 кГц (полоса канала в одном направлении)
![]()
8. Максимально возможное затухание ВЧ тракта
![]()
9. Максимальный запас по перекрываемому затуханию
Азап = Апер - атр.макс = 41 - 31 = 10 дБ.
Расчет считается законченным, поскольку характеристики ВЧ канала соответствуют нормам.
Пример. 3
Требуется выбрать рабочие частоты для вновь проектируемых каналов по ВЛ 110 кВ, показанных на рис. 4-3; ВЛ 110 кВ подстанция № 2 - подстанция № 4 нетранспонированная с горизонтальным расположением фаз; ВЛ 110 кВ подстанция № 1 - подстанция № 2 нетранспонированная с треугольным расположением фаз. Марка фазных проводов приведена на рис. 4-3. Рабочий ток ВЛ не превышает 500 А. Ударный ток короткого замыкания - не более 30 кА. Линия электропередачи проходит по территории II района по гололеду. Заходы обеих BЛ на подстанцию № 2 располагаются в общем коридоре. На расстоянии до 300 км от ВЛ вещательных радиостанций нет. Учитываются несущие частоты 236 и 263 кГц радиостанций общесоюзного вещания.
1. Выбор частот
1. Минимальный уровень приема канала определяется по формуле (1-5):
рпр.мин = рпом + 10lgΔf + рс/п + рпром:
а) для канала 1 с промежуточным усилителем на подстанции № 2
рпр.мин = -38 + 10lg2 + 26 + 10lg2 = -6 дБ;
б) для канала 2 на аппаратуре АСК-РС
рпр.мин = -38 + 10lg2 + 26 = -9 дБ;
в) для каналов 3 и 4 на аппаратуре УПЗ-70
рпр.мин = +7,5 дБ (по табл. 1-4),
где рпом = -38 дБ - уровень помех на ВЛ 110 в полосе 1 кГц (см. табл. 1-5);
Δf = 2 кГц - полоса эффективно передаваемых частот телефонного канала;
pc/п = 26 дБ - минимальная разность уровней сигнала и распределенной помехи в телефонном канале.
2. Затухание, перекрываемое аппаратурой, определяется по формуле (1-2):
Апер = рпер - рпр.мин:
а) для канала 1 с каналами телемеханики
Апер = 33 + 6 = 39 дБ;
6) для канала 2
Апер = 32 + 9 = 41 дБ;
в) для каналов 3 и 4
Апер = 45 - 7,5 = 37,5 дБ.
3. Затухание элементов ВЧ тракта определяется по формуле (1-7) на ВЛ подстанция № 1 - подстанция № 2:
аэл = ак + 2аз + 2аф.п + 2акаб:
а) для канала 1
аэл = 2,5 + 2 ∙ 3,0 + 1,5 + 0,5 = 10,5 дБ,
б) для канала 3
аэл = 2,5 + 2 ∙ 3,0 + 2 ∙ 1,5 + 2 ∙ 0,5 = 12,5 дБ.
Для канала 1 на приемном конце учитывается затухание только заградителя, а для канала 3 - все элементы ВЧ тракта, так как значение рпр.мин канала 3 соответствует уровню порога запирания приемника по табл. 1-3.
4. Затухание элементов ВЧ тракта на ВЛ подстанция № 2 - подстанция № 4
аэл = ак + Δатр1 + 2аз + 2аф.п + 2акаб + 2ар.ф + аш + аотв:
а) для канала 1
аэл = 2,5 + 3 + 2 ∙ 3,0 + 1,5 + 0,5 + 1 ∙ 2 + 1 + 7,0 = 23,5;
б) для канала 2
аэл = 2,5 + 3 + 2 ∙ 3,0 + 2 ∙ 1,5 + 2 ∙ 0,5 + 2 ∙ 1 + 3 ∙ 1 + 7,0 = 27,5 дБ,
в) для канала 4
аэл = 2,5 + 3 + 2 ∙ 3,0 + 2 ∙ 1,5 + 2 ∙ 0,5 + 2 ∙ 1 + 7,0 = 24,5 дБ.
Для каналов 2 и 4 на приемном конце учитывается затухание всех элементов ВЧ тракта, так как значение рпр.мин этих каналов соответствует чувствительности и уровню порога запирания приемников по табл. 1-2 и 1-3.
5. Наибольшая возможная рабочая частота канала определяется по максимально допустимому значению километрического затухания междуфазной волны по формуле (1-1):
![]()
а) для канала 1 на участке подстанция № 1 - подстанция № 2
![]()
где Азап = 13 дБ - по формуле (1-13) для частоты 500 кГц;
fмакс > 500 кГц (по рис. 1-10);
б) для канала 3
![]()
где Азап = 23 дБ - по формуле (1-11) для частоты 200 кГц;
fмакс = 200 кГц (по рис. 1-6);
в) для канала 1 на участке подстанция № 2 - подстанция № 4
![]()
f(ф)макс = 330 кГц по рис. 1-2;
г) для канала 2 на участке подстанция № 2 - подстанция № 3
![]()
f(ф)макс > 500 кГц по рис. 1-2;
д) для канала 4 на участке подстанция № 2 - подстанция № 4
![]()
где Азап = 20 дБ - по формуле (1-11a) для частоты 200 кГц.
Для канала 4 аппаратура УПЗ-70 не может быть применена, так как затухание ВЧ тракта больше допустимого значения. Проверяется возможность использования аппаратуры АЗВ с высокочувствительным приемником. Для аппаратуры АЗВ
рпр.мин = -10 дБ на ВЛ 110 кВ (см. табл. 1-4)
Апер = 45 + 10 = 55 дБ;
![]()
где Азап = 25 дБ по формуле (1-11) для частоты 300 кГц;
fмакс = 330 кГц (по рис. 1-2).
6. Минимальный разнос частот между приемником УПЗ-70 и мешающим передатчиком АСК-1 на подстанциях № 1 и 2 определяется по рис. 1-42 в зависимости от уровня мешающего сигнала на входе приемника:
рмеш = рмакс - Ал.б = 40 - 18 = 22 дБ;
рс/п = 7 кГц (по рис. 1-42 для f = 200 кГц).
7. Минимальный разнос частот между приемником АСК-РС и мешающим передатчиком АСК-1y на подстанции № 2 определяется по рис. 1-36 в зависимости от рмеш = рмакс = 40 дБ для частоты 300 кГц:
Δf = 6 кГц.
8. Минимальный разнос частот между приемником МК-60м и мешающим передатчиком АСК-1c на подстанции № 4 определяется по рис. 1-40 в зависимости от значения Δр = рпр.мин - рмеш = 0 + 3 = 3 дБ.
где рмеш = рмакс - Ап.б = 40 - 43 = -3 дБ;
рпр.мин = рпом + 10lg = 2 + 26 = -29 + 29 = 0 дБ;
Δf = 3 кГц.
9. Минимальный разнос частот между приемником АСК-1c и передатчиком МК-60м на подстанции № 4 определяется по рис. 1-32 в зависимости от значения
Δр = -6 + 3 = -3 дБ; Δf = 1 кГц,
где рмеш = 40 - 43 = -3 дБ.
10. Минимальный разнос частот между приемником АЗВ и мешающим передатчиком АСК-1С определяется по рис. 1-41 в зависимости от рмеш = рмакс = 40 дБ:
Δр = pпр.мин - рмеш = -10 - 40 = -50 дБ;
Δf = 8 кГц для частоты 330 кГц.
Поскольку используются разделительные фильтры типа РФ, то разнос частот определяется параметрами фильтра и должен быть не менее 10 %.
11. Разнос частот между приемниками и передатчиками на подстанции № 2 определяется в зависимости от переходного затухания между линиями:
a) затухание перехода подстанции с ближнего конца
Ап.б = 25 дБ;
б) переходное затухание между линиями на ближнем конце из-за электромагнитной связи (по рис. 1-50)
Аэм.б∞ = 40 дБ.
Поскольку параллельный пробег ВЛ небольшой длины, возможно снижение значения Аэм.б на 4,5 дБ (по рис. 1-51).
Расчетное значение Аэм.б = 40 - 4,5 = 35,5 дБ;
в) переходное затухание между линиями с учетом пп. а и б
Ал.б = Ап.б - Δ2А = 25 - 0,5 = 24,5 дБ,
где Δ2А = 0,5 дБ (по рис. 1-53).
В зависимости от Ап.б - Аэм.б = 25 - 35,5 = -10,5 дБ.
12. Минимальный разнос частот между приемником АСК-1у одного направления и передатчиком АСК-1у другого направления на подстанции № 2 определяется по рис. 1-32 в зависимости от
Δр = рпр.мин - рмеш = -6 - 17 = -23 дБ,
где рмеш = 40 - 23 = 17 дБ;
Δf = 2 кГц.
13. Полосы частот каналов 1 - 4, выбранные с учетом определенных выше значений fмакс и Δf, приведены на рис. 4-3 и 4-4.
14. Выбираются высокочастотные заградители ВЗ-600-0,25. Полосы запирания заградителей показаны на рис. 4-3. Активное сопротивление в полосе заграждения не менее 500 Ом. Выбираются фильтры присоединения ФПУ. Полосы пропускания фильтров показаны на рис. 4-3. Характеристическое сопротивление фильтров присоединения с конденсаторами связи емкостью 6400 пФ Zф.л = 450 и 685 Ом на участке подстанция № 1 - подстанция № 2 и Zф.л = 450 Ом на участке подстанция № 2 - подстанция № 4.
II. Поверочный электрический расчет ВЧ канала
1. Затухание ВЧ тракта между подстанциями № 2 и 4 и подстанциями № 2 и 3
атр = α(1)l + ак + 2аз + 2аф.п + 2акаб + 2ар.ф + аш + аотв дБ:
а) для канала 1 fв = 250 кГц, подстанций № 2 и 4
атр = 0,05 ∙ 96,5 + 2,5 + 7,0 + 1,3 + 0,5 + 1 + 2 + 7,0 = 27,0 дБ;
б) для каналa 2 fв = 288 кГц, подстанций № 2 и 3
атр = 0,061 ∙ 38,5 + 2,5 + 7 + 2,5 + 1 + 2 + 3 + 4,5 = 25 дБ,
где аотв = 4,5 дБ на рис. 2-33 при α(1)lотв = 0,067 ∙ 60 = 4,0 дБ.
в) для канала 4 fв = 326 кГц, подстанций № 2 и 4
атр = 0,067 ∙ 96,5 + 2,5 + 7,0 + 2,5 + 1 + 2 + 7,0 = 28,5 дБ.
Для канала 1 на аппаратуре АСК-1 не учитывается затухание элементов ВЧ тракта на приемном конце, кроме аз.
Для каналов 2 и 3 учитываются затухания всех элементов ВЧ тракта на обоих концах, так как значение рпр.мин для этой аппаратуры соответствует чувствительности и уровню порога запирания приемника.
2. Запас по перекрываемому затуханию в канале
Азап = Апер - атр:
a) для канала 1 Азап = 39 - 27,0 = 12,0 дБ;
б) для канала 2 Азап = 41 - 25 = 16,0 дБ;
в) для канала 4 Азап = 55 - 28,5 = 26,5 дБ.
3. Затухание ВЧ тракта между подстанциями № 1 и 2 определяется по формуле
атр = α(1)l + ак + 2аз + 2аф.п + 2акаб:
а) для канала 1 fв = 484 кГц
атр = 0,14 ∙ 40 + 2,5 + 7 + 1,3 + 0,5 = 17 дБ;
б) для канала 3 fв = 150 кГц
атр = 0,056 ∙ 40 + 2,5 + 7 + 2,5 + 1 = 15 дБ.
4. Запас по перекрываемому затуханию в канале на участке между подстанциями № 1 и 2
Азап = Апер - атр
а) для канала 1 Азап = 39 - 17 = 22,0 дБ;
б) для канала 3 Азап = 37,5 - 15 = 22,5 дБ.
III. Оценка неравномерности затухания ВЧ трактов каналов, обусловленная многократными отражениями междуфазной волны от мест неоднородности и неравномерностью частотной характеристики затухания ответвления на участке подстанция № 2 - подстанция № 4
1. Коэффициент отражения от концов ВЛ при
Zф.л = 450 Ом (по рис. 2-41) К = 0,45.
2. Коэффициент отражения от места включения ответвления по рис. 2-2-33 при aотв = 7,0 дБ
Котв = 0,57.
3. Неравномерность затухания ВЧ тракта на участке подстанция № 2 - место включения ответвления (по рис. 2-40):
а) для канала 1 при µ(1)l = 0,057 ∙ 36,5 = 2,0 дБ
Δатр11 = 3,0 дБ;
б) для канала 4 при µ(1)l = 0,067 ∙ 36,5 = 2,5 дБ
Δатр11 = 2,8 дБ;
в) для канала 2 при µ(1)l = 0,061 ∙ 36,5 = 2,5 дБ
Δатр11 = 2,8 дБ.
4. Неравномерность затухания ВЧ тракта на участке подстанция № 4 - место включения ответвления (по рис. 2-40):
а) для канала 1 при µ(1)l = 0,057 ∙ 60 = 3,5 дБ
Δатр12 = 2,5 дБ;
б) для канала 4 при µ(1)l = 0,067 ∙ 60 = 4 дБ
Δатр12 = 2,0 дБ.
5. Неравномерность затухания ВЧ тракта канала 2 на участке подстанция № 3 - место включения ответвления к подстанции № 4 (по рис. 2-40) при µ(1)l = 0,061 ∙ 2 ≈ 0 дБ
Δатр12 = 4,5 дБ.
6. Суммарная неравномерность затухания ВЧ тракта:
а) канала 1 подстанция № 2 - подстанция № 4
Δатр1 = Δатр11 + Δатр12 = 3,0 + 2,5 = 5,5 дБ;
б) канала 4 подстанция № 2 - подстанция № 4
Δатр1 = 2,8 + 2,0 = 4,8 дБ;
в) канала 2 подстанция № 2 - подстанция № 3
Δатр1 = 2,8 + 4,5 = 7,3 дБ.
Полученная неравномерность затухания ВЧ тракта канала 1 будет наблюдаться в полосе канала (3 кГц), так как длина участков ВЛ более 25 км.
Для канала 2 неравномерность затухания ВЧ тракта в полосе 3 кГц определяется неравномерностью участка подстанции № 2 - место включения ответвления, так как длина второго участка ВЧ тракта этого канала (2 км) гораздо меньше длины первого участка:
Δатр1Δf ≈ 2,5 дБ.
Для канала релейной защиты 4 неравномерность затухания ВЧ тракта рассматривается как возможный прирост затухания ВЧ тракта.
![]()
7. Для телефонных каналов оценивается неравномерность затухания ВЧ тракта, обусловленная неравномерностью частотной характеристики затухания ответвления (по рис. 2-33):
а) для канала 1 µ(1)lотв = 0 дБ,
Δатр2 = аотв.макс - аотв.мин = 7,5 - 1,5 = 6 дБ;
б) для канала 2 µ(1)lотв = 4,0 дБ,
Δатр2 = 4,0 - 2,6 ≈ 1,5 дБ.
Поскольку длина ответвления для канала 1 менее 25 км, значение Δатр2 в полосе 3 кГц определится по рис. 2-42 для lотв = 2 км:
Δатр2Δf ≈ 0,2 дБ.
Для канала 2 длина ответвления равна 60 км, поэтому
Δатр2Δf = Δатр2 ≈ 1,5 дБ.
8. Неравномерность затухания ВЧ тракта телефонных каналов в полосе 3 кГц:
а) для канала 1
![]()
б) для канала 2
![]()
9. Максимально возможное затухание ВЧ тракта:
а) для канала 1
![]()
б) для канала 2
![]()
в) для канала 4
![]()
10. Минимальный запас по перекрываемому затуханию:
а) для канала 1
Азап.мин = Апер - Атр.макс = 39 - 30 = 9 дБ;
б) для канала 2
Азап.мин = 41 - 28,5 = 12,5 дБ;
в) для канала 4
Азап.мин = 55 - 31 = 24 дБ.
Расчет считается законченным, так как все каналы соответствуют нормам.
Пример 4
Выбрать схему ВЧ обхода
линейного разъединителя
на ВЛ 35 кВ и определить затухание, вносимое ВЧ обходом в канал на аппаратуре АСК-РС на частотах 100 -
108 кГц. Рассмотреть два случая расположения линейного
разъединителя: на расстоянии 5 и 10 км от ближайшей подстанции. Применить конденсаторы связи СМР-55/
-0,0044
(емкость 4400 пФ).
1. Определяются расчетные формулы для каждого случая по условию (см. п. 2.3.17)
![]()
Следовательно, для случая расположения разъединителя в 5 км от ближайшей подстанции расчетные формулы вносимого затухания, обусловленного шунтированием линейного тракта элементами ВЧ обхода при замкнутом линейном разъединителе - (2-31), а в 10 км - (2-33).
1. Место расположения разъединителя - в 5 км от подстанции
а. Схема ВЧ обхода (по рис. 2-39,а)
1. Для ВЧ обхода выбирается фильтр присоединения типа УФП-75 (по табл. 1-13) на диапазон 65 - 154 кГц при Zф.л = 400 Ом, аф.п = 1,74 дБ.
2. Заградитель BЧЗС-100, L = 1,3 мГ (см. табл. 1-9). Без элемента настройки затухание, вносимое заградителем, определяется по формуле (2-22)

где x = jωL = j2 ∙ 3,14 ∙ 100 ∙ 103 ∙ 1,3 ∙ 10-3 = j815 Ом.
С элементом настройки на полосу запирания 74 - 600 кГц затухание, вносимое заградителем, определяется по формуле (2-20)

Выбирается заградитель без элемента настройки.
3. Затухание, вносимое ВЧ обходом при разомкнутом линейном разъединителе, определяется по формуле (2-29)
аобх = ак + 2аф.л + аз = 2,5 + 2 ∙ 1,74 + 0,5 = 6,5 дБ.
4. Затухание, обусловленное шунтированием линейного тракта элементами ВЧ обхода при замкнутом линейном разъединителе, определяется по формуле (2-31)

б. Схема ВЧ обхода (по рис. 2-39,б)
1. Характеристическое сопротивление Т-образного фильтра верхних частот выбирается равным Zт = Zл = 450 Ом.
2. Нижняя граничная частота фильтра верхних частот
![]()
3. Значение индуктивности катушки
![]()
4. Затухание, вносимое ВЧ обходом при разомкнутом линейном разъединителе, определяется по формуле (2-29)
аобх = ак + аф.ВЧ + аз = 2,5 + 0,5 + 0,5 =3,5 дБ,
где аф.ВЧ определяется по формуле (2-26).
5. Затухание, обусловленное шунтированием линейного тракта элементами ВЧ обхода при замкнутом линейном разъединителе, определяется по формуле (2-32)

![]()
где
- активная составляющая полного сопротивления последовательного контура;

= 162 Ом - реактивная составляющая полного сопротивления последовательного контура на частоте 100 кГц;
- добротность конденсатора связи.
II. Место расположения разъединителя - в 10 км от подстанции
а. Схема ВЧ обхода (по рис. 2-39,а)
1. Все элементы ВЧ обхода для данного случая выбираются так же, как и для расположения линейного разъединителя в 5 км от подстанции.
2. Затухание, обусловленное шунтированием линейного тракта элементами ВЧ обхода при замкнутом линейном разъединителе, определяются по формуле (2-33):

где ![]()
б. Схема ВЧ обхода (по рис. 2-39,б)
1. Все элементы ВЧ обхода для данного случая выбираются так же, как и для расположения линейного разъединителя в 5 км от подстанции.
2. Затухание, обусловленное шунтированием линейного тракта элементами ВЧ обхода при замкнутом линейном разъединителе, определяемое по формуле (2-33):

Рис. 1-1. Километрическое затухание симметричной ВЛ 35 кВ
Рис. 1-2. Километрическое затухание междуфазной волны для средней фазы нетранспонированной ВЛ 110 кВ с горизонтальным расположением фаз
Рис. 1-3. Километрическое затухание междуфазной волны для средней фазы нетранспонированной ВЛ 220 кВ с горизонтальным расположением фаз и для верхней фазы с треугольным расположением фаз
Рис. 1-4. Километрическое затухание междуфазной волны для средней фазы нетранспонированной ВЛ 330 кВ с горизонтальным расположением фаз
Рис. 1-5. Километрическое затухание междуфазной волны для средней фазы нетранспонированной ВЛ 500 кВ с горизонтальным расположением фаз
Рис. 1-6. Километрическое затухание междуфазной волны для верхней фазы нетранспонированной ВЛ 110 кВ с треугольным расположением фаз
Рис. 1-7. Километрическое затухание междуфазной волны для верхней фазы нетранспонированной ВЛ 330 кВ с треугольным расположением фаз
Рис. 1-8. Километрическое затухание симметричной ВЛ 110 кВ с горизонтальным расположением фаз
Pиc. 1-9. Километрическое затухание симметричной ВЛ 220 кВ с горизонтальным расположением фаз
Рис. 1-10. Километрическое затухание симметричной BЛ 110 кВ с треугольным расположением фаз
Рис. 1-11. Километрическое затухание симметричной ВЛ 220 кВ с вертикальным и треугольным расположением фаз
Рис. 1-12. Километрическое затухание симметричной ВЛ 110 кВ с вертикальным расположением фаз
Рис. 1-13. Километрическое затухание шестипроводной нетранспонированной ВЛ 110 - 220 кВ. Схема подключения фаза - фаза 1-4, 1-2, 4-5
Рис. 1-14. Километрическое затухание шестипроводной нетранспонированной ВЛ 330 кВ. Схема подключения фаза - фаза 1-4, 1-2, 4-5
Рис. 1-15. Километрическое затухание линейного тракта по транспонированной ВЛ 220 кВ с горизонтальным расположением фаз:
1 - присоединение фаза С - земля; 2 - присоединение фаза А - земля, фаза В - земля
Примечание. По оси lмакс определяется максимально допустимая длина ВЛ для соответствующей частоты по оси f
Рис. 1-16. Километрическое затухание линейного тракта по транспонированной ВЛ 330 кВ с горизонтальным расположением фаз:
1 - присоединение фаза С - земля; 2 - присоединение фаза А - земля, фаза В - земля; 3 - присоединение средняя фаза - земля на обоих концах
Примечание. По оси lмакс определяется максимально допустимая длина ВЛ для соответствующей частоты по оси f.
Рис. 1-17. Километрическое затухание линейного тракта по транспонированной ВЛ 500 кВ с горизонтальным расположением фаз
(Обозначения и примечание те же, что и на рис. 1-16)
Рис. 1-18. Километрическое затухание линейного тракта по транспонированной ВЛ 220 кВ с треугольным расположением фаз:
1 - присоединение фаза С - земля; 2 - присоединение фаза В - земля; 3 - присоединение фаза А - земля
Примечание. По оси lмакс определяется максимально допустимая длина ВЛ для соответствующей частоты по оси f.
Рис. 1-19. Километрическое затухание линейного тракта по транспонированной ВЛ 330 кВ с треугольным расположением фаз
(Обозначения и примечание те же, что и на рис. 1-18)
Рис. 1-20. Километрическое затухание внутрифазного тракта (провод - провод расщепленной фазы)
Рис. 1-21. Километрическое затухание неметаллических грозозащитных тросов, Схема подключения трос - трос, трос - земля; два троса - земля
Примечание. Пунктиром показана область резонансного увеличения затухания на ВЛ 500 - 750 кВ.
Рис. 1-22. Прирост затухания линейного тракта от гололеда на проводах ВЛ 35 кВ:
I, II, III, IV - районы по гололеду
Рис. 1-23. Прирост затухания линейного тракта от гололеда на проводах ВЛ 110 кВ:
I, II, III, IV - районы по гололеду

Рис. 1-24. Прирост затухания линейного тракта от гололеда на проводах ВЛ 220 кВ:
I, II, III, IV - районы по гололеду

Рис. 1-25. Прирост затухания линейного тракта от гололеда на проводах ВЛ 330 кВ:
I, II, III, IV - районы по гололеду

Рис. 1-26. Прирост затухания линейного тракта от гололеда на проводах ВЛ 500 кВ:
I, II, III, IV - районы по гололеду

Рис. 1-27. Прирост затухания линейного тракта от гололеда на проводах ВЛ 750 кВ:
I, II, III, IV - районы по гололеду

Рис. 1-28. Прирост затухания внутрифазного тракта от гололеда:
I, II, III, IV - районы по гололеду
Рис. 1-29. Прирост затухания линейного тракта от гололеда на грозозащитных тросах ВЛ:
I, II, III, IV - районы по гололеду
Рис. 1-30. Зависимость коэффициента S от марки провода и толщины стенки гололеда
Рис. 1-31. Зависимость коэффициента m от частоты
Рис. 1-32. Зависимость Δf от Δр для приемников аппаратуры АСК-1
Рис. 1-33. Зависимость Δf от Δр для приемников аппаратуры АСК-3

Рис. 1-34. Зависимость Δf от Δр для приемников аппаратуры ВЧА-1ТФ, ВЧУ-1ТФ

Рис. 1-35. Зависимость Δf от Δр для приемников аппаратуры ВЧА-ЗТФ, ВЧУ-ЗТФ
Рис. 1-36. Зависимость Δf от рмеш для приемников аппаратуры АСК-РС, ТСД-70 и ДСГ-68
Рис. 1-37. Зависимость Δf от рмеш для приемников аппаратуры ВЧА-СЧ

Рис. 1-38. Зависимость Δf от Δр для приемников аппаратуры АСМ (опытные образцы), ЭПО-3, АРС-64

Рис. 1-39. Зависимость Δf от Δр для приемников аппаратуры КП-59 и ПУМ-61
Рис. 1-40. Зависимость Δf от Δр для приемников аппаратуры МК-60М
Рис. 1-41. Зависимость Δf от Δр для приемников аппаратуры АЗВ
Рис. 1-42. Зависимость Δf от рмеш для приемников аппаратуры ПВЗД и УПЗ-70 при работе с линейным фильтром (работа приемопередатчика на одной частоте и на сближенных частотах)

Рис. 1-43. Зависимость Δf от рмеш для приемников аппаратуры ПВЗД и УПЗ-70 при работе без линейного фильтра (с разносом частот передачи и приема не менее 10 %) и приемников аппаратуры ПВЗК
Рис. 1-44. Зависимость Δf от рмеш для приемников аппаратуры ВЧТО-М
Рис. 1-45. Зависимость Δf от Δр для приемников аппаратуры МПУ-12, КМК-64 и КМК-226
Рис. 1-46. Зависимость f от Δр для приемников аппаратуры B-12-3:
1 - для рабочей полосы частот 36 - 84 кГц; 2 - для рабочей полосы частот 92 - 143 кГц
Рис. 1-47. Расположение зеркального канала при работе с верхней или нижней боковыми полосами:
fдм1 - частота первого демодулятора; fб.в и fб.н - верхняя и нижняя граничные частоты рабочей полосы приема; fз.в и fз.н - верхняя и нижняя граничные частоты зеркального канала
Рис. 1-48. К определению уровня мешающего сигнала:
а - передатчики полезного и мешающего сигналов расположены на различных объектах; б - передатчики полезного и мешающего сигналов расположены на одном объекте
Прд - передатчик; Прм - приемник
Рис. 1-49. Зависимость переходного затухания между фазами разных линий одного направления через шины подстанций от сопротивления заградителей
Рис. 1-50. Зависимость переходного затухания на ближнем конце, обусловленного электромагнитной связью, от ширины сближения ВЛ
Рис. 1-51. Поправка к значению переходного затухания на ближнем конце, обусловленного электромагнитной связью между линиями
Рис. 1-52. Эскиз косого сближения двух ВЛ
Рис. 1-53. Зависимость Δ(2)А от значения Ап.б - Аэм.б
Рис. 1-54. Схема частотного деления электрической сети с разделительным ВЧ фильтром:
а - на ВЛ, не имеющих параллельного пробега; б - на ВЛ с параллельным пробегом
1 - ВЧ заградитель; 2 - реактор ВЧ заградителя; 3 - конденсатор связи; 4 - фильтр присоединения; 5 - ВЧ кабель; 6 - заземляющий нож
Рис. 1-55. Рекомендуемые схемы подключения искателя повреждений «ЛИДА»:
а - генератор подключается к выделенной фазе; б - генератор подключается параллельно ВЧ аппаратуре
Примечание. Пунктиром показаны заградители, которые устанавливаются в случаях, когда один заградитель не запирает всей полосы частот.
Pиc. 2-1. Зависимость уровня
распределенных помех на фазных проводах ВЛ от значения ![]()

Рис. 2-2. Поправка к уровню распределенных помех на выходе ВЧ тракта с обходом на ВЛ с различными уровнями помех
Рис. 2-3. Поправка, учитывающая увеличение затухания линейного тракта по симметричным ВЛ 35 - 220 кВ из-за влияния земляной волны
Рис. 2-4. Принятая нумерация фазных проводов ВЛ; схемы транспозиции ВЛ:
а - схема расположения фаз; б - стандартная схема транспозиции на двух опорах; в - транспозиция на одной опоре
Рис. 2-5. Области частот, в которых допустима работа ВЧ каналов по крайним фазам нетранспонированных ВЛ 110 кB с горизонтальным расположением фаз
Рис. 2-6. Области частот, в которых допустима работа ВЧ каналов по крайним фазам нетранспонированных ВЛ 220 кВ с горизонтальным расположением фаз
Рис. 2-7. Области частот, в которых допустима работа ВЧ каналов по ВЛ 330 кВ с горизонтальным расположением фаз:
а - по крайним фазам нетранспонированных ВЛ; б - по транспонированным ВЛ
Рис. 2-8. Области частот, в которых допустима работа ВЧ каналов по ВЛ 500 кВ с горизонтальным расположением фаз;
а - по крайним фазам нетранспонированных ВЛ; б - по транспонированным ВЛ
Рис. 2-9. Области частот, в которых допустима работа ВЧ каналов по нижним фазам нетранспонированных ВЛ 110 кВ с треугольным расположением фаз
Рис. 2-10. Области частот, в которых допустима работа ВЧ каналов по нижним фазам нетранспонированных ВЛ 220 кВ с треугольным расположением фаз
Рис. 2-11. Области частот, в которых допустима работа ВЧ каналов по нижним фазам нетранспонированных ВЛ 330 кВ с треугольным расположением фаз
Рис. 2-12. Области частот, в которых допустима работа ВЧ каналов по нижней фазе нетранспонированных ВЛ 110 кВ с вертикальным расположением фаз
Рис. 2-13. Области частот, в которых допустима работа ВЧ каналов по нижней фазе нетранспонированных ВЛ 220 кВ с вертикальным расположением фаз
Рис. 2-14. Области частот, в которых допустима работа ВЧ каналов по нижней фазе нетранспонированных ВЛ 330 кВ с вертикальным расположением фаз
Рис. 2-15. Километрическое затухание линейного тракта при схеме присоединения нижняя фаза - земля несимметричной ВЛ 330 кВ с вертикальным расположением фаз для области частот 2 по рис. 2-14
Рис. 2-16. Километрическое затухание второго волнового канала нетранспонированной ВЛ 110 кВ с горизонтальным расположением фаз

Рис. 2-17. Километрическое затухание второго волнового канала нетранспонированной ВЛ 220 кВ с горизонтальным расположением фаз
Рис. 2-10. Километрическое затухание второго волнового канала нетранспонированной ВЛ 330 кВ с горизонтальным расположением фаз
Рис. 2-19. Километрическое затухание второго волнового канала нетранспонированной ВЛ 500 кВ с горизонтальным расположением фаз
Рис. 2-20. Километрическое затухание второго волнового канала нетранспонированной ВЛ 220 и 330 кВ с треугольным расположением фаз
Рис. 2-21. Зависимость значения Δ(2) от частоты и удельного сопротивления земли для ВЛ 330 кВ:
а - с горизонтальным расположением фаз; б - с треугольным расположением фаз
Рис. 2-22. Зависимость значения Δ(2) от частоты и удельного сопротивления земли для ВЛ 500 кВ:
Рис. 2-23. Зависимость затухания, вносимого заградителем, от сопротивления фильтра присоединения:
а - на ВЛ 35 - 220 кВ; б - на ВЛ 330 - 500 кВ
Рис. 2-24. Зависимость затухания, вносимого заградительной петлей во внутрифазный тракт, от сопротивления фильтра присоединения и относительной частоты
Рис. 2-25. Зависимость затухания, вносимого короткой кабельной вставкой в ВЧ тракт по ВЛ, от величины fl

Рис. 2-26. Схемы присоединения ВЧ аппаратуры к фазным проводам ВЛ:
а - фаза - земля; б - фаза - фаза одноцепной ВЛ; в - фаза - фаза двухцепной ВЛ; г, е - провод - провод расщепленной фазы с однофазными фильтрами присоединения; д - провод - провод расщепленной фазы с двухфазным фильтром присоединения
1 - ВЧ аппаратура; 2 - ВЧ заградитель; 3 - конденсатор связи; 4 - фильтр присоединения; 5 - заземляющий нож; 6 - ВЧ кабель; 7 - заградительная петля; 8 - провода расщепленной фазы
Рис. 2-27. Схемы присоединения ВЧ аппаратуры к проводящим грозозащитным тросам ВЛ:
а - трос - земля; б - два троса - земля с двумя устройствами присоединения; в - два троса - земля с одним устройством присоединения; г - трос - трос с однофазными фильтрами присоединения; д - трос - трос с двухфазным фильтром присоединения
1 - ВЧ аппаратура; 2 - ВЧ дроссель; 3 - конденсатор связи; 4 - фильтр присоединения; 5 - ВЧ кабель; 6 - заземляющий нож
Рис. 2-28. Схема подключения аппаратуры уплотнения к ВЧ обходу:
а - через Г-образный удлинитель; б - с разделительным фильтром
Рис. 2-29. Нерекомендуемая схема включения аппаратуры уплотнения на обходе
Рис. 2-30. Схема подключения аппаратуры связи монтера к ВЛ:
а - к грозозащитному стальному тросу; б - к фазным проводам на месте производства ремонтных работ; в - к разземленному грозозащитному сталеалюминиевому тросу
1 - вилитовый разрядник; 2 - дренажная катушка; 3 - заземляющий нож; 4 - ВЧ кабель; 5 - ВЧ разъем; 6 - приемопередатчик AСМ; 7 - переносный заградитель ПЗ-10; 8 - изоляторы; 9 - искровой промежуток; 10 - конденсатор связи; 11 - металлическая опора ВЛ
Рис. 2-31. Километрическое затухание ВЧ кабелей ФКБ, РК в ВКПАП

Рис. 2-32. Параллельное подключение аппаратуры каналов телефонной связи и телемеханики релейной защиты и противоаварийной автоматики
Рис. 2-33. Затухание, вносимое ответвлением, используемым для связи при схеме подключения фаза - земля:
Котв - коэффициент отражения от места включения ответвления
Рис. 2-34. Затухание, вносимое ответвлением, используемым для связи при схеме подключения фаза - фаза;
Котв - коэффициент отражения от места включения
ответвления;
Zф.л - характеристическое сопротивление однофазного фильтра присоединения
Рис. 2-35. Зависимость затухания, вносимого ответвлением, от сопротивления заградителей, включенных в точке разветвления:
1 - при одном заградителе в рабочей фазе; 2 - при двух заградителях (один из них в рабочей фазе); 3 - при трех заградителях (во всех фазах)
Рис. 2-36. Максимальное затухание, вносимое необрабатываемым ответвлением, не используемым для организации связи
Рис. 2-37. Упрощенная схема ВЧ обхода:
ЗЗ - заземляющий заградитель
Рис. 2-38. Затухание ВЧ обхода с упрощенной схемой
Рис. 2-39. Принципиальная схема ВЧ обхода линейного разъединителя на трассе ВЛ:
а - с двумя фильтрами присоединения; б - по схеме Т-образного фильтра верхних частот
ВЗ - ВЧ заградитель; L - катушка индуктивности (используется от фильтра присоединения); ВД - ВЧ дроссель; ЛР - линейный разъединитель
Рис. 2-40. Номограмма для определения неравномерности затухания ВЧ тракта, обусловленной многократными отражениями междуфазной волны от места неоднородности
Примечание. Пунктиром показан порядок пользования номограммой.
Рис. 2-41. Зависимость коэффициента отражения от концов ВЛ от характеристического сопротивления фильтра присоединения:
1, 1 - нерабочие фазы отключены от подстанции (холостой ход); 2, 2' - нерабочие фазы заземлены; 1, 2 - схема присоединения фаза - земля; 1', 2' - схема присоединения фаза - фаза
Zф.л - характеристическое сопротивление однофазного фильтра присоединения
Примечания: 1. Расчетные значения К принимаются по сплошным линиям. 2. Кривые построены для Zз = 500 Ом.
Рис. 2-42. Номограмма для определения неравномерности затухания ВЧ тракта в полосе 3 кГц
Примечание. Пунктиром показан порядок пользования номограммой.
Рис. 4-1. Блок 110 кВ (линия - трансформатор)
Рис. 4-2. Схема ВЧ каналов (к примеру № 2)
Рис. 4-3. Схема ВЧ каналов (к примеру № 3)
Рис. 4-4. График распределения частот (к примеру № 3)
Проводится систематизация исходных данных, используемых при выборе частот каналов ВЛ связи по проводам ВЛ в энергосистемах. Избегая графического способа задания информации, всю используемую информацию задаем в виде таблиц или чисел.
Для конкретизации энергосистемы и каналов связи по ВЧ приведены четыре числовые таблицы. Другие четыре таблицы, вне зависимости от конкретных особенностей энергосистемы и структуры каналов связи содержат сведения, необходимые при распределении частот, о типах подстанций и ВЛ и о ВЧ аппаратуре.
Формулируется задача анализа распределения частот ВЧ каналов по проводам ВЛ и приводятся расчетные формулы для помех на входе приемников, используемые для любой пары передатчик-приемник другого канала.
5.1.1. Выполняется нумерация подстанций в энергосистеме. Порядок нумерации произволен, но дальнейшим изменениям не подлежат. Общее число подстанций в энергосистеме обозначается через P. Каждому целому числу, не превосходящему Р, соответствует в энергосистеме одна из подстанций со сборными шинами разных напряжений.
5.1.2. Для всех ВЛ в энергосистеме составляется табл. 5-1.
Таблица 5-1
Матрица линий ML
|
2 |
3 |
4 |
5 |
В |
7 |
8 |
9 |
10 |
|
|
Длина ВЛ, км |
Класс напряжения |
Количество отпаек, не используемых для связи |
Количество отпаек, используемых для связи |
Нижняя частота заградителя, кГц |
Верхняя частота заградителя, кГц |
Марка провода и расщепления |
Тип профиля ВЛ |
Номер концевой подстанции |
Номер концевой подстанции |
При составлении табл. 5-1 соблюдаются следующие правила.
Длина ВЛ должна составить целое число, без дробных долей.
Класс напряжения линии обозначается в соответствии с табл. 5-5.
Отпайки, учитываемые в третьем и четвертом столбцах табл. 5-1, являются элементами затухания соответствующих ВЛ и не входят в электрическую схему энергосистемы. Каналы связи по этим отпайкам в анализе распределения частот не участвуют.
При необходимости рассматривать отпайку не как элемент затухания сквозной ВЛ, а как еще одну линию, рекомендуется линию с отпайкой заменять тремя линиями: 1) отпаечной; 2) частью сквозной линий до отпайки; 3) частью сквозной линии после отпайки. Эти три ВЛ будут занимать три строки табл. 5-1.
Общая точка этих трех линий должна при этом рассматриваться как подстанция энергосистемы и входить в общую нумерацию (от 1 до Р) подстанций, определенную в п. 5.1.1.
При отсутствии (или узкополосной настройке) ВЧ заградителей на ВЛ в пятом и шестом столбцах ставятся нули. Наличие заградителей в крайних фазах линии можно не принимать во внимание.
Марка провода и расщепления фазы определяется в соответствии с табл. 5-8, причем в седьмом столбце табл. 5-1 ставится номер соответствующего столбца табл. 5-8.
Тип профиля линии задается в соответствий с разд. 5.2.
Порядок заполнения табл. 5-1 построчный, каждая строка соответствует одной ВЛ. Последовательность заполнения строк матрицы ML определяет нумерацию ВЛ в энергосистеме (номера линий в табл. 5-1 не входят). В данной задаче эта нумерация не подлежит изменениям. Общее число ВЛ в энергосистеме, равное количеству строк в табл. 5-1, обозначается через L.
5.1.3. Каждый канал ВЧ связи в энергосистеме, в том числе имеющий промежуточные усилители, разделяется на независимо рассматриваемые простые каналы, каждый из которых имеет один передатчик и один приемник. Каждый простой канал связи, если он дуплексный, рассматривается как пара симплексных каналов ВЧ связи со встречными направлениями передачи. Каждый такой симплексный канал связи задается как совокупность передатчика и приемника с фиксированными точками их подключения в энергосистеме. Трасса передачи рабочего сигнала, а также селективной помехи не фиксируется в числовом интервале, а находится АЛГОЛ-программой.
Для всех симплексных каналов связи энергосистемы, выделенных указанным образом из реально работающих или запроектированных каналов связи энергосистемы, составляется табл. 5-2.
Номер подстанции, на которой работает передатчик либо приемник, соответствует нумерации, выполненной в п. 5.1.1; номер линии, на которую работает передатчик либо приемник, соответствует нумерации, выполненной в п. 5.1.3. Нумерация фаз выполняется таким образом, чтобы средняя фаза имела номер 2. Нумерация фаз на разных подстанциях осуществляется независимо, без согласования.
Тип аппаратуры, на которой работает приемник либо передатчик, задается номером в соответствии с нумерацией табл. 5-9.
Таблица 5-2
Матрица каналов МК
|
2 |
3 |
4 |
5 |
6 |
7 |
8 |
9 |
10 |
|
|
Координаты передатчика |
Координаты приемника |
Тип аппаратуры |
Признак наличия усилителя без смены частот |
Признак наличия усилителя мощности |
Минимальная частота канал, кГц |
||||
|
Номер подстанции |
Номер BЛ |
Номер фазы |
Номер подстанции |
Номер BЛ |
Номер фазы |
||||
Числа в восьмом столбце табл. 5-2 должны быть разными если соответствующие каналы не связаны переприемом без смены частот. Этими числами могут служить номера таких каналов.
Если два канала связаны переприемом без смены частот, то у них должны совпадать числа, стоящие в восьмом столбце табл. 5-2.
Наличие усилителя мощности отмечается единицей в девятом столбце табл. 5-2, отсутствие усилителя - нулем.
Таблица 5-3
Матрица электромагнитных влияний ЭМ
|
2 |
3 |
|
|
Номер ВЛ |
Номер ВЛ |
Ширина сближения, м |
Частотой канала (в кГц) считается левая (минимальная) граница полосы передачи-приема.
Таблица 5-2 заполняется построчно, каждая строка соответствует одному симплексному каналу связи. Последовательность заполнения строк определяет нумерацию симплексных каналов, которая не подлежит дальнейшим изменениям в данной задаче.
Общее число симплексных каналов связи в энергосистеме, равное количеству строк в табл. 5-2, обозначается через G.
5.1.4. Для всех случаев параллельного пробега ВЛ на подходах к подстанциям, если ширина (длина) сближения невелика (немала), составляется табл. 5-3.
Все числа, составляющие табл. 5-3, целые.
Таблица 5-3 заполняется построчно, каждая строка соответствует определенному случаю параллельного пробега пары ВЛ на подходе к подстанции. Нумерация таких случаев, т.е. порядок заполнения строк табл. 5-3, значения не имеет. Общее число параллельных пробегов ВЛ на подходах к подстанциям, равное количеству строк в табл. 5-3, обозначается через В.
Если две цепи двухцепной ВЛ рассматривается как две линии с разными номерами, входящими в нумерацию от 1 до L, то ширина сближения этих линий должна быть принята 10 м и соответствующая строка должна входить в табл. 5-3.
5.1.5. Для всех ВЧ обходов тип подстанций энергосистемы составляется матрица ОБ (табл. 5-4). Все числа в этой таблице целые.
Таблица 5-4 заполняется построчно, каждому обходу соответствует определенная строка. Нумерация обходов, задаваемая последовательностью заполнения матрицы ОБ, не имеет значения. Общее число обходов, равное числу строк матрицы ОБ, обозначается через А.
5.1.6. Вводится число Т, которое учитывает уровень гололеда в районе энергосистемы. Если гололед отсутствует или район по гололеду I или II, то Т = 0; если район по гололеду III или IV, то Т = 1.
5.1.7. Анализ распределения частот ВЧ каналов связи, автоматики, телемеханики и релейной защиты в энергосистеме осуществляется АЛГОЛ-программой без использования каких-либо данных об энергосистеме и каналах связи, кроме указанных в пп. 5.1.1 - 5.1.6.
Таким образом, полный объем исходной информации для анализа распределения частот в энергосистеме составляют числа Р, Т и матрицы ML, MK, ЭМ, OБ (с числом строк L, G, В, А соответственно).
Таблица 5-4
Матрица обходов ОБ
|
2 |
|
|
Номер ВЛ |
Номер ВЛ |
5.1.8. В расчет по АЛГОЛ-программе анализа распределения частот энергосистемы дополнительно вводится параметр F, характеризующий учет запаса по перекрываемому затуханию ВЧ каналов. Если расчет ведется по наихудшим погодным условиям, то уровень приема рабочего сигнала всех ВЧ каналов минимален, запас по перекрываемому затуханию исчерпан; этому соответствует величина F = 0. Если расчет ведется по среднепогодным условиям, то уровень приема рабочего сигнала всех ВЧ каналов превосходит минимальный уровень на величину запаса (с учетом гололеда); этому соответствует величина F = 1.
5.2.1. При заполнении матрицы ML (см. табл. 5-1) используется условный код (номер) для основных параметров ВЛ. Существующие классы напряжения ВЛ и шин подстанций нумеруются в порядке возрастания в соответствии с табл. 5-5, которая используется при заполнении второго столбца матрицы ML.
5.2.2. Типы профилей ВЛ кодируются (нумеруются) в соответствии с табл. 5-6, которая используется при заполнении восьмого столбца матрицы ML.
Таблица 5-5
Номера классов напряжения
|
Напряжение, кВ |
Номер класса напряжения |
|
35 |
1 |
|
110 |
2 |
|
220 |
3 |
|
330 |
4 |
|
500 |
5 |
|
750 |
6 |
Таблица 5-6
Номера типов профиля ВЛ
|
Номер типа профиля |
|
|
Треугольный |
1 |
|
Вертикальный |
2 |
|
Горизонтальный |
3 |
|
Транспонированная линия |
4 |
5.2.3. Переходные затухания между шинами разных классов напряжения на подстанциях предполагаются независимыми от частоты, вида электрической схемы подстанции, емкости шин и оборудования высокого напряжения, а также от количества отходящих ВЛ. Эти переходные затухания задаются матрицей ZШ, представленной в табл. 5-7.
Таблица 5-7
Матрица ZШ затухание между шинами
|
1 |
2 |
3 |
4 |
5 |
6 |
|
|
1 |
0 |
2 |
3 |
5 |
5 |
5 |
|
2 |
2 |
0 |
2 |
3 |
5 |
5 |
|
3 |
3 |
2 |
0 |
2 |
3 |
5 |
|
4 |
5 |
3 |
2 |
0 |
2 |
3 |
|
5 |
5 |
5 |
3 |
2 |
0 |
2 |
|
6 |
5 |
5 |
5 |
3 |
2 |
0 |
5.2.4. Переходное затухание между ВЛ на подстанции определяется как сумма переходного затухания между шинами соответствующих классов напряжения, определенного по п. 5.2.3, и затуханий, внесенных ВЧ заградителями этих ВЛ. Вносимое ВЧ заградителем затухание принимается равным единице в полосе заграждения и нулю вне полосы заграждения.
Минимальная и максимальная частоты (кГц) полосы заграждения ВЧ заградителей на L-й ВЛ задаются, соответственно пятым и шестым элементами L-й строки матрицы ML.
5.2.5. Переходное затухание между ВЛ, связанными ВЧ обходом на подстанции, принимается равным 0,8 независимо от частоты, а при отсутствия ВЧ обхода определяется по пп. 5.2.3 и 5.2.4, элементом Ш табл. 5-7, соответствующим классу напряжения этих ВЛ, а затуханиями З1, З2 ВЧ заградителей этих ВЛ на рассматриваемой частоте. Оба этих случая охватываются единой расчетной формулой
где Y - признак наличия ВЧ обхода. Если рассматриваемые линии связаны ВЧ обходом, то Y = 1, в противном случае Y = 0. To или иное значение Y определяется АЛГОЛ-программой для каждой пары линий любой подстанции на основе числовых данных в табл. 5-4.
5.2.6. Если рассматриваемая пара ВЛ на подходе к рассматриваемой подстанции имеет параллельный пробег (сближение) ширины Q, что фиксируется соответствующей строкой табл. 5-3, то в расчет вводится дополнительный переход с линии на линию, имеющий затухание
Результирующее с учетом (5-2) и (5-1) переходное затухание между ВЛ на подстанции вычисляется по формуле
(5-3)
5.2.7. Переходное затухание, вносимое ВЛ номер L (она задана L-й строкой табл. 5-1), вычисляется по формуле
где l - длина линии (1-й элемент L-й строки матрицы МL);
N1 - число отпаек обработанных (третий элемент L-й строки матрицы МL);
N2 - число отпаек необработанных (четвертый элемент L-й строки матрицы МL);
k1 - соответствующий марке провода и расщепления фазы (7-му элементу L-й строки матрицы МL) коэффициент из табл. 5-8. и, наконец, в формуле (5-4) коэффициент k2 соответствует типу профиля линии (восьмому элементу L-й строки матрицы МL). Значение коэффициента k2 выбирается из табл. 5-9, причем номер строки этой таблицы устанавливается с использованием табл. 5-5, а номер столбца табл. 5-9 - с использованием табл. 5-6.
Таблица 5-8
Марки провода и расщепленной фазы
|
Номера элементов в K1 |
|||||||||||
|
1 |
2 |
3 |
4 |
5 |
6 |
7 |
8 |
9 |
10 |
11 |
12 |
|
АС-70 |
АС-95 |
АС-120 |
АС-185 |
АС-240 |
АС-300 |
АСУ-300 |
АС-400 |
АСУ-400 |
АСО-500 |
2×АСО-500 |
3×АСО-500 |
|
0,80 |
0,69 |
0,61 |
0,48 |
0,43 |
0,39 |
0,37 |
0,35 |
0,32 |
0,31 |
0,21 |
0,15 |
Таблица 5-9
Зависимость километрического затухания от типа профиля ВЛ
|
Матрица K2 |
||||
|
1-й тип |
2-й тип |
3-й тип |
4-й тип |
|
|
1 |
1,15 ∙ 10-3 |
2,9 ∙ 10-3 |
2,76 ∙ 10-3 |
10,4 ∙ 10-3 |
|
2 |
1,38 ∙ 10-3 |
2,9 ∙ 10-3 |
2,76 ∙ 10-3 |
18,0 ∙ 10-3 |
|
3 |
2,76 ∙ 10-3 |
2,9 ∙ 10-3 |
2,76 ∙ 10-3 |
23 ∙ 10-3 |
|
4 |
4,2 ∙ 10-3 |
2,9 ∙ 10-3 |
2,76 ∙ 10-3 |
35 ∙ 10-3 |
|
5 |
9,2 ∙ 10-3 |
9,2 ∙ 10-3 |
9,2 ∙ 10-3 |
69 ∙ 10-3 |
|
6 |
0 |
0 |
0 |
0 |
5.3.1. Произведена нумерация типов аппаратуры ВЧ связи, автоматики, телемеханики в релейной защиты в соответствии с табл. 5-10.
5.3.2. Для каждого типа аппаратуры в расчете используются уровни передачи и приема, количество подканалов связи в одном комплекте аппаратуры, запас по перекрываемому затуханию. Для гололедных районов III и IV (Т = 1) запас по перекрываемому затуханию увеличивается на 0,5.
5.3.3. Минимальный уровень приема превышает уровень помех от короны на три (для аппаратуры телефонной связи), на две (для аппаратуры релейной защиты), на одну единицу (для аппаратуры телеотключения и телесигнализации). Соотношение сигнал - селективная помеха должно быть выше еще на одну единицу (Нп).
5.3.4. Уровень помех от короны фиксируется для ВЛ 500 кВ и снижается с понижением класса напряжения ВЛ; в соответствии с этим снижается минимальный уровень приема сигналов. Количественно это снижение выражается формулой
где υ - номер класса напряжения ВЛ.
Таблица 5-10
Нумерация типов аппаратуры
|
Номер типа аппаратуры |
|
|
В-12-3 |
1 |
|
В-12-3 с МIV-12 |
2 |
|
АСК-1 |
3 |
|
АСК-3 |
4 |
|
АСК-РС |
5 |
|
ВЧА-СЧ |
6 |
|
ВЧА-1ТФ или ВЧУ-1ТФ |
7 |
|
ВЧА-3ТФ или ВЧУ-3ТФ |
8 |
|
ЭПО-3 или ЭПУ-3 |
9 |
|
КП-59 или ПУМ-61 |
10 |
|
МК-60 |
11 |
|
КМК-64 |
12 |
|
АРС-64 |
13 |
|
АСМ |
14 |
|
ТС-2 |
15 |
|
ВЧТО-М |
16 |
|
ТСД-70 или ДСГ-68 |
17 |
|
ПВЗК |
18 |
|
ПВЗД или УПЗ-70 |
19 |
|
АЗВ |
20 |
5.3.5. Кривая избирательности приемника ВЧ аппаратура задается как ломаная, причем для каждого типа аппаратуры на кривой избирательности берется пять точек, между ними осуществляется линейная интерполяция, до первой из указанных точек выполняется экстраполяция постоянными значениями.
5.3.6. Для всех типов ВЧ аппаратуры, применяемой в энергосистемах, составлена матрица АП, данная в табл. 5-11. Каждая строка этой таблицы соответствует определенному типу аппаратуры, нумерация строк определяется до табл. 5-10. Общее число строк в табл. 5-11 равно 20; в ней содержатся сведения о ВЧ аппаратуре, которые используются АЛГОЛ-программой при распределении частот в любой энергосистеме.
5.4.1. Каждый передатчик ВЧ аппаратуры связи при работе воздействует не только на собственный приемник, но также на передатчики и приемники других каналов связи, имеющих близкие рабочие частоты и расположенных на близлежащих подстанциях в ВЛ. Таким образом создается селективная помеха, которая может исключить возможность нормальной совместной работы каналов связи энергосистемы. Анализ распределения частот ВЧ связи в энергосистеме должен выявить все такие случаи несовместности каналов связи в энергосистеме, а также проверить работоспособность каждого из каналов связи, т.е. достаточно высокий уровень приема рабочего сигнала, позволяющий отстроиться от распределенных помех, создаваемых в каналах связи коронированием проводов ВЛ.
Таблица 5-11
Матрица ВЧ аппаратуры
|
Наименование |
Номера столбцов матрицы АII |
||||||||||||||
|
1 |
2 |
3 |
4 |
5 |
6 |
7 |
8 |
9 |
10 |
11 |
12 |
13 |
14 |
||
|
Полезный уровень передачи |
Уровень приема при помехе 500 кВ |
Количество подканалов |
Запас по перекрываемому затуханию для негололедного района |
Кривая избирательности приемника |
|||||||||||
|
1-я точка |
2-я точка |
3-я точка |
4-я точка |
5-я точка |
|||||||||||
|
Ордината |
Абсцисса |
Ордината |
Абсцисса |
Ордината |
Абсцисса |
Ордината |
Абсцисса |
Ордината |
Абсцисса |
||||||
|
1 |
В-12-3 |
2,0 |
0,5 |
12 |
1 |
4 |
4 |
-1,2 |
4,4 |
-2,1 |
6 |
-6,2 |
9 |
-12 |
20 |
|
2 |
МПУ-12 |
2,2 |
0,5 |
12 |
1 |
4 |
4 |
-1,2 |
5 |
-1,5 |
8 |
-2,1 |
14 |
-2,8 |
20 |
|
3 |
АСК-1 |
4,6 |
0,5 |
1 |
1 |
4 |
4,3 |
-1,2 |
5 |
-5,8 |
8 |
-8,6 |
11 |
-12 |
30 |
|
4 |
АСК-3 |
3,8 |
0,6 |
3 |
1 |
4 |
4 |
-2 |
5 |
-2,3 |
8 |
-3,2 |
11 |
-7 |
20 |
|
5 |
АСК-РС |
4,0 |
0,5 |
1 |
1 |
4 |
4 |
-2,6 |
4,5 |
-3,1 |
8 |
-5,2 |
13 |
-6 |
20 |
|
6 |
ВЧА-СЧ |
4,0 |
0,5 |
1 |
1 |
4 |
4 |
-1 |
4,4 |
-1,6 |
6,6 |
-5,4 |
10,8 |
-7 |
20 |
|
7 |
ВЧА-1ТФ ВЧУ-1ТФ |
4,6 |
0,5 |
1 |
1 |
4,3 |
4,1 |
-1 |
5 |
-1,2 |
6 |
-5,2 |
10 |
-7 |
20 |
|
8 |
ВЧА-3ТФ ВЧУ-3ТФ |
3,8 |
0,5 |
3 |
1 |
4,3 |
4,1 |
-1 |
5 |
-1,6 |
8,2 |
-5,4 |
13 |
-7 |
20 |
|
9 |
ЭПО-3 ЭПУ-3 |
4,6 |
0,5 |
1 |
1 |
4 |
4 |
-1 |
5 |
-4 |
6,6 |
-6,4 |
9,2 |
-8 |
20 |
|
10 |
КП-59 ПУМ-61 |
3,8 |
0,4 |
2 |
1 |
5 |
4 |
-1 |
5 |
-2,2 |
7 |
-6 |
12 |
-7 |
20 |
|
11 |
МК-60 |
4,6 |
0,4 |
1 |
1 |
4,4 |
4,6 |
3,8 |
5,2 |
-2 |
8 |
-6 |
14 |
-7,4 |
20 |
|
12 |
КМК-64 |
3,8 |
0,4 |
2 |
1 |
4,4 |
4,6 |
3,8 |
5,2 |
-2 |
8 |
-6 |
14 |
-7,4 |
20 |
|
13 |
АРС-64 |
3,8 |
0,4 |
1 |
1 |
4,4 |
4,6 |
3,8 |
5,2 |
-2 |
8 |
-6 |
14 |
-7,4 |
20 |
|
14 |
АСМ |
3,4 |
0,5 |
1 |
1 |
4,4 |
4 |
0 |
4,4 |
-2,0 |
5,5 |
-5,6 |
9,5 |
-6,2 |
20 |
|
15 |
ТС-2 |
3,6 |
1,0 |
1 |
1,5 |
1 |
1 |
0 |
2,6 |
-6,3 |
4,8 |
-8 |
8 |
-8,5 |
20 |
|
16 |
ВЧТО |
4,8 |
1,0 |
1 |
1,5 |
1 |
1,6 |
-1,5 |
4,4 |
-1,6 |
7,5 |
-3,5 |
11 |
-6,3 |
20 |
|
17 |
ТСД-70 ДСГ-68 |
4,0 |
1,5 |
1 |
1 |
4,2 |
1 |
1,5 |
5 |
-0,3 |
7 |
-2,5 |
10,4 |
-3,4 |
20 |
|
18 |
ПВЗК |
5,2 |
0,5 |
1 |
1,5 |
1,6 |
0,8 |
1,2 |
1,8 |
0,5 |
3,8 |
-2 |
7,5 |
-3,8 |
20 |
|
19 |
ПВЗК УПЗ-70 |
5,2 |
0,7 |
1 |
1,6 |
1,6 |
0,5 |
1,3 |
0,8 |
-2,7 |
5 |
-4,8 |
10 |
-6 |
20 |
|
20 |
АЗВ |
5,2 |
0,5 |
1 |
1,5 |
1 |
0,7 |
-1,8 |
2 |
-4,7 |
3,9 |
-6,3 |
5,4 |
-7,4 |
20 |
5.4.2. При расчете селективных помех исходными являются значение разноса частот Q рассматриваемой пары каналов и значение переходного затухания U между точками генерации и приема помехи. Под частотой канала связи понимается минимальная из занятых им частот (левая граница полосы передачи и приема сигнала на оси частот), а под разносом частот каналов связи - абсолютное значение разности этих частот. Переходное затухание вычисляется по кратчайшему (имеющему наименьшее затухание) пути по ВЛ и шинам подстанций, связывающему точку подсоединения влияющего передатчика с точкой подсоединения приемника или передатчика, подверженного помехе.
5.4.3. Мешающее влияние передатчика на передатчик (паразитная анодная модуляция) проверяется лишь при работе этих передатчиков на общий фильтр присоединения.
5.4.4. Определение мешающего влияния передатчика на приемник другого ВЧ канала состоит в том, что на входе этого приемника вычисляется отношение сигнал - помеха. При этом уровень приема рабочего сигнала считается минимально возможным и вычисляется как уменьшенный на величину (5-5) 2-й элемент той строки табл. 5-11, которая соответствует типу аппаратуры приемника. Полученное значение увеличивается* на Y + Т/2 (запас по перекрываемому затуханию Y - это четвертый элемент той же строки табл. 5-12, Т - показатель района по гололеду по п. 5.1.6). Таким образом, за уровень приема рабочего сигнала приемником, подверженным помехе, принимается число
_____________
* При нулевом значении характеристики F запаса по перекрываемому затуханию (п. 5.1.8) дополнительное слагаемое Y + Т/2 не вносится.
Уровень помехи на входе приемнике - это уменьшенный на значение переходного затухания U уровень передачи Рпер для аппаратуры, на которой работает мешающий передатчик; вычитается также H/2, где Н - признак крайней фазы:
Н = |2 - НОМЕР ФАЗЫ ПЕРЕДАТЧИКА|. (5-8)
Разность выражений (5-6) и (5-7) дает отношение уровней сигнал - помеха на входе приемника
Для решения вопроса о совместимости мешающего передатчика и подверженного помехе приемника отношение W (5-9) уровней сигнал - помеха следует сравнить с ординатой кривой избирательности аппаратуры, на которой работает приемник. В соответствующей строке табл. 5-11 используются элементы с 5-го по 14-й, по ним находится абсцисса Qизб точки на кривой избирательности, соответствующей соотношению W уровней сигнал - помеха на входе приемника.
Если разность
V = Qизб - Q
отрицательна, то селективная помеха превосходит уровень, максимально допустимый по условиям избирательности, т.е. нарушены нормальные условия приема рабочего сигнала. Если Q ≥ 20, то помеха приему ВЧ считается ниже нормы, без расчета W и V.
5.4.5. При рассмотрении канала связи с усилителем прямого усиления, без смены частот, следует учесть, что на промежуточной подстанции приемник кроме рабочего сигнала воспринимает ослабленный переходным затуханием сигнал с выхода усилителя прямого усиления, имеющий ту же частоту. В соответствии с п. 5.1.3 этот сигнал рассматривается как помеха от передатчика другого симплексного канала связи с совпадающими восьмыми элементами соответствующих строк табл. 5-2. В остальных случаях помех восьмые элементы соответствующих строк различны.
Если восьмые элементы строк табл. 5-2 совпадают, т.е. имеет место переприем без смены частот, то должна быть исключена возможность самовозбуждения промежуточного усилителя через переходное затухание U. Возможность нормальной работы переприема на промежуточной подстанции (без самовозбуждения) гарантируется при положительном значении
V = W - 1,5, (5-10)
где W вычисляется по формуле (5-9).
5.4.6. Когда номера передатчика и приемника совпадают, формула (5-9) применяется для рабочего сигнала на входе приемника, тем самым осуществляется проверка работоспособности соответствующего ВЧ канала по проводам BЛ. Показателем работоспособности является отрицательный знак величины W + 1, где единица - дополнительное затухание рабочего сигнала, внесенное в ВЧ тракт фильтрами присоединения и утечками через заградители по обоим концам тракта. Этот отрицательный знак доказывает, что уровень рабочего сигнала на входе приемника выше минимального с учетом запаса по гололеду и перекрываемого затухания, определяемого уровнем помех от короны на ВЛ соответствующего класса напряжения.
5.4.7. Пусть влияющий передатчик оснащен мощным усилителем, т.е. 9-й элемент R соответствующей строки табл. 5-2 равен единице. Тогда в формулах (5-7), (5-9) и (5-10) уровень передачи Рпер, ранее принимавшийся из первого столбца табл. 5-11 (это соответствовало отсутствие мощного усилителя), заменяется значениями 5,8 - при одноканальной аппаратуре (F = 1); 5,375 - при двухканальной аппаратуре (F = 2); 5,0 - при трехканальной аппаратуре (F = 3); 4,0 - при двенадцатиканальной аппаратуре (F = 12). Через F обозначен 3-й элемент соответствующей строки табл. 5-11 (количество подканалов в аппаратуре ВЧ связи).
Все перечисленные случаи включены в формулу
6.1.1. АЛГОЛ-программа состоит из описания и четырех частей - операторов А, Б, В, Г. Описание содержит распределение памяти ЭВМ для рабочих массивов программы.
6.1.2. Оператор А - первая часть программы - строит по исходным данным схему энергосистемы, для любой пары подстанций находит кратчайший (минимальный по затуханию) путь между ними по ВЛ и шинам подстанций энергосистемы, запоминает кратчайшие пути для тех пар подстанций энергосистемы, которые разделены не более чем четырьмя ВЛ.
6.1.3. Оператор Б - вторая часть программы - осуществляет перебор всех пар каналов связи, проверяет выполнение ограничений сверху на пространственный и частотный разнос каналов. В случаях, когда эти ограничения удовлетворены, вторую часть программы выполняют операторы Б1 и Б2.
6.1.4. Входящей во вторую часть программы оператор Б1 восстанавливает из памяти ЭВМ кратчайший путь между рассматриваемыми точками энергосистемы и вычисляет переходное затухание вдоль этого пути на частоте мешающего канала связи. Вычисление производится по разным алгоритмам в зависимости от того, принадлежат или не принадлежит рассматриваемые точки энергосистемы одной подстанции.
6.1.5. Входящий во вторую часть программа оператор Б2 осуществляет при заданном разносе частот каналов сопоставление уровня помехи с кривой избирательности подверженного влиянию приемника и, если помеха выше допустимой по нормам, производит печать информации о таком случае.
6.1.6. Оператор В - третья часть программы - осуществляет перебор всех пар передатчиков, причем оставляет в рассмотрении лишь пары передатчиков, работающих на общий фильтр присоединения. Если разнос частот таких передатчиков меньше, чем минимально допустимый, тo оператор В производит печать информации о таком случае. После перебора всех вариантов третья часть производит конечный останов программы.
6.1.7. Оператор Г - четвертая часть программы - состоит из двух подпрограмм, из которых первая вычисляет переходное затухание, вносимое в ВЧ тракт подстанцией, а вторая - вносимое ВЛ.
Для трансляции подготавливается колода перфокарт, пробитых на языке АЛГОЛ при помощи устройства УПП. Эта колода - алгоритм для ТА-2; она состоит на 72 перфокарт и представлена в табл. 6-1.
При работе с этой колодой транслятора ТА-2М на широкую бумажную ленту АЦПУ ЭВМ типа М-222 выдаются:
- отредактированный текст АЛГОЛ-программы (табл. 6-2);
- распределение памяти и таблица операторов оттранслированной АЛГОЛ-программы (табл. 6-3 и 6-4);
- последовательность команд оттранслированной АЛГОЛ-программы (табл. 6-5);
- колода перфокарт оттранслированной АЛГОЛ-программы.
Время трансляции, включая выдачу на печать табл. 6-1, 6-2, 6-3, 6-4, 6-5 и перфорацию рабочей колоды перфокарт, составляет около 10 мин. По окончании трансляции - останов в ячейке 7232; программа - «диспетчер» ЭВМ М-222 выдает информацию:

Таблица 6-1




Таблица 6-2
Отредактированный текст АЛГОЛ-программы




Таблица 6-3
Распределение памяти
Простые переменные типа REAL
|
1734 |
|||
|
V |
1733 |
||
|
U |
1732 |
||
|
Y |
1731 |
||
|
W |
1730 |
||
|
Q |
1727 |
||
|
R |
1726 |
||
|
S |
1725 |
||
|
T |
1724 |
||
|
F |
1723 |
ПРОСТЫЕ ПЕРЕМЕННЫЕ ТИПА INTEGER
|
C |
1722 |
Р |
1710 |
|
O |
1721 |
Ф |
1707 |
|
E |
1720 |
Х |
1706 |
|
G |
1717 |
А |
1705 |
|
H |
1716 |
В |
1704 |
|
I |
1715 |
Ц |
1703 |
|
J |
1714 |
Ч |
1702 |
|
K |
1713 |
Ш |
1701 |
|
L |
1712 |
Ю |
1700 |
|
M |
1711 |
МАССИВЫ ТИПА REAL
|
K1 |
2336* |
||
|
K2 |
2346* |
||
|
A0 |
1717* |
||
|
I0 |
2453* |
||
|
П1 |
2525* |
||
|
П2 |
2527* |
||
|
I1 |
400000 |
МАССИВЫ ТИПА INTEGER
|
C*ND |
2365* |
||
|
*AK |
2602* |
||
|
ML |
5325* |
||
|
MK |
2721* |
МЕТКИ ОПЕРАТОРОВ
|
МЕТ2 |
0552 |
||
|
MET3 |
0640 |
||
|
МЕТ4 |
1066 |
||
|
МЕТ5 |
1374 |
||
|
МЕТ6 |
1554 |
||
|
МЕТ7 |
1555 |
||
|
МЕТ8 |
1611 |
||
|
МЕТ10 |
1612 |
Таблица 6-4
Таблица операторов
|
0110 |
|
|
ВХОД В БЛОК 1 |
0135 |
|
ЗАГОЛОВОК ЦИКЛА 0 |
0172 |
|
ЗАГОЛОВОК ЦИКЛА 1 |
0177 |
|
ОПЕРАТОР ПЕРЕХОДА 0 |
0214 |
|
ОКОНЧАНИЕ ЦИКЛА 1 |
0223 |
|
ОКОНЧАНИЕ ЦИКЛА 0 |
0224 |
|
ЗАГОЛОВОК ЦИКЛА 2 |
0226 |
|
ОКОНЧАНИЕ ЦИКЛА 2 |
0267 |
|
ЗАГОЛОВОК ЦИКЛА 3 |
0270 |
|
ЗАГОЛОВОК ЦИКЛА 4 |
0275 |
|
ЗАГОЛОВОК ЦИКЛА 5 |
0302 |
|
ЗАГОЛОВОК ЦИКЛА 6 |
0320 |
|
ОКОНЧАНИЕ ЦИКЛА 6 |
0302 |
|
ОКОНЧАНИЕ ЦИКЛА 5 |
0303 |
|
ОКОНЧАНИЕ ЦИКЛА 4 |
0304 |
|
ОКОНЧАНИЕ ЦИКЛА 3 |
0305 |
|
ЗАГОЛОВОК ЦИКЛА 7 |
0306 |
|
ЗАГОЛОВОК ЦИКЛА 8 |
0313 |
|
ОПЕРАТОР ПЕРЕХОДА 1 |
0643 |
|
ОПЕРАТОР ПЕРЕХОДА 2 |
0673 |
|
ОПЕРАТОР ПЕРЕХОДА 3 |
0676 |
|
ОПЕРАТОР ПЕРЕХОДА 4 |
0705 |
|
ОПЕРАТОР ПЕРЕХОДА 5 |
0707 |
|
ОПЕРАТОР ПЕРЕХОДА 6 |
0723 |
|
ОПЕРАТОР ПЕРЕХОДА 7 |
0727 |
|
ОПЕРАТОР ПЕРЕХОДА 8 |
1001 |
|
ОПЕРАТОР ПЕРЕХОДА 9 |
1053 |
|
ОПЕРАТОР ПЕРЕХОДА 10 |
1064 |
|
ОПЕРАТОР ПЕРЕХОДА 11 |
1107 |
|
ОПЕРАТОР ПЕРЕХОДА 12 |
1111 |
|
ОПЕРАТОР ПЕРЕХОДА 13 |
1225 |
|
ОПЕРАТОР ПЕРЕХОДА 14 |
1243 |
|
ОКОНЧАНИЕ ЦИКЛА 8 |
1244 |
|
ОКОНЧАНИЕ ЦИКЛА 7 |
1245 |
|
ЗАГОЛОВОК ЦИКЛА 9 |
1246 |
|
ЗАГОЛОВОК ЦИКЛА 10 |
1253 |
|
ОПЕРАТОР ПЕРЕХОДА 15 |
1341 |
|
ОКОНЧАНИЕ ЦИКЛА 10 |
1371 |
|
ОКОНЧАНИЕ ЦИКЛА 9 |
1372 |
|
ОПЕРАТОР ПЕРЕХОДА 16 |
1373 |
|
ЗАГОЛОВОК ЦИКЛА 11 |
1376 |
|
ОКОНЧАНИЕ ЦИКЛА 11 |
1430 |
|
ЗАГОЛОВОК ЦИКЛА 12 |
1431 |
|
ОКОНЧАНИЕ ЦИКЛА 12 |
1471 |
|
ОПЕРАТОР ПЕРЕХОДА 17 |
1311 |
|
ОПЕРАТОР ПЕРЕХОДА 18 |
1314 |
|
ВЫХОД ИЗ БЛОКА 1 |
1412 |
|
ВЫХОД ИЗ БЛОКА 0 |
1412 |
Таблица 6-5
Оттранслированная АЛГОЛ-программа








6.3.1. Произвести нумерацию всех подстанций, ВЛ (как реально существующих, так в запроектированных), ВЧ обходов шин подстанций и участков параллельного пробега ВЛ на подходах к подстанциям. В соответствии с п. 5.1.3 произвести выделение симплексных каналов связи из всех ВЧ дуплексных каналов связи, работающих в энергосистеме или запроектированных, после чего осуществить нумерацию симплексных каналов связи. В соответствии с п. 5.1.6 определить число Т, характеризующее гололед в районе энергосистемы. Зафиксировать расчетное значение коэффициента F учета запаса по перекрываемому затуханию. С использованием методики, изложенной в гл. 5 (5.2, 5.3, 5.4), заполнить матрицы ML, ЭМ, ОБ, МК исходных материалов об энергосистеме и каналах связи.
6.3.2. Пробить перфокарты:
- число Р с контрольной суммой;
- число L с контрольной суммой;
- число G с контрольной суммой;
- число А с контрольной суммой;
- число В с контрольной суммой;
- число Т с контрольной суммой;
- число F с контрольной суммой.
При этом должны выполняться ограничения:
- для числа подстанций Р верхняя граница 60;
- для числа ВЛ L верхняя граница 80;
- для числа симплексных каналов связи G верхняя граница 142;
- для числа ВЧ обходов шин А верхняя граница 30;
- для числа участков параллельного пробега В верхняя граница 27.
6.3.3. Для каждой строки матрицы ML (см. табл. 5-1) подготовить отдельную перфокарту, содержащую всю информацию о соответствующей ВЛ. Для всех ВЛ пробивка перфокарт единообразная, причем последовательные ходы перфокарты эквивалентны последовательным элементам соответствующей строки табл. 5-1:
- 1-й код - длина ВЛ (км);
- 2-й код - класс напряжения ВЛ в соответствии с табл. 5-5;
- 3-й код - количество отпаек, обработанных по высокой частоте и не используемых для связи;
- 4-й код - количество отпаек, не обработанных по высокой частоте и используемых для связи;
- 5-й код - нижняя частота полосы заграждения заградителя в средней фазе ВЛ (кГц);
- 6-й код - верхняя частота полосы заграждения заградителя в средней фазе ВЛ (кГц);
- 7-й код - номер элемента табл. 5-8, соответствующего марке провода и расщеплению фазы ВЛ;
- 8-й код - номер элемента табл. 5-6, соответствующего типу профиля BЛ;
- 9-й код - номер подстанции на одном из концов ВЛ;
- 10-й код - номер подстанции на другом конце ВЛ.
Все перфокарты, подготовленные указанным способом, собрать в колоду ML, при этом последовательность перфокарт в колоде должна соответствовать последовательности строк в табл. 5-1 и задавать порядок нумерации ВЛ в энергосистеме. После каждых шести перфокарт в колоде ML должна следовать их контрольная сумма, за ней чистая перфокарта.
6.3.4. Для каждой строки матрицы МК (см. табл. 5-2) подготовить отдельную перфокарту, содержащую всю информацию о соответствующем симплексном канале связи. Для всех каналов пробивка перфокарт единообразная, причем последовательные коды перфокарты эквивалентны последовательным элементам соответствующей строки матрицы МК:
- 1-й код - номер подстанции, на которой установлен передатчик;
- 2-й код - номер ВЛ, на которой установлен передатчик;
- 3-й код - номер фазы, на которой установлен передатчик;
- 4-й код - номер подстанции, на которой установлен приемник;
- 5-й код - номер BЛ, на которой установлен приемник;
- 6-й код - номер фазы, на которой установлен приемник;
- 7-й код - номер типа аппаратуры в соответствия с табл. 5-10, на которой работает (проектируется) канал связи;
- 8-й код - для каналов, связанных усилителем без смены частот, восьмые коды их перфокарт совпадают, в противном случае восьмые коды перфокарт различаются (рекомендуемый вариант пробивки восьмого кода - номер канала связи);
- 9-й код - единица при наличии усилителя мощности и нуль при отсутствии усилителя;
- 10-й код - нижняя граница полосы частот (кГц), занятой каналом связи.
Все перфокарты, подготовленные указанным способом, собрать в колоду MK, причем последовательность перфокарт в колоде должна соответствовать последовательности строк в табл. 5-2. После каждых шести перфокарт в колоде MK должна следовать их контрольная сумма, за ней - чистая перфокарта.
6.3.5. Для всех ВЧ обходов шин подстанций энергосистемы составить колоду перфокарт, чьи коды - числа матрицы ОБ. Последовательность пробивки кодов перфокарт следующая: сначала элементы первой строки табл. 5-4, затем элементы второй строки табл. 5-4 и так далее. В колоде перфокарт ОБ число кодов вдвое больше числа обходов. Первая перфокарта колоды ОБ начинается так:
![]()
![]()
и т.д.
Колода ОБ должна заканчиваться контрольной суммой.
6.3.6. Для всех участков параллельного пробега ВЛ на подходах к подстанциям подготовить колоду перфокарт, содержащую в построчном порядке все числа матрицы ЭМ. (табл. 5-3). В получающейся после пробивки колоде перфокарт ЭМ число кодов в три раза больше числа участков параллельного пробега. Первая перфокарта колоды ЭМ начинается с кодов:


и т.д.
Колода ЭМ должна заканчиваться контрольной суммой; если в колоде ЭМ больше 60 кодов, то в ней имеется промежуточная контрольная сумма после шестидесятого кода, за которой проложена чистая перфокарта.
6.3.7. Для расчета по программе использовать заранее заданные колоды перфокарт рабочей программы (возможна работа при считывании рабочей программы с магнитной ленты) и следующие колоды перфокарт, содержащие сведения о типах подстанций, ВЛ и видах аппаратуры ВЧ связи:
- колода перфокарт ZШ, составленную по строкам табл. 5-7;
- колоду перфокарт К1, составленную из элементов второго столбца табл. 5-8;
- колоду перфокарт К2, составленную по строкам табл. 5-9;
- колоду перфокарт АП, составленную по строкам табл. 5-11.
Все перечисленные колоды должны иметь контрольные суммы, причем колода АП имеет промежуточные контрольные суммы (после каждых 60 кодов), переложенные чистыми перфокартами.
6.3.8. Собрать сводную расчетную колоду перфокарт:
1) карту вызова ИС-22 на МБ-0;
2) карту начала работы оттранслированной программы;
3) колоду перфокарт оттранслированной программы анализа распределения частот;
4) колоду К1 с контрольной суммой;
5) колоду К2 с контрольной суммой;
6) колоду ZШ с контрольной суммой;
7) колоду АП с контрольными суммами после каждых 60 кодов;
8) число А с контрольной суммой;
9) число В с контрольной суммой;
10) число Р с контрольной суммой;
11) число L с контрольной суммой;
12) число G с контрольной суммой;
13) число Т с контрольной суммой;
14) число F с контрольной суммой;
15) колоду ОБ с контрольными суммами;
16) колоду ЭМ с контрольной суммой (возможно, с промежуточной контрольной суммой);
17) колоду ML с контрольными суммами после каждых шести перфокарт;
18) колоду МК с контрольными суммами после каждых шести перфокарт.
Собранную расчетную колоду установить в читающем устройстве ЭВМ типа М-20, нажать кнопку «Ввод». Счет идет по программе.
По окончания счета останов ЭВМ в ячейке 7212. Программа - «диспетчер» ЭВМ М-222 выдает сведения об этом останове:

6.4.1. При работе ЭВМ типа М-222 на широкую ленту АЦПУ программа анализа распределения частот сначала выдает строчки из семи цифр и затем строчки из двух цифр, причем во всех случаях:
- 1-е число строчки - номер влияющего канала связи;
- 2-е число строчки - номер подверженного влиянию канала связи;
- 3-е число строчки - номер подканала для влияющего канала связи;
- 4-е число строчки - номер подканала для канала связи, подверженного влиянию.
Возможны разные варианты выдачи на печать строк при работе программы.
6.4.2. Например, на печать выдана строка из семи цифр, причем первое и второе числа строки совпадают (и одновременно совпадают третье число с четвертым). Это означает, что для канала связи с соответствующим номером (и его подканала с соответствующим номером) уровень приема ниже минимально допустимого (с учетом или без учета запаса), т.е. частота, выбранная для этого канала связи, выше максимальной частоты для соответствующего ВЧ тракта.
6.4.4. В случаях выдачи на печать строка из семи цифр содержит дополнительную информацию:
- 5-е число строчки - переходное затухание (Нп) от точки подключения передатчика до точки подключения приемника рассматриваемой пары передатчик-приемник;
- 6-е число строчки - разность уровня сигнала от передатчика на входе приемника и минимального уровня приема приемника (Hп);
- 7-е число строчки - частота канала (кГц) в случае, рассмотренном в п. 6.4.2, а в случае, рассмотренном в п. 6.4.3, возможны два варианта значения этого числа:
1) рассматриваемая пара каналов связана переприемом без смены частот; седьмое число строки показывает, на сколько неперов нужно увеличить переходное затухание для нормальной работы переприема;
2) рассматриваемая пара каналов не связана переприемом без смены частот; седьмое число строки дает величину дефицита разноса частот, т.е. показывает, на сколько килогерц нужно увеличить разнос частот между каналами для их нормальной работы.
6.4.5. Если на печать выдана строка из двух цифр, то это означает, что имеет место паразитная анодная модуляция пары передатчиков, номера которых даются первой и второй цифрами строки. Таким образом, недопустима параллельная работа этих передатчиков на общий фильтр присоединения при заданном разносе частот.
6.4.6. Если дефицит разноса частот меньше 1 кГц, то с ним можно не считаться, так как частота канала должна равняться целому числу килогерц.
6.4.7. Методика расчета переходных затуханий, используемая при выборе частот вручную и при анализе распределения частот на ЭВМ, является приближенной, причем все упрощения дают погрешность лишь в сторону запаса. В связи с этим можно сделать следующие выводы.
Если для какой-то пары передатчик-приемник отсутствует выданная на печать АЦПУ строка из семи цифр, то создаваемая этим передатчиком помеха на входе приемника меньше нормы, работа аппаратуры связи обеспечена с гарантией.
Если для какой-то пары передатчик-приемник выдана на печать АЦПУ строка из семи цифр, то выше нормы оказывается помеха, вычисленная по приближенной методике, с завышением. В этом случае рекомендуется привлечение дополнительных (экспериментальных либо уточненных расчетных) данных о переходном затухании от передатчика к приемнику. При наличии таких данных возможно изменение вывода о несовместимости приемника с передатчиком. При отсутствии таких данных вывод АЛГОЛ-программы о несовместимости приемника с передатчиком следует считать окончательным на этапе проектирования.
Ввиду того, что проверка работоспособности высокочастотного канала проводится АЛГОЛ-программой по методике, упрощенной сравнительно с изложенной в ч. 1 Руководящих указаний, рекомендуется при выдаче АЛГОЛ-программой строки из семи цифр с совпадающими первой и второй цифрами провести поверочный расчет соответствующего ВЧ канала по методике ч. 1 Руководящих указаний.
6.5.1. Если в энергосистеме количество подстанций не ограничивается числом 60 и количество ВЛ не ограничивается числом 80, то для использования программы необходимо дробление энергосистемы на части, каждая из которых удовлетворяет этим ограничениям. Стыковка получающихся подсистем должна осуществляться не по какой-либо границе, а по полосе, причем границы этой полосы разносятся на три - четыре ВЛ. Указанная полоса должна включаться в обе стыкуемые подсистемы.
6.5.2. Если количество симплексных (в соответствии с п. 5.2.3) каналов связи энергосистемы не ограничивается числом 142, то для использования программы необходимо дробление диапазона частот ВЧ связи. Стыковка получающихся поддиапазонов осуществляемся не по какой-либо частоте, а по полосе частот, причем границы этой полосы разносятся на 20 кГц. Указанная полоса частот должна включаться в оба стыкуемых поддиапазона частот.
6.5.3. Возможно использование лишь части перфокарт колоды МК при неизменных колодах ML, ЭМ, ОБ. Это значит, что рассматривается лишь часть каналов энергосистемы, например каналы связи одного из поддиапазонов, указанных в п. 6.5.2. Последовательность перфокарт в колоде МК целесообразно выбирать в порядке возрастания частоты соответствующих каналов связи.
6.5.4. Если в энергосистеме при ее развитии появляются новые подстанции и ВЛ, то их нумерация непосредственно продолжает принятую нумерацию ВЛ и подстанций, использованную в уже составленных колодах перфокарт MK, ML, ЭМ, ОБ. При этом удаляется контрольная сумма колоды ML (и, возможно, колод ОБ, ЭМ) и вслед за последней перфокартой старой колоды добавляются вновь подготовленные перфокарты появившихся BЛ (и, возможно, новых ВЧ обходов шин подстанций и новых участков параллельного пробега ВЛ), затем контрольная сумма дополненной колоды.
6.5.5. Если в энергосистеме добавляются новые каналы связи по проводам ВЧ, то, в соответствии с п. 5.1.3, каждый новый канал связи разбивается на каналы без промежуточных усилителей (число таких каналов на единицу больше числа промежуточных усилителей исходного канала связи в энергосистеме). Каждый полученный таким образом дуплексный канал рассматривается как пара симплексных каналов, и к колоде МK добавляется соответствующее количество перфокарт. Хотя место новых перфокарт в колоде МК может быть произвольным, целесообразно принять рекомендацию п. 6.5.3.
6.5.6. При добавлении одного канала связи к совокупности всех работающих в запроектированных каналов связи энергосистемы достаточно сопоставить с вновь добавленным каналом лишь те, которые имеют разнос частот не свыше 20 кГц по сравнению с вновь добавленным. При этом используется лишь часть колоды МК и перфокарта нового канала связи.
6.5.7. Если производится назначение частоты нового канала связи, причем рассмотрению и сопоставлению подлежит несколько вариантов частоты этого канала, то целесообразно включить в колоду МК перфокарты каналов связи, реализующих одновременно все возможные варианты. Очевидно, на всех добавленных в колоду МК перфокартах будут совпадать все коды (см. п. 6.3.4), кроме десятого, равного частоте канала связи для каждого из вариантов. В частности, совпадают типы аппаратуры и точки подключения передатчика и приемника.
В этом случае программа анализа распределения частот может выдать на печать строки, соответствующие несовместности вариантов. Эта выдача не принимается во внимание при выборе наилучшего из рассматриваемых вариантов.
Кроме указанных строк, программа может выдать строки из семи для двух цифр, соответствующие несовместимости какого-либо из рассматриваемых вариантов с уже работающими или ранее запроектированными каналами связи. Из всех вариантов предпочтительны те, для которых количество выданных строк и необходимых переустройств каналов минимально.
6.5.8. Если в энергосистеме преобладают ВЛ малой протяженности, то уровень приема рабочего сигнала для преобладающего количества ВЧ каналов высок. Поэтому для характеристики запаса по перекрываемому затуханию (см. п. 5.1.8) предпочтительным является значение F = 1. Если в энергосистеме преобладают BЛ большой протяженности, то уровень приема рабочего сигнала для преобладающего количества ВЧ каналов низок. В таких случаях для характеристики запаса по перекрываемому затуханию предпочтительным является значение F = 0.
6.5.9. Для рассматриваемой энергосистемы целесообразно произвести расчеты по АЛГОЛ-программы при значениях F = 0 и F = 1 для характеристики запаса. В первом случае из-за низкого уровня приема рабочего сигнала ВЧ каналов достаточно легко обеспечивается работоспособность ВЧ каналов (выдается мало строк из семи цифр с совпадающими первой и второй цифрами), по сниженным оказывается соотношение W сигнал-селективная помеха на входе приемников, так что сравнительно велики перекрестные помехи ВЧ каналов (сравнительно много выдается строк из семи цифр с несовпадающими первой и второй цифрами). Во втором случае, когда F = 1, из-за высокого уровня приема затрудняется обеспечение работоспособности ВЧ каналов, но сниженными оказываются перекрестные помехи ВЧ каналов.
Сопоставление таких двух вариантов анализа распределения частот с помощью АЛГОЛ-программы облегчает принятие проектного решения по выбору частот проектируемых ВЧ каналов.
Конкретная энергосистема с заданной структурой каналов ВЧ связи по проводам линий электропередачи представлена на рис. 7-1.
Сначала производится нумерация подстанций и ВЛ энергосистемы. При этом отпайки (обработанные и не обработанные ВЧ заградителями) на ВЛ 1, 5, 6, 11 рассматриваются как элементы затухания указанных ВЛ. Следовательно, оконечные подстанции отпаек и места их питания на сквозных ВЛ не входят в нумерацию подстанций энергосистемы, а отпаечные ВЛ не входят в нумерацию ВЛ энергосистемы.
Итак, в рассматриваемом конкретном случае, число подстанций энергосистемы Р = 7, число ВЛ энергосистемы L = 11 по рис. 7-1.
По электрической схеме энергосистемы и данным о BЛ и подстанциях составляется табл. 7-1, 7-2, 7-3.
Число параллельных ВЛ на подходе к подстанциям (число строк матрицы ЭМ) В = 4, число высокочастотных обходов (число строк матрицы ОБ) А = 3.
Рассматриваемая энергосистема расположена в районе, имеющем номер I по гололеду, поэтому параметр запаса по гололеду принимается Т = 0.
Все ВЧ каналы, рассматриваемые в энергосистеме (рис. 7-1), не имеют промежуточных усилителей, кроме ВЧ канала по BЛ 3.10, связывающего подстанции № 3 и 6 и имеющего переприем без смены частот на подстанциях № 4. Этот сложный канал связи разбиваем на два ВЧ канала без промежуточных усилителей.
Рис. 7-1. Схема энергосистемы (L = 1, P = 7) и каналов связи (G = 20)
Таблица 7-1
Матрица ML
|
2 |
3 |
4 |
5 |
6 |
7 |
8 |
9 |
10 |
|
|
Ширина ВЛ, км |
Класс напряжения, кВ |
Количество обработанных отпаек |
Количество необработанных отпаек |
Нижняя частота (кГц) заградителя |
Верхняя частота (кГц) заградителя |
Марка провода и расщепления |
Тип профиля ВЛ |
Номер концевой подстанции |
Номер концевой подстанции |
|
100 |
3 |
1 |
1 |
50 |
150 |
6 |
1 |
1 |
2 |
|
160 |
3 |
0 |
0 |
150 |
300 |
3 |
3 |
3 |
2 |
|
130 |
3 |
0 |
0 |
0 |
0 |
5 |
3 |
3 |
4 |
|
60 |
2 |
0 |
0 |
100 |
300 |
2 |
1 |
1 |
3 |
|
90 |
3 |
1 |
1 |
100 |
300 |
6 |
1 |
1 |
5 |
|
80 |
3 |
1 |
0 |
200 |
400 |
7 |
2 |
2 |
5 |
|
70 |
3 |
0 |
0 |
0 |
0 |
5 |
2 |
2 |
4 |
|
280 |
5 |
0 |
0 |
100 |
300 |
10 |
4 |
3 |
5 |
|
400 |
5 |
0 |
0 |
100 |
300 |
12 |
4 |
4 |
5 |
|
100 |
3 |
0 |
0 |
200 |
400 |
5 |
1 |
4 |
6 |
|
60 |
1 |
4 |
0 |
0 |
2 |
3 |
7 |
6 |
Таблица 7-2
Матрица ЭМ
|
2 |
3 |
|
|
Номер ВЛ |
Номер ВЛ |
Ширина сближения, м |
|
1 |
2 |
50 |
|
4 |
8 |
100 |
|
9 |
10 |
20 |
|
2 |
3 |
20 |
Таблица 7-3
Матрица ОБ
|
2 |
|
|
Номер ВЛ |
Номер ВЛ |
|
11 |
10 |
|
2 |
6 |
|
4 |
5 |
Таблица 7-4
Матрица МК
|
2 |
3 |
4 |
5 |
6 |
7 |
8 |
9 |
10 |
|
|
Передатчик |
Приемник |
Тип аппаратуры |
Переприем без смены частот |
Наличие усилителя |
Частота канала, кГц |
||||
|
Номер подстанции |
Номер ВЛ |
Номер фазы |
Номер подстанции |
Номер ВЛ |
Номер фазы |
||||
|
1 |
1 |
1 |
2 |
1 |
1 |
6 |
1 |
0 |
80 |
|
2 |
1 |
1 |
1 |
1 |
1 |
6 |
2 |
0 |
120 |
|
2 |
6 |
2 |
5 |
6 |
2 |
8 |
3 |
0 |
280 |
|
5 |
6 |
2 |
2 |
6 |
2 |
8 |
4 |
0 |
330 |
|
5 |
5 |
1 |
1 |
5 |
1 |
4 |
5 |
0 |
280 |
|
1 |
5 |
1 |
5 |
5 |
1 |
4 |
6 |
0 |
240 |
|
1 |
4 |
2 |
3 |
4 |
2 |
3 |
7 |
0 |
260 |
|
3 |
4 |
2 |
1 |
4 |
2 |
3 |
8 |
0 |
300 |
|
3 |
3 |
2 |
4 |
3 |
2 |
5 |
9 |
0 |
150 |
|
4 |
3 |
2 |
3 |
3 |
2 |
5 |
10 |
0 |
160 |
|
3 |
2 |
1 |
2 |
2 |
1 |
9 |
11 |
1 |
180 |
|
2 |
2 |
1 |
3 |
2 |
1 |
9 |
12 |
1 |
209 |
|
2 |
7 |
1 |
4 |
7 |
1 |
10 |
13 |
0 |
170 |
|
4 |
7 |
1 |
2 |
7 |
1 |
10 |
14 |
0 |
160 |
|
4 |
10 |
г |
6 |
10 |
2 |
5 |
9 |
0 |
150 |
|
6 |
10 |
г |
4 |
10 |
2 |
5 |
10 |
0 |
160 |
|
3 |
2 |
1 |
2 |
2 |
1 |
4 |
17 |
0 |
190 |
|
2 |
2 |
1 |
3 |
2 |
1 |
4 |
18 |
0 |
220 |
|
4 |
9 |
1 |
5 |
9 |
1 |
7 |
19 |
1 |
85 |
|
5 |
9 |
1 |
4 |
9 |
1 |
7 |
20 |
1 |
60 |
Каждый дуплексный ВЧ канал связи без промежуточных усилителей разбиваем на пару симплексных каналов связи; обозначаем на схеме энергосистемы (рис. 7-1) место подключения передатчика и приемника каждого симплексного канала связи. Нумеруем эти симплексные каналы и заносим эту нумерацию в восьмой столбец матрицы каналов МК (табл. 7-4). При этом каналы 15 и 16 получают в восьмом столбце МК элементы 9 и 10, чем обозначается наличие переприема без смены частот у симплексных каналов 9 → 15 и 16 → 10.
Наличие мощного усилителя у ВЧ каналов связи 11, 12 и 19, 20 учитывается единицами в соответствующих строках девятого столбца матрицы каналов.
За частоту ВЧ канала связи, заносимую в десятый столбец матрицы каналов (табл. 7-4), принимается минимальная частота полосы, занятой этим симплексным каналом на спектре частот.
Остальные столбцы матрицы каналов заполняются с использованием координат (номер подстанции, номер линии, номер фазы) подключения передатчика и приемника каждого ВЧ канала, определяемых по рис. 7-1.
Число симплексных ВЧ каналов связи в рассматриваемом конкретном примере G = 20.
Расчеты по АЛГОЛ-программе анализа распределения частот проводятся при значениях коэффициента учета запаса по перекрываемому затуханию F = 0 и F = 1.
Перечисленными данными исчерпывается информация, привлекаемая для анализа распределения частот по АЛГОЛ-программе в рассматриваемом конкретном примере.
Эти данные пробиваются на перфокартах (см. далее перфокарты 47-86), которые собираются в определенном порядке в массивы со своими контрольными суммами.
Вместе с колодой перфокарт оттранслированной АЛГОЛ-программы анализа распределения частот энергосистемы и стандартными массивами К1, К2, ZШ, АП пробитые на перфокартах и упорядоченные данные по конкретной энергосистеме и ее каналам связи образуют рабочую колоду перфокарт, полностью приводимую далее.
Рабочая колода перфокарт
После ввода в ЭВМ приготовленной рабочей колоды перфокарт идет счет, основанный на использовании матрицы IZ (см. гл. 8). Эта матрица обычно не выдается на печать ЭВМ, хотя может представлять и самостоятельный интерес. Для рассматриваемого конкретного примера энергосистемы матрица IZ имеет семь строк и столбцов (по числу подстанций энергосистемы) и может быть выдана на печать ЭВМ типа М-222 программой «диспетчером» в виде табл. 7-5 (при этом строки матрицы напечатаны как столбцы).
Содержащуюся в матрице IZ информацию можно пояснить на примере шестого элемента первой строки напечатанной таблицы IZ. Этот элемент IZ [6,1] = 1303, 9612 содержит:
- число тысяч - 1 (элемент матрицы ПШ);
- число сотен - 3 (элемент матрицы ИП);
- число единиц - 3,9612 (элемент матрицы ПZ),
что означает: кратчайший путь электрического тока по ВЛ энергосистемы от подстанции 6 до подстанции 1 начинается с ВЛ 1, состоит из трех ВЛ (как видно из табл. 7-5 и рис. 7-1, из ВЛ 10, 7, 1) и имеет затухание 3,9612 Нп на частоте 250 кГц.
Результаты анализа распределения частот энергосистемы АЛГОЛ-программой, выданные на широкую бумажную ленту ЭВМ типа М-222 приведены в табл. 7-6 и 7-7. Первое число в каждой из таблиц - расчетное значение коэффициента F.
Матрица IZ для схемы на рис. 7-1

ДМ222 ВЕРСИЯ 20.01.73
01-01-1973**09-00*
АНАЛИЗ РАСПРЕДЕЛЕНИЯ ЧАСТОТ ВЧ КАНАЛОВ
<ВРЕМЯ6000
<ВВОД2
Результаты счета на ЭВМ типа М-222

Taблица 7-5

Таблица 7-6
для контрольного примера при F = 4


![]()


РАБОТЫ



Таблица 7-7
для контрольного примера при F = 0


КОНЕЦ


РАБОТЫ

Проведем анализ табл. 7-6 и 7-7.
Строки 2, 3, 9, 10, 14, 22, 25, 26 табл. 7-6 отсутствуют в табл. 7-7; строка 19 табл. 7-7 отсутствует в табл. 7-6. Остальные строки табл. 7-6 и 7-7 находятся во взаимно-однозначном соответствии, причем элементы первых пяти столбцов совпадают, а элементы шестых столбцов различаются на величину запаса по перекрываемому затуханию (1 Нп в рассматриваемом примере), который не учитывается в табл. 7-6 и учитывается в табл. 7-7, снижая тем соотношение сигнал-помеха на входе приемника. Как следствие, в табл. 7-7 получены меньшие значения дефицита разноса частот мешающего передатчика и подверженного селективной помехе приемника.
В частности, строки 5, 12 табл. 7-7 дают значение ~0,46 кГц для дефицита разноса частот ВЧ каналов 11 и 23, 14 и 10. Этот дефицит меньше 1 кГц; поэтому с ним можно не считаться, ибо частота канала должна равняться целому числу килогерц.
В табл. 7-6 и 7-7 выданы строки (с номерами 6, 21 и 4, 16 соответственно), указывающие на неправильную работу переприема без смены частот на подстанции 4: переходное затухание от выхода передатчика переприема до входа приемника переприема равно 0, так что сигнал, усиленный аппаратурой переприема, попадает на вход усилителя со слишком высоким уровнем; возможно самовозбуждение усилителя. Для предотвращения этого эффекта следует на подстанции 4 расширить полосу заграждения ВЧ заградителей ВЛ 10 в область низких частот и установить ВЧ заградители на ВЛ 3, запирающие частоту переприемного канала связи.
В табл. 7-6 и 7-7 выданы строки из двух цифр, указывающие на недопустимость работы передатчиков 11, 17 и 12, 18 на один фильтр присоединения, так как при имеющихся разносах частот 10 и 11 кГц соответственно возможна анодная модуляция передатчиков.
Если уровень приема выше минимального на величину запаса по перекрываемому затуханию (табл. 7-7), то затруднено обеспечение работоспособности ВЧ каналов, т.е. превышение этого уровня рабочим сигналом. Это иллюстрируется строкой 19 табл. 7-7 (соответствующей строки нет в табл. 7-6, полученной при неучете запаса; F = 0, уровень приема равен минимально допустимому по отстройке от распределенной помехи коронирования BЛ рассматриваемого класса напряжения): совпадают числа в первой и второй, третьем и четвертом столбцах этой строки. Канал 19 неработоспособен, несмотря на низкую рабочую частоту 85 кГц (седьмой элемент 19-й строки в табл. 7-7), ибо велико затухание вдоль ВЛ 9, равное 2,899 Нп (пятое число 19-й строки). Для ВЧ канала 20, работающего по той же ВЛ 9 на частоте 60 кГц, затухание меньше, так что его неработоспособность не фиксируется АЛГОЛ-программой.
Если уровень приема равен минимальному (табл. 7-6) по отстройке от помех коронирования, то работоспособность устанавливается АЛГОЛ-программой для всех ВЧ каналов рассматриваемого примера расчета, но каналы оказываются более чувствительности к селективным помехам. Это иллюстрируется строками 2, 3, 9, 10, 14, 22, 25, 26 табл. 7-6, которых нет в табл. 7-7. Например, 14-я строка устанавливает дефицит разноса частот ВЧ каналов 12, 18, равный 0,966 кГц. Этим дефицитом, меньшим 1 кГц, можно пренебречь. То же относится к 10-й строке табл. 7-6.
Методика выбора частот с помощью ЭВМ отличается от изложенной в гл. 1 методики выбора частот, хотя расчетные формулы для переходных затуханий и численные параметры подстанций, ВЛ в аппаратуры ВЧ связи примерно одни и те же.
Отличие велико уже в задании исходного материала для энергосистемы и каналов связи: схема энергосистемы и график частот, используемые при выборе частот вручную, не привлекаются при использовании ЭВМ; однако составляются таблицы, приведенные в гл. 5.
В ч. 1 Руководящих указаний не упоминается нахождение пути распространения мешающего сигнала от передатчика к подверженному помехе приемнику; при использовании методики ч. 1 этот путь не требуется запоминать, поскольку он виден по схеме энергосистемы.
Программа алгоритмически находит кратчайший путь в энергосистеме между любыми двумя точками, хранит в памяти ЭВМ все такие кратчайшие пути и для заданной частоты мещающего сигнала вычисляет затухание вдоль этого пути.
Малоэффективным было бы обращение к ЭВМ для проверки лишь одной пары ВЧ каналов, поэтому программа предусматривает (в отличие от методики ч. 1) анализ перекрестных помех всей совокупности каналов связи энергосистемы за один выход на ЭВМ.
Программа, осуществляющая указанные функции (см. также 6.1), составлена на языке АЛГОЛ-60, поэтому положенная в основу программы методика излагается ниже как совокупность выражений на языке АЛГОЛ.
Расчеты переходных затуханий и сопоставление рабочего сигнала с селективной помехой на входе приемников осуществляется по формулам, приведенным в 5.4, и основывается на общих (не зависящих от конкретной энергосистемы и структуры каналов связи) данных о типах ВЧ аппаратуры, приведенных в 5.3, а также сведениях о типах подстанций и ВЛ, перечисленных в 5.2. Конкретизация энергосистемы и каналов связи, для которых выполняется распределение частот, осуществляется при составлении матриц, указанных в 5.1. Весь используемый числовой материал представлен в гл. 5 в виде таблиц.
Матрицы ML, MK, ОБ, ЭМ, ZШ составляются из целых (INTEGER) чисел, а матрицы АП, К1, К2 - из нецелых вещественных (REAL) чисел. Все указанные матрицы являются массивами (ARRAY), т.е. прямоугольными числовыми таблицами. При этом К1 - это матрица-строка из 12 вещественных чисел, что обозначается так: REAL ARRAY K1[1:12].
Остальные матрицы числового материала двухмерные и обозначаются:
- REAL ARRAY К2[1:6, 1:4] - это матрица, у которой номера строк изменяются от 1 до 6 и номера столбцов - от 1 до 4, а все элементы матрицы - вещественные числа;
- INTEGER ARRAY ML[1:L, 1:10] - матрица, у которой номера строк изменяются от 1 до числа L, а номера столбцов - от 1 до 10, а все элемента матрицы - целые числа; в описание входят также матрицы:
- INTEGER ARRAY MK[1:6, 1:10], ЭМ[1:B, 1:3], ОБ[1:А, 1:2], ZШ[1:6, 1:6]; REAL ARRAY АП [1:20, 1:14];
Можно использовать любой элемент матрицы как отдельное число. Для этого указывается название матрицы и индексы (номера строки и столбца, конкретизирующие положение в матрице) рассматриваемого элемента. Ниже приводятся примеры такого использования.
Выражение ML[L, 2] обозначает элемент L-й строки и второго столбца матрицы ML (см. табл. 5-1), т.е. класс напряжения L-й BЛ (в соответствии с табл. 5-5).
При вызове элемента матрицы МК, находящегося на пересечении y-й строки и 10-го столбца, записывают МК[y,10] и получают (см. табл. 5-2) частоту y-го канала связи (в килогерцах).
При использовании элемента матрицы ZШ, находящегося на пересечении второй строки и третьего столбца, пишут ZШ[2,3] и получают (см. табл. 5-7) переходное затухание через шины подстанции с ВЛ второго класса напряжения (110 кВ) на ВЛ третьего класса напряжения (220 кВ).
Если L1-я и L2-я ВЛ подведены к одной подстанции, то вносимое ею в сквозной ВЧ тракт затухание равно элементу матрицы ZШ:
В формуле (8-1) и последующих использовано то, что элементы матрицы ML и МК - целые числа, так что могут служить индексами элементов матриц ZШ и АП, К1 и K2.
Аналогично при расчете затухания, вносимого в y-й канал связи L-й линией электропередачи, используется выражение:
(8-2)
эквивалентное первому слагаемому формулы (5-4).
При расчете помех передаче и приему ВЧ каналов связи, основанном на формулах (5-7) - (5-11), уровень передачи Wпер y-го канала связи можно обозначить с помощью выражения
(8-3)
не требующего дополнительных пояснений и удобного для арифметических операций.
Две подстанции энергосистемы называются инцидентными, если они связаны ВЛ. Линия электропередачи, заходящая на подстанцию, называется инцидентной этой подстанции.
По схеме энергосистемы можно установить все соотношения инцидентности для ее подстанций и ВЛ. Если заданы все соотношения инцидентности ВЛ с подстанциями, то можно восстановить (в основном) схему энергосистемы.
В табл. 5-1 для каждой BЛ заданы номера концевых (инцидентных ей) подстанций - элементы 9-го и 10-го столбцов матрицы ML. Coдержащаяся в 9-м и 10-м столбцах матрицы ML информация эквивалентна заданию схемы энергосистемы.
Из вычерченной скелетной схемы энергосистемы при выборе частот наглядно получаются все соотношения инцидентности, причем для любых двух подстанций энергосистемы непосредственно со схемы воспринимается информация:
- о кратчайшем пути между этими подстанциями по ВЛ и шинам подстанций энергосистемы;
- о количестве ВЛ, составляющих этот путь;
- о слагаемых, составляющих затухание вдоль кратчайшего пути на рассматриваемой частоте.
Аппарат матриц инциденций позволяет получать ответы на те же вопросы алгоритмически, без использования наглядности в интуиции. В настоящем разделе рассматривается вопрос о количестве ВЛ и составляется выражение на языке АЛГОЛ, дающее ответ на этот вопрос.
Исходной является матрица инциденций подстанций INTEGER ARRAY ИО[1:P,1:P], которая составляется по следующему правилу:
![]()
Диагональные элементы матрицы ИО принимаются равными минус 100.
Используем принятый в языке АЛГОЛ оператор цикла
FOR Ш:=1 STEP 1 UNTIL P DO ...,
который означает: для каждого целочисленного значения параметра Ш, от значения 1 и до значения, равного числу подстанций Р, выполняется оператор, стоящий на месте многоточия.
Получаем на языке АЛГОЛ алгоритм составления матрицы ИО:
FOR Ш := 1 STEP 1 UNTIL P DO
FOR Щ := 1 STEP 1 UNTIL P DO
IF Ш = Щ THEN ИО[Ш,Щ]= -100 ELSE ИО[Ш,Щ] := 0;
FOR C := 1 SТEP 1 UNTIL L DO (8-4)
ИО [ML[C,9],ML[С,10]] := ИО[ML[C,10],ML[С,9]] := 1.
Нули матрицы ИО означают, что соответствующие подстанции разделены минимум двумя ВЛ.
От ИО перейдем к матрице ИП, которая составляется по следующему правилу: ИП[Ш,Щ] = N, если Ш-я и Щ-я подстанции разделены минимум N - ВЛ. Для N = 1 соответствующие элементы матрицы ИП - это элементы ИО, равные единице.
Дальнейшее заполнение элементов матрицы ИП осуществляется в порядке возрастания значений этих элементов. Пусть задано целое число N ≥ 1 и, предположим, в матрицу ИП занесены все элементы, не превосходящие число N. Ниже излагается способ заполнения элементов матрицы ИП, равных N + 1 (способ математической индукции).
При индукции по параметру N (при любом значении N) заполнению подлежат элементы матрицы ИП, пока равные нулю. Для подстанций с номерами Ш и Ч равенство ИП[Ш,Ч] = N + 1 возможно в том и только в том случае, если существует подстанция номер Ц, инцидентная подстанции номер Ч и удаленная от подстанции номер Ш на N ВЛ.
Изложенный алгоритм можно записать на языке АЛГОЛ:
FOR Щ := 1 STEP 1 UNTIL 3 DO
FOR Ш := 1 STEP 1 UNTIL P DO
FOR Ч := 1 STEP 1 UNTIL P DO
IF ИП[Ш,Ч] = 0 THEN
BEGIN FOR Ц := 1 STEP 1 UNTIL P DO
IF (ИП[Ш,Ц] = Щ) AND (ИП[Ц,Ч] = 1)
THEN ИП[Ш,Ч] := Щ+1;
END;
Параметр Щ первого цикла выражения (8-5) ограничен значением 3, и этот параметр означает число ВЛ, разделяющих подстанций. Цель ограничения - исключить из рассмотрения пары подстанций, удаленных одна от другой более чем на четыре ВЛ. Такое исключение означает допустимость повторения частот на подстанциях с указанным пространственным разносом.
Между точками энергосистемы, принадлежащими разным ВЛ на одной подстанции, может быть ненулевое переходное затухание, поэтому такие точки при расчете переходных затуханий следует различать. Более того, для пары точек энергосистемы, принадлежащих одной ВЛ и одной подстанции, переходное затухание отлично от нуля, если фазы не совпадают. Следовательно, точка в энергосистеме при расчете переходных затуханий характеризуется тремя координатами:
{номер подстанции, номер ВЛ, номер фазы}.
Из табл. 5-2 видно, что первые три столбца матрицы МК дают тройку координат точки подключения передатчика каждого канала связи, а вторые три столбца матрицы МК - тройку координат точки подключения приемника для всех каналов связи в энергосистеме.
Различение фаз должно осуществляться лишь при совпадении у пары точек номеров подстанций и классов напряжений пары ВЛ, которым принадлежат точки. В остальных случаях пара точек энергосистемы характеризуется номерами ВЛ и подстанций. Таких случаев большинство, и для них алгоритм расчета переходного затухания (на дальнем конце) иное, чем при совпадении номеров подстанций (на ближнем конце).
Пусть Ш - номер ВЛ, тогда МL [Ш,9] и ML [Ш,10] - номера инцидентных этой ВЛ подстанций. Для одного конца ВЛ получаем пару координат без учета фазы:
{номер подстанции МL[Ш,9], номер ВЛ Ш},
для другого конца ВЛ получаем пару координат без учета фазы:
{номер подстанции ML[Ш,10], номер ВЛ Ш}.
Если Х - номер подстанции, причем X ≠ ML[Ш,9], X ≠ ML[Ш,10], то точка энергосистемы с координатами {X, Ш}, с одной стороны, принадлежит ВЛ номер Ш, а с другой - не принадлежит ни одному ее концу. Это противоречие означает бессмысленность пары координат {X,Ш}.
Если осуществить перебор всех ВЛ в энергосистеме - от 1-й до L-й - и для каждой ВЛ поочередно рассмотреть оба ее конца
FOR Ш := 1 STEP 1 UNTIL L DO
FOR Ц := ML[Ш,9], ML[Ш,10] DO ..., (8-6)
то записанная пара циклов переберет все точки энергосистемы (без различения фаз) по одному разу. При этом не возникнет бессмысленных пар координат.
Перебор всех пар точек в энергосистеме осуществляет получаемая из выражения (8-6) четверка циклов:
FOR Ф := 1 STEP 1 UNTIL L DO
FOR Х := ML[Ф,9], ML[Ф,910] DO
FOR Ц := 1 STEP 1 UNTIL L DO
FOR Ч := ML[Ц,9], ML[Ц,10] DO
IF ABS(ИП[X,Ч]) > 0,1 THEN
BEGIN... (8-7)
Условный оператор
IF ABS(ИП[Х,Ч]) > 0,1 THEN ...
исключает из перебора пары точек, разделенные более чем четырьмя ВЛ (в соответствии с (8-5) для таких пар точек ИП[Х,Ч] = 0). Для пар точек с совпавшими номерами подстанций имеем ИП[Х,Ч] = -100 в соответствии с (8-4), так что условие (8-7) выполнено.
Программа осуществляет следующие операции:
а) в цикле по Ш от 1 до G для каждого передатчика номер Ш устанавливается его принадлежность точке энергосистемы с координатами
{номер подстанции Х, номер ВЛ Ф};
б) в цикле по Щ от 1 до G для каждого приемника номер Щ устанавливается его принадлежность точке энергосистемы с координатами
{номер подстанции Ч, номер ВЛ Ц}.
Этот перебор пар передатчик-приемник, подключенных в заданной заранее паре точек энергосистемы, осуществляется следующим выражением на языке АЛГОЛ:
FOR Ш := 1 STEP 1 UNTIL G DO
FOR Щ := 1 STEP 1 UNTIL G DO
BEGIN Б := (МК[Ш,1] = X) AND (МК[Ш,2] = Ф)
AND (MK[Щ,4] = Ч) AND (MK[Щ,5] = Ц);
IF Б = TRUE THEN
BEGIN ... (8-8)
Общее количество пар передатчик-приемник равно G2, и из этого большого количества принятое в выражении (8-8) условие принадлежности Ш-го передатчика точке энергосистемы с координатами {Х,Ф} и принадлежности Щ-го приемника точке энергосистемы с координатами {Ч,Ц} удовлетворяется незначительным (для большинства случаев равным нулю или единице) количеством пар каналов связи: Ш-го и Щ-го.
Для пар каналов, удовлетворяющих условию (8-8), выдвигается дополнительное условие - разнос частот этих каналов должен быть мал:
I := МК[Ш,10]; D := MK[Щ,10]; M := MK[Щ,7]; Б := (ABS(I-D) < (0.12)×D)AND(ABS(I-D) < АП[M,14]);
IF Б = TRUE THEN
BEGIN... (8-9)
Условие (8-9) исключает из рассмотрения, в частности, пары каналов связи с разносом частот свыше 20 кГц.
Формулы для приближенного расчета помех передаче и приему, возникающих при совместной работе каналов связи в энергосистеме, основаны на следующем приближенно справедливом допущении: общее затухание ВЧ тракта есть сумма затуханий, вносимых элементами тракта. При этом суммирование производится по всем элементам, составляющим кратчайший путь от точки подключения передатчика до точки подключения приемника, а вносимые отдельными элементами тракта переходные затухания вычисляются независимо одно от другого.
Кратчайшие пути между всеми парами подстанций энергосистемы находим сравнением затуханий для частоты 250 кГц по всем возможным путям для каждой пары подстанций, составленным из минимально возможного количества ВЛ. Пути, составленные большим числом ВЛ, во внимание не принимаются. После нахождения кратчайшего для частоты 250 кГц пути между двумя подстанциями считаем этот путь кратчайшим и для остальных частот диапазона ВЧ связи по проводам ВЛ.
Выполняя указанные операции для всех пар подстанций, составляем матрицу REAL ARRAY ПZ[1:Р,1:P]. Элемент ПZ[Р1,Р2] этой матрицы равен переходному затуханию (Нп) на частоте 250 кГц между Р1-й и Р2-й подстанциями по кратчайшему пути, связывающему их в энергосистеме.
Порядок нахождения кратчайших путей соответствует порядку заполнения матрицы ИП посредством индукции по параметру N, который равен числу ВЛ на кратчайшем пути - (8-5). Если найдены кратчайшие пути для пар подстанций, разнесенных на N ВЛ, то для пары подстанций Р1-й и Р2-й, такой, что ИП [Р1, Р2] = N + 1, N + 1 ≤ 4, сравнивается (по значению затухания на частоте 250 кГц) соединяющие их пути протяженностью в N + 1 ВЛ.
При составлении матрицы ПZ используются подпрограммы (процедуры-коды, рассматриваемые в разд. 8.11):
COD (‘ZBZ’, MET5, MET6);
COD (‘ZBZ’, MET7, MET8),
из которых первая выполняет расчет переходного затухания Z, вносимого подстанцией в ВЧ тракт, а вторая - расчет переходного затухания W, вносимого ВЛ. Отметим, что используемых процедур-кодов нет в «Официальном сообщении о языке АЛГОЛ-60» [Л. 18], но они введены во входной язык транслятора ТА-2М для ЭВМ типа М-20. Смысл процедур-кодов ‘ZBZ’ - засылка передачи управления, которой нет в языке АЛГОЛ-60, но которая упрощает использование подпрограмм.
Составление матрицы ПZ начинается с обращения ко второй процедуре-коду:
FOR Ш := 1 STEP 1 UNTIL P DO
FOR Щ := 1 STEP 1 UNTIL P DO
IF Ш ≠ Щ THEN ПZ[Ш,Щ] := 77 ELSE ПZ[Ш,Щ] := 0;
I := 250;
FOR C := 1 STEP 1 UNTIL L DO
BEGIN COD(‘ZBZ’, MET7, MET8);
ПZ[ML[С,9],ML[C,10]] := ПZ[ML[C,10], ML[C,9]] := W
END; (8-10)
Оператор, даваемый выражением (8-10), осуществляет заполнение тех элементов матрицы ПZ, которым в матрице ИП соответствуют элементы, равные единице.
Когда закончено заполнение тех элементов матрицы ПZ, которым соответствуют в матрице ИП элементы, равные Щ, тогда по индукции совершаем переход к нахождению кратчайших путей, составленных из Щ + 1 ВЛ. По аналогии с (8-5) составляется выражение на языке АЛГОЛ
FOR Щ := 1 STEP 1 UNTIL З DO
FOR Ш := 1 STEP 1 UNTIL P DO
FOR Ч := 1 STEP 1 UNTIL P DO
IF ABS(ПZ[Ш,Ч]-77) < 0.1 THEN
BEGIN FOR Ц := 1 STEP 1 UNTIL L DO
IF (ИП[Ш,Ц] = Щ) AND (ИП[Ц,Ч] = 1) THEN
BEGIN ... (8-11)
В выражении (8-11) многоточием заменен оператор, добавляющий к затухании ВЧ тракта от подстанции номер Ш до подстанции номер Ц (по предположению математической индукции, затухание этого тракта из Щ, ВЛ известно и равно элементу ПZ[Ш,Ц]) затухание, вносимое подстанцией номер Ц и ВЛ, связывающей подстанции с номерами Ц и Ч.
Результат такого добавления - затухание вдоль одного из путей, имеющего Щ + 1 ВЛ и связывающего подстанции Ш и Ч, сравнивается с содержанием ячейки ПZ[Ш,Ч] в памяти ЭВМ. Если число в ячейке больше результата последнего расчета, то этот результат засылается в память ЭВМ на место числа в ячейке ПZ[Ш,Ч], в противном случае результат последнего расчета отбрасывается и в ячейке ПZ[Ш,Ч] остается ранее найденное значение затухания вдоль другого пути, связывающего подстанции номер Ш и Ч.
После перебора всех путей, составленных из Щ + 1 ВЛ, в ячейке ПZ[Ш,Ч] окажется число, равное минимальному значению затухания вдоль кратчайшего из рассматриваемых путей.
Для запоминания всех кратчайших путей между подстанциями энергосистемы и восстановления из памяти ЭВМ любого такого пути используется следующий принцип.
В кратчайшем пути между подстанциями R и Q любая его часть, ограниченная подстанциями S и Т, - кратчайший путь между этими подстанциями.
Если, например, подстанции R и S совпадают, а подстанции T и Q инцидентны, то часть кратчайшего пути, ограниченная подстанциями R и Т, - это кратчайший путь между начальной подстанцией R в промежуточной Т; его протяженность на одну ВЛ меньше длины исходного кратчайшего пути между подстанциями R и Q.
Если, наоборот, известен номер ВЛ, связывающей подстанции Т и Q, причем эта ВЛ первая на кратчайшем пути от подстанции Q до подстанции R, то для продолжения кратчайшего пути достаточно знать номер ВЛ, первой на кратчайшем пути от подстанции Т до подстанции R.
Таким образом, вместо запоминания всех кратчайших путей в энергосистеме достаточно запомнить номера ВЛ, с которых начинаются эти пути, и воспользоваться методом индукции.
Составим матрицу INTEGER ARRAY ПШ[1:Р,1:Р]
по следующему правилу: значение элемента ПШ[R,Q] принимается равным номеру ВЛ, с которой начинается кратчайший путь от подстанции Q до подстанции R.
Для ВЛ, номер которой равен числу ПШ[R,Q], подстанция Q является одной из концевых. Номер Т другой концевой подстанции можно вычислить по формуле
Тогда элемент ПШ[R,Т] рассматриваемой матрицы - это номер ВЛ, следующей на кратчайшем пути от подстанции Q до подстанции R. Такое продолжение кратчайшего пути можно повторять до тех пор, пока номер Т подстанции не совпадет с номером R завершающей путь подстанции.
Выражение на языке АЛГОЛ
FOR С := 1 STEP 1 UNTIL L DO
ПШ[МL[C,9],ML[C,10]] := ПШ[ML[C,10],ML[C,9]] := C (8-13)
представляет оператор, который начинает составление матрацы ПШ; дальнейшее заполнение элементов матрицы ПШ осуществляется методом математической индукции по параметру Щ, значение которого равно количеству ВЛ на кратчайшем пути, начинающемся ВЛ, номер которой дается этим элементом матрицы ПШ.
Матрицы ИП, ПZ, ПШ целесообразно заполнять одновременно. При этом используется сходство выражений (8-4) и (8-5) с выражениями (8-10) и (8-11), а также с парой выражений: (8-13) и формулой, завершающей составление матрицы ПШ. Оператор, осуществляющий индукцию по параметру Щ, имеет такой окончательный вид:
FOR Щ := 1 STEP 1 UNTIL 3 DO
FOR Ш := 1 STEP 1 UNTIL P DO
FOR Ч := 1 STEP 1 UNTIL P DO
IF ABS(ПZ[Ш,Ч]-77) < 0,1 THEN
BEGIN FOR Ц := 1 STEP 1 UNTIL P DO
IF (ИП[Ш,Ц] = Щ) AND (ИП[Ц,Ч] = 1) THEN
BEGIN C := ПШ[Ц,Ч]; Е := ПШ[Ш,Ц];
COD(‘ZBZ’, MET5, MET6);
COD(‘ZBZ’, MET7, MET8);
Y := ПZ[Ш,Ц] + Z + W;
IF ПZ[Ш,Ч] > Y THEN
BEGIN ПZ[Ш,Ч] := Y; ПШ[Ш,Ч] := С;
IF ИП[Ш,Ч] = 0 THEN
ИП[Ш,Ч] := Щ + 1
END
END; (8-14)
END;
Пусть зафиксирована пара точек энергосистемы:
- первая - с координатами
{номер подстанции X, номер ВЛ Ф},
- вторая - с координатами
{номер подстанции Ч, номер ВЛ Ц},
причем установлено, что в первой точке подключен передатчик Ш-го канала связи, а во второй - приемник Щ-го канала связи. Пусть выяснено, что пространственный разнос точек в энергосистеме и разнос частот каналов невелики, так что в выражениях (8-8) и (8-9) имеем Б = TRUE.
В этом случае необходимо вычислить уровень селективной помехи, создаваемой Ш-м передатчиком на входе Щ-го приемника, в частности, произвести расчет переходного затухания между указанными точками энергосистемы на рабочей частоте Ш-го канала связи. В этом расчете используются матрицы ИП, ПZ, ПШ.
При несовпадении номеров подстанций следует исключить из рассмотрения случаи переприема с прямым усилением (без смены частот), так как в этих случаях помехи нормальной работе могут создаваться лишь на промежуточной подстанции (Х = Ч), где возможно самовозбуждение пары приемник-передатчик через шины подстанции. Указанное исключение будет достигнуто, если в случаях переприема без смены частот при несовпадении номеров подстанций принимается значение переходного затухания U = 20. Это осуществляется условным оператором:
IF X ≠ Ч THEN
BEGIN IF (МК[Ш,8] ≠ МК[Щ,8]) OR (Ш = Щ) THEN
BEGIN ...
END
END
ELSE U := 20 (8-15)
END;
Многоточием в выражении (8-15) заменен оператор вычисления переходного затухания между парой точек энергосистемы. Этот оператор начинается с проверки, входят ли шины подстанции номер X в кратчайший путь между парой точек. Если они входят в этот путь, то в значение суммарного переходного затухания ВЧ тракта вносится соответствующее слагаемое:
С := ПШ[Ч,Х]; Е := Ф;
IF Ф ≠ С THEN COD(‘ZBZ’, МЕТ5, МЕТ6)
ELSE Z := 0;
U := Z; F := X; (8-16)
Так учитывается переходное затухание подстанции на ближнем конце.
Дальше на кратчайшем пути встречается ВЛ, которая рассматривается вместе со своей концевой подстанцией на дальнем конце. Это рассмотрение повторяется в цикле до тех пор, пока номер концевой подстанции не совпадает с числом Ч, т.е. пока не будут пройдены все ВЛ на кратчайшем пути между рассматриваемыми точками. Номер очередной ВЛ получается как элемент матрицы ПШ с соответствующими индексами, а номер концевой подстанции на дальнем конце этой ВЛ вычисляется по формуле (8-12). Выражение этого циклического оператора:
МЕТ3: COD(‘ZBZ’, MET7, МЕТ8);
U := U + W; H := ML[C,9] + ML[C,10] - H;
IF Н = Ч THEN
BEGIN E := C; С := ПШ[Ч,Н];
COD(‘ZBZ’, MET5, MET6);
U := U + Z; GO TO MET3
END
ELSE
BEGIN IF Ц ≠ С THEN
BEGIN E := C; C := Ц;
COD(‘ZBZ’,МЕТ5, МЕT6);
U := U + Z
END (8-17)
END;
Если номера подстанций совпадают (X = Ч), то вместо выражений (8-15) - (8-17) - они заменены многоточием в нижеследующем выражении - осуществляется другой оператор:
IF X ≠ Ч THEN ... ELSE
BEGIN IF Ф = Ц THEN
BEGIN IF МК[Ш,3] ≠ МК[Щ,6] THEN
U := 2.75 - 0.25×(4 - ML[Ф,2]) ELSE U := 0
END
ELSE
BEGIN C := MK[Ш,2]; Е := MK[Щ,5];
COD(‘ZBZ’,MET5,MET6); U := Z;
IF(MK[Ш,3] ≠ MK[Щ,6])AND(ML[C,2] = ML[E,2])
THEN U := U + 1
END (8-18)
END;
Выражением (8-18) охватываются все варианты расчета переходного затухания между точками одной подстанции: при совпадении и несовпадении классов напряжений, ВЛ и фаз, так что каждая точка задается не только номерами ВЛ и подстанций, но также номерами фаз, как указано в 8.3.
Рассмотрим завершающий этап расчета мешающего сигнала на входе приемника, когда закончено вычисление переходного затухания U между точками подключения Ш-го передатчика и Щ-го приемника, причем расчетная частота - рабочая частота мешающего передатчика, и найден разнос частот Ш-го и Щ-го каналов:
Q := ABS(MK[Ш,10] - МК[Щ,10]).
Уровень помехи на входе приемника Щ-го канала, создаваемой передатчиком Ш-го канала, определяется по формуле (5-10) как разность уровня передачи Ш-го канала и вычисленного переходного затухания:
(5,8 + (94,8 - 100×АП[Ш,3] + 5,2×АП[Ш,3]↑2)/198)×АП[Ш,9] + АП[Ш,1]×(1 –
- АП[Ш,9]) - U - 0,5×ABS(2 - МК[Ш,3]). (8-19)
Последнее слагаемое учитывает ослабление сигнала, вызванное подключением передатчика к крайней фазе ВЛ.
Уровень помехи сравнивается с уровнем приема Щ-го канала, уменьшенным на значение запаса по перекрываемому затуханию, с учетом гололеда:
АП[Щ,2] + 0,6×(5 - ML[MK[Щ,5],2]) - АП[Щ,4] - Т/2. (8-20)
Разность чисел (8-20) и (8-19) дает минимальное значение отношения сигнал-помеха на входе приемника Щ-го канала связи. Можно построить точку на плоскости, у которой ордината равна этой разности, а абсцисса - разносу частот Ш-го и Щ-го каналов связи. Эту точку можно сопоставить с кривой избирательности приемника Щ-го канала связи и проверить, лежит ли точка левее и ниже кривой избирательности или правее и выше кривой избирательности.
Обозначим через W разность выражений (8-20) и (8-19) и пересечем кривую избирательности приемника Щ-го канала связи горизонталью, ордината точек которой равна W. Если эта горизонталь проходит выше или ниже всех точек на кривой избирательности приемника, заданных в соответствующей строке матрицы АП, то параметру «V» присваиваются следующие значения:
IF W > АП[МК[Щ,7],5] THEN V := 100 ELSE
BEGIN IF W < АП[МК[Щ,7],13] THEN V := -10 ELSE
BEGIN ... (8-21)
Если горизонталь пересекает кривую избирательности приемника, заданную в строке матрицы АП, то абсцисса точки пересечения сравнивается с разносом частот Ш-го и Щ-го каналов связи.
В строке матрицы АП, соответствующей типу аппаратуры Щ-го канала связи, заданы пять точек кривой избирательности приемника, которые соединяются отрезками прямых, так что получается ломаная линия - приближенная кривая избирательности приемника. Горизонталь с ординатой W может пересечь лишь один отрезок прямой, составляющей ломаную линию. Для нахождения абсциссы точки пересечения необходимо предварительно уточнить порядковый номер этого отрезка, считая от первой точки на кривой избирательности. Пусть J-удвоенный порядковый номер отрезка прямой, с которым пересечется горизонталь. Тогда нахождение числа J и абсциссы точки пересечения выполняет следующее выражение:
J := 0; K := MK[Щ,7];
MET4: IF W > АП[K,7+J] THEN V := Q - АП[K,6 + J] - (W - АП[К,5 + J])×(АП[К,8 + J]] - АП[К,6 + J])/(АП[К,7 + J] - АП[К,5 + J])
ELSE
BEGIN J := J + 2; GO TO MET4
END (8-22)
В случае переприема без смены частот, который выделяется соответствующим условным оператором, кривая избирательности приемника фактически не используется, поскольку разнос частот равен нулю, но программа проверяет выполнение следующего условия: минимальный уровень полезного сигнала на 1,5 превосходит уровень помехи:
IF (МК[Ш,8] - МК[Щ,8]) AND (МК[Ш,1] = МК[Щ,4])
THEN V := W - 1,5; (8-23)
Рис. 8-1. Приближенная кривая избирательности приемника ВЧ аппаратуры типа АСК-РС, восстанавливаемая АЛГОЛ-программой по 5-й строке матрицы АП (см. табл. 5-11), и анализ помех приему для частного случая W1 = -4,2; Q1 = -6,8, изображенного точкой •; в этом частном случае J = 4 в формуле (8-22) и дефицит разноса частот DEFICIT = V = -4 кГц.
В выражении (8-22) величина V есть результат сравнения существующего разноса частот Q каналов связи номер Ш и номер Щ с минимально допустимым разносом частот при заданном соотношении W сигнал-помеха. Если V < 0, то существующий разнос частот меньше минимально допустимого, поэтому помеха от Ш-го передатчика нарушит нормальную работу Щ-го приемника (рис. 8-1).
В формуле (8-23) величина V имеет иной смысл и равна запасу переходного затухания между входом и выходом переприемного пункта. При V < 0 такого запаса недостаточно для нормального переприема, возможно самовозбуждение усилителя.
Расчет перекрестных помех передатчиков Ш-го и Щ-го каналов осуществляется, если эти передатчики работают параллельно на один кабель связи, т.е. выполнено условие совпадения номеров подстанций, ВЛ, фаз рассматриваемой пары точек энергосистемы:
IF (Ш ≠ Щ) AND (0 = ABS(МК[Ш,1] - МК[Щ,1]) +
+ ABS(МК[Ш,2] - МК[Щ,2]) + ABS(MK[Ш,3] - МК[Щ,3]))
THEN... (8-24)
В этом случае ставятся вопрос об уровне паразитной анодной модуляции усилителя одного передатчика сигналом от другого передатчика.
В соответствии с характеристиками линейного фильтра разнос частот передатчиков, работающих на один фидер, должен быть не менее 10 % рабочей частоты и не менее 10 кГц.
IF (ABS(I - D) < 0,1×I) OR (ABS(I - D) < (0,1×D)OR(ABS(I - D) < 10) THEN ... (8-25)
Осуществление такого анализа для многоканальных передатчиков, работающих на один фильтр присоединения, может быть выполнено с привлечением методики, излагаемой в разд. 8.9. При этом формула (8-25) применяется к каждой паре подканалов передатчиков, что приводит к многократной выдаче на печать ЭВМ результатов анализа перекрестных помех одной пары передатчиков.
Однозначный ответ о недопустимости параллельной работы многоканальных передатчиков на один фидер получается при сопоставлении крайних частот (левой и правой) полосы, занятой в спектре частот одним и другим передатчиком. Пусть Ш-й передатчик имеет R подканалов и Щ-й передатчик имеет S подканалов, тогда эти крайние частоты (кГц) равны I и I + 4×R - 1 для Ш-го передатчика, D и D + 4×S - 1 для Щ-го передатчика.
Если занятые передатчиками полосы частот не перекрываются, то расстояние между ними на оси частот дается величиной Q, определяемой из выражения:
IF I < D THEN Q := D - I - 4×R + 1 ELSE Q := I - D - 4×S + 1.
Если полосы частот, занятые передатчиками, перекрываются, то даваемая этим выражением величина Q отрицательна.
Во всех таких случаях одинаково применимо условие (8-25) недопустимости параллельной работы передатчиков на один фильтр присоединения; на этом основывается следующий алгоритм:
FOR Ш := 1 STEP 1 UNTIL G DO
FOR Щ := Ш + 1 STEP 1 UNTIL G DO
IF (MK[,1] = MK[,1])AND(MK[,2] = MK[,2])
AND(MK[,3] = MK[,3]) THEN
BEGIN I := MK[,10]; D := MK[,10];
R := АП[MK[,7],3]; S := АП[MK[,7],3];
IF I < D THEN Q := D - I - 4×R + 1 ELSE Q := I - D - 4×S + 1;
IF (Q < 0,1×I)OR(Q < 0,1×D)OR(Q < 8) THEN ...
Если аппаратура Ш-го канала связи R-канальна и аппаратура Щ-го канала связи S-канальна, то все подканалы аппаратуры ВЧ связи рассматриваются как независимо работающие в энергосистеме каналы связи по проводам ВЛ. В этом случае следует сопоставить каждый из R подканалов Ш-го передатчика с каждым из S подканалов Щ-го приемника, осуществляя в каждом сопоставлении проверку ограничения разноса частот с использованием выражения (8-9). Следовательно, это выражение должно быть переписано в виде:
I := МК[Ш,10]; D := МК[Щ,10]; К := МК[Щ,7];
М := МК[Ш,7]; R := АП[M,3]; S := АП[К,3];
МЕТ 9: Б := (ABS(I - D) < 0.12×D)AND
(ABS(I - D) < АП[M,14]);
IF Б = TRUE THEN
BEGIN (8-26)
Далее для первого подканала Ш-го передатчика и первого подканала Щ-го приемника выполняются операторы (8-15) - (8-23), т.е. осуществляется в полном объеме сопоставление этих подканалов.
Если проверка устанавливает наличие других подканалов в Щ-м приемнике, то с первым подканалом Ш-го передатчика сопоставляется второй подканал Щ-го приемника. Для этого достаточно сдвинуть на 4 кГц частоту приемника и уменьшить на единицу количество пока не рассмотренных каналов в Щ-м приемнике:
IF S - 1 > 0,1 THEN
BEGIN S := S - 1; D := D + 4; GO TO MET9 END. (8-27)
После перебора всех подканалов Щ-го приемника количество пока не рассмотренных подканалов S - 1 становится нулевым. Поскольку значение целого числа S взято как элемент REAL ARRAY АП, возможна погрешность того или другого знака. Эта погрешность мала сравнительно с 0,1, поэтому конец перебора всех подканалов S-го канала связи соответствует выполнение неравенства S - 1 < 0,1.
Если указанный перебор закончен, то в ячейке S восстанавливается общее количество подканалов аппаратуры Щ-го приемника, а в ячейке D восстанавливается частота первого подканала этого приемника. Затем вместо первого подканала Ш-го передатчика в рассмотрение вводится второй подканал:
S := АП[К,3]; D := МК[Щ,10];
IF R - 1 > 0.1 THEN
BEGIN R := R - 1; I := I + 4; GO TO MET9 END (8-28)
который сопоставляется с каждым подканалом Щ-го приемника.
Таким образом производится проверка возможности нормальной совместной работы каждого подканала Ш-го передатчика с каждым подканалом Щ-го приемника. Если номера передатчика и приемника совпадают: Ш = Щ, то проверяется работоспособность канала связи номер Ш. Фактически выясняется, что рабочая частота Ш-го канала меньше максимально допустимой частоты для соответствующего ВЧ тракта1. Сопоставлению подлежат подканалы передатчика и приемника с равными номерами, а возможность перекрестных помех подканалов внутри аппаратуры исключается при ее конструировании.
_____________
1 Следует отметить, что результаты сопоставления рабочей частоты канала c fмакс, выдаваемые при работе АЛГОЛ-программы, не рекомендуется рассматривать как окончательные. Уточнение следует производить по методике ч. 1 Руководящих указаний.
При анализе перекрестных помех передатчиков каналов связи учет многоканальности производится аналогично.
Частоты каналов связи до проводам ВЛ выбираются так, чтобы перекрестные помехи при совместной работе этих каналов связи в энергосистеме были ниже максимально допустимых. Поэтому при сопоставлении каналов связи энергосистемы в большинстве случаев нет противопоказаний их совместной работе. Недопустимость совместной работы каналов связи или их неработоспособность выявляется лишь в малом числе сопоставлений, для таких случаев нужна дополнительная информация о переходных затуханиях, уровнях перекрестных помех и недостающем разносе частот между каналами связи. По указанным причинам сокращение объема печати и повышение ее информативности достигается, если выдавать на печать на бумажную ленту ЭВМ информацию о несовместных или неработоспособных каналах связи энергосистемы.
При выдаче информации о перекрестных помехах передатчиков (паразитной анодной модуляции) оператор печати стоит на месте многоточия в выражении (8-25) и выполняется при условии (8-25). Это условие означает, что соответствующая разносу частот Q передатчиков ордината кривой линейного фильтра Щ-го передатчика (максимальный уровень меняющего сигнала на входе этого передатчика) меньше, чем уровень сигнала от Ш-го передатчика.
Для выполнения оператора печати формируется и выдаются в виде строки на бумажную ленту АЦПУ массив П1[1:2]. Формирование элементов этого массива выполняется как:
IF (Q < 0.1×I) OR (Q < 0.1×D) OR (Q < 8) THEN
BEGIN П1[1] := Ш; П1[2] := Щ; INOUT(‘P2-10’,П1)
END. (8-29)
При выдаче информации о помехах приему различаются два случая - совпадение или несовпадение номеров передатчика и приемника.
Если номера совпадают (Ш = Щ), то сигнал на входе приемника Щ-го канала связи, создаваемый Ш-м передатчиком, - рабочий сигнал, поэтому вычисляется разность - W уровня сигнала на входе и минимального уровня приема; из этой разности вычитается единица для учета затухания рабочего сигнала, вносимого заградителями и фильтрами присоединения, и проверяется (как показатель работоспособности канала) отрицательность числа W + 1. Для многоканальной аппаратуры ВЧ связи указанная проверка работоспособности выполняется в каждом из подканалов. Печать осуществляется, если число W + 1 положительно. При этом число V равно частоте канала или его подканала, превосходящей максимально допустимую частоту данного ВЧ тракта.
Если Ш ≠ Щ, то сигнал на входе Щ-го приемника, создаваемый передатчиком номер Ш, - это селективная помеха, и разность W равна минимальному значению разности уровней сигнал-помеха. На кривой избирательности Щ-го приемника ордината точки, абсцисса которой равна разносу частот Q каналов связи, дает минимальное по избирательности значение разности уровней сигнал-помеха, которое сравнивается со значением W, что дает число V в формуле (8-22). Печать осуществляется, если V < 0.
Оба этих случая неправильного выбора частот фиксируются выдачей на бумажную ленту АЦПУ массива П2[1:7] в виде строки. Формирование элементов этого массива различается при Ш = Щ и Ш ≠ Щ, как видно из следующего выражения:
П2[1] := Ш; П2[2] := Щ;
П2[3] := АП[М,3] - R + 1; П2[4] := АП[К,3] - S + 1;
П2[5] := U; П2[6] := W; П2[7] := V;
IF Ш ≠ Щ THEN INPUT (‘P2-10’, П2) ELSE
BEGIN IF (R = S)AND(W + 1 > 0) THEN
BEGIN П2[7] := МК[Ш,10]; INOUT(‘Р2-10’,П2)
END
END. (8-30)
При вычислении затухания, вносимого в ВЧ тракт подстанцией, используется не номер подстанции, а номера С и Е ВЛ, которые в ВЧ тракте инцидентны этой подстанции. В соответствии с табл. 5-3 и 5-4 этими номерами определяется наличие и ширина параллельного пробега ВЛ рассматриваемого ВЧ тракта на подходе к подстанции и наличие ВЧ обхода шин подстанции, входящего в тракт. При отсутствии обходов и электромагнитных связей ВЛ, проходящих в общем коридоре, вносимое шинами подстанции затухание определяется в соответствии с формулой (8-1) классом напряжения ВЛ номер С и Е.
Расчет производится в случае, когда имеется ВЧ обход с ВЛ номер С на ВЛ номер Е мимо шин подстанции, инцидентной обеим ВЛ. В этом случае у матрицы ОБ имеется строка из целых чисел С, Е для целых чисел Е, С; через J обозначим номер строки. В первом случае (сначала номер ВЛ С, затем номер ВЛ E) равен нулю первый сомножитель выражения
(С - ОБ[2×J - 1])×(С - OБ[2×J]) (8-31)
и второй сомножитель выражения
(Е - ОБ[2×J - 1])×(E - ОБ[2×J]). (8-32)
Во втором случае (сначала номер ВЛ Е, затем номер ВЧ С в J-й строке матрицы ОБ) нулю равны второй сомножитель в (8-31) и первый сомножитель в (8-32).
Таким образом, независимо от порядка номеров ВЛ в J-й строке, выражения (8-31) и (8-32) равны нулю, если эти ВЛ связаны ВЧ обходом. В остальных случаях (обхода нет) по крайней мере одно из выражений (8-31) и (8-32) отлично от нуля. Номер J-й строки в матрице ОБ находится перебором всех строк этой матрицы из следующего выражения:
Y := 0;
FOR J := 1 STEP 1 UNTIL A DO
IF ABS((C - ОБ[2×J - 1])×(С - ОБ[2×J])) + AB ((E--OБ[2×J - 1])´
´ (E - ОБ[2×J])) = 0 THEN Y := 1. (8-33)
Таким образом, число Y становится равным единице или нулю в зависимости от наличия или отсутствия ВЧ обхода, связывающего ВЛ номер С и Е.
Аналогично выражение оператора, который проверяет наличие параллельного пробега BЛ с номерами С и Е при подходе к инцидентной им подстанции, а также вычисляет переходное затухание Q через электромагнитную связь ВЛ, шунтирующую шины подстанции:
Q := 20;
FOR J := 1 STEP 1 UNTIL В DO
IF ABS((C - ЭM[3×J - 2])×(C - ЭМ[3×J - 1])) +
+ABS((E - ЭМ[3×J - 2])×(E - ЭM[3×J - 1]))=0
THEN Q := 0.67 + 0.57×SQRT(ЭМ[3×J]). (8-34)
При отсутствии параллельного пробега ВЛ номер С и Е переходное затухание электромагнитной связи ВЛ считается равным 20, а при наличии параллельного пробега переходное затухание электромагнитной связи вычисляется как функция ширины сближения ЭМ[3×J] между ВЛ номер С и Е.
Путь через шины подстанции, инцидентной ВЛ номер С и Е, имеет затухание, равное соответствующему классам напряжений ML[С,2] и МL[Е,2] элементу матрицы ZШ:
F := ZШ[ML[C,2], ML[E,2]], (8-35)
и увеличивается при наличии ВЧ заградителей, полоса заграждения которых содержит частоту I распространяющегося сигнала, если только ВЛ С и Е имеют общий класс напряжения. Каждый такой заградитель увеличивает затухание через шины подстанции на единицу:
IF ML[C,2] = ML[E,2] THEN
FOR J := C, E DO
IF (ML[J,5] < I) AND (I < ML[J,6]) (8-36)
THEN F := F + 1.
Вносимое подстанцией в ВЧ тракт затухание Y вычисляется по формуле
Y := F×(1 - Y)+0.8×Y (8-37)
и равно числу F, найденному из выражений (8-35) и (8-36), при отсутствии обхода и 0,8 при наличии ВЧ обхода шин подстанции, связывающего ВЛ номер С и Е.
Для учета возможной электромагнитной связи ВЛ, имеющих сближение на подходе к рассматриваемой подстанции, формула (8-37) дополняется следующим оператором:
Z := Q + Y - LN(EXP(2×Q) + EXP(2×Y))/2. (8-38)
При отсутствии сближения ВЛ Q имеет значение 20, в силу (8-34), а значение затухания Y, как правило, не превосходит 10. При этом EXP(2×Q) >> EXP(2×Y), поэтому LN(EXP(2×Q) + EXP(2×Y)) = 2×Q, следовательно, Z @ Y.
Формулы (8-33) - (8-38) составляют процедуру-код вычисления значения Z переходного затухания, вносимого подстанцией между ВЛ номер С и Е) в ВЧ тракт по этим ВЛ. В соответствии со входным языком транслятора ТА-2М эта процедура-код обозначается COD(‘ZBZ’, МЕТ5, МЕТ6). Отметим, что в официальном сообщении о языке АЛГОЛ-60 эта процедура-код отсутствует [Л.18].
Процедура-код COD(‘ZBZ’, МЕТ7, МЕТ8) вычисляет значение W переходного затухания, вносимого ВЛ номер С на частоте I. Этот оператор передает управление на метку МЕТ7, где записано выражение
МЕТ7: W := (K1[ML[C,7]]×SQRT(I) +
+ К2[ML[C,2], ML[C,8]]×I)×ML[C,1]×0,001 + ML[C,3]×0.4 + ML[C,4]×0.6;
MET8: COD(‘RETURN’); (8-39)
и затем передает управление на оператор, следующий за процедурой-кодом.
На ЭВМ типа М-20 (М-220, М-222, БЭСМ-4) применяются два основных транслятора с языка АЛГОЛ: ТА-1М («Сигнал») и ТА-2М. Если рабочая программа обращается к разнообразным стандартным программам и стыкуется с программами, составленными в кодах вручную, то из трансляторов имеет преимущество ТА-1М, ориентированный на библиотеку стандартных программ ИС-2; на нее также ориентируется программист-кодировщик. Транслятор ТА-2М работает с другой (менее полной) библиотекой стандартных программ ИС-22.
Изложенный алгоритм анализа распределения частот ВЧ связи в энергосистеме не использует стандартные программы и не предусматривает стыковку АЛГОЛ-программы с программами, составленными в кодах. Поэтому указанное преимущество ТА-1М перед ТА-2М оказывается несущественным в рассматриваемой задаче.
Недостатком транслятора ТА-1М является работа с одним кубом (МОЗУ) оперативной памяти ЭВМ. В этом МОЗУ (магнитном оперативном запоминающем устройстве) находится рабочая программа и все рабочие массивы, так что возникает значительный дефицит оперативной памяти ЭВМ при использовании TA-1M. В этом отношении несомненное преимущество имеет транслятор ТА-2М, который работает с двумя кубами оперативной памяти (МОЗУ-0 и МОЗУ-1).
Рабочая программа, составленная транслятором ТА-2М, располагается в МОЗУ-1, там же помещаются переменные величины и массивы числового материала, занимающие наименьшее количество ячеек памяти ЭВМ. Все остальные рабочие массивы, не умещающиеся в МОЗУ-1, засылаются транслятором ТА-2М на МБ (магнитный барабан).
Если рабочая программа обращается к массиву числового материала, находящемуся на МБ, то производится считывание этого массива с МБ в МОЗУ-0. При этом МОЗУ-0 рассматривается как совокупность 29 страниц (29 в десятеричной системе счисления равно 35 в восьмеричной системе, что будем обозначать равенством 2910 = 358*).
_____________
* Число 2910 - в десятеричной системе, число 358 - в восьмеричной системе.
В каждой странице 12810 = 2008 ячеек оперативной памяти. Считывание массива c МБ производится на чистую страницу, если такая имеется. Если в результате предшествовавших считываний рабочих массивов с МБ все страницы оперативной памяти МОЗУ-0 заняты и требуется считывание еще одного массива, то этот массив засылается на занятую страницу, причем из всех занятых страниц выбирается та, к которой программа не обращалась наибольшее количество времени. При этом информация, ранее хранившаяся на этой странице, теряется. За временем последнего обращения рабочей программы к каждой странице памяти МОЗУ-0 следит специальная программа «Часы», входящая в библиотеку ИС-22.
Программа анализа распределения частот ВЧ связи в энергосистеме характеризуется циклическим принципом работы с одновременным использованием элементов матриц ИП, ПZ, ПШ, как видно из выражения (8-14). Если соответствующие массивы числового материала считываются с МБ в МОЗУ-0 и не умещаются в оперативной памяти одновременно, то между арифметическими и логическими операторами над элементами указанных матриц, записанными в (8-14), рабочая программа будет выполнять считывание одного массива с затиранием другого, на место которого в МОЗУ-0 производится считывание. Такое затирание с потерей информации будет производиться многократно для каждого значения Ц параметра внутреннего цикла в выражении (8-14), т.е. очень часто.
Считывание с МБ в МОЗУ является обращением к внешней памяти ЭВМ, которое сопряжено с затратой значительного машинного времени и со снижением надежности правильной работы программы: вероятность сбоя ЭВМ при обращении к внешней памяти ЭВМ намного выше, чем при обращении к оперативной памяти ЭВМ.
Для повышения быстродействия и надежности работы программы анализа распределения частот следует придерживаться принципа однократного считывания массивов с МБ в МОЗУ-0. Этот принцип будет соблюден, если все рабочие массивы, получившие при трансляции место на МБ, смогут одновременно разместиться в МОЗУ-0 без наложения.
Соблюдение принципа однократното считывания рабочих массивов с МБ в МОЗУ-0 накладывает ограничения на объем памяти ЭВМ, которым располагает программа анализа распределения частот ВЧ связи в энергосистеме. Для уточнения этих ограничений производятся следующие расчеты распределения памяти для программы и рабочих массивов.
Программа анализа распределения частот занимает в МОЗУ-1 примерно 102410 = 20008 ячеек памяти независимо от параметров энергосистемы и каналов связи в ней. Распределению подлежат остальные ячейки МОЗУ-1.
При подходящем выборе числа L ВЛ, числа G каналов связи, числа А ВЧ обходов шин подстанций и числа B участков параллельного пробега ВЛ на подходе к подстанциям можно добиться того, что при трансляции все рабочие массивы программы будут засланы в свободные от программы ячейки МОЗУ-1, за исключением массивов ИП[1:Р,1:P], ПZ[1:P,1:P], ПШ[1:P,1:Р], каждый из которых занимает Р2 ячеек памяти, где Р - число подстанций энергосистемы. Эти три массива при трансляции получат место на МБ.
В ходе работы программы числовые массивы ИП, ПZ, ПШ будут считаны с МБ в МОЗУ-0 и, если соблюден принцип однократного считывания с МБ, разместятся в МОЗУ-0 без наложения. Это возможно лишь при выборе числа Р подстанций энергосистемы из неравенства
Итак, получено первое ограничение: число подстанций энергосистемы не должно превышать 35.
Почти для всех энергосистем выведенное ограничение нарушается, и для практического применения программы анализа распределения частот в энергосистемах оно должно быть ослаблено. Принцип сжатия информации при ее хранении в памяти ЭВМ позволяет заменить ограничение (8-40) более приемлемым неравенством
которое удовлетворяется для большинства предприятий электросетей в энергосистемах.
АЛГОЛ-60, являющийся входным языком транслятора ТА-2М, рассматривает содержание ячейки памяти ЭВМ как одно число. Система команд ЭВМ типа М-20, используемая при программировании в кодах, позволяет рассматривать содержимое ячейки памяти ЭВМ как последовательность нулей и единиц поразрядно. Такое использование содержимого ячейки затруднительно в рамках языка АЛГОЛ, что является дефектом языка АЛГОЛ-60. В результате затрудняется использование этого языка для построения логических программ, где переменные величины и элементы матриц принимают значения единицы или нуля.
В программе анализа распределения частот, имеющей преимущественно логический характер, переменная величина Б и элементы матрицы ИО принимают значения единицы или нуля. Элементы матриц ИП, ПШ - целые числа, и производимые в программе операции над этими элементами в большей мере логические, чем арифметические. Поэтому при составлении программы анализа распределения частот должно быть предусмотрено сглаживание упомянутого дефекта языка АЛГОЛ-60.
Для элемента (с любыми индексами) матриц ИП, ПZ, ПШ, хранящегося в памяти ЭВМ, не требуются все разряды ячейки памяти ЭВМ. Недиагональный элемент матрицы ИП может принимать значения 1, 2, 3, 4, т.е. умещается в трех двоичных разрядах (410 = 1002). Элементами матрицы ПШ служат номера ВЛ, т.е. целые числа, не превосходящие 10010 = 11001002. Следовательно, эти элементы могут уместиться в семи двоичных разрядах. Наконец, поскольку элементы матрицы ПZ равны затуханиям, а затухания не могут оказаться выше 100, для хранения элементов матрицы ПZ достаточно семи двоичных разрядов ячейки памяти ЭВМ.
Ячейка памяти ЭВМ имеет 45 двоичных разрядов, из которых можно выделить не налегающие один на другой семь разрядов для элемента матрицы ПШ, три разряда для элементов матрицы ИП и семь разрядов для элементов матрицы ПZ. В таком хранении трех элементов разных матриц в одной ячейке памяти ЭВМ и состоит принцип сжатия информации.
Проиллюстрируем принцип сжатия информации на примере трех элементов ИП[Ш,Щ], ПZ[Ш,Щ], ПШ[Ш,Щ] рассматриваемых трех матриц.
Положим ПШ[Ш,Щ] = Ц, т.е. кратчайший путь от подстанции номер Щ, до подстанции номер Ш начинается с ВЛ номер Ц; пусть ИП[Ш,Щ] = Ф, следовательно, этот путь состоит из Ф ВЛ; пусть ПZ[Ш,Щ] = Z, т.е. на частоте 250 кГц затухание вдоль этого пути составляет Z Нп. Тогда определим вещественное (нецелое) число
IZ[Ш,Щ] := 1000×Ц + 100×Ф + Z. (8-42)
Формула (8-42) позволяет по матрицам ИП, ПZ, ПШ построить матрицу REAL ARRAY IZ[1:P,1:P]. Обратный переход от матрицы IZ к тройке матриц ИП, ПZ, ПШ осуществляется по формулам в следующем порядке:
Ц := ENTIER (IZ [Ш,Щ]/1000); (8-43)
Ф := ENTIER ((IZ [Ш,Щ] - 1000×ENTIER (IZ [Ш,Щ]/1000))/100); (8-44)
Z := IZ [Ш,Щ] - 1000×ENTIER (IZ [Ш,Щ]/1000) - 100×ENTIER((IZ [Ш,Щ] - 1000×ENTIER(IZ [Ш,Щ]/1000))/100). (8-45)
Если номер Ц ВЛ меньше 10, то соответствующий элемент матрицы IZ имеет порядок величины 104. Если номер ВЛ удовлетворяет неравенству 10 ≤ Ц < 100, то соответствующий элемент матрицы IZ имеет порядок величины 105.
Если кратчайший путь в энергосистеме между подстанциями номер Ш и Щ состоит более чем из четырех ВЛ (Ф > 4), то без конкретной проверки ясно, что путь достаточно длинный и затухание вдоль него достаточно велико, чтобы не возникало взаимных помех для каналов связи на этих подстанциях. В таких случаях можно отказаться от нахождения самого кратчайшего пути и вычисления затухания вдоль него, а соответствующим элементом матрицы IZ присвоить вместо (8-42) единое значение
IZ [Ш,Щ] := 77; (8-46)
При этом выражения (8-43) - (8-45) становятся излишними.
Наконец, диагональным элементам матрицы IZ присваивается значение минус 100.
Если, используя принцип сжатия информации при ее хранении в памяти ЭВМ, заменить тройку матриц ИП, ПZ, ПШ[1:Р,1:Р] одной матрицей IZ[1:Р,1:Р], то в рассматриваемой программе принцип однократного считывания рабочих массивов с МБ в МОЗУ-0 сведется к размещению матрицы IZ в МОЗУ-0. Это возможно, если для числа Р подстанций в энергосистеме выполняется ограничение (8-41).
Остальные рабочие массивы программы анализа распределения частот должны при трансляции получить место в МОЗУ-1. Поскольку массивы ML, ОБ, ЭМ, МК занимают в МОЗУ-1 количество ячеек, пропорциональное числам L, А, В, G, соответственно, размещение этих массивов вместе с рабочей программой, массивами АП, ZШ, К1, К2 и переменными величинами программы в МОЗУ-1 накладывает ограничения на величины L, А, В, G.
Число L ВЛ следует выбирать несколько большим числа Р подстанций в той же энергосистеме, имея в виду возможность связи пары подстанций более чем одной ВЛ в некоторых случаях. Поэтому принимается ограничение
L ≤ 80. (8-47)
Число A ВЧ обходов шин подстанций в энергосистеме выбирается вдвое меньшим числа подстанций Р, т.е. принимается ограничение
А ≤ 30. (8-48)
Число В участков параллельного пробега ВЛ на подходах к подстанциям принимается в соответствии с ограничением
В ≤ 27. (8-49)
С использованием ограничений (8-47) - (8-49) можно рассчитать распределение памяти МОЗУ-1 для рабочей программы и простых переменных (предполагаем, что они займут в MОЗУ-1 ячейки 0011-2000) и рабочие массивы. При этом используется табл. 8-1.
Таблица 8-1
|
Количество занятых ячеек |
|||
|
Наименование |
Размерность |
в десятеричной системе |
в восьмиричной системе |
|
АП |
[1:20, 1:14] |
280 |
430 |
|
ZШ |
[1:6, 1:6] |
36 |
44 |
|
К1 |
[1:12] |
12 |
14 |
|
К2 |
[1:6, 1:4] |
24 |
30 |
|
П1 |
[1:2] |
2 |
2 |
|
П2 |
[1:7] |
7 |
7 |
|
ML |
[1:80, 1:10] |
800 |
1440 |
|
OБ |
[1:30, 1:2] |
60 |
74 |
|
ЭМ |
[1:27, 1:3] |
81 |
121 |
|
МК |
[1:6, 1:10] |
G×10 |
|
Получается распределение памяти МОЗУ-1:
- ячейки 0011-1735 - оттранслированная программа и простые переменные;
- ячейки 1736-2365 - массив АП;
- ячейки 2366-2461 - массив ОБ;
- ячейки 2462-2525 - массив ZШ;
- ячейки 2526-2527 - массив П1;
- ячейки 2530-2536 - массив П2;
- ячейки 2537-2552 - массив К1;
- ячейки 2553-2602 - массив К2;
- ячейки 2603-2723 - массив ЭМ;
- ячейки 2724-5537 - массив МК;
- ячейки 5540-7177 - массив МL;
- ячейки 7200-7477 - рабочее поле ИС-22;
- ячейки 7500-7777 - первая часть ИС-22.
Итак, для массива MК имеем свободных ячеек 26148 = 142010, поэтому для числа G симплексных каналов связи в энергосистеме из выражений (8-47) - (8-49) получается ограничение
обеспечивающее максимально возможное использование памяти MОЗУ-1, так как в этом кубе оперативной памяти не остается ни одной свободной ячейки.
Ограничение (8-50) удовлетворяется, если общее число дуплексных каналов связи по проводам ВЛ без промежуточных усилителей не превосходит 71.
Распределение памяти МОЗУ-0 получается таким:
- ячейки 0001-0077 - табл. 1 и 2 для СП-0070 (так называемые часы),
- ячейки 0100-7277 - «страницы» для CП-0070, которые в ходе работы программы будут использованы для однократного считывания массива IZ;
- ячейки 7300-7767 - вторая часть ИС-22.
Распределение памяти МБ при трансляции программы: ячейки 400000-407020 - первоначальная засылка массива IZ.
Блок распределения памяти в трансляторе ТА-2М обычно работает автоматически, засылая наибольшее возможное количество массивов в МОЗУ-1 в минимально необходимое количество массивов на МБ. Принятые ограничения (8-47) - (8-50) должны были обеспечить такой результат автоматического распределения памяти транслятором TA-2М, который изложен в разд. 8.14: все массивы, кроме IZ, вместе с простыми переменными и оттранслированной программой располагаются в МОЗУ-1.
Попытка трансляции АЛГОЛ-программы с автоматическим распределением памяти транслятором ТА-2М на М-222 дали другой результат: часть массивов, для которых есть свободное место в МОЗУ-1, засылается на МБ вместе с массивом IZ, так что при работе такой программы будет нарушаться принцип однократного считывания с МБ в МОЗУ-0. Указанная нечеткость работы транслятора ТА-2М снижает качество оттранслированной программы.
Указанное затруднение преодолевается при отказе от автоматического распределения памяти транслятором ТА-2М. Входным языком транслятора TA-2М предусматривается возможность принудительного распределения памяти, которая реализуется введением предварительного комментария
COMMENT DO NORED; 001735, MOZ, 400000, MZU.
Он означает, что в МОЗУ-1 автоматически используются транслятором лишь ячейки до 1735-й, а все остальные заполняются в соответствии с комментарием для исполнения
COMMENT DO IZ, 3600, АП, MOZ, 001736, ОБ, MOZ, 002366, ZШ, MOZ, 002462, П1, MOZ, 002526, П2, MOZ, 002530, K1, MOZ, 002537, K2, MOZ, 002553, ЭМ, MOZ, 002603, MK, MOZ, 002724, ML, MOZ, 005540;
Этот комментарий для каждого массива, кроме IZ, указывает его адрес в МОЗУ-1, соответствующий распределению памяти разд. 8.14.
Автоматически распределяется транслятором память в МОЗУ-1 до ячейки 1736-й (сюда засылается оттранслированная программа вместе с простыми переменными) и память на МС (сюда засылается массив IZ).
При работе программы анализа распределения частот предварительно на МБ-0 вызывается ИС22, затем вводится карта начала работы оттранслированной программы и оттранслированная программа (возможно считывание оттранслированной программы с магнитной ленты, при этом не нужна колода перфокарт рабочей программы). Вслед за этим должны быть введены те массивы числового материала, которые неизменны для всех расчетов по программе: массивы АП, ZШ, К1, К2. Это осуществляется нулевым блоком рабочей программы:
COMMENT DO NORED, 001735, MOZ, 400000, MZU;
BEGIN REAL Z, Y, U, V, W, Q, R, S, T, F; BOOLEAN Б;
INTEGER C, D, E, H, I, J, K, L, M, Р, Ф, Х, А, В, Ц, Ч, Ш, Щ;
REAL ARRAY K1[1:12], K2[1:6,1:4], АП[1:20,1:14], ZШ[1:6,1:6], П1[1:2], П2[1:7];
COMMENT DO K1, MOZ, 002537, K2, MOZ, 002553, ZШ, MOZ, 002462, АП, MOZ, 001736, П1, MOZ, 002526, П2, MOZ, 002530;
INOUT (‘R10-2’, K1, K2, ZШ, АП, А, В, Р, L, G, T, F). (8-51)
Выражение (8-51) осуществляет также ввод чисел A, B, P, L, G, Т, F, которые зависят от конкретной энергосистемы и каналов связи по ее ВЛ и должны быть в памяти перед вводом массивов ОБ, ЭМ, ML, МК, конкретизирующих энергосистему и ее каналы связи. Ввод этих изменяющихся от расчета к расчету массивов осуществляется первым блоком рабочей программы:
BEGIN REAL ARRAY IZ[1:P,1:P];
INTEGER ARRAY ОБ[1:2×А], ЭМ[1:3×В], ML[1:L,1:10], MK[1:G,1:10];
COMMENT DO IZ, 3600, ОБ, MOZ, 002366, ЭM, MOZ, 002603, ML, MOZ, 005540, MK, MOZ, 002724;
INOUT (‘R10-2’, ОБ, ЭМ, ML, MK);
INOUT (‘P2-10’, F); (8-52)
Таким образом, в начале сводной колоды ставятся массивы, неизменные во всех расчетах по программе: программа, массивы К1, К2, ZШ, АП, затем переменная часть сводной рабочей колоды: числа А, В, Р, L, G, T, F, пробитые каждое на своей перфокарте со своей контрольной суммой, и массивы ОБ, ЭM, ML, MK.
В этом же первом блоке находится первый оператор печати INOUT (‘P2-10’, F), фиксирующий на бумажной ленте ЭВМ расчетное значение коэффициента учета запаса по перекрываемому затуханию.
Список
использованной литературы
2. Агафонов С.С., Каган В.Г., Михайлов К.Е., Цитвер И.И. Проектирование высокочастотных каналов по линиям электропередачи. М., «Энергия», 1967, 400 с.
3. Костенко М.В., Перельман Л.С., Шарин Ю.П. Волновые процессы и электрические помехи в многопроходных линиях высокого напряжения. М., «Энергия», 1973, 270 с.
4. Руководящие указания по расчету параметров и выбору схем высокочастотных трактов по линиям электропередачи. М., «Энергия», 1975, 54 с.
5. Микуцкий Г.В., Скитальцев B.C. Высокочастотная связь по линиям электропередачи. М., «Энергия», 1969, 447 с.
6. Цитвер И.И., Шкарин Ю.П. Разделительный высокочастотный фильтр на ВЛ 500 кВ. «Электрические станции», 1973, № 10, с. 81 - 83.
8. Шкарин Ю.П. Определение диапазона частот повышенного затухания высокочастотного тракта с обходом и рекомендации по уменьшению затухания. - В кн.: Вопросы эксплуатация устройств связи и телемеханики в энергосистемах. Вып. 13. М., «Энергия», 1973, с. 197 - 213.
9. Куравлев Э.Н. Радиопомехи от коронирующих линий электропередачи. М., «Энергия», 1971, 199 с.
10. Быховский Я.Л., Кафиева К.Я. Высокочастотная связь в энергосистемах. М., «Энергия», 1974, 150 с.
13. Захар-Иткин М.Х. Перераспределение частот высокочастотной связи в энергосистеме. Труды ВНИИЭ. Вып. 32, 1968, с. 89 - 100.
14. Захар-Иткин М.Х., Белоусова С.В. О технических условиях на использование ЦВМ для выбора частот высокочастотной связи по линиям электропередачи. Тезисы доклада на Симпозиуме по электромагнитной совместимости. НТО радиотехники, электроники и связи им. А.С. Попова, М., 1972, с. 27 - 29.
19. Брудно А.Л. АЛГОЛ. «Наука», 1968.
20. Козловская Т.Я., Кузнецова Т.П., Крус В.П., Бяковский Ю.М. Инструкция по эксплуатации математического обеспечения TA-2М. АН СССР, Комиссия по эксплуатации вычислительных машин. Москва, 1969.
СОДЕРЖАНИЕ
|
Часть I. Выбор частот и электрический расчет высокочастотных каналов. 3 Глава 1. Выбор частот высокочастотных каналов. 3 1.2. Правила определения предпочтительного диапазона для размещения частот каналов. 4 1.4. Определение минимального разноса частот между каналами. 20 1.5. Определение переходных затуханий. 22 1.6. Рекомендации по схемам подключения автоматического локационного искателя повреждений. 24 Глава 2. Электрический расчет высокочастотных каналов. 25 2.1. Расчетные условия и последовательность проведения расчетов. 25 2.2. Определение высокочастотных помех от короны на фазных проводах ВЛ.. 26 2.3. Расчет затухания элементов высокочастотного тракта канала. 27 2.4. Расчет высокочастотных каналов. 36 Глава 3. Пояснения к главам 1 и 2. 37 Глава 4. Примеры выбора частот высокочастотных каналов. 49 Часть II. Анализ распределения частот высокочастотных каналов с помощью ЭВМ... 96 Глава 5. Исходные данные об энергосистеме и каналах связи и расчетные формулы.. 96 5.1. Систематизация исходных материалов для энергосистемы и каналов связи. 96 5.2. Сведения о существующих типах подстанций и линий электропередачи. 98 5.3. Данные о типах высокочастотной аппаратуры.. 99 5.4. Формулы для расчета помех передаче и приему в каналах высокочастотной связи энергосистем.. 100 Глава 6. Алгол-программа анализа распределения частот в энергосистеме. 103 6.1. Структура программы и функции ее основных частей. 103 6.2. Трансляция АЛГОЛ-программы анализа распределения частот энергосистемы.. 103 6.5. Варианты использования АЛГОЛ-программы.. 117 Глава 7. Пример расчета по программе анализа распределения частот. 118 Глава 8. Методика и алгоритм анализа распределения частот в энергосистеме с помощью ЭВМ... 130 8.1. Матрицы числового материала для анализа распределения частот в энергосистеме. 130 8.2. Схема энергосистемы и ее задание матрицами инциденций. 131 8.3. Принцип перебора точек энергосистемы и каналов связи. 132 8.4. Нахождение кратчайшего пути между двумя подстанциями энергосистемы.. 134 8.5. Хранение в памяти ЭВМ всех кратчайших путей между подстанциями энергосистемы.. 135 8.7. Анализ помех приему по кривым избирательности приемников. 137 8.8. Анализ перекрестных помех передатчиков, работающих на общий фильтр присоединения. 139 8.9. Учет многоканальности аппаратуры высокочастотной связи. 139 8.10. Способ выдачи на печать результатов анализа. 140 8.12. Использование памяти ЭВМ программами, составленными транслятором ТА-2М... 142 8.13. Принцип сжатия информации при ее хранении в памяти ЭВМ... 143 8.15. Комментарии в АЛГОЛ-программе и порядок ввода числового материала. 146 |