РОССИЙСКОЕ АКЦИОНЕРНОЕ ОБЩЕСТВО ЭНЕРГЕТИКИ И ЭЛЕКТРИФИКАЦИИ РАО «ЕЭС РОССИИ»
ДЕПАРТАМЕНТ СТРАТЕГИИ РАЗВИТИЯ И НАУЧНО-ТЕХНИЧЕСКОЙ ПОЛИТИКИ
Утверждаю
Первый зам. начальника Департамента
стратегии развития и научно-технической
политики
_______________________ А.П. Берсенев
«13» марта 1998 г.
МЕТОДИЧЕСКИЕ УКАЗАНИЯ
ПО ПОДГОТОВКЕ И ПРОВЕДЕНИЮ
ХРОМАТОГРАФИЧЕСКОГО АНАЛИЗА ГАЗОВ,
РАСТВОРЕННЫХ В МАСЛЕ СИЛОВЫХ ТРАНСФОРМАТОРОВ
РД 34.46.303-98
Срок действия установлен
с 01.05.1998 г. до 01.05.2003 г.
Разработано: АО ВНИИЭ, АО ВТИ и ВС АО Ленэнерго.
Исполнители: В.В. Бузаев, Г.К. Колобаев, Ю.Н. Львов, Н.Ю. Смоленская, Ю.М. Сапожников (АО ВНИИЭ); Т.В. Глазунова, Р.А. Липштейн (АО ВТИ); Н.И. Калачева (ВС АО Ленэнерго).
Утверждено: Департамент стратегии развития и научно-технической политики РАО «ЕЭС России» «13» марта 1998 г.
СПИСОК ИСПОЛЬЗОВАННЫХ ОБОЗНАЧЕНИЙ
hшум - величина шума детектора, см;
- поправка, учитывающая потерю i-ого газа в газовом
пузырьке, образовавшемся при транспортировке и хранении пробы масла;
Vгп - объем газового пузырька, образовавшегося в шприце при транспортировке и хранении пробы масла, мл;
Vмш - объем масла в шприце при транспортировке и хранении, мл;
Вi - коэффициент растворимости i-ого газа в масле;
с - больший (продольный) размер газового пузырька, см;
d - меньший (поперечный) размер газового пузырька, см;
dкол. - внутренний диаметр хроматографической колонки, см;
dчacт. - размер частиц сорбента, см;
lкол.. - длина хроматографической колонки, см;
Vсорб. - объем сорбента в колонке, мл;
tотн. - относительное время удерживания;
tx - время удерживания компонента х, сек;
tcт. - время удерживания компонента, выбранного за стандарт, сек;
Si - площадь пика i-ого газа на хроматограмме, см;
hi - высота пика i-ого газа на хроматограмме, см;
- ширина пика i-ого газа на половине его высоты, см;
Aiгр - граничная концентрация i-ого газа в масле, % об.;
а и b - ширина неполностью разделенных пиков, измеренная на половине высоты каждого пика, соответственно, с внешней стороны к области перекрывания, см;
aiг - концентрация i-ого газа в газовой фазе, % об.;
Vni - объем i-ой градуировочной петли, мл;
Vдоз. - внутренний объем крана-дозатора, мл;
Ai (1.2)г - концентрация i-ого газа в градуировочной смеси в баллоне (1 или 2 уровень), % об.;
Vпр - объем рабочей петли крана-дозатора, мл;
Т - температура, при которой проводится градуировка, °С;
Siг - площадь пика i-ого газа на хроматограмме при градуировке по газовым смесям, см2;
ais(г) - градуировочный коэффициент аi для i-ого газа при градуировке по газовым смесям и площади в качестве измеряемого параметра;
bis(г) - градуировочный коэффициент bi для i-ого газа при градуировке по газовым смесям и площади в качестве измеряемого параметра;
hiг - высота пика i-ого газа на хроматограмме при градуировке по газовым смесям, см;
аih(г) - градуировочный коэффициент аi для i-ого газа при градуировке по газовым смесям и высоте в качестве измеряемого параметра;
bih(г) - градуировочный коэффициент bi для i-ого газа при градуировке по газовым смесям и высоте в качестве измеряемого параметра;
Viг - объем пробы i-ого газа, взятый для приготовления газовой смеси, мл;
Р - атмосферное давление в момент приготовления градуировочной смеси, мм рт. ст.;
Агi - концентрация основного компонента в i-ом газе, взятом для приготовления градуировочной газовой смеси, % об.;
Vш - общий объем газа в шприце при приготовлении градуировочной смеси, мл;
Ai(град)м - концентрация i-ого газа в градуировочном масляном растворе, % об.;
Vдг - объем пробы газовой смеси, взятой для приготовления раствора газов в масле, мл;
Vг - объем газовой фазы в шприце, мл;
Vм - объем масла в шприце, мл;
V0 - общий объем системы газ-масло в шприце, мл;
Siм - площадь пика i-ого газа на хроматограмме при градуировке по растворам газов в масле, см2;
ais(м) - градуировочный коэффициент ai для i-ого газа при градуировке по растворам газов в масле и площади в качестве измеряемого параметра;
bis(м) - градуировочный коэффициент bi для i-ого газа при градуировке по растворам газов в масле и площади в качестве измеряемого параметра;
hiм - высота пика i-ого газа на хроматограмме при градуировке по растворам газов в масле, см;
aih(м) - градуировочный коэффициент аi для i-того газа при градуировке по растворам газов в масле и высоте в качестве проверяемого параметра;
bih(м ) - градуировочный коэффициент bi для i-того газа при градуировке по растворам газов в масле и высоте в качестве измеряемого параметра;
Aiм - концентрация i-того газа в масле, % об.;
Аi(нас)м - концентрация i-того газа в насыщенном газом масле, % об.;
Vдм - объем пробы насыщенного газом масла, взятый для приготовления раствора газа в масле, мл;
Vмс - объем масла в сосуде, в котором подготавливается раствор газа в масле, мл;
- среднее
квадратическое отклонение за счет случайной погрешности измерения концентрации
i-того газа в масле;
L - число параллельных анализов образца масла;
l - число контрольных точек на градуировочной характеристике;
m - число параллельных измерений в каждой контрольной точке на градуировочной характеристике;
Уi(ан) - высота или площадь пика i-ого газа при анализе, см или см2, соответственно;
- генеральное среднее значение высоты или площади
i-ого газа при градуировке, см или см2;
xi - концентрация i-ого газа в газовой смеси или масляном растворе, % об.;
(отн) - относительная неучтенная систематическая
погрешность;
Yi - площадь или высота пика на хроматограмме, см или см2, соответственно;
DВi, DVг, DVм, DYi - погрешности измерения коэффициента растворимости i-oгo газа, газового и масляного объемов в шприце, а также высоты или площади пика i-ого газа на хроматограмме;
D - суммарная погрешность измерения;
(абс) - абсолютная неучтенная систематическая погрешность;
К - коэффициент для расчета суммарной погрешности измерения;
tp, f - коэффициент Стьюдента;
S - суммарное среднее квадратическое отклонение результата измерения.
Настоящие Методические указания составлены на основе накопленного в России опыта применения «Методических указаний по подготовке и проведению хроматографического анализа газов, растворенных в масле силовых трансформаторов» РД 34.46.303-89 (М: СПО Союзтехэнерго, 1990), с учетом рекомендаций публикации МЭК 567 и вводятся взамен «Методических указаний по обнаружению повреждений в силовых трансформаторах с помощью анализа растворенных в масле газов» (М: СПО Союзтехэнерго, 1979), упомянутого выше РД 34.46.303-89, Приложения № 1 к РД 34.46.303-89, утвержденного Департаментом науки и техники РАО «ЕЭС России» 29.12.1994 г. и «Инструкции по калибровке хроматографического комплекса, предназначенного для измерения растворенных в изоляционных маслах газов, с использованием относительных коэффициентов чувствительности» № 34-70-008-84 (М: СПО Союзтехэнерго, 1985).
В Методических указаниях изложены: способы отбора, транспортировки и хранения проб масла, извлечения газов из масла, приготовления градуировочных газовых смесей и растворов газов в масле, градуировки хроматографического комплекса, обработки результатов анализа с учетом суммарной погрешности измерения, а также рекомендуемая аппаратура для проведения измерения содержания газов в масле силовых трансформаторов.
Методические указания рекомендуются к применению персоналу электрических станций, электрических сетей, подстанций, а также наладочных и ремонтных предприятий.
1.1. Настоящие Методические указания предназначены для определения растворенных в трансформаторных маслах: водорода - Н2, оксида углерода - СО, диоксида углерода - СО2, метана - СН4, ацетилена - С2Н2, этилена - С2Н4, этана - С2Н6.
1.2. Определение указанных газов в трансформаторном масле проводят с использованием методов анализа равновесного пара (АРП) или «полного извлечения» без вакуума.
Метод АРП предполагает извлечение газов из масла путем равновесного распределения анализируемых компонентов между жидкой (масло) и газовой фазами. Метод «полного извлечения» без вакуума реализуется в приставке ВТИ с использованием барботажа.
пламенно-ионизационный детектор (ДИП) для определения метана, ацетилена, этилена, этана, а также для определения оксида и диоксида углерода в виде метана при их анализе на хроматографических установках, имеющих в своем составе устройства, превращающие их в метан (метанаторы) с использованием в качестве газов-носителей гелия или аргона;
детектор по теплопроводности (ДТП) для прямого определения водорода с использованием в качестве газа-носителя аргона, а также оксида и диоксида углерода с использованием в качестве газа-носителя гелия;
термохимический детектор (ДТХ) для определения водорода и оксида углерода с использованием в качестве газа-носителя гелия.
1.4. Предел обнаружения определяемых в масле газов должен быть не выше:
для водорода - 0,0005 % об.
для метана, этилена, этана - 0,0001 % об.
для ацетилена - 0,00005 % об.
для оксида и диоксида углерода - 0,002 % об.
Предел обнаружения газов в масле в зависимости от метода градуировки определяется следующим образом:
при градуировке по газовым смесям по формуле
Предел обнаружения =
(1)
при градуировке по растворам газов в масле по формуле
Предел обнаружения =
(2)
Здесь и далее буквенные обозначения параметров в расчетных формулах приведены на стр. 4 - 5.
1.5. Градуировку хроматографических установок осуществляют по растворам всех анализируемых газов с известной концентрацией в газе-носителе или в масле.
1.6. Требования к суммарной погрешности выполнения измерений концентраций газов, растворенных в трансформаторном масле, приведены в таблице 1.
Таблица 1
|
Суммарная погрешность измерения, (% отн.) |
|
|
менее 0,001 |
более 50 |
|
0,001 - 0,005 |
не более 50 |
|
0,005 - 0,05 |
не более 20 |
|
более 0,05 |
не более 10 |
1.7. Сходимость результатов двух параллельных анализов одного и того же образца масла при концентрации анализируемого газа в нем выше 0,001 % не должна превышать 10 % относительно среднего значения.
2.1. Отбор проб масла.
2.1.1. Отбор проб масла из трансформаторов осуществляют в стеклянные медицинские шприцы емкостью 10 - 100 мл.
Недопустим отбор масла в пластмассовые шприцы!!!
Недопустим отбор проб масла из открытой струи!!!
Недопустим контакт масла с атмосферным воздухом при отборе!!!
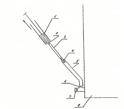
2.1.4. При отборе проб масла из трансформатора (рис. 1) маслоотборный штуцер (6) должен быть очищен от загрязнений. Отбор масла из штуцера бака трансформатора (6) осуществляют с помощью маслоотборного устройства, которое может состоять, например, из резиновой трубки (5) с внутренним диаметром 4 - 6 мм, металлического или стеклянного переходника (4) и вакуумной или обычной резиновой трубки (3) с внутренним диаметром 2 - 3 мм. Основным требованием к маслоотборному устройству является обеспечение герметичного соединения штуцера бака трансформатора и шприца-пробоотборника, поэтому один его конец должен плотно надеваться на штуцер (6), а другой на шлиф (конюлю) шприца (2). В другом варианте устройство состоит из резиновой трубки и металлической трубки с приваренным наконечником медицинской иглы. Резиновая трубка плотно надевается на маслоотборный штуцер, а наконечник иглы - на шлиф шприца.
При отборе масла в шприцы необходимо поддерживать такую скорость истечения масла из маслоотборного устройства, чтобы исключить попадание в шприц атмосферного воздуха и выделение газов из масла (отсутствие видимых пузырей и завихрений в струе масла).
Из каждого трансформатора целесообразно отбирать два шприца с маслом. При использовании шприцев емкостью более 20 мл допускается отбор масла в один шприц.
2.1.5. Для отбора проб масла к маслоотборному штуцеру (6) подсоединить маслоотборное устройство (3 - 5). Осторожно открыть вентиль (7) на баке трансформатора (8) и слить 1 - 2 л масла (для промывки отверстия штуцера и шланга), приподняв вверх свободный конец маслоотборного устройства для удаления из него пузырьков воздуха.
Перед заполнением маслом шприц промывается. Для этого в свободный конец маслоотборного устройства ввести шприц шлифом в отверстие шланга и заполнить его маслом. Масло из шприца слить. Процедуру промывки шприца повторить не менее 3 раз. После промывки заполнить шприц маслом, повернуть его шлифом вертикально вверх и заглушить либо заглушкой, выполненной из обрезанной и запаянной медицинской иглы, либо медицинской иглой, заглушенной резиновой пробкой. Закрыть вентиль (7). При установке заглушки на шлиф шприца необходимо следить за тем, чтобы в шприц не попал воздух, для чего эту операцию проводят с одновременным надавливанием на поршень шприца.
Насухо обтереть шприц, провести его маркировку и подготовить сопроводительную документацию.
2.1.6. В сопроводительной документации должны быть указаны следующие сведения: место установки трансформатора, его тип, мощность, класс напряжения, завод изготовитель, заводской номер, станционный (подстанционный) номер, дата изготовления и ввода в эксплуатацию, нагрузка во время отбора пробы, марка масла, температура масла, вид защиты масла, причина отбора, дата отбора, фамилия лица, проводившего отбор пробы.
2.2. Транспортировка проб масла.
2.2.1. Пробы масла транспортируют в герметично закрытых шприцах, помещенных либо горизонтально, либо вертикально заглушками вниз в специальных контейнерах (рис. 2).
2.2.2. При транспортировке необходимо избегать сильной вибрации и тряски, резких перепадов температур и попадания света на пробы масла.
2.3. Хранение проб масла.
2.3.1. Пробы масла хранят при комнатной температуре в защищенном от света месте в герметично закрытых шприцах, проверенных по п. 2.1.2. настоящих МУ, до семи дней, проверенных по п. 2.1.3. - до двух недель.
Если в шприце с отобранной пробой масла имеется пузырек газа, его необходимо удалить из шприца, причем, в зависимости от его размера потерей анализируемого газа в нем можно либо пренебречь, либо учитывать ее при расчетах.
Если объем пузырька газа не превышает 0,25 % от объема масла, то потерю газов в нем можно не учитывать. Например, для объема масла 20 мл допустим пузырек газа диаметром менее 5 мм.
Если объем пузырька газа в шприце превышает 0,25 % от объема масла, то в конечный результат расчета содержания каждого газа в масле (п. 6 настоящих МУ) необходимо внести соответствующую поправку. В общем виде эта поправка выглядит следующим образом
(3)
Объем пузырька газа в шприце, образовавшегося при транспортировке и хранении, рассчитывается по формуле
(4)
Разгерметизированные шприцы анализу не подвергаются!!!
3.1. Извлечение газов из масла по методу АРП.
Метод заключается в извлечении инертным газом растворенных в масле газовых компонентов до их равновесного распределения между жидкой и газовой фазами герметичного сосуда при комнатной температуре и атмосферном давлении.
Выделение газов из масла может проводиться как в шприцах-пробоотборниках с заводской градуировкой, так и в специальных градуированных устройствах.
3.1.1. Выделение газов из масла в шприцах-пробоотборниках с заводской градуировкой.
При отборе масла из бака трансформатора в один шприц, часть масла переводится в другой шприц для параллельного анализа. При отборе масла в два шприца излишки масла из них можно либо удалить, либо перевести в другие шприцы для повторного анализа.
Перевод масла из одного шприца в другой производится с помощью переходника, надетого на шлифы шприцев. В качестве переходника можно использовать, например, кусок хлорвиниловой трубки длиной 1,5 - 2 см с внутренним диаметром около 3 мм.
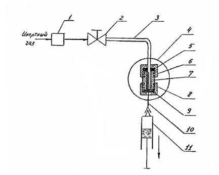
Шприц заполняется инертным газом, объем (Vг) которого соответствует объему в выбранном соотношении Vг/ Vм. При заполнении шприца инертным газом возможно применение устройства, показанного на рис. 3. При этом инертный газ с давлением не более 0,05 мПа (0,5 кГс/см2) и расходом 20 - 30 мл/мин. подается в медицинскую иглу (10) через металлический капилляр (3) и соединительный узел (4). Игла (10) продувается инертным газом в течение 1 мин., после чего в нее вводится шлиф медицинского шприца (11) и шприц заполняется инертным газом.
Шприц, при заполнении его инертным газом, следует располагать шлифом вверх, а шток поршня придерживать, чтобы исключить его самопроизвольное опускание и для фиксации его в нужном положении.
Шприц, после заполнения газом, герметизируется при помощи заглушки. Таким образом, получается замкнутый объем с заданным соотношением газа и масла (Vг /Vм).
Отношение объемов газа и масла в шприце (Vг /Vм) выбирается так, чтобы объем анализируемой газовой фазы обеспечивал продувку петли дозатора и линии, соединяющей шприц с дозатором, трехкратным объемом газа.
Как правило, отношение Vг/Vм находится в пределах 1,0 - 3,0.
3.1.2. Выделение газов из масла в специальных градуированных устройствах.
Специальные градуированные устройства изготавливаются на основе стеклянных медицинских шприцев 50 - 100 мл со стеклянным поршнем (рис. 4).
Это устройство многофункционально и может использоваться, кроме того, для составления и разбавления газовых смесей, приготовления стандартных образцов масла с известным содержанием газов и определения коэффициента распределения.
Градуировка такого шприца проводится весовым способом по пятикратному заполнению дистиллированной водой с фиксированием положения поршня шаблонами разной высоты, отвечающими объему дозируемого масла Vм и общему объему гетерогенной системы Vo.
3.1.2.1. Дозирование масла.
Из шприца-пробоотборника с помощью специальной иглы (с внешним диаметром 2 мм) в вертикально закрепленный сосуд для установления равновесия вводят чуть более 20 мл трансформаторного масла. Затем к выдвинутой части поршня прижимают шаблон для дозирования масла Vм (как показано на рис. 4) и движением поршня вверх вытесняют избыток масла в шприц-пробоотборник, оставляя в сосуде для установления равновесия объем масла, определенный предварительной градуировкой шприца с применением шаблона Vм.
3.1.2.2. Дозирование инертного газа.
При фиксировании положения поршня специального устройства по шаблону Vм шприц-пробоотборник отсоединяют от этого устройства, подсоединяют к нему инертный газ (аргон или гелий) с расходом до 30 мл/мин. и вводят газ до максимального соприкосновения поверхности поршня и шаблона Vo, соответствующего общему объему системы газ-масло в устройстве. Затем перекрывают подачу газа, отсоединяют газовую линию, движением поршня вверх фиксируют общий объем гетерогенной системы по шаблону Vo и герметизируют шприц заглушкой.
3.1.3. Установление равновесного распределения газовых компонентов между жидкой и газовой фазами.
Устройство для извлечения газов из масла переводят в горизонтальное положение и перемешивают содержимое шприца на механических установках в течение времени, определенного ниже описанным способом.
Равновесное распределение газовых компонентов, растворенных в масле, между жидкой и газовой фазами характеризуется отсутствием зависимости концентраций газовых компонентов в газовой фазе от времени контакта фаз.
Время достижения равновесия, главным образом, зависит от способа перемешивания и соотношения объемов фаз и устанавливается экспериментально путем построения графической зависимости сигнала детектора наиболее растворимого в масле газового компонента от времени контакта фаз.
Для этого при прочих равных условиях (заполнение сосуда для установления равновесия проводится по п.п. 3.1.1. и 3.1.2.) и увеличении времени контакта фаз на 2 - 5 мин. проводится 6 - 7 анализов одного и того же масла. На оси ординат откладываются площади или высоты пиков на хроматограмме (сигналы детекторов). На оси абсцисс - время контакта фаз газовой фазы и масла. Результаты анализа представляют в виде линии, проходящей через экспериментальные точки в указанной системе координат.
За равновесный сигнал детектора принимают среднее значение сигналов 2 - 3 последовательных анализов, различие между которыми не превышает 5 % от среднего значения. «Равновесное» значение сигнала детектора откладывают на оси ординат и через эту точку проводят прямую линию, параллельную оси абсцисс. Из точки пересечения или касания прямой и кривой линии опускают перпендикуляр на ось абсцисс и определяют минимальное время контакта фаз, обеспечивающее равновесное распределение газового компонента в гетерогенной системе (рис. 5).
При извлечении газов из масла установленное таким образом время контакта фаз по этану будет справедливо и для всех остальных компонентов - Н2, СО, СО2, СН4, С2Н4, С2Н2.
Описанная выше процедура определения времени установления равновесия проводится один раз на стадии разработки на основе данных МУ конкретной методики выполнения измерений.
Для ускорения процесса установления равновесия рекомендуется использование различных механических установок, в частности, представленной на рис. 6. В такой установке при вращении устройства для установления равновесия в ней со скоростью 30 об/мин, и соотношении объемов фаз 1:1 минимальное время контакта фаз составляет 10 мин.
При изменении способа перемешивания и соотношения объемов фаз Vг/Vм время установления равновесия определяется заново.
3.1.4. Дозирование газовой фазы в хроматограф.
После достижения равновесного состояния сосуд для установления равновесия в вертикальном положении подсоединяется к петлевому дозатору и равновесная газовая фаза подается в хроматограф путем продувки объема петли крана-дозатора и стального капилляра не менее чем трехкратным объемом газовой фазы.
3.2. Извлечение газов из масла по методу ВТИ.
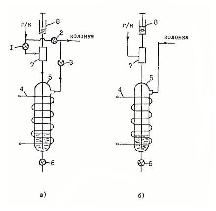
Извлечение растворенных в масле газов по методике ВТИ проводится в двух приставках объемом 8,0 и 1,25 мл без вакуума, встроенных в линию газа-носителя.
Для определения СО2, СО и Н2 предназначена приставка объемом 8,0 мл, а для определения СН4, С2Н2, С2Н4 и С2Н6, а также при определении СО и СО2 с применением метанации - приставка объемом 1,25 мл.
Схемы приставок приведены на рис. 7. Приставка состоит из реакционного сосуда (5) с внешним электрообогревом (4), обеспечивающим нагрев масла, введенного в реакционный сосуд приставки для анализа, устройства для ввода масла (7) в реакционный сосуд и металлических капиллярных трубок для подключения приставки к линии газа-носителя. Кроме того, приставка объемом 8,0 мл имеет три одноходовых металлических крана (1 - 3).
Приставку подключают к хроматографу в линию газа-носителя перед колонкой.
Перед работой приставку продувают газом-носителем. При продувке приставки объемом 8,0 мл (рис. 7а) краны (1) и (3) открыты, кран (2) закрыт.
Приставку объемом 8,0 мл проверяют на герметичность. Для этого закрывают краны (1) и (3), открывают кран (2). Выдерживают приставку в таком состоянии 3 мин. и открывают краны (1) и (3), одновременно закрывая кран (2). Отсутствие пиков на хроматограмме указывает на герметичность приставки.
Рабочая температура реакционного сосуда приставки - 60 °С.
При работе с приставкой объемом 1,25 мл (рис. 7б) проба масла объемом 50 мкл вводится в реакционный сосуд (5) через устройство для ввода масла (7), а после проведения анализа отработанное масло удаляется через кран для слива масла (6).
При работе с приставкой объемом 8,0 мл (рис. 7а) различают два режима работы в зависимости от применяемого газа-носителя (аргона или гелия).
При использовании гелия проба масла объемом 1,0 мл вводится в реакционный сосуд (5) при открытых кранах (1) и (3) и закрытом кране (2). При этих же положениях кранов происходит и слив масла через кран (6).
При использовании аргона кран (2) продутой газом-носителем приставки открывают, а краны (1) и (3) закрывают. После этого пробу масла объемом 1,0 мл вводят в реакционный сосуд (5) и выдерживают пробу масла при таком положении кранов 3 мин. После этого открывают кран (1) и уравнивают давление в системе. Когда перо самописца возвращается в исходное положение, открывают кран (3) и закрывают кран (2).
4.1. Метод основан на газоадсорбционном хроматографическом разделении смеси газов, выделенных из трансформаторного масла, с определением разделенных на хроматографической колонке компонентов с помощью различных комбинаций ДИП, ДТП и ДТХ.
4.2. Анализируемая газовая смесь перемещают по колонке с помощью газа-носителя (подвижная фаза). В качестве газа-носителя используется гелий или аргон.
Разделение компонентов смеси происходит за счет их различной адсорбции на поверхности адсорбента, заполняющего хроматографическую колонку (неподвижная фаза). В результате этого из колонки компоненты выходят индивидуально разделенными один за другим в потоке газа-носителя, попадают в детектор и регистрируются каким-либо прибором, которым может быть либо электронный самописец, либо интегратор, либо ПЭВМ, имеющая устройство сопряжения с хроматографом. Каждый проходящий через детектор компонент фиксируется регистратором в виде кривой (рис. 8), называемой хроматограммой.
5.1. Аппаратура для проведения анализа.
5.1.1. Специализированная хроматографическая аппаратура.
Рекомендуемой аппаратурой для проведения анализа газов, растворенных в трансформаторном масле, с применением метода АРП являются «Хроматографический комплекс для анализа газов, растворенных в трансформаторном масле», производимый ООО НПФ «ЭЛЕКТРА» (г. Москва) или хроматограф «Цвет 500-ТМ», производимый АО «ЦВЕТ» (г. Дзержинск, Нижегородской обл.), позволяющие проводить анализ с использованием для анализа одного газа-носителя.
5.1.2. Неспециализированная хроматографическая аппаратура.
Применяется при самостоятельном изготовлении комплексов для анализа газов, растворенных в трансформаторном масле, с использованием метода АРП или методики ВТИ для извлечения газов.
В качестве такой аппаратуры рекомендуется использовать хроматографы модель 3700, Цвет 500 и другие не снятые с производства заводами-изготовителями и удовлетворяющие по своим характеристикам пп. 1.3 и 1.4 настоящих Методических указаний.
Не рекомендуется использовать при создании хроматографических комплексов хроматографы серий ЛХМ-8МД, ЛХМ-80, Агат, Биохром, Цвет-100 и другие хроматографы, снятые с производства более 10 лет назад.
5.1.3. Аппаратура для обработки результатов анализа.
Для обработки результатов анализа рекомендуется использовать, например, системы «Диахром» (НПФ «ИНФОХРОМ», г. Москва) или «Мультихром» (НТК «АМПЕРСЕНД», г. Москва), позволяющие через устройства сопряжения вести с помощью ПЭВМ обработку поступающей хроматографической информации одновременно не менее чем по 4 каналам.
При отсутствии указанных средств автоматической обработки результатов хроматографического анализа допускается применение электронных интеграторов, а также таких средств измерения, как металлическая измерительная линейка и измерительная лупа с делениями.
5.2. Применяемые колонки и сорбенты.
В качестве сорбентов для разделения Н2 и СО можно применять, например, цеолиты СаА, NaX и ПАУ-1.
5.2.3. Для заполнения колонок размер частиц сорбента выбирается таким образом, что dкол./dчacт. составляет в среднем величину не менее 8 - 10.
Для приготовления колонок берут либо готовые сорбенты с необходимым размером частиц, либо размельченные и рассеянные на ситах для получения нужных фракций (0,1 - 0,25 мм для колонок с внутренним диаметром 2 мм и 0,25 - 0,5 мм для колонок с внутренним диаметром 3 мм).
5.3. Заполнение хроматографических колонок.
5.3.1. Перед заполнением колонок следует снять заусенцы и острые кромки на их краях, а также очистить их от пыли, окалины, машинного масла и т.п. Для этого необходимо последовательно промыть колонку водой, этиловым спиртом, гексаном (гептаном, бензином Б-70 и т.п.). После этого колонка помещается в сушильный шкаф или термостат колонок хроматографа где сушится при 70 - 80 °С в течение 2 - 3 часов. Сушку колонок в термостате колонок хроматографа рекомендуется проводить в токе газа-носителя.
Заполнение колонок может производиться тремя способами: под вакуумом, без перепада давлений и под давлением.
Колонку закрепляют в штативе и на ее свободный конец надевают воронку для насыпания сорбента.
Создав разряжение в вакуумном насосе, в воронку маленькими порциями (примерно 1 мл) всыпают сорбент. Для равномерного заполнения колонки сорбентом по ней постукивают деревянной палочкой или используют электромеханический вибратор с частотой колебаний 20 Гц.
В колонку должно войти сорбента не менее, чем
(5)
После заполнения колонки ее свободный конец заполняют стекловатой (стеклотканью) и подключают его к испарителю хроматографа.
5.3.1.2. При заполнении колонки без перепада давления в отличие от п. 5.3.1.1 колонку предварительно распрямляют и не подключают к вакуумному насосу. Заполнение колонки сорбентом ведут сверху вниз, постукивая по ней деревянной палочкой. После заполнения колонку сворачивают в спираль. Конец колонки, через который шло ее заполнение, заполняют стекловатой (стеклотканью) и подключают к испарителю хроматографа.
5.3.1.3. При заполнении колонки под давлением (колонка может остаться спиральной) один конец колонки закрывают стекловатой (стеклотканью), а другой конец колонки соединяют резиновой трубкой с колбой, имеющей два штуцера и заполненной необходимым количеством сорбента. Свободный штуцер колбы через редуктор соединяют с газовым баллоном. Подавая избыточное давление и постукивая по колонке деревянной палочкой, добиваются равномерного заполнения колонки сорбентом. После заполнения колонки конец, через который шло ее заполнение, заполняют стекловатой (стеклотканью) и подключают к испарителю хроматографа.
5.4. Термообработка (кондиционирование) заполненных сорбентом колонок.
5.4.1. Для удаления веществ, сорбированных в заполненной колонке и стабилизации ее хроматографических характеристик колонку подвергают термообработке в токе газа-носителя, которая проводится ниже следующим образом.
5.4.1.1. Заполненную сорбентом колонку помещают в термостат хроматографа и концом, через который засыпался сорбент, подключают к испарителю. Другой конец колонки, который должен подключаться к детектору, остается свободным.
5.4.1.2. Через колонку устанавливается расход газа-носителя (гелия или аргона) примерно 20 - 30 мл/мин.
Запрещается использовать водород в качестве газа-носителя!!!
5.4.1.3. Проводят нагрев колонки от 50 °С до оптимальной температуры кондиционирования сорбента в токе газа-носителя в режиме программирования температуры со скоростью 1 - 2 °С/мин, или в другом режиме, рекомендованном для данного сорбента.
Так, например, для ПАУ-1 рекомендуется ступенчатый подъем температуры с дискретным ее изменением на 50 °С через каждые 30 мин.
Такой же режим может быть рекомендован для хроматографов, в которых отсутствует блок программирования температуры.
Оптимальной температурой кондиционирования, для рекомендованных в настоящих Методических указаниях сорбентов, является:
для Порапака N - 160 °С
для ПАУ-1 - 320 °С
для NaX и СаА - 330 °С
5.4.1.4. Для всех рекомендованных сорбентов продолжительность кондиционирования составляет 6 - 8 часов, включая время подъема температуры.
5.5. Оценка хроматографических характеристик колонок.
5.5.1. Оценка работоспособности колонки производится по ее способности разделять анализируемые компоненты.
5.5.1.1. По окончании процесса кондиционирования свободный конец колонки подключают к детектору и проводят проверку ее разделяющей способности по тестовым газовым смесям.
В качестве таких смесей можно использовать газовые смеси, применяемые для градуировки хроматографических комплексов (см. п. 5.7.1.1.).
5.5.1.2. В случае полного разделения компонентов тестовой смеси при рабочих температурах и расходах газа-носителя и вспомогательных газов колонка может считаться работоспособной.
5.5.1.3. После длительной работы работоспособность колонки может ухудшиться. Это выражается в изменении времен удерживания и формы пиков компонентов тестовой смеси при неизменных температуре колонки и расходе газа-носителя.
5.5.1.4. При сильном изменении времен удерживания необходимо провести кондиционирование колонки в соответствии с п. 5.4. Если кондиционирование не дало результатов, необходимо либо изменить режимные параметры (температура термостата колонок и расход газа-носителя), так чтобы получить удовлетворительное разделение тестовой смеси, либо заменить ее на новую.
При изменении режимных параметров необходимо учитывать, что увеличение расхода газа-носителя и/или температуры термостата колонок приводит к уменьшению времен удерживания анализируемых компонентов, а их уменьшение - к увеличению времен удерживания.
5.5.1.5. Одним из критериев необходимости замены колонки на новую является изменение относительного времени удерживания хотя бы одного из компонентов тестовой смеси более чем на 30 %.
Относительное время удерживания определяется по формуле
tотн = tx / tст. (6)
В качестве стандартного газа выбирается один из газов тестовой смеси и относительно его времени удерживания считаются времена удерживания всех компонентов тестовой смеси на хроматограмме.
5.6. Количественная обработка хроматограмм.
5.6.1. Основным способом обработки хроматограмм является автоматическая обработка с помощью аппаратуры для обработки результатов анализа, сопряженной с хроматографическими комплексами (см. п. 5.1.3.). Этот способ дает минимальную погрешность при проведении измерений.
5.6.2. Другим способом обработки хроматограмм является ручная обработка с помощью металлической измерительной линейки (расстояния более 10 мм) и специальной лупы с делениями (расстояния до 10 мм).
5.6.3. Высота или площадь пика на хроматограмме пропорциональны количеству анализируемого вещества.
Хроматограмма представляет собой набор пиков по форме, как правило, близких к треугольнику (рис. 8).
5.6.3.1. В случае полного разделения пиков на хроматограмме (рис. 8, пик 5) одним из способов обработки хроматограмм вручную является расчет площадей пиков по методу треугольника
S5 = h5 · m0.52 (7)
5.6.3.2. Если пики на хроматограмме разделяются неполностью, то при выходе пика на дрейфе нулевой линии или на хвосте большого пика (рис. 8, пик 2) расчет его площади ведется по формуле
S5 = h2 · m0.52 (8)
При неполном разделении достаточно симметричных пиков (рис. 8, пики 3 и 4) расчет их площадей ведется по формулам
S3 = 2·h3·а и S4 = 2·h4·b (9)
5.6.4. При проведении анализов на рекомендованных в п. 5.1.1 хроматографических установках с применением сорбентов, рекомендованных в п. 5.2.2, возможна обработка хроматограмм по высотам пиков. Во всех других случаях обработка хроматограмм должна проводиться только по площадям пиков.
5.7. Градуировка хроматографического комплекса и оперативный контроль точности выполняемых измерений.
Градуировка хроматографического комплекса проводится при вводе его в эксплуатацию или при непопадании результатов оперативного контроля точности выполняемых измерений (ВИ) в доверительный интервал градуировочной характеристики.
Градуировка комплекса заключается в установлении градуировочных характеристик (зависимостей между площадями или высотами пиков на хроматограммах градуировочных смесей и концентрациями газов в этих смесях) с определением их метрологических параметров.
Оперативный контроль точности ВИ осуществляется каждый раз перед началом рабочих измерений. Для проведения оперативного контроля применяются две градуировочные смеси из разных диапазонов измеряемых концентраций.
Градуировка хроматографического комплекса проводится в области концентраций от 0,5 до 10 Ai гр.м не менее чем в шести точках диапазона при пяти параллельных измерениях в каждой точке.
Градуировка комплекса и оперативный контроль точности ВИ осуществляются либо с применением газовых смесей всех анализируемых газов, приготовленных в газе-носителе, либо с применением растворов газов в масле. Погрешность приготовления смесей и растворов не должна превышать 10 %.
Такая градуировка осуществляется либо с применением аттестованных газовых смесей в баллонах, либо с применением газовых смесей, приготовленных из чистых газов в специальном устройстве.
5.7.1.1. Градуировка комплекса с применением баллонов с аттестованной газовой смесью.
В качестве смесей можно использовать аттестованные газовые смеси, выпускаемые НИИ Химии при Нижегородском государственном университете (г. Нижний Новгород), кислородный завод (г. Балашиха, Московской обл.), ВНИИМ (г. Санкт-Петербург) и др.
Для градуировки используют баллоны с градуировочными газовыми смесями, имеющими два уровня концентраций. Рекомендуемые уровни концентраций приведены в таблице 2.
Таблица 2.
|
Газ и его концентрация в смеси, % об. |
|||||||
|
Н2 |
СО |
СО2 |
СН4 |
С2Н2 |
С2Н4 |
С2Н6 |
|
|
1 |
0,01 |
0,02 |
0,05 |
0,005 |
0,002 |
0,005 |
0,005 |
|
2 |
0,1 |
0,1 |
1,0 |
0,1 |
0,1 |
0,1 |
0,1 |
Уровни концентраций соответствующих компонентов смесей 1 и 2 должны отличаться друг от друга не менее чем в 5 раз. При этом концентрации могут отличаться от приведенных в таблице 2 в 1,2 - 1,5 раза.
Градуировку проводят с применением рекомендуемых газовых смесей и набора градуированных весовым методом дозирующих петель объемом от 0,1 до 2 мл. Относительная погрешность градуировки петель не должна превышать 3 %.
Концентрацию газа в точке на градуировочной характеристике рассчитывают по формуле
Aiг = (Vпi + Vдоз)·Р·293,2·Аi(1.2)г/[(Vпр + Vдоз)·760·(273,2 + Т)] (10)
Внутренний объем газового крана-дозатора определяется в соответствии с Приложением 3.
Результатом градуировки являются, полученные в диапазоне измеряемых концентраций, величины коэффициентов аi и bi зависимостей вида
Siг
= ais(r) + bis(г)
Аiг (11)
или
и величины доверительных интервалов этих коэффициентов для каждого газа в диапазоне измеряемых концентраций.
Расчет параметров градуировочной характеристики проводят с применением ПЭВМ или вручную.
Схема расчета вручную приведена в Приложении 1.
Приготовление газовых смесей в газе-носителе (гелии или аргоне) проводят в устройстве, приведенном на рис. 4.
Приготовление газовой смеси в таком устройстве осуществляется следующим образом.
Специальное градуировочное устройство (рис. 4) через шестиходовой кран (5) несколько раз продувается соответствующим газом-носителем (аргоном или гелием), в котором будет проходить приготовление газовой смеси. Шприц проверяется на чистоту на хроматографе. Образец газа подается в дозирующую петлю (6) шестиходового крана (5) и через соответствующий штуцер (5) вводится поток газа-носителя из резиновой камеры при атмосферном давлении с одновременным перемещением поршня вниз. Объем газа-носителя, которым выдувается проба газа, должен составлять не менее 10 объемов дозирующей петли (6). Объем петли (6) составляет 0,25 - 0,5 мл. Процедура ввода образца газа повторяется для всех газов. При вводе последнего газа шприц (1) заполняется газом-носителем до фиксированного, например, с помощью шаблона (10) объема и герметизируется.
Перед приготовлением газовой смеси шприц и дозирующие петли градуируются весовым методом.
Концентрация газа в газовой смеси рассчитывается по формуле
Аiг = Viг·Р·293,2·Агi/[Vш·760·(273,2 + Т)] (13)
После анализа исходной градуировочной газовой смеси оставляют по шаблону примерно 2/5 объема и разбавляют эту дозу газом-носителем из резиновой камеры до объема Vш. Разбавление с помощью градуированных шаблонов проводят несколько раз, получая тем самым градуировочные газовые смеси для всего рекомендуемого диапазона концентраций. Расчет концентраций в разбавленных газовых смесях проводят по уравнению (13) без учета поправки на температуру и давление.
Вместо приготовления исходной градуированной концентрации по вышеописанной процедуре можно использовать аттестованную газовую смесь (табл. 2) и проводить процедуру разбавления с помощью градуированных шаблонов.
В зависимости от определяемого компонента для градуировки хроматографического комплекса готовят газовые смеси с концентрациями от 0,001 до 1,0 % об. Причем в каждом диапазоне концентраций (0,001 - 0,01; 0,01 - 0,1; 0,1 - 1,0 % об.) готовят не менее двух смесей с различными концентрациями газов, которые вводят в комплекс газовым краном-дозатором с той же дозирующей петлей, с которой будет проводиться анализ.
Результатом градуировки являются коэффициенты ai и bi уравнений (11) и (12).
Расчет параметров градуировочной характеристики проводят также, как в п. 5.7.1.1.
5.7.2. Градуировка комплекса с применением растворов всех анализируемых газов в масле.
Такая градуировка осуществляется с применением растворов газов в масле, приготовленных либо методом равновесного распределения газов между газовой фазой и маслом в герметичном сосуде, либо методом насыщения масла чистым газом.
Приготовление растворов газов в масле осуществляется в устройстве, приведенном на рис. 4, также как и выделение газов из масла (см. п. 3.1.2). Отличие заключается в том, что в шприце находится известный объем масла (VM), содержание газов в котором не влияет на результаты градуировки в выбранном диапазоне концентраций, а проба газовой смеси, приготовленная в аналогичном устройстве или из баллона с градуировочной смесью подается в шприц до определенного объема V0 либо напрямую, либо через петлю крана-дозатора с последующим заполнением шприца газом-носителем до объема V0. После этого шприц помещается в устройство ускорения достижения равновесия. Время достижения равновесия при растворении газов в масле рекомендуется устанавливать втрое больше времени извлечения газов из масла по п. 3.1.3 или устанавливается экспериментально по специальной процедуре.
После достижения равновесия газовая фаза из шприца удаляется. Концентрации газов, растворенных в масле рассчитывают по формуле
Аi(град)м = Aiг
Vдг
bi/[Vм
(Bi + Vг/Vм)] (14)
Содержание газов в масле, приготовленном для градуировки комплекса, контролируют с применением градуировочных газовых смесей.
Значения коэффициентов растворимости Оствальда некоторых газов в трансформаторном масле при температуре 20 °С и давлении 760 мм рт. ст. приведены в таблице 3.
Таблица 3
|
Коэффициент растворимости Bi |
|
|
Водород (Н2) |
0,05 |
|
Кислород (О2) |
0,17 |
|
Азот (N2) |
0,09 |
|
Оксид углерода (СО) |
0,12 |
|
Диоксид углерода (СО2) |
1,08 |
|
Метан (СН4) |
0,43 |
|
Ацетилен (С2Н2) |
1,20 |
|
Этилен (С2Н4) |
1,70 |
|
Этан (С2Н6) |
2,40 |
Изменение температуры в интервале от 18 до 25 °С приводит к изменению коэффициентов растворимости до 5 % отн.
Приготовленные растворы газов в масле хранятся в герметично закрытых шприцах при комнатной температуре в темном месте и могут быть использованы для градуировки комплекса в течение 5 дней.
Приготовленными растворами газов в масле можно проводить градуировку комплексов, применяющих как методику ВТИ, так и метод АРП.
В случае градуировки комплекса по методу ВТИ в приставку вводят одинаковые пробы масла с различным содержанием газов. Результатом градуировки являются коэффициенты аi и bi зависимостей вида
sim = ais(м) + bis(м)×Aiм (15)
или
hiм = aih(м) + bih(м)×Aiм (16)
Расчет параметров градуировочной характеристики проводится также, как в п. 5.7.1.1.
В случае градуировки комплекса по методу АРП проводят выделение газов из градуировочного масляного раствора по п. 3.1 при тех же соотношениях Vг/Vм, при которых будет проводиться анализ образцов масла из оборудования и выделенные газы вводят в дозирующую петлю газового крана-дозатора комплекса.
Результатом такой градуировки являются величины коэффициентов аi и bi уравнений (15) или (16).
5.7.2.2. Градуировка комплекса с применением метода насыщения масла чистым газом.
Этот метод заключается в насыщении масла анализируемым газом и разбавлении его тем же маслом, насыщенным газом-носителем. Приготовление градуировочных масел производится в устройстве, изображенном на рис. 9, при 18 - 22 °С.
Насыщение масла газами ведут в приборе из металла, состоящем из сосуда (1) емкостью 5 мл, в котором имеется трубка для подвода газа (2), трубка для вывода газа (3) через масляный затвор (7) и приспособление с резиновой прокладкой (4) для введения иглы шприца (6).
Насыщение масла газом проводят путем барботажа. Чистый сухой сосуд (1) с расширителем (5) заполняют маслом и собирают прибор согласно рис. 9. Вводят иглу предварительно отградуированного шприца через резиновую прокладку, насыщают масло газом в течение 30 мин. с расходом 15 мл/мин. при этом избыток масла сливается через масляный затвор (7). По окончании насыщения прибор выдерживают в течение 15 мин.
В процессе насыщения масла газом шприц следует промыть. Для промывки набирают в шприц (6) масло, содержимое шприца вводят обратно в сосуд (1) и вновь набирают масло. Операцию повторяют трижды. После окончания процедуры насыщения через 15 мин. заполняют шприц маслом, вынимают иглу из приспособления (4) и герметизируют ее резиновой пробкой.
Концентрацию газа в масле определяют с учетом его коэффициента растворимости (табл. 3) с поправкой на атмосферное давление
Аi(нас)м = Bi
Р×Агi
/ 760 (17)
Разбавление масла, насыщенного газом, до необходимой концентрации проводят в приборе, изображенном на рис 10.
Прибор состоит из предварительно отградуированного сосуда (1) емкостью 2 л с нижним тубусом, приспособления для ввода и отбора проб масла (2), резиновой прокладки (3), трубок для подвода газа-носителя (4) и для вывода газа-носителя (5), снабженных кранами (9, 10, 11), магнита (6), магнитной мешалки (7) и масляного затвора (8).
Собирают прибор согласно рис. 10. В тубус сосуда (1) через пробку вставляют приспособление (2) с резиновой прокладкой (3). В сосуд опускают магнит (6). Заливают маслом сосуд (1) и масляный затвор (8). Закрывают сосуд пробкой с трубками для подвода и вывода газа-носителя. Соединяют прибор с трубкой для подвода газа-носителя (4), открывают краны (9) и (11), закрывают кран (10) и продувают газ-носитель через масло в течение 3 час. Закрывают кран (9). Шприц, содержащий насыщенное градуировочным газом масло, приготовленное в приборе, приведенном на рис. 9, вкалывают в приспособление (2) и вводят из него заданное количество масла в сосуд (1) с маслом, насыщенным газом-носителем. Масло перемешивают с помощью магнитной мешалки в течение 1 часа. Открывают кран (10) для ввода газа-носителя в сосуд (1) и под его напором отбирают масло через иглы в несколько шприцев. Иглы герметизируют резиновыми пробками. Операция отбора проб масла в шприцы проводится быстро (до 10 мин). Из сосуда отбирают не более половины объема масла. В этих условиях газ из нижней половины масла практически не успевает перейти в газовое пространство.
Концентрация газа в масле рассчитывается по формуле
Аi(град)м = Аi(нас)м×Vдм / Vмс (18)
Градуировка комплекса проводится также, как в п. 5.7.2.1. Результатом градуировки являются коэффициенты ai и bi уравнений (15) и (16).
5.7.3. Оперативный контроль точности выполнения измерений.
Оперативный контроль точности ВИ проводится перед рабочими измерениями на градуированном комплексе для подтверждения попадания рабочих измерений в доверительный интервал градуировочной характеристики.
Для проведения оперативного контроля используют два градуировочных раствора (смеси), которые содержат газы с концентрациями - из начальной и конечной области градуировочной характеристики. Предварительно для этих смесей по градуировочным характеристикам (11, 12) или (15, 16) с учетом доверительных интервалов параметров ai и bi рассчитывают максимальную и минимальную величину площади или высоты пика, соответствующую концентрации газа в градуировочной смеси.
Далее в комплекс вводят обе смеси по три раза каждую, рассчитывают средние значения величин площадей или высот пиков для всех компонентов введенных смесей и определяют, попадают ли определенные при оперативном контроле площади или высоты пиков в интервал между их максимальным и минимальным значениями, рассчитанными из градуировочных характеристик. Если величины площадей или высот пиков попадают в эти интервалы, то комплекс можно использовать для проведения анализов. Если нет, то необходимо либо устранить причину несоответствия (в основном это может быть связано с нарушением режимных параметров), либо провести новую градуировку комплекса.
5.8. Анализ газов, растворенных в масле.
Анализ растворенных в масле газов, извлеченных с применением метода АРП или методики ВТИ проводится в тех же условиях, что и градуировка.
Процедура извлечения газов из масла описана в п. 3. Все анализы проводятся не менее двух раз.
5.8.1. Анализ газов на специализированной аппаратуре.
Для проведения анализа рекомендуется применять оборудование, указанное в п. 5.1.1. Это оборудование снабжено всеми необходимыми устройствами (колонки, устройства выделения газов из масла и т.п.) для проведения анализа и полным комплектом методической документации.
5.8.2. Анализ газов на неспециализированной аппаратуре.
Для проведения анализа рекомендуется применять оборудование, указанное в п. 5.1.2, с помощью которого могут быть реализованы различные схемы проведения анализа.
В качестве основных рекомендуются две схемы.
5.8.2.1. Анализ извлеченных из масла газов с применением двух газов-носителей - гелия и аргона.
Хроматографический комплекс при применении такой схемы состоит из двух хроматографов, один из которых имеет два детектора (ДТП и ДИП), а второй ДТП. В качестве таких хроматографов можно использовать, например, хроматографы модель 3700 и Цвет-500 с двумя детекторами (ДТП и ДИП).
Хроматограф с двумя детекторами (ДТП и ДИП), которые соединены последовательно, предназначен для анализа СО, СO2, СН4, С2Н2, С2Н4 и С2Н6, а хроматограф с ДТП - для анализа Н2.
В хроматограф с двумя детекторами помещают колонки с ПАУ-1 для анализа СО2 и углеводородов, а также для анализа СО. В качестве газа-носителя в этом хроматографе используют гелий.
В хроматограф с ДТП помещают колонку с ПАУ-1 для анализа Н2. В качестве газа-носителя в этом хроматографе используют аргон.
Схема хроматографического комплекса приведена на рис. 11. Извлечение газов из масла при применении такой схемы анализа может вестись как методом АРП, так и по методике ВТИ. При применении для извлечения газов из масла метода АРП в качестве дозаторов (2, 3, 10) используют газовые краны-дозаторы с объемом рабочих петель 2 мл.
При применении для извлечения газов из масла методики ВТИ в качестве дозаторов используют приставки ВТИ объемом 8,0 мл (дозаторы 2 и 10) и объемом 1,25 мл (дозатор 3).
По схеме, приведенной на рис. 11, анализ проводится следующим образом.
В хроматографы подаются газы-носители аргон и гелий, а также водород и воздух.
Температуры: термостатов колонок (8 и 14) составляют 80 - 120 °С, ДТП (6 и 13) и ДИП (7) - 150 - 250 °С. Ток моста ДТП (6) хроматографа для анализа СО, СO2 и углеводородов составляет 140 - 160 мА, а ДТП (13) хроматографа для анализа Н2 - 80 - 90 мА. Расходы аргона и гелия составляют 20 - 30 мл/мин. Расходы вспомогательных газов составляют: водорода 15 - 25 мл/мин, воздуха 200 - 300 мл/мин.
После выхода хроматографов на рабочий режим (примерно 2 часа) с помощью дозатора (3) в хроматограф для анализа СО, СO2 и углеводородов вводят пробу для анализа СO2, СН4, С2Н2 и С2Н6. Извлеченные из масла компоненты, разделенные на колонке (5), попадают в ДТП (6), который регистрирует пики воздуха и СO2, а затем в ДИП (7), который регистрирует СН4, С2Н2, С2Н4 и С2Н6.
После того как из колонки (5) выйдут все компоненты с помощью дозатора (2) того же хроматографа в него вводят пробу для анализа со. Разделенные на колонке (4) компоненты попадают в ДТП (6), который регистрирует пики воздуха и СО.
При работе с хроматографом для анализа СО, СО2 и углеводородов с извлечением газов из масла методом АРП газовый объем в шприце с маслом организуется гелием.
Одновременно с проведением анализа СО, СО2 и углеводородов в хроматограф для анализа Н2 с помощью дозатора (10) вводят пробу для анализа Н2. Извлеченные из масла компоненты, разделенные на колонке (11), попадают в ДТП (13), который регистрирует пики водорода и воздуха.
При работе с хроматографом для анализа Н2 с извлечением газов из масла методом АРП газовый объем в шприце с маслом организуется аргоном.
5.8.2.2. Анализ извлеченных из масла газов по схеме с применением метанатора и одного газа-носителя аргона.
Хроматографический комплекс при применении такой схемы состоит из одного хроматографа с двумя детекторами (ДТП и ДИП), в который встроен метанатор, позволяющий определять СО и СО2 после превращения их в метан.
В термостат хроматографа помещают колонку для анализа СО, СО2 и углеводородов с Порапаком N и колонку с цеолитом СаА или NaX.
В одном из испарителей хроматографа монтируется метанатор, заполненный катализатором. Процедура приготовления катализатора описана в Приложении 2.
Схема хроматографического комплекса приведена на рис. 12. Извлечение газов из масла может вестись методами, описанными в п. 3. В качестве дозаторов (2 и 6) можно использовать либо газовые краны-дозаторы с объемом рабочих петель 1 - 2 мл, либо приставки ВТИ объемом 1,25 мл (дозатор 6) и 8,0 мл (дозатор 2).
По схеме, приведенной на рис. 12, анализ проводится следующим образом.
В хроматограф подается газ-носитель аргон, а также водород и воздух, причем, водород через тройник (9) подается в метанатор (10).
Температуры: термостата колонок (12) составляет 60 - 80 °С, ДТП (4) и ДИП (5) - 150 - 250 °С, метанатора - 375 °С. Ток моста ДТП (4) составляет 70 - 90 мА. Расход аргона составляет 20 - 30 мл/мин. Расходы вспомогательных газов составляют: водорода - 20 - 30 мл/мин., воздуха 200 - 300 мл/мин.
После выхода хроматографа на рабочий режим (примерно 2 часа) с помощью дозатора (2) в колонку для анализа Н2 (3) вводят пробу для анализа Н2. Извлеченные из масла компоненты, разделенные на колонке (3), попадают в ДТП (4), который регистрирует пики Н2, О2 и N2.
Одновременно с анализом Н2 с помощью дозатора (6) в колонку для анализа СО, СO2 и углеводородов (7) вводят пробу для анализа СО, СО2, СН4, С2Н4, С2Н6 и С2Н2. Извлеченные из масла компоненты, разделенные на колонке (7), попадают сначала в метанатор (10), где СО и СО2 превращаются в метан, а затем в ДИП (5), который регистрирует СО (в виде СН4), СН4, СO2 (в виде СН4), С2Н4, С2Н6 и С2Н2.
При проведении анализа газов, извлеченных из масла с применением метода АРП, газовый объем в шприце с маслом организуется аргоном.
Обработка результатов хроматографического анализа газов, растворенных в масле, связана с видом применяемой в анализе методики извлечения газов из масла и связанной с ней методикой градуировки комплекса.
6.1. Обработка результатов хроматографического анализа при извлечении газов из масла по методу АРП и градуировке комплекса по газовым смесям (п. 5.7.1).
При обработке результатов, полученных с использованием такой методики применяются формулы
Aiм = (Siг -ais(г))×(Bi +Vг/Vм)×ai / bis(г) (19)
или
Aiм = (hiг - aih(г))×(bi + Vг/Vм)×ai / bih(r) (20)
В этих формулах учтены параметры градуировочной характеристики и наличие пузырька в шприце перед анализом (см. п. 3).
Необходимо иметь в виду, что при проведении градуировки комплекса по методике, описанной в п. 5.7.1.2, градуировка и анализ должны проводиться с применением одной и той же дозирующей петли.
6.2. Обработка результатов хроматографического анализа при любом методе извлечения газов из масла и градуировке комплекса по растворам газов в масле (п. 5.7.2).
При обработке результатов, полученных с использованием таких методик, применяются формулы
Aiм = (Siм - ais(м))×ai / bis(м) (21)
или
Aiм - (hiм - aih(м))×ai / bih(м) (22)
Необходимым условием при применении метода АРП и градуировки по аттестованным растворам газов в масле является использование одной и той же дозирующей петли и отношения Vг/Vм при градуировке и анализе.
Необходимым условием при применении методики ВТИ и градуировки по аттестованным растворам газов в масле является введение в комплекс одного и того же объема масла при градуировке и анализе.
6.3. Оценка суммарной погрешности выполнения измерений концентраций газов, растворенных в масле.
Суммарная погрешность измерения оценивается в соответствии с ГОСТ 8.207-76 (п. 5) с учетом случайной погрешности измерения и относительной неучтенной систематической погрешности определения коэффициента растворимости Вi, погрешности установки Vг и Vм, а также возможной потери газов при хранении пробы в течение недели.
Среднее квадратическое отклонение за счет случайной погрешности измерения Aiм рассчитывают по формуле
Относительную неучтенную систематическую погрешность при применении метода АРП рассчитывают по формуле
При
применении методики ВТИ член (
Vг/Vг)2 не
учитывается.
Абсолютную неучтенную систематическую погрешность рассчитывают по формуле
Суммарная
погрешность измерения D оценивается в зависимости от величины отношения ![]()
Если это отношение меньше 0,8, то суммарная погрешность D оценивается по формуле (23).
Если это отношение больше 8, то суммарная погрешность D оценивается по формуле (24).
Если это отношение попадает в интервал между 0,8 и 8, то суммарная погрешность оценивается по формуле
D = К×S (26)
В этом случае для оценки суммарного среднего квадратического отклонения результата измерения используют формулу
Коэффициент К вычисляют по формуле
Расчет суммарной погрешности измерения может быть выполнен на ЭВМ или вручную.
Пример ручного расчета суммарной погрешности измерения приведен в Приложении 4.
6.4. Запись результатов измерений.
Результаты измерений должны представляться в виде
Aiм ± D (29)
В протоколе анализов указывается вероятность, для которой определена суммарная погрешность измерения.
Числовое значение результата измерения должно оканчиваться цифрой того же разряда, что и значение погрешности D.
Расчет градуировочной характеристики заключается в расчете коэффициентов аi и bi и при отсутствии средств вычислительной техники производится вручную. Для этого результаты градуировки вносятся в таблицу П1.
Таблица П1.
|
xi |
уi |
xi 2 |
yi2 |
xiyi |
xi + yi |
(xi + yi)2 |
|
|
N = l · m |
|
|
|
|
|
|
|
В таблице П1 xi соответствует Аiг и Аi(град)м×Уi соответствует Siг и hiг или Siм и hiм.
m - число параллельных измерений каждого газа в контрольной точке l (m = 5);
l - число контрольных точек на градуировочной характеристике (l = 6);
n - суммарное число измерений, произведенных при градуировке (n = l×m = 30).
Проверка правильности вычислений в таблице П1 производится по формуле
Расчет коэффициентов ai и bi ведется по формулам
Расчет остаточной величины среднего квадратического отклонения Si0 выходного сигнала yi от расчетной градуировочной характеристики проводится по формуле
Средние квадратические отклонения коэффициентов ai и bi рассчитываются по формулам
Расчет доверительных интервалов Dai и Dbi для коэффициентов ai и bi проводится по формулам
где tp,f - значение квантиля t-распределения при доверительной вероятности р = 0,95 и числе степеней свободы f = n - 2. (В рассматриваемом случае n = 30 - 2 = 28, a tp,f = 2,05).
Число значимых цифр после запятой для коэффициентов ai и bi определяется интервальными значениями Dai и Dbi.
Одним из способов проведения метанации является способ, предложенный в Высоковольтной сети АО Ленэнерго. Он заключается в том, что разделенная в хроматографической колонке смесь газов пропускается через никель-алюминиевый катализатор, помещенный в реактор (метанатор), который смонтирован в испарителе хроматографа нагретом до 375 °С.
Катализатор готовят следующим образом. К 44,1 г азотнокислого алюминия Al(NO3)3×9Н2О и 19,8 г азотнокислого никеля Ni(NO3)2×6Н2О, растворенных в 0,64 л дистиллированной воды, добавляют 285 мл 8,9 %-ного раствора едкого калия. Полученные гидроокиси перемешивают и оставляют на 2 - 3 дня. Затем дважды проводят декантацию, добавляют к остатку 1 л дистиллированной воды и с помощью вакуума отфильтровывают раствор через фильтр «синяя лента», промывая несколько раз водой студнеобразную массу гидроокисей. Полученный осадок изумрудного цвета переносят с фильтра в фарфоровую или стеклянную чашку и сушат в термостате при 130 °С в течение 48 час. Затем измельчают его и рассеивают на ситах на фракции. Отбирают фракцию 0,25 - 0,5 мм и заполняют ей среднюю часть реактора слоем 2 см между пробками из стекловаты. После этого помещают реактор в испаритель хроматографа и соединяют с линией водорода. Производят подъем температуры в течение 2 час от 25 до 425 °С. При расходе водорода 30 мл/мин и температуре 425 °С выдерживают катализатор в течение 10 - 20 час. При этих условиях происходит восстановление окиси до металлического никеля и катализатор приобретает черный цвет.
Применение метанатора позволяет анализировать СО и СO2 с пределом обнаружения 0,0001 % об.
Последовательно подключают к крану-дозатору сменные петли с различным объемом (например, см. п. 1 Приложения 4) и с их помощью вводят градуировочную газовую смесь (например, см. п. 5.7.1.1, таблица 2, смесь 2). Смесь вводят в комплекс не менее трех раз и рассчитывают средние значения высот или площадей пиков, соответствующих объемам петель. По полученным значениям строят график зависимости высот или площадей пиков для любого газа из смеси от объемов петель (рис. 13). Зависимость имеет линейный характер и не проходит через начало координат.
Внутренний объем крана-дозатора определяется как отрезок, отсекаемый полученной прямой на оси объемов слева от начала координат. Далее эта величина используется как постоянный внутренний объем (Vдоз) данного крана-дозатора.
1. Вспомогательные устройства, применяемые для градуировки:
набор
сменных петель дозатора с объемами (мл): Vп1 = 0,1111; Vп2
= 0,3672; Vп3 = 0,7653; Vп4 = 1,7107; Vп5 = Vпp
= 1,9630. Внутренний объем крана-дозатора (Vдоз) составляет 0,1230
мл. Предельная погрешность градуировки объемов
Vi = 3 %.
набор аттестованных стандартных растворов С2Н4 с концентрациями Аiг равными 0,013 и 0,10 % об. Паспортная погрешность аттестации смеси dA = 10 %.
2. Подключаем петли к газовому крану дозатору комплекса и в каждую петлю вводим аттестованные газовые смеси по 5 раз. Измеряем высоты пиков С2Н4 на хроматограммах с учетом ослабления сигнала.
По формуле (10) проводим расчет концентраций С2Н4 в контрольных точках с учетом температуры и атмосферного давления при проведении градуировки, поскольку в процессе градуировки температура и атмосферное давление могут меняться. Например, в первой градуировочной точке для расчета концентрации используем Vп1 = 0,1111 мл, Vдоз = 0,123 мл, Vп5 = Vпp = 1,9630 мл, Аiг = 0,013 % об. При проведении градуировки в первой градуировочной точке давление составляло 776 мм рт. ст., а температура - 18 °С.
Ас2н4г = (0,1111 + 0,1230)×776×293,2×0,0113/[(1,9630 + 0,1230)×760×291,2] = 0,00150 % об.
Аналогичным образом с учетом соответствующих объемов петель, концентраций стандартных растворов, а также температур и атмосферного давления при градуировке рассчитываются концентрации в остальных градуировочных точках.
Результаты градуировки по форме таблицы (П1) сводим в таблицу (Таблица П4).
3. Проводим проверку правильности вычислений в таблице по формуле (П1.1)
=
0,096062 + 819196872,2 + 2×8869,361074 = 819214611,0
4. По формуле (П1.2) рассчитываем коэффициент аi
аi = (0,096062×119482,2 - 1,310750×8869,361074)/(30×0,096062 - 1,718066) = -126,992622
5. По формуле (П1.3) рассчитываем коэффициент bi
bi = (30×8869,361074 - 1,310750×119482,2)/(30×0,09606025 - 1,718066) = 94062,16187
6. По формуле (П1.4) проводим расчет среднего квадратического отклонения Si0

7. По формуле (П1.5) рассчитываем среднее квадратическое отклонение коэффициента ai
![]()
8. По формуле (П1.6) рассчитываем среднее квадратическое отклонение коэффициента bi
![]()
9. По формуле (П1.7) рассчитываем доверительный интервал коэффициента ai
![]()
10. По формуле (П1.8) рассчитываем доверительный интервал коэффициента bi
![]()
11. Действительные значения коэффициентов аi и bi составляют
и ![]()
12. Для проведения в дальнейшем оперативного контроля рассчитываем доверительные интервалы высот пиков С2Н4 для градуировочных смесей в баллонах, введенных с помощью рабочей петли (вторая и шестая точки градуировочной характеристики). Расчет ведется по формуле
![]()
В этой формуле
- генеральное среднее значение
концентраций С2Н4 во второй и шестой точках
градуировочной характеристики, которое рассчитывается по формуле
![]()
Рассчитываем Dhiг для второй точки

Высота пика С2Н2 на хроматограмме смеси 2 (hi)2 равна 1035 см.
Таким образом, если при проведении оперативного контроля точности ВИ пик С2Н2 при вводе смеси 2 не выходит из интервала 1035 ± 16 см, то оперативная градуировка подтверждает возможность применения ранее полученных параметров градуировочной характеристики ai и bi.
Точно также рассчитывается Dhiг для шестой точки

Высота пика С2Н2 на хроматограмме смеси 6 (hi)6 равна 9045 см.
Отсюда следует, что если при проведении оперативного контроля точности ВИ пик С2Н2 при вводе смеси 6 не выходит из интервала 9045 ± 68 см, то оперативная градуировка также подтверждает возможность применения ранее полученных параметров градуировочной характеристики аi и bi.
Если хотя бы один результат оперативной градуировки не попадает в интервальные значения для hi , то необходимо выявить причину несовпадения и устранить ее, либо сделать повторную полную градуировку.
|
l |
m |
xi |
yi |
xi2 |
yi2 |
xiyi |
xi + yi |
(xi + yi)2 |
|
1 |
1 |
0,00150 |
115,4 |
0,00000225 |
13317,16 |
0,173100 |
115,401500 |
13317,50620 |
|
2 |
0,00150 |
114,5 |
0,00000225 |
13110,25 |
0,171750 |
114,501500 |
13110,59350 |
|
|
3 |
0,00150 |
113,9 |
0,00000225 |
12973,21 |
0,170850 |
113,901500 |
12973,55170 |
|
|
4 |
0,00150 |
114,5 |
0,00000225 |
13110,25 |
0,171750 |
114,501500 |
13110,59350 |
|
|
5 |
0,00150 |
114,2 |
0,00000225 |
13041,64 |
0,171300 |
114,201500 |
13041,98260 |
|
|
2 |
1 |
0,01286 |
1038,1 |
0,00016538 |
1077651,61 |
13,349966 |
1038,112860 |
1077678,310 |
|
2 |
0,01286 |
1035,1 |
0,00016538 |
1071432,01 |
13,311586 |
1035,112860 |
1071458,633 |
|
|
3 |
0,01286 |
1036,2 |
0,00016538 |
1073710,44 |
13,325532 |
1036,212860 |
1073737,091 |
|
|
4 |
0,012860 |
1035,1 |
0,00016538 |
1071432,01 |
13,311386 |
1035,112860 |
1071458,633 |
|
|
5 |
0,01286 |
1031,0 |
0,00016538 |
1062961,00 |
13,258660 |
1031,012860 |
1062987,517 |
|
|
3 |
1 |
0,02355 |
2054,4 |
0,00055460 |
4220559,36 |
48,381120 |
2054,423550 |
4220656,123 |
|
2 |
0,02355 |
2049,7 |
0,00055460 |
4201270,09 |
48,270435 |
2049,723550 |
4201366,631 |
|
|
3 |
0,02355 |
2046,7 |
0,00055460 |
4188980,89 |
48,199785 |
2046,723550 |
4189077,290 |
|
|
4 |
0,02355 |
2049,7 |
0,00055460 |
4201270,09 |
48,270435 |
2049,723550 |
4201366,631 |
|
|
5 |
0,02355 |
2048,0 |
0,00055460 |
4194304,00 |
48,230400 |
2048,023550 |
4194400,461 |
|
|
4 |
1 |
0,04145 |
3737,6 |
0,00171810 |
13969653,76 |
154,923520 |
3737,641450 |
13969963,61 |
|
2 |
0,04145 |
3722,2 |
0,00171810 |
13854772,84 |
154,285190 |
3722,241450 |
13855081,41 |
|
|
3 |
0,04145 |
3717,1 |
0,00171810 |
13816832,40 |
154,073795 |
3717,141450 |
13817140,56 |
|
|
4 |
0,04145 |
3722,2 |
0,00171810 |
13854772,84 |
154,285190 |
3722,241450 |
13855081,41 |
|
|
5 |
0,04145 |
3712,0 |
0,00171810 |
13778944,00 |
153,862400 |
3712,041450 |
13779251,73 |
|
|
5 |
1 |
0,08565 |
7929,6 |
0,00733592 |
62878556,16 |
679,170240 |
7929,685650 |
62879927,99 |
|
2 |
0,08565 |
7929,4 |
0,00733592 |
62875384,36 |
679,153110 |
7929,485650 |
62876742,67 |
|
|
3 |
0,08565 |
7929,6 |
0,00733592 |
62878556,16 |
679,170240 |
7929,685650 |
62879927,99 |
|
|
4 |
0,08565 |
7929,8 |
0,00733592 |
62881728,04 |
679,187370 |
7929,885650 |
62883086,42 |
|
|
5 |
0,08565 |
7929,6 |
0,00733592 |
62878556,16 |
679,170240 |
7929,685660 |
62879927,99 |
|
|
6 |
1 |
0,09714 |
8960,0 |
0,00943618 |
80281600,00 |
870,374400 |
8960,097140 |
80283340,76 |
|
2 |
0,09714 |
9045,3 |
0,00943618 |
81817452,09 |
878,660442 |
9045,397140 |
81819209,42 |
|
|
3 |
0,09714 |
9088,0 |
0,00943618 |
82591744,00 |
882,808320 |
9088,097140 |
82593509,63 |
|
|
4 |
0,09714 |
9045,3 |
0,00943618 |
81817452,09 |
878,660442 |
9045,397140 |
81819209,42 |
|
|
5 |
0,09714 |
9088,0 |
0,00943618 |
82591744,00 |
882,808320 |
9088,097140 |
82593509,63 |
|
|
n = l·m |
|
|
|
|
|
|
|
|
|
30 |
1,31075 |
119482,2 |
0,09606025 |
819196872,2 |
8869,361074 |
119483,5117 |
819214611,0 |
|
Для извлечения С2Н4 из масла применен метод АРП в шприце емкостью 20 мл с заводской градуировкой, в котором содержится 12 мл гелия и 8 мл масла (Vг/Vм = 1,5). Диаметр пузырька газа в масле составил 3 мм.
Среднее арифметическое значение высоты пика С2Н4 при двух параллельных измерениях составило 814,0 см с относительной погрешностью, вносимой делителем выходного сигнала.
1. По формуле (20) рассчитываем содержание С2Н4 в масле
=
(813,6 + 127)×(1,7 + 1,5)/94062 = 0,0320 % об.
2.
По формуле (23)
рассчитываем среднее квадратическое отклонение за счет случайной погрешности
измерения ![]()

3. По формуле (24) рассчитываем относительную неучтенную систематическую погрешность
![]()
4. По формуле (25) проводим расчет абсолютной величины неучтенной систематической погрешности
об.
5. По п. 6.3 проверяем значимости случайной и систематической погрешности
![]()
При
такой величине соотношения
и
обе величины оказываются значимыми.
6. По формуле (27) проводим оценку суммарного среднего квадратического отклонения результата измерения
об.
7. По таблицам определяем коэффициент Стьюдента для f = m×l - 2 = 28 при доверительной вероятности 0,95
tp.f = 2,05
8. По формуле (28) рассчитываем коэффициент К
К = (2,05×0,0005 +
0,0032) / (0,0005 +
) = 2,14
9. По формуле (26) оцениваем суммарную погрешность измерения содержания С2Н4 в масле
об.
10. В соответствии с (29) результат измерения записываем в виде
об.
1. ТОО МЗ «Хроматограф» (109429, Москва, ул. Верхние поля, 24) - лабораторные газовые хроматографы.
2. ООО НПФ «ЭЛЕКТРА» (103009, Москва, а/я 153) - хроматографический комплекс для анализа газов, растворенных в трансформаторном масле.
3. АО «ЦВЕТ» (606000, г. Дзержинск, Нижегородской обл.) - хроматограф для анализа трансформаторного масла и лабораторные газовые хроматографы.
4. НИИ Химии при Нижегородском государственном университете (603600, Нижний Новгород, пр. Гагарина, д. 23, корп. 5) - аттестованные газовые смеси в баллонах и чистые газы.
5. Кислородный завод (143900, г. Балашиха, Московская обл.) - аттестованные газовые смеси в баллонах.
6. ВНИИМ им. Д.И. Менделеева (198005, Санкт-Петербург, Московский пр. 19) - аттестованные газовые смеси и чистые газы.
1. Публикация МЭК 567.
2. РД 34.46.303-89. «Методические указания по подготовке и проведению хроматографического анализа газов, растворенных в масле силовых трансформаторов», М.: СПО Союзтехэнерго, 1990.
3. Пецев Н., Коцев Н. «Справочник по газовой хроматографии», М.: Мир, 1987.
4. Коган Л.А. «Количественная газовая хроматография», М.: Химия, 1975.
5. Витенберг А.Г., Иоффе Б.В. «Газовая экстракция в хроматографическом анализе», Л.: Химия, 1982.
6. Монастырский А.Е. и др. «Методы и средства оценки состояния маслонаполненного оборудования», Учебное пособие, СПб, 1996, с. 29.
7. Бузаев В.В. и др. «Влияние времени контакта газовой пробы с воздухом на искажение результатов хроматографического анализа», Эл. станции, № 7, 1997, с. 58.
8. ГОСТ Р8.563-96 ГСИ. Методики выполнения измерений.
9. ГОСТ 8.207-86 ГСИ. Прямые измерения с многократными наблюдениями.
10. «Физико-химические методы анализа. Практическое руководство». Под ред. Алесковского В.Б., Л.: Химия, 1988.
11. Ручнов В.И. «Метрологическое обеспечение и стандартизация нефтегазопоисковой геохимии», М.: Недра, 1991.
12. Лурье А.А. «Хроматографические материалы (справочник)», М.: Химия, 1978.:
Рис. 1. Отбор проб масла из бака трансформатора:
1) Медицинский шприц; 2) Шлиф шприца; 3) Резиновая трубка с внутренним диаметром 2 - 3 мм; 4) Переходник; 5) Трубка с внутренним диаметром 4 - 6 мм; 6) Штуцер; 7) Вентиль; 8) Бак трансформатора.
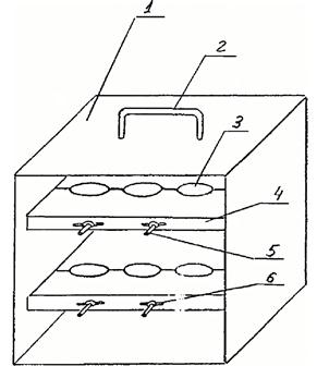
Рис. 2. Контейнер для транспортировки шприцев с маслом:
1) Корпус контейнера; 2) Ручка; 3) Гнездо для шприца; 4) Прижимная планка; 5) Винт; 6) Барашек.
Рис. 3. Устройство для заполнения шприца инертным газом:
1) Запорный клапан; 2) Вентиль тонкой регулировки; 3) Стальной капилляр с внутренним диаметром 1 мм; 4) Соединительный узел; 5, 9) Резиновая прокладка; 6, 8) Накидная гайка; 7) Проходник; 10) Медицинская игла; 11) Стеклянный шприц.
Рис. 4. Устройство для приготовления газовых смесей и растворов газов в масле:
1) Шприц; 2) Рубашка шприца; 3) Резиновые уплотнения; 4) Эпоксидная смола; 5) Шестиходовой кран; 6) Дозирующая петля; 7, 9) Узлы герметизации; 8) Гайка; 10) Шаблон.
Рис. 5. Зависимость сигнала детектора от времени контакта фаз
Рис. 6. Устройство ускорения достижения равновесия:
1) Барабан; 2) Ячейка для шприца; 3) Стойка с электроприводом барабана.
Рис. 7. Схема приставок ВТИ для извлечения газов из масла:
а) Приставка объемом 8,0 мл; б) Приставка объемом 1,25 мл.
1 - 3) Металлические одноходовые краны; 4) Внешний обогреватель; 5) Реакционный сосуд; 6) Кран для слива масла; 7) Устройство для ввода масла в реакционный сосуд; 8) Шприц для ввода масла в приставку
Рис. 8. Хроматограмма газовой смеси
Рис. 9. Прибор для приготовления масла, насыщенного газом:
1) Сосуд с маслом; 2) Трубка подвода газа; 3) Трубка вывода газа; 4) Приспособление с резиновой прокладкой; 5) Расширитель; 6) Шприц; 7) Масляный затвор.
Рис. 10. Прибор для разбавления масла, насыщенного газом:
1) Сосуд; 2) Приспособление для ввода и отбора пробы масла; 3) Резиновая прокладка; 4) Трубка подвода газа-носителя; 5) Трубка вывода газа-носителя 6) Магнит; 7) Магнитная мешалка; 8) Масляный затвор; 9 - 11) Краны.
Рис. 11. Схема комплекса для проведения хроматографического анализа газов, извлеченных из масла, с применением двух газов-носителей:
1) Блок подготовки газов хроматографа для анализа СО, СО2 и углеводородов; 2) Дозатор для анализа СО; 3) Дозатор для анализа СО2 и углеводородов; 4) Колонка для анализа СО; 5) Колонка для анализа СО2 и углеводородов; 6) ДТП хроматографа для анализа СО, СО2 и углеводородов; 7) ДИП того же хроматографа; 8) Термостат того же хроматографа; 9) Блок подготовки газов хроматографа для анализа Н2; 10) Дозатор для анализа Н2; 11) Колонка для анализа Н2; 12) Колонка сравнения для анализа Н2; 13) ДТП хроматографа для анализа Н2; 14) Термостат хроматографа для анализа Н2.
Рис. 12. Схеме комплекса для проведения хроматогвафического анализа газов, извлеченных из масла, с применением одного газа-носителя (аргона) и метанатора:
1) Блок подготовки газов хроматографа; 2) Дозатор для анализа Н2; 3) Колонка для анализа Н2; 4) ДТП; 5) ДИП; 6) Дозатор для анализе СО, СО2 и углеводородов; 7) Колонка для анализа СО, СО2 и углеводородов; 8) Колонка сравнения при анализе Н2; 9) Тройник; 10) Метанатогг; 11) Термостат метанатора; 12) Термостат хроматографа.
Рис. 13. Определение внутреннего объема газового крана-дозатора
СОДЕРЖАНИЕ