российское акционерное общество энергетики и
электрификации
«еэс россии»
ИНСТРУКЦИЯ
ПО ЭКСПЛУАТАЦИИ,
ПОРЯДКУ И СРОКАМ ПРОВЕРКИ
ПРЕДОХРАНИТЕЛЬНЫХ УСТРОЙСТВ
СОСУДОВ, АППАРАТОВ
И ТРУБОПРОВОДОВ ТЭС
РД 153-34.1-39.502-98
Москва 2000
Разработано Открытым акционерным обществом «Фирма по наладке, совершенствованию технологии и эксплуатации электростанций и сетей ОРГРЭС»
Исполнитель В.Б. КАКУЗИН
Согласовано с Госгортехнадзором России (Письмо от 31.07.98 № 12-22/760)
Заместитель начальника управления Н.А. ХАПОНЕН
Утверждено Департаментом стратегии развития и научно-технической политики РАО «ЕЭС России» 27.07.98
Первый заместитель начальника А.П. БЕРСЕНЕВ
РД 153-34.1-39.502-98 |
Вводится в
действие
с 01.12.2000 г.
1.1. Настоящая Инструкция распространяется на предохранительные устройства (ПУ), установленные на сосудах, аппаратах и трубопроводах ТЭС, работающих на паре и воде.
1.2. Инструкция не распространяется на те ПУ паровых и водогрейных котлов, на которые распространяются требования [5] и [8].
1.3. Инструкция содержит основные требования к установке ПУ и определяет порядок их регулировки, эксплуатации и технического обслуживания.
В приложениях 1 - 4 Инструкции изложены основные требования, предъявляемые к ПУ энергоустановок, содержащиеся в Правилах [6] и [7] Госгортехнадзора России и ГОСТ 12.2.085-82 [1] и ГОСТ 24570-81 [3], приведены технические характеристики клапанов, применяемых для защиты оборудования энергоустановок ТЭС от повышения давления сверх допустимого значения, методика расчета пропускной способности предохранительных клапанов (ПК) и ряд других материалов, представляющих практический интерес для эксплуатационного персонала электростанций.
Инструкция направлена на повышение безопасности эксплуатации оборудования энергоустановок.
1.4. С выходом настоящей Инструкции утрачивает силу «Инструкция по эксплуатации, порядку и срокам проверки предохранительных устройств сосудов, аппаратов и трубопроводов тепловых электростанций» (М.: СПО Союзтехэнерго, 1981).
1.5. В Инструкции приняты следующие сокращения:
БРОУ - быстродействующая редукционно-охладительная установка;
ГПК - главный предохранительный клапан;
ИК - импульсный клапан;
ИПУ - импульсно-предохранительное устройство;
МПУ - мембранное предохранительное устройство;
НТД - научно-техническая документация;
ПВД - подогреватель высокого давления;
ПК - предохранительный клапан;
ПНД - подогреватель низкого давления;
ППК - пружинный предохранительный клапан прямого действия;
ПУ - предохранительное устройство;
ПЭН - питательный электронасос;
РБНТ - расширительный бак низких точек;
РГПК - рычажно-грузовой клапан прямого действия;
РД - руководящая документация;
РОУ - редукционно-охладительная установка;
ТПН - турбопитательный насос;
ТЭС - тепловая электростанция.
Исходя из условий эксплуатации сосудов, аппаратов и трубопроводов на ТЭС, принципа действия ПУ, применяемых для их защиты, с учетом терминов и определений, содержащихся в различных ГОСТ, нормативных документах Госгортехнадзора России и технической литературе, в настоящей Инструкции приняты следующие термины и определения.
2.1. Рабочее давление рраб - максимальное внутреннее избыточное давление, возникающее при нормальном протекании рабочего процесса без учета гидростатического давления среды и кратковременного повышения давления во время действия ПУ.
2.2. Расчетное давление ррас - избыточное давление, на которое производился расчет на прочность элементов сосудов, аппаратов и трубопроводов.
Расчетное давление должно быть не меньше рабочего.
2.3. Допустимое давление рдоп - допустимое принятыми нормами максимальное избыточное давление, которое может возникнуть в защищаемом объекте при сбросе из него среды через ПУ. Соотношение между рдоп и рраб (ррас) приведено в таблице.
|
Рабочее давление рраб, МПа (кгс/см2) |
Допустимое давление рдоп, МПа (кгс/см2) |
|
|
Сосуды |
До 0,3 (3) вкл. |
рраб + 0,05 (рраб + 0,5) |
|
Св. 0,3 (3) до 6,0 (60) вкл. |
1,15рраб |
|
|
Св. 6,0 (60) |
1,1рраб |
|
|
Трубопроводы |
До 0,5 (5,0) вкл. |
ррас + 0,05 (0,5) |
|
Св. 0,5 (5) |
1,1ррас |
Предохранительные устройства должны быть выбраны и отрегулированы таким образом, чтобы давление в сосуде или аппарате не могло подняться выше допустимого давления.
2.4. Давление начала открытия рн.о - избыточное давление в защищаемом объекте, при котором запорный орган начинает перемещаться (усилие, стремящееся открыть клапан, уравновешено усилием, удерживающим запорный орган на седле).
Давление начала открытия всегда должно быть выше рабочего давления.
2.5. Давление полного открытия роткр - наименьшее избыточное давление перед клапаном, при котором достигается требуемая пропускная способность.
2.6. Давление срабатывания рср - максимальное избыточное давление, которое устанавливается перед ПУ при его полном открытии.
Давление срабатывания не должно превышать рдоп.
На основании опыта эксплуатации и проведенных испытаний установлено, что у ИПУ давление срабатывания практически равно давлению начала открытия ИК, у полноподъемных ППК время подъема на значение хода равно 0,008 - 0,04 с. Отсюда значение превышения давления полного срабатывания над давлением начала открытия зависит от скорости повышения давления в защищаемом объекте. С учетом возможных колебаний запорного органа применение полноподъемных ПК рекомендуется в системах со скоростью возрастания давления:
![]()
2.7. Давление закрытия рзак - избыточное давление перед клапаном, при котором после срабатывания происходит посадка запорного органа на седло.
2.8. Пропускная способность G - максимальный массовый расход рабочей среды, который может быть сброшен через полностью открытый клапан при параметрах срабатывания.
Методика расчета пропускной способности ПК сосудов, регламентируемая ГОСТ 12.2.085-82 [1], приведена в приложении 2. Расчет пропускной способности ПК трубопроводов регламентируется ГОСТ 24570-81 [3].
3.1. Для защиты сосудов, аппаратов и трубопроводов ТЭС от повышения давления сверх допустимого значения допускается применять:
предохранительные клапаны непосредственного действия: ППК и РГПК;
импульсно-предохранительные устройства;
предохранительные устройства с разрушающимися мембранами;
другие устройства, применение которых согласовано с Госгортехнадзором России.
3.2. Установка ПУ на сосудах, аппаратах и трубопроводах, расчетное давление которых меньше давления питающих их источников, производится в соответствии с НТД, правилами безопасности. Количество, конструкция, место установки ПК и направление сброса определяется проектом.
3.3. Если расчетное давление сосуда равно давлению питающего их источника или превышает его и в сосуде исключена возможность повышения давления от химической реакции или обогрева, то установка на нем ПУ и манометра необязательна.
3.4. При выборе количества и конструкции ПУ следует исходить из необходимости исключения возможности повышения давления в защищаемом объекте сверх допустимого значения. При этом выбор способа защиты оборудования должен включать в себя следующие этапы:
анализ возможных аварийных ситуаций (включая ошибочные действия персонала), которые могут привести к повышению давления в рассматриваемом оборудовании или узле тепловой схемы, и определение на основании его расчетной (наиболее опасной) аварийной ситуации;
выявление наиболее ослабленного элемента защищаемого объекта, регламентирующего значение расчетного давления, определяющего уставки срабатывания ПУ;
определение массы и параметров технологической среды, которая должна быть сброшена через ПУ;
на основании технологических особенностей защищаемой системы построение схем защиты и выбор типа и конструкции ПУ;
определение значений давления срабатывания ПУ;
определение с учетом сопротивления трубопроводов необходимого проходного сечения ПУ и их количества. Допускается применение комбинации из различных типов ПУ со сдвигом уставок их срабатывания.
3.5. Предохранительные устройства должны устанавливаться в местах, удобных для их монтажа, обслуживания и ремонта.
3.6. Предохранительные клапаны должны устанавливаться вертикально на наиболее высокой части аппарата или сосуда с тем, чтобы при их открытии из защищаемого объекта в первую очередь удалялись пары и газы. Допускается установка ПК на трубопроводах или специальных отводах в непосредственной близости к защищаемому объекту.
3.7. Между ПУ и защищаемым объектом и за ПУ запрещается установка запорных органов.
3.8. Арматура перед (за) ПУ может быть установлена при условии монтажа двух ПУ и блокировки (переключающего устройства), исключающей возможность одновременного отключения обоих ПУ. При переключении с одного ПУ на другое суммарная пропускная способность находящихся в работе ПК должна обеспечивать выполнение требований п. 3.4 настоящей Инструкции.
3.9. Внутренний диаметр подводящего трубопровода должен быть не менее внутреннего диаметра входного патрубка ПК.
3.10. При установке на одном патрубке (трубопроводе) нескольких ПК внутренний диаметр патрубка (трубопровода) должен рассчитываться исходя из требуемой пропускной способности ПК. При этом при определении сечения присоединительных трубопроводов длиной более 1000 мм необходимо учитывать значение их сопротивления.
3.11. Присоединительные и импульсные трубопроводы ПУ должны быть защищены от замерзания в них рабочей среды.
3.12. Отбор рабочей среды из патрубков (и на участках присоединительных трубопроводов от защищаемого объекта до ПУ), на которых установлены ПУ, не допускается.
3.13. Среда от ПК должна отводиться в безопасное место. В тех случаях, когда рабочей средой является вода, она должна отводиться в расширитель или другой сосуд, рассчитанный на прием воды от ПК.
3.14. Внутренний диаметр отводящего трубопровода должен быть не менее внутреннего диаметра выходного патрубка ПК. В случае объединения отводящих труб нескольких клапанов сечение коллектора должно быть не менее суммы сечений выходных патрубков этих ПК.
3.15. Установка шумоглушительных устройств на отводящем трубопроводе ПК не должна вызывать снижение пропускной способности ПУ ниже требуемого по условиям безопасности значения. При оснащении отводящего трубопровода шумоглушительным устройством сразу за ПК должен быть предусмотрен штуцер для установки манометра.
3.16. Суммарное сопротивление отводящих трубопроводов, включая шумоглушительное устройство, должно быть таково, чтобы при расходе, равном максимальной пропускной способности ПУ, противодавление в выходном патрубке этих ПК не превышало 25 % давления срабатывания ПК.
3.17. Отводящие трубопроводы ПУ и импульсные линии ИПУ в местах возможного скопления конденсата должны иметь дренажные устройства для его удаления.
Установка запорных органов или другой арматуры на дренажных устройствах трубопроводов не допускается.
3.18. Стояк (вертикальный трубопровод), по которому среда отводится в атмосферу, должен быть надежно закреплен и защищен от попадания атмосферных осадков.
3.19. В трубопроводах ПК должна быть обеспечена необходимая компенсация температурных удлинений. Крепление корпуса и трубопроводов ПК должно быть рассчитано с учетом статических нагрузок и динамических усилий, возникающих при срабатывании ПК.
3.20. Трубопроводы, подводящие среду к ПК, по всей длине должны иметь уклон в сторону сосуда. Следует исключить резкие изменения стенок этих трубопроводов при срабатывании ПК.
3.21. В тех случаях, когда защита объекта от повышения давления осуществляется ИПУ, расстояние между штуцерами ИК и ГПК должно быть не менее 500 мм. Длина соединительной линии между ИК и ГПК не должна превышать 2,5 м.
3.22. При применении ИПУ с ИК, оснащенными электромагнитным приводом, питание электромагнитов должно осуществляться от двух независимых один от другого источников питания, обеспечивающих срабатывание ИПУ при исчезновении напряжения собственных нужд. В тех ИПУ, в которых при отключении электропитания ГПК автоматически открывается, допускается один источник питания.
3.23. В тепловых схемах ТЭС применение мембранных ПУ для защиты от повышения давления допускается только на тех объектах, отключение которых не приводит к отключению основного оборудования (котлов, турбин). Примеры возможного применения МПУ в тепловых схемах ТЭС рассмотрены в приложении 3.
3.24. Для защиты энергетических объектов допускается применение МПУ, спроектированных и изготовленных предприятиями, имеющими разрешение органов Госгортехнадзора России.
3.25. Зажимные приспособления для установки мембран могут быть изготовлены самим заказчиком в строгом соответствии с чертежами, разработанными специализированной организацией. Каждая предохранительная мембрана должна иметь клеймо предприятия с указанием давления срабатывания и допустимой при эксплуатации рабочей температуры.
3.26. Не реже 1 раза в 2 года необходимо производить профилактическую замену мембран.
4.1. Регулировка ПК на срабатывание производится:
после окончания монтажа сосуда (аппарата, трубопровода) перед включением его в эксплуатацию;
после ремонта, если производилась замена ПК или их капитальный ремонт (полная разборка, проточка уплотнительных поверхностей, замена деталей ходовой части и т.д.), а у ППК и в случае замены пружины.
4.2. Импульсно-предохранительные устройства и РГПК регулируются на рабочем месте установки клапанов; ППК могут регулироваться как на рабочем месте, так и на специальном стенде паром или воздухом соответствующего давления.
Рис. 1. Стенд для испытаний ПК
Принципиальное конструктивное решение стенда приведено на рис. 1.
4.3. До начала работ по регулировке ПК должны быть выполнены следующие организационно-технические мероприятия:
4.3.1. Обеспечено хорошее освещение рабочих мест, проходов, площадок обслуживания и самих ПК (ИПУ).
4.3.2. Налажена двусторонняя связь мест регулировки ПК со щитом управления.
4.3.3. Проведен инструктаж сменного и наладочного персонала, участвующего в работах по регулировке ПК. Персонал должен знать конструктивные особенности подлежащих регулировке ПУ и требования РД по их эксплуатации.
4.4. Непосредственно перед началом регулировки и опробования ПУ:
4.4.1. Проверить прекращение всех монтажных и наладочных работ в тех системах, в которых будет создаваться необходимое для регулировки ПК давление пара, на самих ПУ и их сбросных трубопроводах.
4.4.2. Проверить надежность отключения тех систем, в которых будет повышаться давление, от смежных систем. Вся отключающая арматура в закрытом положении, а также арматура на открытых линиях дренажей должна быть обвязана цепью, на ней должны быть вывешены плакаты «Не открывать, работают люди» и «Не закрывать, работают люди».
4.4.3. Из зоны регулировки ПК должны быть удалены все посторонние люди.
4.5. Для проведения регулировки ПК в непосредственной близости к ним должен быть установлен манометр с классом точности не ниже 1,0. Перед установкой он должен быть проверен в лаборатории по образцовому манометру.
4.6. Регулировку ИПУ с рычажно-грузовым импульсным клапаном следует производить в следующем порядке:
4.6.1. Грузы ИК отодвинуть на край рычага.
4.6.2. Установить в защищаемом объекте давление срабатывания в соответствии с требованиями таблицы.
4.6.3. Медленно перемещать груз на рычаге в сторону корпуса до положения, при котором происходит срабатывание ГПК.
4.6.4. Вновь поднять давление в сосуде до значения, при котором откроется ГПК. В случае необходимости скорректировать положение груза на рычаге и провести повторную проверку правильности срабатывания клапана.
4.6.5. Закрепить груз на рычаге стопорным винтом. В случае если на объекте установлено несколько ИПУ, установить на рычаге дополнительный груз для возможности регулировки других ИПУ.
4.6.6. В том же порядке отрегулировать остальные ИПУ.
4.6.7. Установить в объекте требуемое давление и снять с рычагов дополнительные грузы.
4.6.8. О проведенной регулировке сделать запись в «Журнале эксплуатации и ремонта предохранительных устройств» (форма 1 приложения 5).
4.7. Рычажно-грузовые клапаны прямого действия регулируются в том же порядке, что и ИПУ.
4.8. Регулировку ППК следует производить в следующем порядке:
4.8.1. Установить клапаны на стенде (см. рис. 1), обеспечив отвод среды от клапана в безопасное место; сжать пружину до значения зазора между витками 0,5 мм. Для ПК, производимых АО «Красный котельщик», значение предварительного сжатия пружины указано в табл. П4.14 приложения 4.
4.8.2. Открыть полностью запорный клапан (вентиль) 1 и частично вентиль 3 (см. рис. 1); постепенно открывая вентиль 2, обеспечить вытеснение из-под ПК воздуха и воды и прогрев стенда.
4.8.3. Руководствуясь требованиями таблицы, с помощью вентилей 2 и 3 установить под ПК требуемое давление срабатывания.
4.8.4. Вращением регулировочной втулки ПК против часовой стрелки ослаблять сжатие пружины до срабатывания ПК.
4.8.5. Проверить давление, при котором ПК закрывается. Оно не должно быть ниже 0,8рраб Если давление закрытия меньше 0,8рраб, то следует проверить положение верхней регулировочной втулки (втулки демпфера) и центровку ходовой части; если ПК закрывается с запаздыванием при давлении ниже 0,8рраб, то верхнюю втулку вращением против часовой стрелки следует поднять.
4.8.6. Вновь поднять давление до срабатывания ПК. Зафиксировать это давление. В случае необходимости путем зажатия или ослабления пружины скорректировать значение давления срабатывания.
4.8.7. При необходимости регулировки нескольких ПК непосредственно на месте установки после настройки ПК записать значение затяжки пружины, обеспечивающее срабатывание ПК при заданном давлении, а затем затянуть пружину до первоначального значения Н1 и провести регулировку следующего ПК. После окончания регулировки всех ПК до значений, зафиксированных после регулировки каждого ПК, закрыть регулировочную втулку колпаком и опломбировать винты крепления колпака к бугелю.
4.8.8. При установке на защищаемом объекте ИПУ, оснащенных ИК с пружинной нагрузкой, они регулируются в том же порядке, что и ППК.
5.1. Проверка исправности действия ПК продувкой следует производить не реже 1 раза в 6 мес. На электростанциях, оснащенных котлами, работающими на угольной пыли, проверку исправности действия ПК следует производить 1 раз в 3 мес.
5.2. На оборудовании, включаемом в работу периодически (расширители растопочных сепараторов, РОУ, БРОУ и т.п.), перед каждым включением их в работу путем принудительного открытия следует расходить ИК ИПУ и сделать об этом запись в «Журнале эксплуатации и ремонта предохранительных устройств».
Допускается не производить расхаживание ИК, если интервал между включениями защищаемого оборудования не превышал 1 мес.
5.3. Проверка ПК продувкой производится по графику (форма 2 приложения 5), который составляется ежегодно по каждому цеху, согласовывается с инспектором по эксплуатации и утверждается главным инженером электростанции.
5.4. Если проверка производится поднятием давления до уставки срабатывания ПК, то производится поочередная проверка каждого ПК.
Если по режимным условиям нет возможности поднять давление до уставки срабатывания ПК, то допускается производить проверку ПК ручным подрывом при рабочем давлении.
5.5. Проверка производится начальником смены или старшим машинистом и мастером ремонтной организации, осуществляющей ремонт ПК.
О проведенной проверке начальник смены делает запись в «Журнале эксплуатации и ремонта предохранительных устройств».
6.1. Плановый контроль состояния и ремонт ПК должны производиться не реже 1 раза в 4 года по графику, составленному исходя из возможности отключения оборудования, на котором они установлены.
6.2. Контроль состояния ПК включает в себя разборку, очистку и дефектацию деталей, проверку герметичности затвора, состояние уплотнений поршневого привода ГПК.
6.3. Контроль состояния и ремонт ПК должны производиться в специализированной арматурной мастерской на специальных стендах. Мастерская должна быть хорошо освещена, должна иметь грузоподъемные механизмы и подвод сжатого воздуха. Расположение мастерской должно обеспечивать удобную транспортировку ПК к месту установки.
6.4. Контроль состояния и ремонт ПК должны производиться постоянной ремонтной бригадой, имеющей опыт ремонта арматуры, изучившей конструктивные особенности ПК и условия их эксплуатации.
Бригада должна быть обеспечена рабочими чертежами ПК, руководствами по эксплуатации, ремонтными формулярами, запасными деталями и материалами.
6.5. Перед дефектацией детали разобранных клапанов очищаются от грязи и промываются в керосине.
6.6. При осмотре уплотнительных
поверхностей седла и тарелки обратить внимание на отсутствие трещин, вмятин,
рисок и других повреждений. При последующей установке на рабочее место
уплотнительные поверхности деталей затвора должны иметь чистоту не менее 0,16
. Качество уплотнительных поверхностей седла
и тарелки должно обеспечивать их взаимное прилегание по замкнутому кольцу,
ширина поверхности которого не менее 80 % ширины меньшей уплотнительной
поверхности.
6.7. Эллипсность рубашек поршневых приводов
ГПК и направляющих не должна превышать 0,05 мм на диаметр. Шероховатость
поверхностей, контактирующих с уплотнениями поршня, должна иметь чистоту 0,32
.
6.8. При осмотре поршня привода ГПК особое внимание следует обратить на состояние сальниковой набивки. Кольца набивки должны быть плотно сжаты между собой. На рабочей поверхности колец не должно быть никаких повреждений. Перед сборкой ее следует хорошо прографитить.
6.9. Следует проверить состояние цилиндрических пружин, для чего необходимо: произвести визуальный контроль состояния поверхности на наличие трещин, глубоких рисок, волосовин; измерить высоту пружины в свободном состоянии и сопоставить ее с требованиями чертежа; проверить отклонение пружины от перпендикулярности.
6.10. Должно быть проверено состояние резьбы всех крепежных деталей и регулировочных винтов; все детали, имеющие дефектную резьбу, подлежат замене.
6.11. Ремонт и восстановление деталей ПК следует производить, руководствуясь действующими инструкциями по ремонту арматуры.
6.12. Перед сборкой ПК следует проверить соответствие деталей размерам, указанным в формуляре или рабочих чертежах.
6.13. При сборке крепежных соединений затяжка гаек должна производиться равномерно, без перекоса соединяемых деталей. В собранных ПК концы шпилек должны выступать над поверхностью гаек не менее чем на 1 шаг резьбы.
6.14. Затяжка сальников в поршневых камерах ГПК должна обеспечивать герметичность поршня, но не должна препятствовать его свободному перемещению.
7.1. Общая ответственность за состояние, эксплуатацию, ремонт и проверку ПУ возлагается на начальника цеха, на оборудовании которого они установлены.
7.2. Распоряжением по цеху начальник цеха назначает лиц, ответственных за проверку ПК, организацию их ремонта, ведение технической документации.
7.3. В каждом цехе должен вестись «Журнал эксплуатации и ремонта предохранительных устройств», который должен включать в себя следующие разделы:
7.3.1. Ведомость давлений срабатывания ПК (форма 1 приложения 5).
7.3.2. График проверки исправности ПК продувкой (форма 2 приложения 5).
7.3.3. Сведения о ремонте ПК (форма 3 приложения 5).
7.3.4. Сведения о принудительных опробованиях ПК котлов (форма 4 приложения 5).
7.4. Каждый ПК должен иметь заводской паспорт установленного образца. При отсутствии на ТЭС паспорта завода-изготовителя на каждый ПК необходимо составить эксплуатационный паспорт (по форме 5 приложения 5). Паспорт должен быть подписан начальником цеха и утвержден главным инженером ТЭС.
7.5. На каждую группу однотипных ПК в цехе должны быть в наличии инструкция по эксплуатации (руководство по эксплуатации) и сборочный чертеж ПК, а для ППК дополнительно чертеж или паспорт пружины.
8.1. К месту установки ПК должны транспортироваться в вертикальном положении.
8.2. При разгрузке ПК с любого вида транспорта не допускается сбрасывание с платформ, неправильная стропка, установка ПК на землю без подкладок.
8.3. Клапаны должны храниться в вертикальном положении на подкладках в сухом закрытом помещении. Подводящий и выходной патрубки должны быть закрыты заглушками.
9.1. Предохранительные устройства должны быть смонтированы таким образом, чтобы персонал, производящий регулировку и опробования, имел возможность быстрой эвакуации в случае непредвиденных выбросов среды через неплотности выхода штоков из крышек и фланцевых соединений.
9.2. Предохранительные устройства должны эксплуатироваться при давлении и температуре, не превышающих значений, указанных в технической документации.
9.3. Запрещается эксплуатация и испытания ПУ при отсутствии отводящих труб, предохраняющих персонал от ожогов.
9.4. Категорически запрещается:
производить какие либо работы по устранению дефектов при наличии давления в трубопроводе;
при устранении дефектов применять гаечные ключи, большие по размеру, чем размер крепежных деталей под ключ.
9.5. При опробовании ИК ИПУ и клапанов прямого действия рычаг клапана следует поднимать медленно, находясь в стороне от мест возможного выброса среды из клапанов. Персонал, производящий опробование клапанов, должен иметь индивидуальные средства защиты: спецодежду, защитные очки, наушники и т.п.
9.6. Консервацию и расконсервацию клапанов следует производить, руководствуясь инструкцией завода-изготовителя, с использованием индивидуальных средств защиты.
9.8. Запрещается эксплуатация ПУ при отсутствии указанной в разд. 7 настоящей Инструкции технической документации.
1. Клапаны должны автоматически открываться при заданном давлении и иметь следующие показатели надежности:
вероятность безотказной работы 0,98;
срок службы до капитального ремонта 48 мес;
среднюю наработку до первого отказа 6000 ч.
2. В открытом положении ПК должны работать устойчиво, без вибрации и пульсации; пропускная способность ПК должна быть не менее проектной, исключающей повышение давления в защищаемом объекте сверх допустимых пределов.
3. Клапаны должны безотказно закрываться при давлении, не нарушающем технологический процесс в защищаемой системе, но не ниже 0,8рраб.
4. В закрытом положении при рабочем давлении ПК должен сохранять требуемую герметичность затвора на протяжении заданного технического ресурса. Клапаны, установленные на сосудах, связанных с вакуумной системой, должны исключать присос воздуха при образовании вакуума в сосуде.
5. В РГПК груз должен состоять из одной детали. Фактическое значение массы груза должно быть выбито (отлито) на поверхности груза.
6. Конструкция ПК не должна допускать возможности произвольного изменения уставки их срабатывания: РГПК должны иметь на рычаге устройства, исключающие произвольное перемещение груза. У ППК винт, регулирующий натяжение пружины, должен быть закрыт колпаком, а винты, крепящие колпак, опломбированы.
7. Пружины ППК должны быть защищены от недопустимого нагрева и непосредственного воздействия рабочей среды. При полном открытии ПК должно быть исключено соприкосновение витков пружины.
8. В ИПУ ИК должен иметь диаметр условного прохода импульсных линий не менее 15 мм. Внутренний диаметр импульсных линий должен быть не менее внутреннего диаметра выходного штуцера ИК.
Пропускная способность ПК определяется по формулам:
- для водяного пара:
- для
давления в МПа;
- для
давления в кгс/см2;
- для жидкостей:
- для
давления в МПа;
- для
давления в кгс/см2,
где G - пропускная способность, кг/ч;
р1 - максимальное избыточное давление перед клапаном при его срабатывании МПа, (кгс/см2);
р2 - максимальное избыточное давление за клапаном, МПа (кгс/см2);
F - площадь проходного сечения клапана, равная наименьшей площади сечения в проточной части, мм2;
ρ2 - плотность жидкости перед клапаном при параметрах р1 и Т1, кг/м3;
a1 - коэффициент расхода, соответствующий площади F для газообразных сред;
a2 - коэффициент расхода, соответствующий площади F для жидких сред.
Значения величин F, a1 и a2 должны быть указаны в паспорте клапана или в другой технической документации клапанов (в чертеже общего вида или в руководстве по эксплуатации);
В1 - коэффициент, учитывающий физико-химические свойства водяного пара при рабочих параметрах перед ПК; при расчетах принимается по табл. П2.1 и П2.2 или подсчитывается по формулам:
- для давления в
МПа;
- для давления в
кгс/см2
(здесь V1 - удельный объем пара перед клапаном при параметрах p1 и T1;
k - показатель адиабаты: для насыщенного водяного пара k = 1,135; для перегретого водяного пара k = 1,31);
В2 - коэффициент, учитывающий соотношение давлений перед и за ПК; принимается по табл. П2.3 в зависимости от значений величин k и β:
- для давления
в МПа;
- для давления
в кгс/см2,
где β - отношение давлений за клапаном и перед ним.
При β £ βкр В2 = 1;
для насыщенного пара βкр = 0,577;
для перегретого пара βкр = 0,546,
где βкр - критическое отношение давлений за клапаном и перед ним.
Значение величины βкр можно подсчитать по формуле:

Таблица П2.1
Значения коэффициента В1 для насыщенного водяного пара при k = 1,135
|
p1 + 0,1 (р1 + 1) Мпа (кгс/см2) |
Значение коэффициента В1 |
||||||||
|
0,2 |
0,6 |
1,0 |
1,5 |
2,0 |
3,0 |
4,0 |
6,0 |
8,0 |
10,0 |
|
(2) |
(6) |
(10) |
(15) |
(20) |
(30) |
(40) |
(60) |
(80) |
(100,0) |
|
0,530 |
0,515 |
0,510 |
0,505 |
0,500 |
0,500 |
0,505 |
0,510 |
0,520 |
0,530 |
|
11,0 |
12,0 |
13,0 |
14,0 |
15,0 |
16,0 |
17,0 |
18,0 |
19,0 |
20,0 |
|
(110,0) |
(120,0) |
(130,0) |
(140,0) |
(150,0) |
(160,0) |
(170,0) |
(180,0) |
(190,0) |
(200,0) |
|
0,535 |
0,540 |
0,550 |
0,560 |
0,570 |
0,580 |
0,590 |
0,605 |
0,625 |
0,645 |
Таблица П2.2
Значения коэффициента В1 для перегретого водяного пара при k = 1,13
|
p1 + 0,1 (р1 + 1) Мпа (кгс/см2) |
Значение коэффициента B1 при температуре T1, °C |
|||||||
|
250 |
300 |
350 |
400 |
450 |
500 |
550 |
600 |
|
|
0,2 (2,0) |
0,400 |
0,455 |
0,440 |
0,420 |
0,405 |
0,390 |
0,380 |
0,365 |
|
1,0 (10,0) |
0,490 |
0,460 |
0,440 |
0,420 |
0,405 |
0,390 |
0,380 |
0,365 |
|
2,0 (20,0) |
0,495 |
0,465 |
0,445 |
0,425 |
0,410 |
0,390 |
0,380 |
0,365 |
|
3,0 (30,0) |
0,505 |
0,475 |
0,450 |
0,425 |
0,410 |
0,395 |
0,380 |
0,365 |
|
4,0 (40,0) |
0,520 |
0,485 |
0,455 |
0,430 |
0,410 |
0,400 |
0,380 |
0,365 |
|
6,0 (60,0) |
- |
0,500 |
0,460 |
0,435 |
0,415 |
0,400 |
0,385 |
0,370 |
|
8,0 (80) |
- |
0,570 |
0,475 |
0,445 |
0,420 |
0,400 |
0,485 |
0,370 |
|
16 (160,0) |
- |
- |
0,490 |
0,450 |
0,425 |
0,405 |
0,390 |
0,375 |
|
18 (180,0) |
- |
- |
- |
0,480 |
0,440 |
0,415 |
0,400 |
0,380 |
|
20 (200,0) |
- |
- |
- |
0,525 |
0,460 |
0,430 |
0,405 |
0,385 |
|
25 (250,0) |
- |
- |
- |
- |
0,490 |
0,445 |
0,415 |
0,370 |
|
30 (300,0) |
- |
- |
- |
- |
0,520 |
0,460 |
0,425 |
0,400 |
Таблица П2.3
Значения коэффициента В2
|
Значения B2 при k |
||||
|
1,100 |
1,135 |
1,310 |
1,400 |
|
|
0,500 |
- |
1,100 |
- |
- |
|
0,528 |
при |
|||
|
0,545 |
β £ βкр |
0,990 |
||
|
0,577 |
|
0,990 |
0,990 |
|
|
0,586 |
0,980 |
0,990 |
0,990 |
|
|
0,600 |
0,900 |
0,957 |
0,975 |
0,990 |
|
0,700 |
0,965 |
0,955 |
0,945 |
0,930 |
|
0,800 |
0,855 |
0,850 |
0,830 |
0,820 |
|
0,900 |
0,655 |
0,650 |
0,628 |
0,620 |
1. Растопочный выносной сепаратор прямоточного котла (рис. 2).
Рис. 2. Растопочный выносной сепаратор прямоточного котла
Предусмотрена двухступенчатая схема защиты:
первая ступень - ИПУ, настроенное на срабатывание при давлении в аппарате 1,7 МПа. Расчетная пропускная способность ИПУ - 40 % номинальной производительности котла;
вторая ступень - МПУ, рассчитанное на срабатывание в аппарате при давлении 2,3 МПа. Пропускная способность МПУ должна быть равна разности между возможным максимальным расходом пароводяной смеси из котла на растопочный сепаратор при номинальных параметрах пара и расходом среды через установленные ИПУ.
2. Сепаратор непрерывной продувки барабанных котлов (рис. 3).
Рис. 3. Сепаратор непрерывной продувки барабанных котлов
Предполагается также двухступенчатая схема защиты:
первая ступень - установленный согласно проекту ПК с уставкой срабатывания 0,69 МПа;
вторая ступень - МПУ с уставкой срабатывания 0,88 МПа.
Суммарный необходимый расход через ПУ определяется исходя из одновременного поступления максимального значения непрерывной продувки из всех барабанов, подключенных к сепаратору непрерывной продувки котлов. Расчетный расход среды через МПУ определяется как разность между этим значением и пропускной способностью установленных на сепараторе непрерывной продувки ПК.
3. Паровое и водяное пространство ПВД (рис. 4).
Рис. 4. Питательная установка энергоблока мощностью 250 - 300 МВт
На энергоблоках 300 МВт Ладыжинской ГРЭС МПУ применены для защиты парового и водяного пространства ПВД, они установлены на ПВД № 1 и ПВД № 2 вместо ПК. Защита водяного пространства осуществляется путем установки МПУ на входе в ПВД № 1.
4. Защита трубопроводов на стороне всасывания питательных насосов (см. рис. 4).
На рис. 4 приведена схема защиты трубопроводов на стороне всасывания ПТН энергоблоков мощностью 300 МВт.
Схема защиты двухступенчатая:
первая ступень - ИПУ, срабатывающее по сигналу от промежуточных реле ТПН, что исключает возникновение безрасходного режима при останове ПТН;
вторая ступень - МПУ с уставкой срабатывания, устанавливаемой исходя из прочности наиболее слабого элемента трубопровода на стороне всасывания ПТН. Пропускная способность МПУ определяется максимальным расходом пароводяной среды через незакрывшийся обратный клапан на стороне нагнетания ПТН при его останове.
1. Импульсно-предохранительные устройства АО «Сибэнергомаш»
Импульсно-предохранительное устройство производства АО «Сибэнергомаш» состоит из главного и импульсного клапанов, связанных между собой импульсной линией (рис. 5).
а - установка ПК на линии греющего пара деаэраторов; б - установка клапанов для РОУ; 1 - ПК; 2 - ИК
Рис. 5. Импульсно-предохранительное устройство:
Главный предохранительный клапан (рис. 6) - углового типа, фланцевый. Корпус 1 и крышка 2 из литой углеродистой (температура пара до 450 °С) или легированной стали; уплотнительные поверхности корпуса наплавлены электродами марки ЦТ-1, а тарелки 3 - нержавеющей сталью 20´13. Для перемещения ходовой части клапана в сторону открытия клапан оснащен поршневым приводом. Уплотнение поршня осуществляется мягкой сальниковой набивкой.
Когда давление в защищаемой системе повышается до уставки срабатывания, ИК открывается и пар поступает в камеру над поршнем ГПК. Так как площадь поршня больше площади тарелки, то результирующее усилие, действующее на ходовую часть со стороны поршня, больше усилия среды, действующего на тарелку, клапан открывается и сбрасывает пар в атмосферу. При понижении давления ИК закрывается, прекращая доступ пара в надпоршневое пространство ГПК, и под воздействием среды и пружины тарелка поднимается вверх, закрывая клапан. Для предотвращения ложных срабатываний ГПК в случае неплотности ИК в крышке ГПК выполнен штуцер, через который надпоршневая камера ГПК связана с отводящим трубопроводом. При таком решении утечка среды через неплотность затвора ИК удаляется в атмосферу, благодаря чему исключается повышение давления в этой камере.
Импульсный клапан (рис. 7) - рычажно-грузового типа. Регулирование ИК на давление, при котором должно срабатывать ИПУ, осуществляется перестановкой груза на рычаге. Масса груза и длина рычага ИК в зависимости от рабочего давления в системе, на которой они устанавливаются, приведены в табл. П4.1. Минимальное давление пара, при котором ИПУ срабатывает, равно 0,18+0,02 МПа (1,8+0,2 кгс/см2). Импульсный клапан имеет наименьшую площадь проходного сечения 25 см2.
1 - корпус; 2 - крышка; 3 - тарелка
Рис. 6. Главный предохранительный клапан (7с-2, 7с-3 и 7с-4):
Таблица П4.1
Выбор ИК ИПУ рычажно-грузового типа АО «Сибэнергомаш» в зависимости от рабочего давления в защищаемой системе (рис. 7)
|
Интервалы номинальных давлений, МПа (кгс/см2) |
Длина рычага, мм |
Масса груза с рычагом, кг |
|
|
8с-1-1 |
0,08 - 0,17 (0,8 - 1,7) |
300 |
7,85 |
|
8с-1-2 |
0,17 - 0,35 (1,7 - 3,5) |
300 |
8,35 |
|
8с-1-3 |
0,35 - 0,56 (3,5 - 5,6) |
375 |
10,0 |
|
8с-1-4 |
0,56 - 0,90 (5,6 - 9,0) |
375 |
12,0 |
|
8с-1-5 |
0,9 - 1,5 (9,0 - 1,5) |
575 |
12,5 |
|
8с-1-6 |
1,5 - 2,8 (15,0 - 28,0) |
575 |
16,5 |
Рис. 7. Импульсный клапан 8с-1 с рычажной нагрузкой
Материалы, из которых изготовлены основные детали клапанов, а также их технические характеристики, габаритные и присоединительные размеры приведены в табл. П4.2 - П4.5.
С 1989 г. АО «Сибэнергомаш» начал выпускать ИПУ по ТУ 108.1470-88 [4]. Принципиальное отличие этих ИПУ от ранее выпускавшихся - использование в качестве ИК клапанов с пружинной нагрузкой. В новой конструкции ГПК установлена пружина, удерживающая тарелку в закрытом положении, при наличии вакуума в защищаемом объекте. Однако при этом минимальное давление, при котором гарантируется срабатывание ИПУ, поднялось с 0,18 до 0,25 МПа. Общие виды новых ГПК и ИК, выпускаемых АО «Сибэнергомаш», показаны на рис. 8 и 9, а технические характеристики и присоединительные размеры в табл. П4.6 и П4.7.
Таблица П4.2
Материалы, применяемые для изготовления основных деталей ПК
|
Допустимая температура, рабочей среды, °С |
Материалы основных деталей |
Материал уплотнения поршня |
|||||
|
Корпус |
Седло (сопло) |
Золотник (тарелка) |
Шток |
Пружина |
|||
|
ГПК ИПУ АО «Сибэнергомаш» |
450 |
25Л |
Наплавка на корпус электродом ЦТ-1 |
Сталь 20 с наплавкой УОНИ/10Х13 или ЦН-6 |
Сталь 20X13 |
Сталь 60С2А |
Сальник |
|
ИК ИПУ АО «Сибэнергомаш» рычажный |
450 |
Сталь 20 |
То же |
Сталь 20Х13 |
- |
- |
- |
|
ИК ИПУ АО «Сибэнергомаш» пружинный |
450 |
Сталь 20 |
Сталь 20Х13 |
Сталь 30Х13 |
- |
Сталь 60С2А |
- |
|
ГПК ИПУ ЧЗЭМ |
450 |
Сталь 20ГСЛ |
Сталь 25 с наплавкой ЦТ-1 |
Сталь 25 с наплавкой ЦТ-1 |
Сталь 38ХМЮА |
Сталь 50ХФА |
Сальник |
|
ИК ИПУ ЧЗЭМ |
450 |
Сталь 20 |
Сталь 30Х13 |
Сталь 30Х13 |
Сталь 25X1МФ |
- |
- |
|
ГПК ИПУ ЛМЗ |
450 |
Сталь 20 |
Сталь 30Х13 |
Ст 3 с наплавкой ЦТ-1 |
Сталь 35ХМА |
Сталь 60С2А |
Чугун СЧ 28-40 |
|
ппк ткз |
450 |
Сталь 25Л |
Сталь 20 с наплавкой ЦТ-1 |
Сталь 30X13 |
Сталь 20 |
Сталь 60С2А |
- |
|
ппк |
350 |
Сталь 20Л, 25Л |
Сталь 20Х13, 30Х13 |
Сталь 20X13, 30X13 |
Сталь 30X13 |
Сталь 50ХФА |
- |
|
сппк |
450 |
Сталь 20Л, 25Л |
Сталь 20Х13 |
Сталь 30X13 |
Сталь 30X13 |
Сталь 50ХФА |
- |
Таблица П4.3
Техническая характеристика ГПК ИПУ АО «Сибэнергомаш» старых выпусков
|
Диаметр условного прохода Dу, мм |
Давление, МПа (кгс/см2) |
Температура среды (максимально допустимая), °С |
Расчетное проходное сечение F, мм2 |
Ход клапана h, мм |
Коэффициент расхода a |
Пробное давление (водой) при температуре ниже 100 °С, МПа (кгс/см2) |
|||
|
условное |
рабочее максимальное |
на плотность |
на прочность |
||||||
|
70-1-1 |
100 |
4 (40) |
2,8 (28) |
350 |
8176 |
15 |
0,62 |
4 (40) |
6 (60) |
|
7с-1-2 |
150 |
4 (40) |
2,8 (28) |
350 |
18145 |
40 |
0,5 |
4 (40) |
6 (60) |
|
70-1-3 |
200 |
2,5 (25) |
1,8 (18) |
350 |
31415 |
40 |
0,5 |
2,5 (25) |
3,8 (38) |
|
7с-1-4 |
250 |
1,0 (10) |
0,7 (7) |
350 |
47140 |
55 |
0,5 |
1,0 (10) |
1,5 (15) |
Таблица П4.4
Техническая характеристика ГПК ИПУ АО «Сибэнергомаш», выпускавшихся до 1989 г.
|
Диаметр условного прохода Dу, мм |
Давление, МПа (кгс/см2) |
Температура среды (максимально допустимая), °С |
Расчетное проходное сечение F, см2 |
Ход клапана h, мм |
Коэффициент расхода a |
Пробное давление (водой), МПа (кгс/см2) |
|||
|
условное |
рабочее максимальное |
на плотность |
на прочность |
||||||
|
7с-2-1 |
150 |
4 (40) |
1,8 (18) |
450 |
55,0 |
35 |
0,56 |
4 (40) |
6 (60) |
|
7c-2-2 |
200 |
4 (40) |
1,8 (18) |
450 |
178,0 |
50 |
0,49 |
4 (40) |
6 (60) |
|
7c-2-3 |
250 |
2,5 (25) |
1,05 (10,5) |
450 |
308,0 |
65 |
0,53 |
2,5 (25) |
3,8 (38) |
|
7c-2-4 |
300 |
1,0 (10) |
0,47 (4,70) |
450 |
500,0 |
80 |
0,44 |
1,0 (10) |
1,5 (15) |
|
7c-3-3 |
250 |
- |
0,85 (8,5) |
480 |
308,0 |
65 |
0,53 |
0,75 (7,5) |
2,4 (24) |
|
7c-3-4 |
300 |
- |
0,72 (7,2) |
480 |
500,0 |
80 |
0,44 |
0,62 (6,25) |
1,5 (15) |
|
7c-4-1 |
150 |
4 (40) |
2,8 (28) |
350 |
55,0 |
35 |
0,56 |
4 (40) |
6 (60) |
|
7с-4-2 |
200 |
4 (40) |
2,8 (28) |
350 |
178,0 |
50 |
0,49 |
2,5 (25) |
6 (60) |
|
7c-4-3 |
250 |
2,5 (25) |
1,8 (18) |
350 |
308,0 |
65 |
0,53 |
2,5 (25) |
3,8 (38) |
|
7c-4-4 |
300 |
1,0 (10) |
0,7 (7) |
350 |
500,0 |
80 |
0,44 |
1,0 (10) |
1,5 (15) |
|
7c-5-1 |
300 |
1,0 (10) |
0,45 (4,5) |
350 |
475,0 |
80 |
0,41 |
0,45 (4,5) |
1,5 (15) |
Таблица П4.5
Присоединительные размеры ГПК, приведенного на рис. 6
|
Диаметр условного прохода Dу, мм |
Размеры, мм |
Масса, кг |
|||||||||||||||||||
|
Н |
h1 |
h2 |
L |
D |
d |
d1 |
d2 |
D1 |
d3 |
d4 |
d5 |
d6 |
n |
n1 |
d7 |
d8 |
b |
b1 |
|||
|
7с-2-1 7c-4-1 |
150 |
850 |
250 |
35 |
225 |
360 |
310 |
270 |
200 |
300 |
250 |
204 |
150 |
105 |
12 |
8 |
27 |
27 |
30 |
34 |
140 |
|
7c-2-2 7c-4-2 |
200 |
1042 |
260 |
50 |
320 |
485 |
430 |
390 |
300 |
375 |
285 |
260 |
200 |
155 |
16 |
12 |
30 |
30 |
38 |
40 |
198 |
|
7с-2-3 7c-4-3 7с-3-3 |
250 |
1145 |
340 |
65 |
350 |
520 |
470 |
438 |
350 |
425 |
370 |
335 |
250 |
207 |
16 |
12 |
27 |
30 |
36 |
34 |
303 |
|
7c-2-4 7c-4-4 7c-3-4 |
300 |
1265 |
405 |
80 |
400 |
590 |
550 |
520 |
450 |
440 |
400 |
370 |
300 |
255 |
16 |
12 |
23 |
23 |
28 |
28 |
385 |
Рис. 8. Главный предохранительный клапан 7с-6
Рис. 9. Импульсный клапан (8с-2 и 8с-3) с пружинной нагрузкой
Таблица П4.6
Технические характеристики ГПК и ИК ПО «Сибэнергомаш», выпускаемых по ТУ 108.1470-88 (см. рис. 8 и 9)
|
Диаметр условного прохода Dy, мм |
Давление, МПа (кгс/см2) |
Максимально допустимая температура среды, °С |
Расчетное проходное сечение F, см2 |
Коэффициент расхода a |
Условная пропускная способность, т/ч (не менее) |
Ход клапана h, мм |
Пробное давление (водой), МПа (кгс/см2) |
|||
|
условное |
рабочее при максимальной температуре |
на плотность |
на прочность |
|||||||
|
Главные клапаны |
||||||||||
|
7с-6-1 |
150 |
4,0 (40) |
0,25 - 2,8 (2,5 - 28) |
450 |
52,0 |
0,80 |
210 |
65 |
4,0(40) |
6,0(60) |
|
7c-6-2 |
200 |
4,0 (40) |
0,25 - 2,8 (2,5 - 28) |
450 |
127 |
0,75 |
480 |
75 |
4,0 (40) |
6,0(60) |
|
7c-6-3 |
250 |
2,5 (25) |
0,25 - 2,5 (2,5 - 25) |
450 |
253 |
0,80 |
1020 |
100 |
2,5(25) |
3,8(38) |
|
Импульсные клапаны |
||||||||||
|
8с-2-1 |
20 |
4,0 (40) |
0,25 - 1,2 (2,5 - 12) |
450 |
- |
- |
- |
- |
- |
- |
|
8с-2-2 |
20 |
4,0 (40) |
1,2 - 2,8 (12 - 28) |
450 |
- |
- |
- |
- |
- |
- |
Таблица П4.7
Присоединительные размеры ГПК, приведенного на рис. 8
|
Диаметр условного прохода Dу, мм |
Размеры, мм |
||||||||||||||||
|
d |
d0 |
d1 |
d2 |
D |
b |
d3 |
n |
d4 |
d5 |
d6 |
D1 |
b1 |
d7 |
n1 |
Н |
||
|
7c-6-1 |
150 |
150 |
204 |
212 |
250 |
300 |
30 |
27 |
8 |
200 |
278 |
310 |
360 |
34 |
27 |
12 |
800 |
|
7c-6-2 |
200 |
200 |
260 |
285 |
320 |
375 |
38 |
30 |
12 |
250 |
335 |
370 |
425 |
36 |
30 |
12 |
942 |
|
7c-6-3 |
250 |
150 |
- |
335 |
370 |
425 |
36 |
30 |
12 |
300 |
370 |
410 |
460 |
31 |
27 |
12 |
1116 |
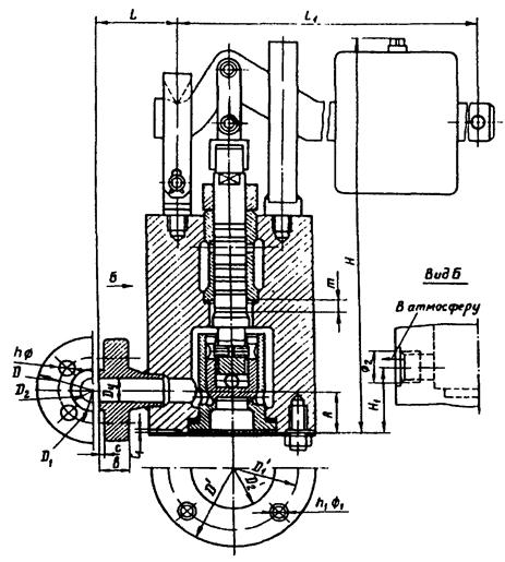
2. Предохранительный клапан Dy 400/600 мм
Предохранительный клапан 788-400/600 (рис. 10), выпускаемый ЧЗЭМ, предназначен для установки на горизонтальных участках линий редуцированного и охлажденного пара РОУ, может также устанавливаться на отборах турбин.
Клапан - рычажно-грузовой, тарелка клапана прижимается к седлу штоком, имеющим на конце сферическое окончание. Усилие прижатия тарелки к седлу определяется массой груза и его положением на рычаге, которое устанавливается при регулировке клапана на заданное давление срабатывания.
Присоединение клапана к трубопроводу - фланцевое. Две опорные лапы, предусмотренные на корпусе клапана, позволяют крепить его на специальной опоре.
Запорный орган клапана состоит из тарелки и наплавленного на корпус уплотнительного кольца. Уплотнительные поверхности затвора плоские, наплавлены сплавами, обладающими эрозионной стойкостью, достаточной твердостью и стойкостью против задирания. Концентрическая посадка тарелки на седло обеспечивается направлением штока в направляющей втулке, приваренной к крышке клапана.
Корпус и крышка изготовлены из углеродистой стали, шток и крепежные детали - из конструкционной стали. Уплотнение фланцевого соединения корпуса с крышкой обеспечивается паронитовой прокладкой.
Клапаны выпускаются в трех исполнениях, различающихся массой груза, устанавливаемого на рычаге.
Рис. 10. Предохранительный клапан Dy 400/600 мм
Техническая характеристика клапана и его габаритные и присоединительные размеры приведены в табл. П4.8.
Таблица П4.8
Техническая характеристика и присоединительные размеры ПК, приведенного на рис. 10
|
Диаметр условного прохода |
Параметры рабочей среды |
Расход пара при рабочих параметрах, т/ч |
Ход, мм |
Масса, кг |
|||
|
Dy, мм |
D1y, мм |
Давление, МПа (кгс/см2) |
Температура, °С |
||||
|
788-400/600-0-01 |
400 |
600 |
0,25 (2,5) |
127 |
35 |
100 |
980 |
|
788-400/600-0-02 |
400 |
600 |
0,35 (3,5) |
139 |
45 |
100 |
1082 |
|
788-400/600-0-03 |
400 |
600 |
0,45 (4,5) |
148 |
55 |
100 |
1183 |
3. Импульсно-предохранительное устройство ЧЗЭМ
Предназначается для установки преимущественно на линиях редуцированного и охлажденного пара РОУ ЧЗЭМ. Оно включает в себя ГПК (серии 111) и ИК (серии 112).
Главный предохранительный клапан проходного типа (рис. 11), устанавливается на горизонтальных участках трубопроводов пружиной вверх с подачей среды снизу под тарелку. В рабочем положении среда обеспечивает уплотнение затвора клапана. Тарелка посредством штока связана с поршнем привода. Пар, попадающий при срабатывании ИК в поршневую камеру, за счет разности площадей поршня и тарелки, на которые он воздействует, создает перестановочное усилие, направленное в сторону открытия клапана. Для прижатия тарелки к седлу при отсутствии давления в трубопроводе в конструкции предусмотрена цилиндрическая пружина. Корпус и крышка клапана выполнены из литой углеродистой стали, уплотнительные поверхности деталей затвора - наплавкой сплавом аустенитного класса, обладающим высокой эрозионной стойкостью. Форма уплотнительной поверхности плоская.
Импульсный клапан Dу 25 мм рычажно-грузового типа (рис. 12) устанавливается в непосредственной близости к ГПК в строго вертикальном положении с подачей среды под тарелку. Золотник прижимается к седлу через шариковую опору и шток усилием, создаваемым установленным на рычаге грузом. Положение груза на рычаге устанавливается при регулировке клапана на заданное давление. Седло и золотник выполнены из нержавеющей стали, форма уплотнительной поверхности деталей затвора плоская.
Рис. 11. Главный предохранительный клапан ЧЗЭМ
Рис. 12. Импульсный клапан ЧЗЭМ
Корпус ГПК устанавливается в трубопроводе на сварке, однако, благодаря тому, что ходовая часть клапана (тарелка, седло и поршневой привод) с помощью крепежа связана с крышкой, то ее можно легко снять с корпуса и в собранном виде отправить в мастерскую для ремонта.
Технические характеристики, габаритные и присоединительные размеры ГПК и ИК приведены в табл. П4.9 и П4.10, пружин - в табл. П4.11. Материалы, из которых изготовлены основные детали клапанов, - в табл. П4.2.
Таблица П4.9
Техническая характеристика и присоединительные размеры ГПК, приведенного на рис. 11
|
Диаметр условного прохода патрубка Dу, мм |
Параметры рабочей среды |
Расчетная площадь проходного сечения F, см2 |
Коэффициент расхода a |
Расход пара при рабочих параметрах G, т/ч |
Размеры, мм |
Масса, кг |
||||||
|
входного |
выходного |
Давление р, МПа (кгс/см2) |
Температура, °С |
Ход m |
Н |
А |
L |
|||||
|
111-250/400-06 (исполнение 1) |
250 |
400 |
0,8 - 1,2 (8 - 12) |
425 |
181 |
0,7 |
50 - 80 |
40 |
1060 |
270 |
760 |
658 |
|
111-250/400-06-01 (исполнение 2) |
250 |
400 |
1,3 - 4,3 (13 - 43) |
425 |
80 - 280 |
45 |
1400 |
665 |
||||
Таблица П4.10
Техническая характеристика и присоединительные размеры ИК, приведенного на рис. 12
|
Диаметр условного прохода Dу, мм |
Давление рабочей среды, МПа (кгс/см2) |
Размеры, мм |
Масса, кг |
||||||||||||||||||||
|
D |
D1 |
D2 |
b |
с |
n |
Ф |
а |
D’1 |
D’2 |
c1 |
n1 |
Ф1 |
ф2 |
h |
Н1 |
А |
L |
L1 |
Ход т |
||||
|
112-25x1-0 |
25 |
1,2 (12) |
125 |
90 |
50 |
18 |
4 |
4 |
18 |
130 |
100 |
58 |
3 |
4 |
М16 |
М27´2 |
360 |
125 |
40 |
120 |
730 |
6 |
31,0 |
|
112-25x1-0-01 |
3,0 (30) |
40,0 |
|||||||||||||||||||||
|
112-25x1-0-02 |
4,3 (43) |
45,0 |
|||||||||||||||||||||
Таблица П4.11
Характеристики пружин, применяемых в ГПК ИПУ ЧЗЭМ
|
Значение |
||||
|
согласно нормали ЗН-150-62 |
согласно СТП 57-77 |
|||
|
Номер исполнения |
||||
|
4 |
6 |
04 |
05 |
|
|
Диаметр проволоки, мм |
10 |
16 |
10 |
16 |
|
Средний диаметр, мм |
82 ± 2 |
94 ± 2 |
82 ± 2 |
94 ± 2 |
|
Наружный диаметр, мм |
92 ± 2 |
110 ± 2 |
92 ± 2 |
110 ± 2 |
|
Шаг, мм |
26 |
28 |
26 |
28 |
|
Допуск на равномерность шага в свободном состоянии, мм |
± 2,4 |
± 1,8 |
± 2,2 |
± 1,8 |
|
Число рабочих винтов |
7 |
8,5 |
7 |
8,5 |
|
Общее число витков |
8,5 |
10,5 |
9 |
10,5 |
|
Высота пружины в свободном состоянии, мм |
|
|
|
|
|
Теоретическая масса пружины, кг |
1,364 |
4,7 |
1,42 |
4,8 |
|
Осевое перемещение пружины под начальной нагрузкой, мм |
|
|
73 ± 5 |
|
|
Начальная нагрузка, кН (кгс) |
1,82 (182) |
4,0 (400) |
1,9 (190) |
3,7 (370) |
|
Осевое перемещение под рабочей нагрузкой, мм |
|
|
|
82 ± 10 |
|
Рабочая нагрузка, кН (кгс) |
2,8 (280) |
5,8 (586) |
2,5 (250) |
7,1 (710) |
|
Осевое перемещение под предельной нагрузкой, мм |
|
|
|
|
|
Предельная нагрузка, кН (кгс) |
3,1 (310) |
6,8 (679) |
2,9 (290) |
8,9 (890) |
|
Жесткость пружины, Н/мм (кгс/мм) |
28 (2,8) |
87 (8,7) |
26 (2,6) |
87 (8,7) |
4. Пружинные предохранительные клапаны Т-31М, Т-31М-1, Т-31М-2, Т-31М-3, Т-32М-1, Т-32М-2, Т-32М-3, Т-131М, Т-132М АО «Красный котельщик» (рис. 13)
Клапаны - пружинные, полноподъемные, имеют литой угловой корпус, устанавливаются только в вертикальном положении в местах с температурой окружающей среды не более +60 °С. При повышении давления среды под клапаном тарелка 1 отжимается от седла 2 и поток пара, вытекая с большой скоростью через зазор между тарелкой и направляющей втулкой 3, оказывает динамическое воздействие на подъемную втулку 4 и вызывает резкий подъем тарелки на заданную высоту. Изменяя положение подъемной втулки относительно направляющей втулки, можно найти ее оптимальное положение, при котором обеспечивается как достаточно быстрое открытие клапана, так и закрытие его при минимальном понижении давления относительно рабочего давления в защищаемой системе. Для обеспечения при открытии клапана минимального выброса пара в окружающее пространство в крышке клапана выполнено лабиринтное уплотнение, состоящее из чередующихся алюминиевых и паронитовых колец. Настройка клапана на срабатывание при заданном давлении осуществляется изменением степени затяжки пружины 5 с помощью нажимной резьбовой втулки 6. Нажимная втулка закрыта колпаком 7, закрепленным двумя винтами 8. Через головки винтов пропускается контрольная проволочка, концы которой пломбируются.
Рис. 13. Пружинный предохранительный клапан (Т-31М, Т-31М-1, Т-31М-2, Т-31М-3, Т-32М-1, Т-32М-2, Т-32М-3, Т-131М, Т-132М) с литым корпусом
Для проверки действия клапанов в процессе эксплуатации оборудования на клапане предусмотрен рычаг 9. Материалы основных деталей клапана приведены в табл. П4.2.
Техническая характеристика клапанов, габаритные и присоединительные размеры приведены в табл. П4.12 и П4.13.
В настоящее время клапаны выпускаются со сварным корпусом (рис. 14). Технические характеристики клапанов и устанавливаемых на них пружин приведены в табл. П4.14 и П4.15.
Рис. 14. Пружинный предохранительный клапан (Т-31М, Т-31М-1, Т-31М-2, Т-31М-3, Т-32М-1, Т-32М-2, Т-32М-3, Т-131М, Т-132М) со сварным корпусом
Таблица П4.12
Техническая характеристика ППК АО «Красный котельщик» с литым корпусом
|
Диаметр условного прохода, мм |
Рабочее давление, МПа (кгс/см2) |
Максимальная температура рабочей среды, °С |
Коэффициент расхода α |
Наименьшая площадь проточной части F, мм2 |
Данные о пружине |
Давление испытания клапана на герметичность, МПа (кгс/см2) |
||||
|
Заводской номер детального чертежа пружины |
Диаметр проволоки, мм |
Наружный диаметр пружины, мм |
Высота пружины в свободном состоянии, мм |
|||||||
|
Т-31М-1 |
50 |
3,5 - 4,5 (35 - 45) |
450 |
0,65 |
1960 |
К-211946 Исполнение 1 |
18 |
110 |
278 |
4,5 (45) |
|
Т-31М-2 |
1,8 - 2,8 (18 - 28) |
Исполнение 2 |
16 |
106 |
276 |
2,8 (28) |
||||
|
Т-31М-3 |
0,7 - 1,5 (7 - 15) |
Исполнение 3 |
12 |
100 |
285 |
1,5 (15) |
||||
|
Т-31М спец. |
5,0-5,5 (50-55) |
К-211948 |
18 |
108 |
279 |
5,5 (55) |
||||
|
Т-32М-1 |
80 |
3,5 - 4,5 (35 - 45) |
450 |
0,65 |
3320 |
К-211817 Исполнение 1 |
22 |
140 |
304 |
4,5 (45) |
|
Т-32М-2 |
1,8 - 2,8 (18 - 28) |
Исполнение 2 |
18 |
128 |
330 |
2,8 (28) |
||||
|
Т-32М-3 |
0,7 - 1,5 (7 - 15) |
Исполнение 3 |
16 |
128 |
315 |
1,5 (15) |
||||
|
Т-131М |
50 |
3,5 - 4,0 (35 - 40) |
450 |
0,65 |
1960 |
К-211947 Исполнение 1 |
18 |
110 |
278 |
4,5 (45) |
|
Т-132М |
80 |
3,5 - 4,0 (35 - 40) |
450 |
0,65 |
3320 |
К-211817 Исполнение 1 |
22 |
140 |
304 |
4,5 (45) |
Таблица П4.13
Габаритные и присоединительные размеры ПК АО «Красный котельщик» с литым корпусом
|
Размеры, мм |
Масса клапана, кг |
||||||||||||||||
|
Н |
h |
h1 |
Входной фланец |
Выходной фланец |
|||||||||||||
|
D |
D1 |
d |
d1 |
b |
f |
z |
D3 |
D2 |
d2 |
d3 |
b1 |
z1 |
|||||
|
Т-31М-1 |
550 |
130 |
150 |
175 |
135 |
88 |
23 |
28 |
4 |
4 |
215 |
180 |
18 |
110 |
20 |
8 |
48,9 |
|
Т-31М-2 |
47,6 |
||||||||||||||||
|
Т-31М-3 |
45,5 |
||||||||||||||||
|
Т-31М спец. |
48,3 |
||||||||||||||||
|
Т-32М-1 |
580 |
160 |
200 |
210 |
170 |
121 |
23 |
30 |
4 |
8 |
280 |
240 |
23 |
150 |
25 |
8 |
77,4 |
|
Т-32М-2 |
74,2 |
||||||||||||||||
|
Т-32М-3 |
73,4 |
||||||||||||||||
|
Т-131М |
550 |
130 |
150 |
195 |
145 |
88 |
25 |
28 |
4 |
4 |
215 |
180 |
18 |
110 |
20 |
8 |
49,7 |
|
Т-132М |
580 |
160 |
200 |
230 |
180 |
121 |
25 |
34 |
4 |
8 |
280 |
240 |
23 |
150 |
25 |
8 |
80,4 |
Таблица П4.14
Техническая характеристика пружинных ПК АО «Красный котельщик» со сварным корпусом
|
Входной фланец |
Выходной фланец |
Рабочее давление пара, Мпа (кгс/см2) |
Температура пара, °С |
Расчетный диаметр, мм |
Давление начала открытия**, МПа (кгс/см2) |
Обозначение исполнения |
Обозначение пружины |
Высота натяга пружины H1, мм |
Масса клапана, кг |
|||
|
Диаметр условного прохода, мм |
Условное давление, МПа (кгс/см2) |
Диаметр условного прохода, мм |
Условное давление ру, МПа (кгс/см2) |
|||||||||
|
Т-31М-1 |
50 |
6,4 (64) |
100 |
1,6 (16) |
3,5 - 4,5 (35 - 45) |
425 - 450* |
48 |
4,9 ± 0,1 (49 ± 1) |
08.9623.037 |
08.7641.052-04 |
200 |
47,8 |
|
Т-31М-2 |
1,8 - 2,8 (18 - 28) |
До 425 |
3,3 ± 0,1 (33 ± 1) |
-03 |
08.7641.052-02 |
200 |
46,5 |
|||||
|
т-31М-3 |
0,7 - 1,5 (7 - 15) |
До 425 |
1,8 ± 0,1 (18 ± 1) |
-06 |
08.7641.052 |
170 |
44,2 |
|||||
|
Т-32М-1 |
80 |
6,4 (64) |
150 |
1,6 (16) |
3,5 - 4,5 (35 - 45) |
425 - 450* |
62 |
4,95 ± 0,1 (49,5 ± 1) |
08.9623.039 |
08.7641.052-06 |
210 |
75,8 |
|
Т-32М-2 |
1,8 - 2,8 (18 - 28) |
425 |
3,3 ± 0,1 (33 ± 1) |
-03 |
08.7641.052-04 |
220 |
72,11 |
|||||
|
Т-32М-3 |
0,7 - 1,5 (7 - 15) |
425 |
1,8 ± 0,1 (18 ± 1) |
-06 |
08.7641.052-01 |
195 |
70,97 |
|||||
|
Т-131М |
80 |
10 (100) |
100 |
1,6 (16) |
3,5 - 4,5 (35 - 45) |
425 |
48 |
4,95 ± 0,1 |
08.9623.038 |
08.7641.052-04 |
200 |
48,8 |
|
Т-132М |
62 |
(49,5 ± 1) |
08.9623.040 |
08.7641.052-06 |
210 |
76,1 |
||||||
* Меньшая температура является предельной для большего давления.
** Давление начала открытия, показанное в таблице, является пределом заводских испытаний клапанов на подрыв.
Таблица П4.15
Техническая характеристика пружин, устанавливаемых на клапанах АО «Красный котельщик»
|
Геометрические размеры, мм |
Количество витков |
Рабочая деформация пружины S1, мм |
Развернутая длина, мм |
Масса, кг |
|||||
|
Наружный диаметр D |
Диаметр прутка |
Высота пружины в свободном состоянии Н |
Шаг навивки |
рабочее п |
полное п1 |
||||
|
08.7641.052 |
|
|
|
27,9 |
8 ± 0,5 |
12 |
|
3000 |
2,55 |
|
-0,1 |
|
|
|
32,7 |
8 ± 0,3 |
10 |
|
3072 |
4,8 |
|
-0,2 |
|
|
|
31,5 |
8 ± 0,3 |
10 |
|
2930 |
4,7 |
|
-0,3 |
|
|
|
29,0 |
8 ± 0,3 |
10 |
|
3072 |
4,7 |
|
-0,4 |
|
|
|
31,5 |
8 ± 0,3 |
10 |
|
3000 |
6,0 |
|
-0,5 |
|
|
|
36,4 |
7 ± 0,3 |
9 |
|
2660 |
5,4 |
|
-0,6 |
|
|
|
41,7 |
6,5 ± 0,3 |
8,5 |
|
3250 |
9,8 |
|
-0,7 |
|
|
|
41,7 |
6,5 ± 0,3 |
8,5 |
|
3300 |
9,5 |
5. Пружинные предохранительные клапаны СППК и СППКР Благовещенского арматурного завода
Предназначены для жидких и газообразных некоррозионных сред с температурой не более 350 °С.
Клапан полноподъемный; высокий подъем золотника достигается использованием кинетической энергии и реакции потока, выходящего с большой скоростью из сопла. Для этого клапан снабжен верхней и нижней регулировочными втулками, которые фиксируются в определенном положении стопорными винтами. Правильная посадка золотника на седло обеспечивается направляющей втулкой. Высокий золотник, опущенная почти на уровень уплотнительных поверхностей точка контакта штока с золотником и определенное направление штока в разделительной перегородке обеспечивают работу клапана без перекосов золотника. Разделительная перегородка предохраняет пружину от действия высоких температур при сбросах среды. Пружина настраивается на требуемое давление настройки на срабатывание регулировочным винтом.
Набор сменных пружин дает возможность регулировать один и тот же клапан на срабатывание в требуемом диапазоне давлений. Данные для подбора пружин для клапанов СППК4 и СППК4Р в зависимости от диаметра условного прохода и пределов регулирования давления настройки на срабатывание приведены в табл. П4.16, а технические характеристики пружин - в табл. П4.17.
Таблица П4.16
Данные для подбора пружин для предохранительных клапанов СППК4 и СППК4Р в зависимости от диаметра условного прохода и пределов регулирования давления настройки на срабатывание
|
Пределы регулирования давления настройки на срабатывание клапанов СППК4-16 и СППК4Р-16, МПа |
Пределы регулирования давления настройки на срабатывание клапанов СППК4-40 и СППК4Р-40, МПа |
|
|
|
Dу 50 мм |
|
|
101 |
0,05 - 0,12 |
- |
|
102 |
0,12 - 0,19 |
- |
|
103 |
0,19 - 0,35 |
- |
|
104 |
0,35 - 0,6 |
Dу 50 мм |
|
105 |
0,6 - 1,0 |
0,8 - 1,0 |
|
106 |
1,0 - 1,6 |
1,0 - 1,6 |
|
107 |
- |
1,6 - 2,5 |
|
108 |
- |
2,5 - 3,5 |
|
109 |
- |
3,5 - 4,0 |
|
|
Dу 80 мм |
|
|
110 |
0,05 - 0,13 |
- |
|
111 |
0,13 - 0,25 |
- |
|
112 |
0,25 - 0,45 |
- |
|
113 |
0,45 - 0,7 |
Dу 80 мм |
|
114 |
0,7 - 0,95 |
0,8 - 0,95 |
|
115 |
0,95 - 1,3 |
0,95 - 1,3 |
|
116 |
1,3 - 1,6 |
1,3 - 1,8 |
|
117 |
- |
1,8 - 2,8 |
|
118 |
- |
2,8 - 3,5 |
|
119 |
- |
3,5 - 4,0 |
|
|
Dу 100 мм |
|
|
120 |
0,05 - 0,1 |
- |
|
121 |
0,1 - 0,15 |
- |
|
122 |
0,15 - 0,35 |
Dу 100 мм |
|
123 |
0,35 - 0,95 |
0,8 - 0,95 |
|
124 |
0,95 - 1,6 |
0,95 - 2,0 |
|
125 |
- |
2,0 - 3,0 |
|
126 |
- |
3,0 - 4,0 |
Усилие от действия штока на золотник передается через шарик из закаленной стали. Такое решение обеспечивает самоцентровку штока вне зависимости от положения пружины.
Для обеспечения возможности контрольной продувки клапана в процессе эксплуатации в конструкции клапана СППК4Р предусмотрено применение рычажного механизма. Клапаны СППК4 поставляются без рычага для принудительного открытия.
Технические характеристики клапанов СППК4-16, СППК4Р-16, СППК4-40 и СППК4Р-40 приведены в табл. П4.18.
Таблица П4.17
Характеристика пружин Благовещенского арматурного завода для клапанов, установленных на энергоустановках
|
Диаметр прутка, мм |
Наружный диаметр пружины, мм |
Высота пружины в свободном состоянии, мм |
Шаг пружины, мм |
Полное число витков |
Число рабочих витков |
Нагрузка при максимальном давлении, кгс |
Осевое перемещение при максимальной нагрузке, мм |
Жесткость пружины, Н/мм (кгс/мм) |
Масса пружины, кг |
|
|
101 |
4 |
54 |
132 - 145 |
18 |
10 |
7,5 |
8,5 |
28 - 34 |
2,7 (0,27) |
0,14 |
|
102 |
5 |
65 |
134 - 147 |
20 |
7,5 |
7,0 |
13,4 |
29 - 36 |
4,1 (0,41) |
0,26 |
|
103 |
6 |
76 |
141 - 154 |
24 |
8,5 |
6,0 |
24,7 |
35 - 43 |
6,3 (0,63) |
0,39 |
|
104 |
7 |
77 |
137 - 150 |
23 |
8,5 |
6,0 |
42,4 |
32 - 39 |
12 (1,2) |
0,53 |
|
105 |
8 |
78 |
137 - 150 |
23 |
8,5 |
6,0 |
70,7 |
32 - 39 |
20 (2,0) |
0,69 |
|
106 |
9 |
77 |
134 - 147 |
22 |
8,5 |
6,0 |
113 |
32 - 39 |
32 (3,2) |
0,85 |
|
120 |
7 |
94 |
210 - 231 |
29 |
10 |
7,5 |
19,6 |
36 - 44 |
4,9 (0,49) |
0,77 |
|
121 |
8 |
108 |
225 - 248 |
31 |
10 |
7,5 |
29,5 |
49 - 59 |
5,5 (0,55) |
1,15 |
|
122 |
9 |
114 |
246 - 272 |
35 |
10 |
7,5 |
69,0 |
80 - 96 |
7,9 (0,79) |
1,3 |
|
123 |
12 |
114 |
251 - 271 |
31 |
10,5 |
8,0 |
186,0 |
69 - 85 |
22 (2,2) |
2,78 |
|
127 |
9 |
121 |
273 - 300 |
37 |
10 |
7,5 |
41,0 |
60 - 73 |
6,2 (0,62) |
1,64 |
|
128 |
10 |
136 |
250 - 320 |
43 |
9,5 |
7,5 |
61,0 |
75 - 92 |
7,3 (0,73) |
2,16 |
|
129 |
11 |
141 |
238 - 316 |
45 |
9,0 |
6,5 |
81,0 |
72 - 88 |
10 (1,0) |
2,57 |
|
130 |
12 |
142 |
293 - 320 |
45 |
9,0 |
6,5 |
122,0 |
76 - 92 |
15 (1,5) |
3,06 |
|
131 |
14 |
134 |
298 - 326 |
39 |
10,0 |
7,5 |
264,0 |
80 - 98 |
30 (3,0) |
4,25 |
|
132 |
16 |
138 |
302 - 332 |
40 |
10,0 |
7,5 |
446,0 |
84 - 102 |
49 (4,9) |
5,64 |
|
133 |
18 |
148 |
288 - 316 |
37 |
9,5 |
7,5 |
610,0 |
68 - 83 |
81 (8,1) |
7,02 |
Таблица П4.18
Технические характеристики полноподъемных предохранительных клапанов СППК и СППКР, изготовленных Благовещенским арматурным заводом
|
Условный проход отводящего патрубка Dу1, мм |
Минимальный диаметр проходного сечения седла d, мм |
Площадь минимального проходного сечения седла F, см2 |
Коэффициент расхода клапана по пару a1 |
Пропускная способность клапана по пару, м3/ч |
Коэффициент расхода клапана по воде a2 |
Пропускная способность клапана по воде, м3/ч |
Масса клапана, кг |
||||
|
ру 16 кгс/см2 |
ру 40 кгс/см2 |
||||||||||
|
СППК4 |
СППК4Р |
СППК4 |
СППК4Р |
||||||||
|
25 |
40 |
17 |
2,26 |
0,6 |
0,684 |
0,1 |
0,112 |
- |
- |
- |
28 |
|
50 |
80 |
30 |
7,06 |
0,6 |
2,12 |
0,1 |
0,356 |
27 |
30 |
29 |
33 |
|
80 |
100 |
40 |
12,56 |
0,6 |
3,86 |
0,1 |
0,634 |
39 |
41 |
42 |
44 |
|
100 |
125 |
50 |
19,62 |
0,6 |
5,94 |
0,1 |
0,971 |
55 |
55 |
61 |
63 |
|
150 |
200 |
72 |
40,69 |
0,4 |
8,2 |
0,1 |
2,05 |
120 |
123 |
125 |
130 |
главный инженер
____________________
энергообъект
____________________
ф. и. о.
«___»________ 200__ г.
Ведомость
давлений
срабатывания предохранительных клапанов по _________ цеху
|
№ п.п. |
Наименование сосуда, аппарата, установки |
Рабочая среда (пар, вода, воздух) |
Тип или марка клапана |
Рабочее давление среды, МПа (кгс/см2) |
Диаметр условного прохода клапана Dy, мм |
Количество клапанов, установленных на защищаемом объекте, шт. |
Расчетное давление, МПа (кгс/см2) |
Давление срабатывания, МПа (кгс/см2) |
|
1 |
2 |
3 |
4 |
5 |
6 |
7 |
8 |
9 |
|
|
|
|
|
|
|
|
|
|
Начальник цеха ______________________________
подпись, ф. и. о.
Инженер по ремонту ________________________
подпись, ф. и. о.
Примечание. Если отсутствуют данные о расчетном давлении в сосуде, то оно принимается равным номинальному рабочему давлению.
Форма 2
главный инженер
_____________________
энергообъект
_____________________
ф. и. о.
«___» ________200__ г.
График
проверки
исправности предохранительных клапанов по _________ цеху
|
№ п.п. |
Наименование защищаемого объекта |
Установленная периодичность проверки |
Сроки проверки клапанов |
|||||||||||||||||||||||
|
200_ г. |
200_ г. |
|||||||||||||||||||||||||
|
1 |
II |
III |
IV |
V |
VI |
VII |
VIII |
IX |
X |
XI |
XII |
1 |
II |
III |
IV |
V |
VI |
VII |
VIII |
IX |
X |
XI |
XII |
|||
|
|
|
|
|
|
|
|
|
|
|
|
|
|
|
|
|
|
|
|
|
|
|
|
|
|
|
|
Начальник цеха ___________________________
подпись, ф. и. о.
Форма 3
Сведения
о ремонте предохранительных клапанов ________________________
наименование установки
|
№ п.п. |
Дата ремонта |
Дефекты, выявленные при контроле состояния клапанов |
Объем выполненных ремонтных работ, сведения о замене деталей |
Отметка о регулировке или гидроиспытании клапанов |
Подпись ответственного за ремонт |
|
|
|
|
|
|
|
Примечание. Запись о дефектах клапанов и об объеме выполненных ремонтных работ делается отдельно по каждому клапану.
Форма 4
Сведения
о принудительных опробованиях предохранительных клапанов
|
№ п.п. |
Наименование защищаемого сосуда, аппарата, установки |
Дата опробования |
Фамилия лица, проводившего опробование |
Срок службы между опробованиями, ч |
Результат опробования |
Подпись начальника смены |
Примечания |
|
1 |
2 |
3 |
4 |
5 |
6 |
7 |
8 |
|
|
|
|
|
|
|
|
|
Форма 5
|
главный инженер ____________________ энергообъект ____________________ ф. и. о. «___»________200_ г. Эксплуатационный
паспорт наименование объекта Станционный номер клапана_______________________________________________ Завод-изготовитель_______________________________________________________ Марка или тип клапана____________________________________________________ Заводской номер__________________________________________________________ Условное давление, МПа (кгс/см2)___________________________________________ Диаметр условного прохода, мм_____________________________________________ Рабочие условия: Среда под клапаном (вода, пар, газ)___________________________________ Максимальная температура среды, °С_________________________________ Рабочее давление, МПа (кгс/см2)_____________________________________ Допустимое давление, МПа (кгс/см2)_________________________________ Данные о пружине: Диаметр прутка, мм________________________________________________ Наружный диаметр, мм_____________________________________________ Высота пружины в свободном состоянии, мм__________________________ Шаг, мм__________________________________________________________ Полное число витков_______________________________________________ Число рабочих витков______________________________________________ Жесткость пружины, Н/мм (кгс/мм)__________________________________ Начальник цеха______________________________ подпись, ф. и. о. Инженер по ремонту________________________ подпись, ф. и. о. |
1. ГОСТ 12.2.085-82. ССБТ. Сосуды, работающие под давлением. Клапаны предохранительные. Требования безопасности.
2. ГОСТ 14249-80. Сосуды и аппараты. Нормы и методы расчета на прочность.
3. ГОСТ 24570-81. Клапаны предохранительные паровых и водогрейных котлов. Технические требования.
4. ТУ 108.1470-88. Арматура энергетическая предохранительная ТЭС. - АО «Сибэнергомаш», 1988.
5. Правила устройства и безопасной эксплуатации паровых и водогрейных котлов. - М.: НПО ОБТ, 1993.
6. Правила устройства и безопасной эксплуатации сосудов, работающих под давлением: ПБ 10-115-96. -М.: ПИО ОБТ, 1996.
7. Правила устройства и безопасной эксплуатации трубопроводов пара и горячей воды: РД 03-94. - М.: НПО ОБТ, 1994.
8. Инструкция по организации эксплуатации, порядку и срокам проверки предохранительных устройств котлов теплоэлектростанций: РД 153-34.1-26.304-98. - М.: СПО ОРГРЭС, 1999.
9. Требования к разработке, изготовлению и применению мембранных предохранительных устройств: РД 03-15-92. - Безопасность труда в промышленности, 1993, № 4.
10. Арматура для ТЭС и АЭС: Отраслевой каталог - справочник № 20-91-06. - М.: 1991.
11. Арматура энергетическая АО «ЧЗЭМ»: Каталог. - 1997.
12. Промышленная и трубопроводная арматура: Каталог, ч. V. - М.: ЦИНТИхимнефтемаш, 1994.
СОДЕРЖАНИЕ