МИНИСТЕРСТВО ЭНЕРГЕТИКИ И ЭЛЕКТРИФИКАЦИИ СССР
Главтехуправлеиие
МЕТОДИЧЕСКИЕ
УКАЗАНИЯ
ПО ПРОЕКТИРОВАНИЮ АВТОМАТИЗИРОВАННЫХ
СИСТЕМ ОПЕРАТИВНОГО
ХИМИЧЕСКОГО КОНТРОЛЯ ТЕПЛОНОСИТЕЛЯ
ЭНЕРГОБЛОКОВ СВЕРХКРИТИЧЕСКОГО
ДАВЛЕНИЯ
РД 34.37.104-88
Москва 1989
РАЗРАБОТАНЫ Всесоюзным дважды ордена Трудового Красного Знамени теплотехническим научно-исследовательским институтом им. Ф.Э. Дзержинского
ИСПОЛНИТЕЛИ Л.М. Живилова (руководитель темы), В.В. Максимов
УТВЕРЖДЕНЫ Главным научно-техническим управлением энергетики и электрификации Минэнерго СССР
26 декабря _____________ 1988 г.
Заместитель начальника А.П. Берсенев
КЛЮЧЕВЫЕ СЛОВА: энергетика, тепловые электростанции, энергоблоки, СКД, химический контроль, теплоноситель, проектирование.
|
МЕТОДИЧЕСКИЕ
УКАЗАНИЯ |
РД 34.37.104-88 Введены впервые |
Срок действия установлен
с 1 июля 1989
до 1 июля 1995
Настоящие методические указания распространяются на тепловые электростанции с энергоблоками мощностью 300, 500 и 800 кВт и устанавливают объем оперативно контролируемых показателей качества теплоносителя и структурные схемы автоматизированной системы химического контроля за водно-химическим режимом (ВХР).
При проектировании АСУ ТП вновь сооружаемых энергоблоков автоматизация оперативного химического контроля за показателями качества теплоносителя выполняется в объеме, установленном настоящими методическими указаниями.
При автоматизации оперативного химического контроля действующих энергоблоков объем автоматически контролируемых показателей определяется количеством и номенклатурой автоматических приборов, а способ обработки и представления оперативному персоналу информации о качестве теплоносителя возможностями использования имеющихся на электростанции средств вычислительной техники (СВТ).
1.1. Автоматизированная система химического контроля (АСХК) предназначена для оперативного контроля за показателями качества теплоносителя (ПКТ), отражающими состояние водно-химического режима по тракту энергоблока и служит для формирования сигнала оператору о возникающих при эксплуатации нарушениях.
АСХК состоит из автоматических непрерывно действующих анализаторов, технических средств для обработки, выдачи и отображения получаемой от них информации, комплекта устройств для отбора и подготовки проб для анализа путем унификации их теплофизических параметров.
1.2. Контроль качества теплоносителя проводят по следующим показателям:
электропроводность (æ) и электропроводность Н-катионированной пробы (æн);
содержание растворенного кислорода (О2);
содержание натрия (Na+);
значение рН.
1.3. Основные требования к автоматизированной системе химического контроля:
достоверность химического анализа;
простота и надежность средств используемых для получения и выдачи оператору информации о контролируемых показателях качества теплоносителя по тракту энергоблока и о нарушениях в системе химконтроля;
однозначность на протяжении всего тракта энергоблока теплофизических параметров контролируемых проб, при которых выдаются результаты анализа.
1.4. Автоматизированная система химического контроля является информационно-измерительной системой, выдающей информацию о текущих значениях показателей качества теплоносителя при оперативном контроле ВХР энергоблока, а также о состоянии технических средств системы.
АСХК обеспечивает получение оперативной информации для использования оператором при управлении ВХР, а также для устранения неисправностей элементов системы при установившемся режиме.
АСХК могут быть использованы и при пусковых режимах энергоблока, осуществляя автоматический контроль за отдельными показателями качества теплоносителя (электропроводимость, содержание растворенного кислорода) в соответствии с регламентом, устанавливаемым РД 34.37.520-88, ВТИ, М., 1988, «Методическими указаниями по ведению водного режима на энергоблоках сверхкритического давления с помощью автоматических приборов химконтроля».
При наличии средств вычислительной техники АСХК может выполнять логические и вычислительные операции информационно-диагностического характера и выдавать информацию о месте и возможной причине нарушения ВХР энергоблока по «диагностическим алгоритмам», разрабатываемым при проектировании конкретного объекта.
1.5. АСХК выполняет следующие информационно-измерительные функции:
автоматическое (непрерывное или дискретное) измерение, отображение и регистрация ПКТ и показателей состояния технических средств системы;
отображение, регистрация и сигнализация об отклонениях ПКТ от нормы качества теплоносителя;
отображение, регистрация, сигнализация, блокировка и защита технических средств, входящих в систему.
1.6. К информационно-диагностическим функциям АСХК относятся
отображение и регистрация результатов математических и логических операций, выполненных комплексом технических средств системы;
анализ срабатывания блокировок и защит технических средств, входящих в АСХК;
вычисление уровня отклонений измеренных значений от заданных и анализ текущего состояния ВХР и уровня отклонений ПКТ;
диагностика состояния технических средств системы;
подготовка информации (расчет средних значений ПКТ) для отчетности и т.п.
1.7. В техническом задании на проектирование АСХК должен быть определен конкретный режим функционирования и назначения системы и ее взаимосвязь с общей структурой системы управления энергоблоком ТЭС в соответствии с требованиями настоящих МУ.
При. проектировании АСХК по согласованию с Главным инженером электростанции допускается для вновь сооружаемых и действующих энергоблоков использование одного анализатора для контроля одноименных ПКТ в двух или трех пробах теплоносителя путем применения дискретной схемы переключения потоков и информационного канала.
2.1. Под организационной структурой понимают связь между функционально независимыми частями системы, которая отражает порядок реализации совокупных действий этой системы.
2.2. Функциональная структура АСХК должна обеспечивать установленный объем автоматического контроля качества теплоносителя при заданном водно-химическом режиме энергоблока в эксплуатационных условиях.
2.3. Организационная структура АСХК (черт. 1) включает следующие взаимосвязанные функционально-независимые части:
установка отбора и подготовки представительной пробы (УПП) теплоносителя для анализа с устройством защиты от повышения температуры и давления пробы и позиционным регулятором температуры пробы (черт. 2);
комплект автоматических анализаторов качества теплоносителя по тракту энергоблока;
комплект технических средств информационного обеспечения;
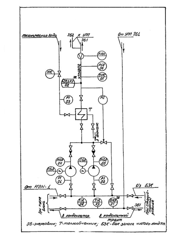
В качестве вспомогательной части АСХК включает установку подготовки воды для охлаждения контролируемых проб (черт. 3).
2.4. В зависимости от применяемых технических средств выбирают один из трех вариантов организационной структурной схемы АСХК;
без использования СВТ (черт. 4);
с частичным использованием СВТ в основном для представления оператору данных о значениях контролируемых параметров с помощью регистрирующих приборов и средств вычислительной техники по вызову на устройство печати или дисплей (черт. 5);
с использованием СВТ - для выполнения всех информационно-вычислительных операций (без первичной регистрации информации на приборах) и представления переработанной информации оператору в удобной для него форме в установленном объеме (черт. 6).
Организованная структура автоматизированной системы химконтроля
Черт. 1
Функционально-гидравлическая схема устройства подготовки проб (УПП) типа СУПП
Черт. 2
Схема подготовки охлаждающей воды
Черт. 3
Структурная схема организации автоматического химконтроля
Черт. 4
Структурная схема организации автоматического химконтроля
Черт. 5
Структурная схема организации автоматического химконтроля
Черт. 6
3.1. Объем оперативного химического контроля при установившемся режиме определяют в зависимости от:
типа установленного на ТЭС основного оборудования (котел, турбина);
принятого на ТЭС водно-химического режима энергоблока.
3.2. Объем автоматического химического контроля (АСХК) при установившемся режиме энергоблоков СКД представлен в табл. 1.
На черт. 7 показана функциональная технологическая схема автоматизированной системы химконтроля теплоносителя энергоблока СКД, а в табл. 2 даны ее технические характеристики.
4.1. Комплекс технических средств АСХК должен быть достаточным для реализации всех функций, перечисленных в техническом задании на проектирование системы.
4.1.1. Дли проведения анализов контролируемых проб теплоносителя используют автоматические анализаторы, перечень которых и основные технические характеристики представлены в рекомендуемом приложении 1.
4.1.2. Для подготовки пробы для анализа используют специальные устройства, выполняющие функции снижения давления (до 0,16 МПа) и температуры (до 38 °С с точностью ± 2 °С) контролируемой среды, а также защиты датчиков анализаторов от возможного повышения температуры, или прекращения подачи пробы и сигнализации об этом.
Установка подготовки пробы (УПП) производит раздачу пробы на датчики анализаторов, подключенных к данной пробоотборной точке, и для обеспечения расхода пробы поддерживает постоянный напор перед датчиком. В качестве установки подготовки пробы используют серийно изготавливаемую установку типа СУПП, технические характеристики которой даны в рекомендуемом приложении 2.
Функциональная технологическая схема автоматизированной системы химконтроля теплоносителя энергоблока с.к.д.*)
Черт. 7
Таблица 1
Автоматически контролируемые показатели качества и точки отбора проб теплоносителя энергоблока с.к.д.
|
Контролируемый показатель |
|||||
|
электропроводность, æ1 |
электропроводность Н-катионированной пробы, æн |
содержание Na+ |
рН |
содержание О2 |
|
|
Конденсат турбины за КЭН-1 |
Авт.3 |
Авт. |
|||
|
Обессоленный конденсат турбины за блочной конденсатоочисткой: |
|||||
|
перед КЭН-2 |
Авт.2 |
Авт. |
|||
|
за КЭН-2 |
Авт. |
||||
|
Конденсат за ПНД |
Авт. |
||||
|
Питательная вода за деаэратором |
Авт. |
||||
|
Питательная вода перед котлом |
Авт. |
Авт. |
Авт.6 |
Авт. |
Авт.4 |
|
Острый пар за котлом (2 нитки) |
Авт. |
Авт.6 |
Авт. |
||
|
Конденсат греющего пара сетевых подогревателей |
Авт. |
||||
|
Конденсат из баков запаса конденсата |
Авт. |
||||
|
Добавочная химически обессоленная вода |
Авт. |
||||
|
Теплоноситель перед встроенной задвижкой (ВЗ) (2 нитки) |
Авт.5 |
||||
1 - при гидразинно-аммиачном ВХР;
2 - при кислородном (без введения аммиака) ВХР измерение производится без Н-колонки, если в теплоносителе отсутствуют органические примеси;
3 - допускается измерение без Н-колонки, если в конденсате турбины отсутствуют органические примеси;
4 - только при кислородном ВХР;
5 - контроль производится только при пусковых режимах энергоблока;
6 - при установившемся ВХР энергоблока допускается использование анализаторов в дискретном режиме.
Технические характеристики автоматизированной системы химконтроля качества теплоносителя энергоблока СКД на базе средств вычислительной техники

Отбор представительных проб контролируемых сред для подачи через УПП в датчики анализаторов должен производиться в соответствии с ОСТ 108.030-04-80.
4.1.3. В качестве охлаждающей среды для установки подготовки пробы используется конденсат турбины, отбираемый за конденсатными насосами КЭН-1, или обессоленая вода из БЗК. В целях экономии тепла и воды, затрачиваемой на охлаждение проб теплоносителя, в схеме подготовки охлаждающей среды должен предусматриваться сброс нагретой охлаждающей воды после УПП в тракт ПНД. Контроль за сбрасываемой водой осуществляется по ее электропроводности. При электропроводности этой воды выше 0,5 мкСм/см сброс осуществляется в конденсатор турбины.
При проектировании следует предусматривать одну установку охлаждения проб на два энергоблока.
4.1.4. Подача проб теплоносителя к датчикам анализаторов осуществляется по трубкам из нержавеющей стали (ГОСТ 9941-81) внутренним диаметром не более 8 мм и длиной не более 200 м.
4.2. В АСХК используют технические средства со сроком службы не менее 8 лет.
4.3. Значение параметров надежности технических средств АСХК должно обеспечивать наработку на отказ для всей системы АСХК не менее, чем 2000 ч при среднем времени восстановления не более 2 ч.
4.4. Одноименные технические средства, используемые в АСХК, должны быть взаимозаменяемы без каких-либо изменений в остальных устройствах (кроме случаев специально предусмотренных в техническом задании на проектирование АСХК).
4.5. Структура и характеристики комплекса технических средств АСХК должны обеспечивать возможность модернизации и развития системы в пределах, оговоренных в конкретном техническом задании на проектирование АСХК.
5.1. Информационная часть системы АСХК с использованием СВТ должна выполнять следующие функции:
опрос параметров химконтроля с периодичностью 1 раз в 15 мин. при нормальных условиях и 1 раз в 5 мин. при нарушениях ВХР на протяжении всего времени нарушения;
свето-звуковая сигнализация на БЩУ об отклонении любого контролируемого показателя качества от нормы с одновременной регистрацией на устройстве печати этого отклонения с указанием даты, времени, места измерения, наименования параметра, количественного значения отклонения и его продолжительности. При этом значения всех других показателей качества по тракту энергоблока распечатываются. Сигнал о нарушении дублируется на панели сигнализации щита химконтроля с помощью указательных реле;
расчет и регистрация на устройстве печати средних значений контролируемых показателей и средних значений отклонений за час, смену, сутки;
вызов оператором на дисплей видеограммы параметров химконтроля пароводяного тракта (черт. 8);
вызов оператором на дисплей видеограммы отклонений параметров химконтроля (черт. 9);
Форма видеопрограммы химконтроля пароводяного тракта (фрагмент)
Примечание: электропроводность æ и æн на данном чертеже обозначается Э и Эн.
Черт. 8
Форма видеопрограммы отклонения параметров химконтроля (фрагмент)
Примечание: электропроводность æ и æн - на данном чертеже обозначается Эн и Э.
Черт. 9
свето-звуковая сигнализация нарушений в устройствах подготовки охлаждающей воды с одновременной регистрацией на устройстве печати этих нарушений с указанием даты, времени, места и вида отклонения;
Контроль достоверности входной информации о параметрах химконтроля методом проверки по допустимым граничным значениям, по логической взаимосвязи или противоречивости отдельных данных и т.п.
5.2. В качестве технических средств информационного обеспечения АСХК используется комплекс средств вычислительной техники, общеблочного назначения. При этом должен быть предусмотрен дополнительный дисплейный терминал в помещении дежурного персонала химцеха, например, в экспресс-лаборатории энергоблока.
5.3. Программное обеспечение АСХК должно быть достаточным для выполнения всех функций, предусмотренных в техническом задании на ее проектирование.
5.4. Информационная часть системы АСХК без использования средств вычислительной техники выполняет следующие функции:
регистрация контролируемых ПКТ;
сигнализация о нарушениях ВХР (черт. 1).
6.1. Для обеспечения надежной эксплуатации анализаторов, устройств отображения информации о составе теплоносителя и вспомогательных средств схемы химконтроля (УПП) их следует размещать в отдельном помещении, называемом щитом химконтроля (ЩХК).
6.2. Для размещения щитов химконтроля двух смежных блоков можно использовать одно помещение.
6.3. Помещение ЩХК должно состоять из двух смежных отсеков с организованными стоками и приточно-вытяжной вентиляцией. В воздухе этого помещения не должно быть примесей коррозионно-агрессивных газов. Температура окружающего воздуха должна быть 25 ± 5 °С, относительная влажность от 30 до 80 %. Под помещением ЩХК не должно быть электротехнических установок.
6.4. В первом отсеке ЩХК устанавливают щитовые панели с вторичными показывающими, приборами, проградуированными в соответствующих единицах измерения (по одному прибору на каждый вид измерения с переключением через ключи).
При этом должна быть предусмотрена возможность обслуживания панелей с двух сторон. Расстояние от стен помещения до панелей - не менее 0,8 м.
Устройства отображения информации, табло сигнализации, ключи управления размещают на тех же щитовых панелях (в первом отсеке ЩХК).
6.5. Во втором отсеке ЩХК устанавливают УПП и панели с датчиками анализаторов и измерительные преобразователя, унифицированный сигнал с которых подается в первый отсек.
6.6. На БЩУ соответствующего блока выводится обобщенный сигнал о нарушениях в системе химконтроля в виде свето-звуковой сигнализации: «Вызов на ЩХК», а также два обобщенных сигнала «нарушение водного режима», «неисправность режима», «неисправность УПП», расшифровка которых производится на ЩХК с помощью указательных реле. Кроме того, расшифровка неисправностей выводится на устройство печати блочной ЭВМ.
6.7. Информация о качестве теплоносителя (видеограммы текущих значений показателей качества, нарушений ВХР и т.п.) должна быть выведена на устройство печати блочной вычислительной машины и дисплей, устанавливаемый в помещении дежурного персонала, например, на ЩХК или в экспресс-лаборатории химцеха, и вызываться на дисплей по команде оператора.
Допускается по согласованию с главным инженером установка дублирующего дисплея в помещении начальника химического цеха ТЭС.
рекомендуемое
Таблица 3
|
Наименование анализатора1), тип |
Технические условия |
Диапазон измерения, ед. измерения |
Предел допускаемых значений основной приведенной погрешности, % |
Расход пробы, дм3/ч, не более |
Потребляемая мощность, В.А., не более |
Масса, кг, не более |
Габаритные размеры, мм, не более |
||
|
ПИ |
БГ |
ПИ |
БГ |
||||||
|
1 |
2 |
3 |
4 |
5 |
6 |
7 |
8 |
9 |
10 |
|
Кондуктометр1) АК-215-100 АК-215-10 |
ТУ-7416.0154.88 |
0 - 0,5; 0 - 5 мкСм/см 0 - 50; 0 - 500 мкСм/см |
± 2,5 |
6 |
10 |
3 |
3 |
325´172´120 |
|
|
рН-метр рН-2262), 3) |
ТУ25-7410.0005-87 |
6 - 10 ед. рН |
± 2 (по цифровому табло ± 0,25) |
4 |
20 |
7,5 (блок преобразования (тип П-215) |
8,5 с блоком усиления |
375´172´212 |
605´470´120 |
|
рН-2204) (с ручным термокомпенсатором) |
ТУ25-0511.78-86 |
2 - 12 ед. рН |
± 2 (по цифровому табло - не нормировано) |
6 |
60 |
7,5 (П-215) |
1 |
блок преобразования 375´172´212; входной усилитель: 250´190´80; блок искрозащиты 260´105´57 |
Арматура магистральная |
|
Натремер рNa-205 |
ТУ 25-7416.114-88 |
7,36 - 5,36 рNa 1 - 100 мкг/кг |
± 5 (± 0,15 рNa) |
3 - 5 |
10 |
8 |
5,5 |
334´316´167 |
560´340´120 |
|
Кислородомер мембранный АКП-205 |
ТУ 25-7416.114-88 |
0 - 25; 0 - 100; 0 - 250; 0 - 500 мкг/кг О2 |
± 2,5 |
4 - 9 |
15 |
3,5 |
5 |
320´172´120 |
210´240´110 |
1) Выходной сигнал унифицированный 0 - 5 мА на нагрузку до 2,5 кОм. Питание от сети переменного тока напряжением (220 ± 22/-13) В, частотой (50 ± 1) Гц
2) Автоматическое приведение результатов измерения к 25 °С
3) Изопотенциальная точка 7 рН; выходной сигнал 0 - 5 мА; 0 - 100 мВ; по заказу: 4 - 20 мА
4) Ручной термокомпенсатор типа ТКР-3
Рекомендуемое
Установка подготовки проб или Система подготовки пробы унифицирования типа СУПП (ТУ 34-28-10844-84) предназначена для унификации параметров и подачи в датчики автоматических анализаторов анализируемых проб теплоносителя. Установка состоит из теплообменников, дросселирующего устройства, регулятора температуры, переключателя потоков, устройства контроля температуры и давления, распределительного коллектора и предохранительного клапана.
Параметры анализируемой пробы на входе в СУПП: по температуре - от 30 °С до 565 °С, по давлению - от 0,6 до 31 МПа. Особенностью установки СУПП является возможность подключения к ней нескольких датчиков (от двух до четырех).
Наличие позиционного регулятора температуры обеспечивает поддержания температуры пробы на выходе СУПП на уровне 38 ± 2 °С. Предохранительный клапан предохраняет СУПП от возможного повышения давления до 0,2 МПа, открывая в этом случае сброс в дренаж. При повышении температуры пробы сверх заданной прекращается подача пробы в датчик.
Технические характеристики.
Питание от сети переменного тока:
напряжение, В............................................................................................ 24
частота, Гц................................................................................................... 50
Максимальная электрическая мощность,
В × А, не более............................................................................................. 50
Расход анализируемой пробы на выходе СУПП, л/ч............................. от 60 ± 10
...................................................................................................................... до 120 ± 10
Давление анализируемой пробы на выходе СУПП, МПа, не более.... 0,16
Температура анализируемой пробы на выходе СУПП, °С.................... 38 ± 2
Давление пробы при включении световой сигнализации и
перекрытии линии подачи пробы, МПа, не более................................. 0,16
Давление пробы при сбросе в дренаж анализируемой
пробы, МПа, не более................................................................................ 0,2
Температура пробы при включении световой сигнализации и
перекрытии линии подачи пробы, °С...................................................... 42 ± 5
Масса, кг, не более..................................................................................... 80
Габаритные размеры, мм, не более:
колонка подготовки пробы....................................................................... 400´800´1800
теплообменники......................................................................................... 185´115´785
Изготовитель: Витебский з-д ПО «Союзэнергоавтоматика».
СОДЕРЖАНИЕ