
ГОСУДАРСТВЕННЫЙ СТАНДАРТ СОЮЗА ССР
РЕЗИНА
МЕТОД ОПРЕДЕЛЕНИЯ СОПРОТИВЛЕНИЯ СТАРЕНИЮ
ПО ПОЛЗУЧЕСТИ
ГОСТ 10269-75
ИЗДАТЕЛЬСТВО СТАНДАРТОВ
Москва
ГОСУДАРСТВЕННЫЙ СТАНДАРТ СОЮЗА ССР
|
РЕЗИНА Метод определения сопротивления Rubber. Method of test resistance to |
ГОСТ |
Срок действия с 01.07.76
до 01.07.96
Настоящий стандарт распространяется на резину и устанавливает метод определения сопротивления старению по ползучести, характеризующегося показателем старения по ползучести, относительной остаточной деформацией и изменением относительной деформации во времени.
Сущность метода заключается в приложении к образцу постоянной растягивающей силы при повышенной температуре и определении удлинения во времени и остаточного удлинения.
1.1. Прибор для испытания должен обеспечивать:
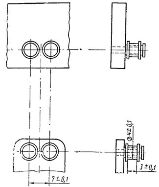
крепление образцов в термостате на двух верхних и двух нижних роликах, конструкция и размеры которых указаны на чертеже. Ролики должны свободно вращаться и располагаться так, чтобы осевые линии были строго вертикальны. При этом расстояние между парами роликов должно быть не менее 10 мм. Верхние ролики должны находиться на высоте не менее 400 мм от дна термостата Расстояние от стенок термостата до роликов должно быть не менее 10 мм;
автоматическое поддержание температуры в рабочем объеме термостата от 40 до 200 °С. Допускаемая погрешность измерительного прибора ±1 °С;

минимальную растягивающую силу, действующую на образец при испытании не более 1 Н (100 гс), максимальную - 20 Н (2000 гс);
измерение удлинения образцов по расстоянию между центрами осей верхних и нижних роликов с погрешностью не более 1,0 мм;
предварительный прогрев образцов, надетых на ролики при расстоянии между центрами Lp = (68,5±0,5) мм; без действия растягивающей силы и без последующего охлаждения образцов в момент приложения силы и при измерении удлинений.
(Измененная редакция, Изм. № 1).
2.1. Образцы для испытаний
2.1.1. Образцы для испытания должны иметь форму колец с наружным диаметром (56±0,2) мм, внутренним диаметром (52±0,2) мм и толщиной (2±0,2) мм. Толщина одного образца в разных точках может колебаться не более чем на 0,2 мм.
2.1.2. Образцы вырубают из вулканизованных пластин толщиной (2±0,2) мм штанцевыми ножами, имеющими острые режущие кромки (эксцентриситет не более 0,05 мм) без дефектов. Перед вырубкой образца рекомендуется режущие края ножа или поверхность пластин смачивать водой или мыльным раствором.
Внутренний и наружный диаметры образца принимают равными соответствующим диаметрам штанцевого ножа, при этом измерение проводят с погрешностью не более 0,05 мм.
2.1.3. Толщину образцов измеряют толщиномером с ценой деления шкалы 0,01 мм не менее, чем в четырех местах, расположенных примерно через каждые 90° по окружности образца. За результат испытания принимают среднее арифметическое всех измерений.
2.1.2, 2.1.3. (Измененная редакция, Изм. № 1).
2.1.4. (Исключен, Изм. № 1).
2.1.5. Число образцов от каждой пробы должно быть не менее трех.
3.1. Испытания образцов должны проводиться при одной из следующих температур: (70±1) °С; (100±1) °С; (125±2) °С; (150±2) °С.
В случаях, оговоренных в нормативно-технической документации, допускается проводить испытания при других температурах.
По достижении заданной температуры в термостате образцы надевают на ролики и прогревают не менее 3 и не более 10 мин.
3.2. Растягивающую силу (Р), Н (гс), вычисляют по формуле
,
где f - заданное начальное напряжение, Па (гс/мм2);
S - площадь поперечного сечения образца, м2 (мм2);
D1 и D2 - соответственно наружный и внутренний диаметры образца, мм;
h - толщина образца, мм.
Рекомендуются следующие начальные напряжения: 0,2 (20), 0,3 (30), 0,4 (40), 0,5 (50), 0,8 (80), 1,0 (100) МПа (гс/мм2).
(Измененная редакция, Изм. № 1).
3.3. Для каждого образца устанавливают растягивающую силу, вычисленную по п. 3.2.
3.4. К образцу прикладывают плавно, без рывков, растягивающую силу (Р) и одновременно отмечают время начала испытания.
3.5. Через (60±1) с после приложения силы измеряют удлинение l1 образца по смещению нижних роликов.
3.6. Продолжительность испытания должна быть такой, чтобы перемещение роликов вследствие удлинения образца составляло не менее 20 мм, за это время должно быть произведено не менее семи отсчетов удлинения через равные интервалы времени.
Продолжительность испытания (12±0,1) или (24±0,1) ч. Допускается увеличивать продолжительность испытания в соотношении, кратном 24 ч.
3.7. По окончании испытания снимают грузы и образцы вынимают из термостата. Образцы выдерживают (24±0,5) ч, в помещении при (23±2) °С.
3.5 - 3.8. (Измененная редакция, Изм. № 1).
4.1. Показатель старения по ползучести (Кп) вычисляют по формуле
,
где L - длина образца после (24±0,5) ч отдыха, мм, измеренная по п. 3.8;
L0 - длина недеформированного образца, равная pD0, мм;
D0 - средний диаметр образца, мм;
lк - смещение нижних роликов к конечному времени нагружения, мм;
l1 - смещение нижних роликов через (60±1) с от момента приложения растягивающей силы, мм.
4.2. Относительную остаточную деформацию (eост) в процентах вычисляют по формуле
,
где L - длина образца после (24±0,5) ч отдыха, мм, измеренная по п. 3.8;
L0 - длина недеформированного образца, равная pD0, мм;
D0 - средний диаметр образца, равный среднему арифметическому наружного и внутреннего диаметров образца, мм;
lк - смещение нижних роликов к конечному времени нагружения, мм.
4.3. Относительную деформацию ползучести (e) в процентах вычисляют по формуле
,
где lt - смещение нижних роликов, определенное ко времени t от начала испытания, мм;
l1 - смещение нижних роликов через (60±1) с от момента приложения растягивающей силы, мм;
L0 - длина недеформированного образца, равная pD0;
D0 - средний диаметр образца, равный среднему арифметическому наружного и внутреннего диаметров образца, мм.
Для сравнения различных резин строят график зависимости «относительная деформация ползучести (e) - время (t) (или логарифмы времени)».
4.4. За результат испытания принимают среднее арифметическое показателей не менее трех образцов, отличающихся от среднего значения не более чем на ±10 %.
4.5. Результаты сопоставимы для образцов, испытанных при одинаковых температурах, начальных напряжениях и времени.
4.6. Результаты испытаний записывают в протокол, который должен содержать следующие данные:
обозначение резины и условия вулканизации;
начальное напряжение, температуру и продолжительность испытания;
показатель старения по ползучести;
относительную остаточную деформацию;
относительную деформацию ползучести;
среднее арифметическое результатов определяемых показателей;
дату проведения испытания;
обозначение настоящего стандарта.
(Введен дополнительно, Изм. № 2).
ИНФОРМАЦИОННЫЕ ДАННЫЕ
1. РАЗРАБОТАН И ВНЕСЕН Министерством нефтеперерабатывающей и нефтехимической промышленности СССР
РАЗРАБОТЧИКИ
А.С. Лыкин; М.К. Хромов; К.Н. Лазарева; Г.П. Бродский
2. УТВЕРЖДЕН И ВВЕДЕН В ДЕЙСТВИЕ Постановлением Государственного комитета СССР по стандартам от 14.05.75, № 1283
3. ВЗАМЕН ГОСТ 10269-62
4. Срок действия продлен до 01.07.96 Постановлением Государственного комитета СССР по управлению качеством продукции и стандартам от 29.12.90 № 3501
5. ПЕРЕИЗДАНИЕ (апрель 1993 г.) с Изменениями № 1, 2, утвержденными в июле 1981 г., сентябре 1990 г., (ИУС 10-81, 4-91)
СОДЕРЖАНИЕ