Extruded rectangular Z-section shapes of aluminium, aluminium and magnesium alloys. Dimensions

ГОСТ 13619-97

МЕЖГОСУДАРСТВЕННЫЙ СТАНДАРТ

 

ПРОФИЛИ ПРЕССОВАННЫЕ
ПРЯМОУГОЛЬНЫЕ
ФАСОННОГО ЗЕТОВОГО СЕЧЕНИЯ
ИЗ АЛЮМИНИЯ, АЛЮМИНИЕВЫХ
И МАГНИЕВЫХ СПЛАВОВ

СОРТАМЕНТ

 

 

 

МЕЖГОСУДАРСТВЕННЫЙ СОВЕТ
ПО СТАНДАРТИЗАЦИИ, МЕТРОЛОГИИ И СЕРТИФИКАЦИИ

МИНСК

 

 

 

Предисловие

1 РАЗРАБОТАН Межгосударственным техническим комитетом МТК 297 «Материалы и полуфабрикаты из легких и специальных сплавов», ОАО «Всероссийский институт легких сплавов» (ОАО ВИЛС)

ВНЕСЕН Госстандартом России

2 ПРИНЯТ Межгосударственным Советом по стандартизации, метрологии и сертификации (протокол № 12-97 от 21 ноября 1997 г.)

За принятие проголосовали:

Наименование государства

Наименование национального органа по стандартизации

Азербайджанская Республика

Азгосстандарт

Республика Армения

Армгосстандарт

Республика Белоруссия

Госстандарт Белоруссии

Грузия

Грузстандарт

Республика Казахстан

Госстандарт Республики Казахстан

Киргизская Республика

Киргизстандарт

Республика Молдова

Молдовастандарт

Российская Федерация

Госстандарт России

Республика Таджикистан

Таджикгосстандарт

Туркменистан

Главная государственная инспекция Туркменистана

Республика Узбекистан

Узгосстандарт

Украина

Госстандарт Украины

3 Постановлением Государственного комитета Российской Федерации по стандартизации, метрологии и сертификации от 22 апреля 1998 г. № 136 межгосударственный стандарт ГОСТ 13619-97 введен в действие непосредственно в качестве государственного стандарта Российской Федерации с 1 января 1999 г.

4 ВЗАМЕН ГОСТ 13619-81

СОДЕРЖАНИЕ

1 Область применения. 2

2 Нормативные ссылки. 2

3 Основные параметры.. 2

Приложение А Переводные коэффициенты для вычисления приближенной теоретической массы 1 м профиля из алюминия и алюминиевых сплавов. 3

Приложение Б Переводные коэффициенты для вычисления приближенной теоретической массы 1 м профиля из магниевых сплавов. 4

Приложение В Соответствие номеров профилей ранее действовавшим обозначениям.. 4

ГОСТ 13619-97

МЕЖГОСУДАРСТВЕННЫЙ СТАНДАРТ

ПРОФИЛИ ПРЕССОВАННЫЕ ПРЯМОУГОЛЬНЫЕ
ФАСОННОГО ЗЕТОВОГО СЕЧЕНИЯ ИЗ АЛЮМИНИЯ,
АЛЮМИНИЕВЫХ И МАГНИЕВЫХ СПЛАВОВ

Сортамент

Extruded rectangular Z-section shapes of aluminium, aluminium and magnesium alloys.
Dimensions

Дата введения 1999-01-01

1 ОБЛАСТЬ ПРИМЕНЕНИЯ

Настоящий стандарт устанавливает сортамент прессованных прямоугольных профилей фасонного зетового сечения из алюминия, алюминиевых и магниевых сплавов, изготовленных методом горячего прессования.

2 НОРМАТИВНЫЕ ССЫЛКИ

В настоящем стандарте использованы ссылки на следующие стандарты:

ГОСТ 8617-81 Профили прессованные из алюминия и алюминиевых сплавов. Технические условия

ГОСТ 19657-84 Профили прессованные из магниевых сплавов. Технические условия

3 ОСНОВНЫЕ ПАРАМЕТРЫ

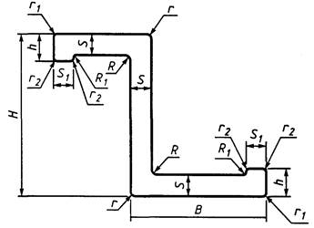
3.1 Номера профилей и размеры должны соответствовать приведенным на рисунке 1 и таблице 1.

Рис. 1

Таблица 1 - Номера профилей, размеры и теоретическая масса

Номер профиля

Размеры, мм

Площадь сечения, см2

Диаметр описанной окружности, мм

Теоретическая масса 1 м сплава, кг

H

В

S

S1

h

R

R1

алюминиевого

магниевого

450361

16

13

1,0

0,8

2,0

1,2

1,2

0,427

30

0,122

0,077

450362

16

13

1,3

0,8

2,0

1,2

1,2

0,534

30

0,152

0,096

450363

20

15

1,5

2,5

6,0

2,0

2,0

0,952

35

0,271

0,174

450364

25

20

1,5

2,5

7,0

2,0

2,0

1,227

46

0,350

0,221

450365

25

20

1,6

2,5

7,0

2,5

1,2

1,264

46

0,360

0,228

450366

25

20

1,8

3,0

7,0

2,0

2,0

1,432

46

0,408

0,258

450367

25

20

2,0

3,0

7,0

2,5

2,5

1,554

46

0,443

0,280

450368

29

21

1,5

1,6

5,0

2,4

2,4

1,176

50

0,335

0,212

450369

30

25

2,0

3,0

7,0

2,5

2,5

1,854

57

0,528

0,334

450370

32

22

1,8

1,8

5,0

2,4

2,4

1,461

53

0,416

0,263

450371

35

30

2,0

3,0

8,0

2,5

2,5

2,214

68

0,631

0,400

450382

40

35

4,0

2,5

10,0

4,0

4,0

4,000

80

1,140

0,720

450372

60

23

1,8

1,8

9,0

2,0

2,0

2,137

75

0,609

0,385

450373

60

23

1,8

1,8

10,0

3,0

3,0

2,216

75

0,631

0,400

450374

70

20

1,5

1,5

8,0

5,0

5,0

1,652

80

0,471

0,297

450375

140

60

6,0

14,0

20,0

2,0

2,0

18,800

181

5,358

3,384

Примечания

1 Радиусы притупления острых кромок r, r1, r2 должны соответствовать требованиям ГОСТ 8617, ГОСТ 19657.

2 Допускается изготовление профилей с радиусом r2 равным 1/2S1

3.2 Теоретическая масса 1 м профиля из алюминиевых сплавов вычислена по номинальным размерам при плотности 2,85 г/см3, что соответствует плотности алюминиевого сплава марки В95.

Теоретическая масса 1 м профиля из магниевых сплавов вычислена по номинальным размерам при плотности 1,80 г/см3, что соответствует плотности магниевого сплава марки МА14.

3.3 Переводные коэффициенты для вычисления приближений теоретической массы 1 м профиля из алюминиевых и магниевых сплавов приведены в приложениях А и Б.

3.4 Номера профилей, соответствующие ранее действовавшим обозначениям, приведены в приложении В.

ПРИЛОЖЕНИЕ А

(справочное)

ПЕРЕВОДНЫЕ КОЭФФИЦИЕНТЫ ДЛЯ ВЫЧИСЛЕНИЯ ПРИБЛИЖЕННОЙ ТЕОРЕТИЧЕСКОЙ МАССЫ 1 М ПРОФИЛЯ ИЗ АЛЮМИНИЯ И АЛЮМИНИЕВЫХ СПЛАВОВ

Для алюминия всех марок      - 0,950

Для сплава марки АМц           - 0,958

    То же                  АМцС        - 0,958

        »                      АМг2         - 0,940

        »                      АМг3         - 0,937

        »                      АМг5         - 0,930

        »                      АМг6         - 0,926

        »                      1561            - 0,930

        »                      Д1               - 0,982

        »                      Д16             - 0,976

        »                      Д16ч           - 0,976

        »                      Д19ч           - 0,968

        »                      Д20             - 0,996

        »                      АВ              - 0,947

        »                      ВАД1         - 0,968

        »                      К 48-2         - 0,972

        »                      К 48-2пч    - 0,972

        »                      АД31          - 0,950

        »                      АД33          - 0,951

        »                      АД35          - 0,954

        »                      1915            - 0,972

        »                      1920            - 0,954

        »                      1925            - 0,972

        »                      1935            - 0,977

        »                      1985пч       - 0,948

        »                      1980            - 0,968

        »                      ВД1            - 0,982

        »                      АВД1-1      - 0,982

        »                      АКМ          - 0,970

        »                      М40            - 0,965

        »                      АК4            - 0,970

        »                      АК6            - 0,962

        »                      АД31Е       - 0,950

        »                      АК4-1         - 0,982

        »                      АК4-1ч       - 0,982

        »                      ВД17          - 0,965

        »                      1161            - 0,972

        »                      1163            - 0,975

        »                      1973            - 1,000

        »                      1420            - 0,867

ПРИЛОЖЕНИЕ Б

(справочное)

ПЕРЕВОДНЫЕ КОЭФФИЦИЕНТЫ ДЛЯ ВЫЧИСЛЕНИЯ ПРИБЛИЖЕННОЙ ТЕОРЕТИЧЕСКОЙ МАССЫ 1 М ПРОФИЛЯ ИЗ МАГНИЕВЫХ СПЛАВОВ

Для сплава марки МА1 - 0,978

    То же  МА2          - 0,989

        »      МА2-1       - 0,990

        »      МА2-1пч  - 0,990

        »      МА8          - 0,989

        »      МА12        - 0,989

ПРИЛОЖЕНИЕ В

(справочное)

СООТВЕТСТВИЕ НОМЕРОВ ПРОФИЛЕЙ РАНЕЕ ДЕЙСТВОВАВШИМ ОБОЗНАЧЕНИЯМ

Номер профиля

Обозначение профиля по каталогу 1966 г.

Обозначение профиля по чертежам

450361

П 510-2

ПР 104-10

450362

П 510-4

ПР 104-6

450363

П 510-6

ПР 104-1

450364

П 510-8

ПР 104-2

450365

П 510-10

ПП 51-1, ПС 157

450366

П 510-12

ПР 104-3

450367

П 510-14

ПР 104-4

450368

П 510-16

ПК 210-1, ПП 51-5

450369

П 510-18

ПР104-5

450370

П 510-20

ПК 210-2, ПП 51-6, ПС 157-2

450371

П 510-22

ПР 104-11

450372

П 510-23

ПС 885-396, ПК 210-3

450373

П 510-24

С 54А

450374

П 512

ПК 210-4

450375

-

ПК 17512

450382

-

ПК 18459

 

Ключевые слова: профили прессованные прямоугольные, сплавы алюминиевые и магниевые, номер профилей, размеры, теоретическая масса