ГОСТ 14729-69
МЕЖГОСУДАРСТВЕННЫЙ СТАНДАРТ
ГАЙКИ ЦИЛИНДРИЧЕСКИЕ
ПОТАЙНЫЕ
КОНСТРУКЦИЯ
ИПК ИЗДАТЕЛЬСТВО СТАНДАРТОВ
Москва
МЕЖГОСУДАРСТВЕННЫЙ СТАНДАРТ
|
Конструкция Cylindrical countersunk nuts. Design |
ГОСТ Взамен ГОСТ 9056-59 |
Постановлением Комитета стандартов, мер и измерительных приборов при Совете Министров СССР от 13 июня 1969 г. № 680 дата введения установлена
Ограничение срока действия снято Постановлением Госстандарта СССР от 20.04.89 № 1027
Настоящий стандарт распространяется на цилиндрические потайные гайки, предназначенные для станочных приспособлений.
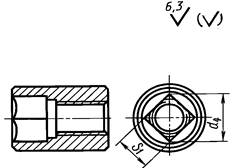
1. Конструкция и размеры гаек должны соответствовать указанным на чертеже и в таблице.
Исполнение 1
Исполнение 2
Размеры в мм
|
Применяемость |
Исполнение |
d |
D d11 |
Н |
S D11 |
S1 D11 |
d1 |
d2 |
d3 |
d4 |
h |
b |
Масса, кг ≈ |
|
|
7003-0351 |
1 |
М6 |
10 |
16 |
6 |
- |
7,0 |
6,5 |
6,9 |
- |
6 |
1,6 |
0,006 |
|
|
7003-0352 |
2 |
- |
5 |
- |
7,1 |
|||||||||
|
7003-0353 |
1 |
М8 |
14 |
20 |
8 |
- |
9,5 |
8,5 |
9,2 |
- |
8 |
2,0 |
0,016 |
|
|
7003-0354 |
2 |
- |
7 |
10,0 |
- |
9,9 |
0,015 |
|||||||
|
7003-0355 |
1 |
М10 |
18 |
25 |
10 |
- |
12,0 |
11,0 |
11,5 |
- |
10 |
2,5 |
0,035 |
|
|
7003-0356 |
2 |
- |
8 |
11,3 |
- |
11,3 |
0,033 |
|||||||
|
7003-0357 |
1 |
М12 |
22 |
32 |
14 |
- |
17,0 |
14,0 |
16,2 |
- |
12 |
0,069 |
||
|
7003-0358 |
2 |
- |
12 |
- |
17,0 |
0,066 |
||||||||
|
7003-0359 |
1 |
М16 |
25 |
40 |
17 |
- |
20,0 |
17,0 |
19,6 |
- |
16 |
3,0 |
0,089 |
|
|
7003-0360 |
2 |
- |
14 |
- |
19,8 |
0,082 |
||||||||
|
7003-0361 |
1 |
М20 |
30 |
50 |
22 |
- |
26,0 |
22,0 |
25,4 |
- |
18 |
4,0 |
0,148 |
|
|
7003-0362 |
2 |
- |
17 |
23,5 |
- |
24,0 |
0,130 |
|||||||
|
7003-0363 |
1 |
М24 |
38 |
60 |
27 |
- |
32,0 |
26,0 |
31,2 |
- |
24 |
5,0 |
0,302 |
|
|
7003-0364 |
2 |
- |
22 |
31,0 |
- |
31,1 |
0,274 |
Пример условного обозначения цилиндрической потайной гайки исполнения 1, размером d = М6:
Гайка 7003-0351 ГОСТ 14729-69
(Измененная редакция, Изм. № 1, 2).
2. Материал - сталь марки 45 по ГОСТ 1050-88. Допускается замена на сталь других марок с механическими свойствами не ниже, чем у стали марки 45.
3. Твердость - HRC 33 ... 38.
4. Неуказанные предельные отклонения размеров: Н14, h14, ±t2/2.
5. Резьба метрическая - по ГОСТ 24705-81. Поле допуска резьбы - 6Н по ГОСТ 16093-81.
4, 5. (Измененная редакция, Изм. № 2).
6. Размеры фасок для резьбы - по ГОСТ 10549-80.
7. Покрытие - Хим. Окc. прм (обозначение покрытия - по ГОСТ 9.306-85). По соглашению с потребителем допускается применение других видов защитных покрытий.
8. Остальные технические требования - по ГОСТ 1759.0-87.
9. Маркировать: наименование изделия, его обозначение, обозначение настоящего стандарта и товарный знак предприятия-изготовителя. Маркировку нанести на тару или упаковку для партии гаек одного типоразмера.
10. Пример применения цилиндрических потайных гаек указан в приложении.
(Введен дополнительно, Изм. № 2).
Справочное