
ГОСУДАРСТВЕННЫЙ СТАНДАРТ СОЮЗА ССР
УГОЛЬНИКИ ФЛАНЦЕВЫЕ ДЛЯ СОЕДИНЕНИЙ
ТРУБОПРОВОДОВ ПО ВНУТРЕННЕМУ КОНУСУ
Конструкция и размеры
ГОСТ 16054-70
ГОСУДАРСТВЕННЫЙ КОМИТЕТ СССР ПО СТАНДАРТАМ
МОСКВА
ГОСУДАРСТВЕННЫЙ СТАНДАРТ СОЮЗА ССР
|
УГОЛЬНИКИ
ФЛАНЦЕВЫЕ ДЛЯ СОЕДИНЕНИЙ Конструкция и размеры Flange
union elbows for tube connections on internal cone. |
ГОСТ |
Постановлением Комитета стандартов, мер и измерительных приборов при Совете Министров СССР от 5 июня 1970 г. № 839 срок введения установлен
с 01.01.71
Несоблюдение стандарта преследуется по закону
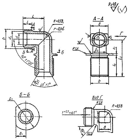
1. Конструкция и размеры фланцевых угольников должны соответствовать указанным на чертеже и в таблице.
Размеры, мм
|
d |
d1 |
Резьба D |
D1 |
D2 |
S |
l |
l1 |
L |
L1 |
S1 |
В |
B1 |
Масса 100 шт. в кг |
||||||
|
Пред. откл. |
Номин. |
Пред. откл. |
|||||||||||||||||
|
± 0,4 |
± 0,2 |
||||||||||||||||||
|
6 |
4 |
11,0 |
М14´1,5 |
9 |
22 |
12 |
9 |
25 |
21 |
40 |
1,5 |
5 |
8 |
± 0,2 |
4,31 |
||||
|
8 |
6 |
13,0 |
М16´1,5 |
11 |
24 |
14 |
22 |
42 |
7 |
9 |
5,35 |
||||||||
|
10 |
8 |
15,0 |
М18´1,5 |
13 |
26 |
24 |
9 |
10 |
6,65 |
||||||||||
|
12 |
10 |
17,0 |
М20´1,5 |
15 |
28 |
17 |
45 |
10 |
11 |
± 0,4 |
8,05 |
||||||||
|
14 |
12 |
19,0 |
М22´1,5 |
17 |
30 |
19 |
25 |
13 |
12 |
9,60 |
|||||||||
|
16 |
14 |
21,0 |
M24´1,5 |
19 |
35 |
22 |
11 |
28 |
28 |
48 |
15 |
13 |
11,43 |
||||||
|
18 |
16 |
24,0 |
М27´1,5 |
22 |
38 |
24 |
29 |
30 |
52 |
17 |
15 |
13,45 |
|||||||
|
20 |
18 |
27,0 |
М30´1,5 |
24 |
42 |
27 |
30 |
55 |
18 |
16 |
16,15 |
||||||||
|
22 |
20 |
29,0 |
М33´1,5 |
26 |
45 |
12 |
31 |
33 |
60 |
2,5 |
18 |
19,37 |
|||||||
|
24 |
22 |
28 |
30 |
22 |
22,85 |
||||||||||||||
|
25 |
23 |
32,0 |
М36´1,5 |
29 |
48 |
13 |
33 |
36 |
62 |
19 |
24,55 |
||||||||
|
28 |
26 |
35,0 |
М39´1,5 |
32 |
50 |
32 |
38 |
65 |
25 |
21 |
29,50 |
||||||||
|
30 |
28 |
35,5 |
34 |
36 |
28 |
32,80 |
|||||||||||||
|
32 |
30 |
38,0 |
М42´1,5 |
37 |
55 |
41 |
40 |
30 |
22 |
36,25 |
|||||||||
|
34 |
32 |
41,0 |
М45´1,5 |
39 |
60 |
68 |
24 |
39,30 |
|||||||||||
|
36 |
34 |
44,0 |
M48´1,5 |
41 |
65 |
46 |
42 |
70 |
25 |
42,80 |
|||||||||
|
38 |
36 |
43 |
46,10 |
||||||||||||||||
2. Материал: штамповки из стали марок 45, 38ХА, 12Х18Н9Т (Х18Н9Т), 13Х11Н2В2МФ (1Х12Н2ВМФ).
3. Технические требования - по ГОСТ 16078-70.
Пример условного обозначения фланцевого угольника к трубопроводу Dн 16 из стали марки 45:
Угольник фланцевый 16-022 ГОСТ 16054-70
То же, из стали марки 38ХА:
Угольник фланцевый 16-021 ГОСТ 16054-70
То же, из стали марки 12Х18Н9Т:
Угольник фланцевый 16-012 ГОСТ 16054-70
То же, из стали марки 13Х11Н2В2МФ:
Угольник фланцевый 16-011 ГОСТ 16054-70
То же, для изделий авиационной и общей техники:
Угольник фланцевый 16-022А ГОСТ 16054-70
Угольник фланцевый 16-021А ГОСТ 16054-70
Угольник фланцевый 16-012А ГОСТ 16054-70
Угольник фланцевый 16-011А ГОСТ 16054-70