
ГОСУДАРСТВЕННЫЙ СТАНДАРТ СОЮЗА ССР
ТРОЙНИКИ ФЛАНЦЕВЫЕ ДЛЯ СОЕДИНЕНИЙ
ТРУБОПРОВОДОВ ПО ВНУТРЕННЕМУ КОНУСУ
Конструкция и размеры
ГОСТ 16061-70
ГОСУДАРСТВЕННЫЙ КОМИТЕТ СССР ПО СТАНДАРТАМ
МОСКВА
ГОСУДАРСТВЕННЫЙ СТАНДАРТ СОЮЗА ССР
|
ТРОЙНИКИ
ФЛАНЦЕВЫЕ ДЛЯ СОЕДИНЕНИЙ Конструкция и размеры Flange
union tees for tube connections on internal cone. |
ГОСТ |
Постановлением Комитета стандартов, мер и измерительных приборов при Совете Министров СССР от 5 июня 1970 г. № 839 срок введения установлен
с 01.01.71
Несоблюдение стандарта преследуется по закону
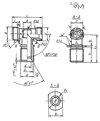
1. Конструкция и размеры фланцевых тройников должны соответствовать указанным на чертеже и в таблице.
Размеры, мм
|
d |
d1 |
Резьба D |
D1 |
D2 |
S |
l |
l1 |
L |
L1 |
s1 |
В |
B1 |
Масса 100 шт. в кг |
|
|||
|
Пред. откл. ± 0,4 |
Номин. |
Пред. откл. |
Пред. откл. |
Пред, откл. ± 0,4 |
|
||||||||||||
|
± 0,4 |
± 0,2 |
|
|||||||||||||||
|
6 |
4 |
11,0 |
М14´1,5 |
9 |
22 |
12 |
9 |
25 |
42 |
± 0,4 |
40 |
1,5 |
5 |
16 |
5,20 |
|
|
|
8 |
6 |
13,0 |
M16´1,5 |
11 |
24 |
14 |
44 |
42 |
7 |
18 |
7,10 |
|
|||||
|
10 |
8 |
15,0 |
М18´1,5 |
13 |
26 |
48 |
9 |
20 |
9,20 |
|
|||||||
|
12 |
10 |
17,0 |
М20´1,5 |
15 |
28 |
17 |
45 |
10 |
22 |
11,40 |
|
||||||
|
14 |
12 |
19,0 |
M22´1,5 |
17 |
30 |
19 |
50 |
13 |
24 |
14,00 |
|
||||||
|
16 |
14 |
21,0 |
М24´1,5 |
19 |
35 |
22 |
11 |
28 |
56 |
48 |
15 |
26 |
16,75 |
|
|||
|
18 |
16 |
24,0 |
М27´1,5 |
22 |
38 |
24 |
29 |
60 |
52 |
17 |
30 |
19,80 |
|
||||
|
30 |
|||||||||||||||||
|
20 |
18 |
27,0 |
M30´1,5 |
24 |
42 |
27 |
55 |
18 |
32 |
23,20 |
|
||||||
|
22 |
20 |
29,0 |
М33´1,5 |
26 |
45 |
12 |
31 |
66 |
60 |
2,5 |
36 |
26,90 |
|
||||
|
24 |
22 |
28 |
30 |
22 |
30,85 |
|
|||||||||||
|
25 |
23 |
32,0 |
М36´1,5 |
29 |
48 |
13 |
33 |
72 |
62 |
38 |
32,70 |
|
|||||
|
28 |
26 |
35,0 |
M39´1,5 |
32 |
50 |
32 |
75 |
65 |
25 |
42 |
38,75 |
|
|||||
|
30 |
28 |
35,5 |
34 |
36 |
28 |
42,75 |
|
||||||||||
|
32 |
30 |
38,0 |
M42´1,5 |
37 |
55 |
41 |
80 |
30 |
44 |
47,00 |
|
||||||
|
34 |
32 |
41,0 |
M45´1,5 |
39 |
60 |
68 |
48 |
51,00 |
|
||||||||
|
36 |
34 |
44,0 |
M48´1,5 |
41 |
65 |
46 |
84 |
± 0,6 |
70 |
50 |
54,80 |
|
|||||
|
38 |
36 |
43 |
60,00 |
|
|||||||||||||
|
|||||||||||||||||
2. Материал: штамповки из стали марок 45, 38ХА, 12Х18Н9Т (Х18Н9Т), 13Х11Н2В2МФ (1Х12Н2ВМФ).
3. Технические требования - по ГОСТ 16078-70.
Пример условного обозначения фланцевого тройника к трубопроводу Dн 16 из стали марки 45:
Тройник фланцевый 16-022 ГОСТ 16061-70
То же, из стали марки 38ХА:
Тройник фланцевый 16-021 ГОСТ 16061-70
То же, из стали марки 12Х18Н9Т:
Тройник фланцевый 16-012 ГОСТ 16061-70
То же, из стали марки 13Х11Н2В2МФ:
Тройник фланцевый 16-011 ГОСТ 16061-70
То же, для изделий авиационной и общей техники:
Тройник фланцевый 16-022А ГОСТ 16061-70
Тройник фланцевый 16-021А ГОСТ 16061-70
Тройник фланцевый 16-012А ГОСТ 16061-70
Тройник фланцевый 16-011А ГОСТ 16061-70