
ГОСУДАРСТВЕННЫЙ СТАНДАРТ СОЮЗА ССР
УГОЛЬНИКИ ВВЕРТНЫЕ С УГЛОМ НАКЛОНА 135°
ДЛЯ СОЕДИНЕНИЙ
ТРУБОПРОВОДОВ ПО ВНУТРЕННЕМУ КОНУСУ
Конструкция и размеры
ГОСТ 16073-70
ГОСУДАРСТВЕННЫЙ КОМИТЕТ СССР ПО СТАНДАРТАМ
МОСКВА
ГОСУДАРСТВЕННЫЙ СТАНДАРТ СОЮЗА ССР
|
УГОЛЬНИКИ
ВВЕРТНЫЕ С УГЛОМ НАКЛОНА 135° Конструкция и размеры Screwed
unionelbows with slope angle 135° |
ГОСТ |
Постановлением Комитета стандартов, мер и измерительных приборов при Совете Министров СССР от 5 июня 1970 г. № 839 срок введения установлен
с 01.01.71
Несоблюдение стандарта преследуется по закону
* Переиздание (июнь 1987 г.) с Изменениями № 1, 2, утвержденными в декабре 1980 г., феврале 1986 г. (ИУС 3-81, 5-86).
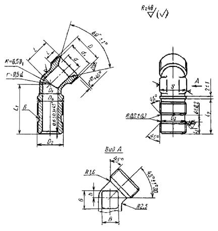
1. Конструкция и размеры ввертных угольников должны соответствовать указанным на чертеже и в таблице.
Размеры, мм
|
d |
d1 |
Резьба D |
D1 |
Резьба D2 |
D3 |
D4 |
S |
l |
l1 |
l2 |
L |
L1 |
B |
b |
Масса 100 шт. в кг |
||
|
Пред. откл. по h11 |
Пред. откл. ± 0,4 |
Номин. |
Пред. откл. |
Пред. откл. ± 0,4 |
|||||||||||||
|
6 |
4 |
11,0 |
М14´1,5 |
9 |
M10 |
7,6 |
10 |
12 |
9 |
7 |
± 0,2 |
24 |
17 |
31 |
5 |
2 |
2,80 |
|
8 |
6 |
13,0 |
М16´1,5 |
11 |
M12´1,5 |
9,6 |
12 |
14 |
8 |
25 |
32 |
7 |
4,00 |
||||
|
10 |
8 |
15,0 |
М18´1,5 |
13 |
M14´1,5 |
11,6 |
14 |
34 |
9 |
3 |
5,40 |
||||||
|
12 |
10 |
17,0 |
M20´1,5 |
15 |
M16´1,5 |
13,6 |
16 |
17 |
9 |
27 |
18 |
37 |
10 |
4 |
6,78 |
||
|
14 |
12 |
19,0 |
M22´1,5 |
17 |
M20´1,5 |
17,6 |
20 |
19 |
10 |
± 0,4 |
29 |
20 |
39 |
13 |
8,41 |
||
|
16 |
14 |
21,0 |
M24´1,5 |
19 |
M22´1,5 |
19,6 |
22 |
22 |
11 |
23 |
41 |
15 |
5 |
10,10 |
|||
|
18 |
16 |
24,0 |
M27´1,5 |
22 |
M24´1,5 |
21,6 |
24 |
24 |
12 |
31 |
24 |
45 |
17 |
12,30 |
|||
|
20 |
18 |
27,0 |
M30´1,5 |
24 |
M27´1,5 |
24,6 |
27 |
27 |
25 |
18 |
6 |
13,60 |
|||||
|
22 |
20 |
29,0 |
M33´1,5 |
26 |
M30´1,5 |
27,6 |
30 |
12 |
13 |
33 |
27 |
50 |
15,80 |
||||
|
24 |
22 |
28 |
30 |
29 |
51 |
22 |
7 |
18,40 |
|||||||||
|
25 |
23 |
32,0 |
M36´1,5 |
29 |
M33´1,5 |
30,6 |
33 |
13 |
14 |
34 |
32 |
54 |
8 |
19,85 |
|||
|
28 |
26 |
35,0 |
M39´1,5 |
32 |
M36´1,5 |
33,6 |
36 |
32 |
15 |
35 |
33 |
56 |
25 |
9 |
26,60 |
||
|
30 |
28 |
35,5 |
34 |
36 |
58 |
28 |
30,40 |
||||||||||
|
32 |
30 |
38,0 |
M42´1,5 |
37 |
M39´1,5 |
36,6 |
39 |
41 |
16 |
36 |
34 |
30 |
34,20 |
||||
|
34 |
32 |
41,0 |
M45´1,5 |
39 |
M42´1,5 |
39,6 |
42 |
35 |
10 |
37,00 |
|||||||
|
36 |
34 |
44,0 |
M48´1,5 |
41 |
M45´1,5 |
42,6 |
45 |
46 |
36 |
39,00 |
|||||||
|
38 |
36 |
43 |
42,00 |
||||||||||||||
(Измененная редакция, Изм. № 1).
2. Материал: штамповки из стали марок 45, 38ХА, 13Х11Н2В2МФ (1Х12Н2ВМФ).
3. Допуск радиального биения поверхности Б относительно оси резьбы D2 - 0,08 мм.
(Измененная редакция, Изм. № 1).
4. Покрытие кадмием (цинком) поверхности Б не допускается.
5. Технические требования - по ГОСТ 16078-70.
Пример условного обозначения ввертного угольника к трубопроводу Dн 16 из стали марки 45:
Угольник ввертной 16-022 ГОСТ 16073-70
То же, из стали марки 38ХА:
Угольник ввертной 16-021 ГОСТ 16073-70
То же, из стали марки 13Х11Н2В2МФ:
Угольник ввертной 16-011 ГОСТ 16073-70
То же, для изделий авиационной и общей техники:
Угольник ввертной 16-022А ГОСТ 16073-70
Угольник ввертной 16-021А ГОСТ 16073-70
Угольник ввертной 16-011А ГОСТ 16073-70