
ГОСУДАРСТВЕННЫЙ СТАНДАРТ СОЮЗА ССР
ЗАГЛУШКИ КОНУСНЫЕ ДЛЯ
СОЕДИНЕНИЙ ТРУБОПРОВОДОВ ПО ВНУТРЕННЕМУ КОНУСУ
Конструкция и размеры
ГОСТ 16077-70
ГОСУДАРСТВЕННЫЙ КОМИТЕТ СССР ПО СТАНДАРТАМ
МОСКВА
ГОСУДАРСТВЕННЫЙ СТАНДАРТ СОЮЗА ССР
|
ЗАГЛУШКИ КОНУСНЫЕ ДЛЯ СОЕДИНЕНИЙ ТРУБОПРОВОДОВ ПО ВНУТРЕННЕМУ КОНУСУ Конструкция и размеры Tapered
stoppers for tube connections on internal cone. |
ГОСТ |
Постановлением Комитета стандартов, мер и измерительных приборов при Совете Министров СССР от 5 июня 1970 г. № 839 срок введения установлен
с 01.01.71
Несоблюдение стандарта преследуется по закону
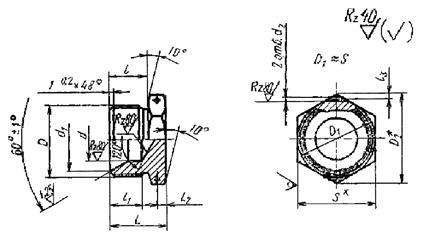
1. Конструкция и размеры конусных заглушек должны соответствовать указанным на чертеже и в таблице.
* Размеры для справок.
Размеры, мм
|
d |
d1 |
Пред. откл. +0,12 |
Резьба D |
D2 |
S |
l |
l1 |
L2 |
L3 |
L |
Масса 100 шт. в кг |
|
|
|
Пред. откл. |
|
||||||||||||
|
± 0,4 |
± 0,2 |
± 0,4 |
|||||||||||
|
-0,06 |
|
||||||||||||
|
6 |
4 |
11,0 |
1,5 |
М14´1,5 |
19,6 |
17 |
13 |
12 |
2,5 |
2,0 |
18 |
1,94 |
|
|
8 |
6 |
13,0 |
M16´1,5 |
2,76 |
|
||||||||
|
10 |
8 |
15,0 |
М18´1,5 |
21,9 |
19 |
3,54 |
|
||||||
|
12 |
10 |
17,0 |
M20´1,5 |
25,4 |
22 |
3,0 |
19 |
4,64 |
|
||||
|
14 |
12 |
19,0 |
М22´1,5 |
27,7 |
24 |
5,10 |
|
||||||
|
16 |
14 |
21,0 |
М24´1,5 |
31,2 |
27 |
15 |
21 |
5,65 |
|
||||
|
18 |
16 |
24,0 |
М27´1,5 |
34,6 |
30 |
6,93 |
|
||||||
|
20 |
18 |
27,0 |
M30´1,5 |
36,9 |
32 |
8,68 |
|
||||||
|
22 |
20 |
29,0 |
М33´1,5 |
41,6 |
36 |
16 |
22 |
11,30 |
|
||||
|
24 |
22 |
13,20 |
|
||||||||||
|
25 |
23 |
32,0 |
М36´1,5 |
47,3 |
41 |
17 |
11 |
23 |
12,90 |
|
|||
|
28 |
26 |
35,0 |
М39´1,5 |
15,80 |
|
||||||||
|
30 |
28 |
35,5 |
17,40 |
|
|||||||||
|
32 |
30 |
38,0 |
2,0 |
М42´1,5 |
53,1 |
46 |
4,0 |
2,5 |
25 |
21,90 |
|
||
|
34 |
32 |
38,0 |
М45´1,5 |
24,40 |
|
||||||||
|
36 |
34 |
44,0 |
М48´1,5 |
57,7 |
50 |
27,60 |
|
||||||
|
38 |
36 |
28,90 |
|
||||||||||
2. Материал: сталь марок 45, 12Х18Н9Т (Х18Н9Т), 13Х11Н2В2МФ (1Х12Н2ВМФ).
3. Технические требования - по ГОСТ 16078-70.
Пример условного обозначения конусной заглушки к трубопроводу Dн 16 из стали марки 45:
Заглушка конусная 16-022 ГОСТ 16077-70
То же, из стали марки 12Х18Н9Т:
Заглушка конусная 16-012 ГОСТ 16077-70
То же, из стали марки 13Х11Н2В2МФ:
Заглушка конусная 16-011 ГОСТ 16077-70
То же, для изделий авиационной и общей техники:
Заглушка конусная 16-022А ГОСТ 16077-70
Заглушка конусная 16-012А ГОСТ 16077-70
Заглушка конусная 16-011А ГОСТ 16077-70