ГОСТ 16715-71
МЕЖГОСУДАРСТВЕННЫЙ СТАНДАРТ
ХВОСТОВИКИ С БУРТИКОМ
ДЛЯ ШТАМПОВ
ЛИСТОВОЙ ШТАМПОВКИ
КОНСТРУКЦИЯ И РАЗМЕРЫ
Москва
Стандартинформ
2006
МЕЖГОСУДАРСТВЕННЫЙ СТАНДАРТ
|
ХВОСТОВИКИ С БУРТИКОМ ДЛЯ ШТАМПОВ Конструкция и размеры Shouldered shanks for dies of
sheet pressing. |
ГОСТ Взамен |
Издание (август 2006 г.) с Изменением № 1, утвержденным в феврале 1981 г. (ИУС 5-81).
Постановлением Государственного комитета стандартов Совета Министров СССР от 22 февраля 1971 г. № 299 дата введения установлена
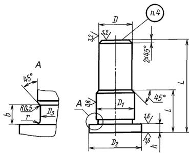
1. Конструкция и размеры хвостовиков с буртиком должны соответствовать указанным на чертеже и в таблице.
Исполнение 1
Исполнение 2
Размеры, мм
|
Применяемость |
Исполнение |
D (пред. откл. по h12) |
D1 (пред. откл. по s7) |
D2 (пред. откл. по b12) |
D3 |
d |
L |
l |
h (пред. откл. +0,3; +0,1) |
b |
r |
Масса, кг |
|
|
1034-0601 |
|
1 |
20 |
22 |
28 |
21,5 |
- |
50 |
20 |
5 |
3 |
1 |
0,14 |
|
1034-0602 |
|
2 |
8,5 |
0,12 |
|||||||||
|
1034-0603 |
|
1 |
- |
56 |
25 |
0,16 |
|||||||
|
1034-0604 |
|
2 |
8,5 |
0,14 |
|||||||||
|
1034-0605 |
|
1 |
- |
63 |
32 |
0,18 |
|||||||
|
1034-0606 |
|
2 |
8,5 |
0,15 |
|||||||||
|
1034-0607 |
|
1 |
25 |
28 |
36 |
27,5 |
- |
60 |
20 |
0,27 |
|||
|
1034-0608 |
|
2 |
10,5 |
0,23 |
|||||||||
|
1034-0609 |
|
1 |
- |
67 |
25 |
0,30 |
|||||||
|
1034-0610 |
|
2 |
10,5 |
0,25 |
|||||||||
|
1034-0611 |
|
1 |
- |
75 |
32 |
0,34 |
|||||||
|
1034-0612 |
|
2 |
10,5 |
0,29 |
|||||||||
|
1034-0613 |
|
1 |
32 |
34 |
42 |
33,5 |
- |
71 |
20 |
0,48 |
|||
|
1034-0614 |
|
2 |
13 |
0,41 |
|||||||||
|
1034-0615 |
|
1 |
- |
75 |
25 |
0,51 |
|||||||
|
1034-0616 |
|
2 |
13 |
0,43 |
|||||||||
|
1034-0617 |
|
1 |
- |
85 |
32 |
0,58 |
|||||||
|
1034-0618 |
|
2 |
13 |
0,49 |
|||||||||
|
1034-0619 |
|
1 |
- |
90 |
40 |
0,62 |
|||||||
|
1034-0620 |
|
2 |
13 |
0,53 |
|||||||||
|
1034-0621 |
|
1 |
40 |
42 |
50 |
41,5 |
- |
80 |
25 |
6 |
0,84 |
||
|
1034-0622 |
|
2 |
13 |
0,76 |
|||||||||
|
1034-0623 |
|
1 |
- |
90 |
32 |
0,95 |
|||||||
|
1034-0624 |
|
2 |
13 |
0,85 |
|||||||||
|
1034-0625 |
|
1 |
- |
95 |
40 |
1,00 |
|||||||
|
1034-0626 |
|
2 |
13 |
0,91 |
|||||||||
|
1034-0627 |
|
1 |
- |
105 |
50 |
1,11 |
|||||||
|
1034-0628 |
|
2 |
13 |
1,00 |
|||||||||
|
1034-0629 |
|
1 |
50 |
53 |
63 |
52 |
- |
100 |
32 |
5 |
1,6 |
1,57 |
|
|
1034-0630 |
|
2 |
17 |
1,40 |
|||||||||
|
1034-0631 |
|
1 |
- |
105 |
40 |
1,74 |
|||||||
|
1034-0632 |
|
2 |
17 |
1,55 |
|||||||||
|
1034-0633 |
|
1 |
- |
115 |
50 |
1,83 |
|||||||
|
1034-0634 |
|
2 |
17 |
1,64 |
|||||||||
|
1034-0635 |
|
1 |
- |
125 |
60 |
2,08 |
|||||||
|
1034-0636 |
|
2 |
17 |
1,86 |
|||||||||
|
1034-0637 |
|
1 |
60 |
63 |
71 |
62 |
- |
110 |
40 |
8 |
5 |
1,6 |
2,59 |
|
1034-0638 |
|
2 |
21 |
2,29 |
|||||||||
|
1034-0639 |
|
1 |
- |
120 |
50 |
2,83 |
|||||||
|
1034-0640 |
|
2 |
21 |
2,50 |
|||||||||
|
1034-0641 |
|
1 |
- |
130 |
60 |
3,08 |
|||||||
|
1034-0642 |
|
2 |
21 |
2,72 |
|||||||||
|
1034-0643 |
|
1 |
- |
140 |
70 |
3,32 |
|||||||
|
1034-0644 |
|
2 |
21 |
2,94 |
|||||||||
|
1034-0645 |
|
1 |
75 |
80 |
90 |
79 |
- |
130 |
50 |
10 |
4,85 |
||
|
1034-0646 |
|
2 |
21 |
4,50 |
|||||||||
|
1034-0647 |
|
1 |
- |
140 |
60 |
5,25 |
|||||||
|
1034-0648 |
|
2 |
21 |
4,87 |
|||||||||
|
1034-0649 |
|
1 |
- |
160 |
80 |
6,04 |
|||||||
|
1034-0650 |
|
2 |
21 |
5,60 |
|||||||||
|
1034-0651 |
|
1 |
- |
180 |
100 |
6,83 |
|||||||
|
1034-0652 |
|
2 |
21 |
6,34 |
Пример условного обозначения хвостовика D = 20 мм, l = 20 мм, исполнения 1:
Хвостовик 1034-0601 ГОСТ 16715-71
(Измененная редакция, Изм. № 1).
2. Материал - сталь марки 35 по ГОСТ 1050-88.
3. Технические требования - по ГОСТ 16722-71.
4. Маркировать: обозначение, номер настоящего стандарта и товарный знак предприятия-изготовителя. Хвостовики диаметром D = 20 и 25 мм допускается маркировать на прикрепленных к ним бирках.
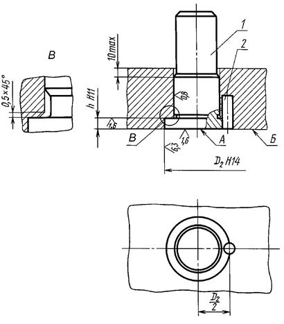
5. Пример закрепления хвостовика с буртиком в верхней плите штампа указан в приложении.
Рекомендуемое
1 - хвостовик; 2 - штифт 6m6´16 по ГОСТ 3128-70
1. Торец А хвостовика должен быть в одной плоскости с поверхностью Б верхней плиты.
2. Диаметр D2 и высота h буртика хвостовика - по настоящему стандарту.
(Измененная редакция, Изм. № 1).