
ГОСУДАРСТВЕННЫЙ СТАНДАРТ СОЮЗА ССР
СТАНКИ ТОКАРНО-РЕВОЛЬВЕРНЫЕ
НОРМЫ ТОЧНОСТИ
ГОСТ 17-70
ГОСУДАРСТВЕННЫЙ КОМИТЕТ СССР ПО СТАНДАРТАМ
Москва
ГОСУДАРСТВЕННЫЙ СТАНДАРТ СОЮЗА ССР
|
СТАНКИ ТОКАРНО-РЕВОЛЬВЕРНЫЕ Нормы точности Turret Lathes. Accuracy standards |
ГОСТ Взамен |
* Переиздание июнь 1982 г. с Изменением № 1, утвержденным в июле 1980 г. (ИУС 10-1980 г.).
Постановлением Комитета стандартов, мер и измерительных приборов при Совете Министров СССР от 27 мая 1970 г. № 804 срок введения установлен
с 01.01.71;
по проверкам 11, 12 и 14
с 01.01.73
Проверен в 1980 г. Срок действия ограничен
до 01.01.90
Несоблюдение стандарта преследуется по закону
Настоящий стандарт распространяется на прутковые и патронные токарно-револьверные станки классов точности Н и П с вертикальной, горизонтальной и наклонной осями вращения револьверной головки и устанавливает дополнительные требования к общим условиям испытания станков на точность по ГОСТ 8-77 и жесткость по ГОСТ 7035-75.
(Измененная редакция, Изм. № 1).
А. Проверка точности станка
Проверка 1

|
Что проверяется |
Метод проверки |
Наибольший диаметр, мм |
Допуск, мм |
||
|
прутка, d |
изделия, устанавливаемого над станиной, D |
Класс точности станка |
|||
|
Н |
П |
||||
|
Прямолинейность продольного перемещения револьверного и поперечного суппортов в вертикальной плоскости Примечание. Проверке подвергаются поперечные суппорта, имеющие продольное рабочее перемещение. |
На суппорте 2 (3) (непосредственно или с помощью мостика) параллельно направлению перемещения устанавливают уровень 1. Суппорт перемещают на всю длину рабочего хода. Замеры производят не реже чем через 300 мм и не менее чем в трех положениях по длине хода суппорта. В станках, у которых ползун револьверного суппорта перемещается по промежуточным салазкам, проверку производят путем перемещения ползуна на всю длину рабочего хода не менее чем в трех положениях салазок с закреплением их на станине, с сохранением указанных допусков. Крайние положения ползуна должны соответствовать наименьшему и наибольшему расстоянию от торца шпинделя до плоскости револьверной головки, указанному в паспорте станка. Отклонение определяют как наибольшую алгебраическую разность показаний уровня |
До 12 Св. 12 до 32 Св. 32 до 80 Св. 80 до 200 |
До 200 Св. 200 до 320 Св. 320 до 500 Св. 500 до 800 |
На длине хода суппорта |
|
|
0,04 1000 |
0,02 1000 |
||||
|
Вогнутость не допускается |
|||||
(Измененная редакция, Изм. № 1).
Проверка 2

|
Что проверяется |
Метод проверки |
Наибольший диаметр, мм |
Допуск, мм |
||
|
прутка, d |
изделия, устанавливаемого над станиной, D |
Класс точности станка |
|||
|
Н |
П |
||||
|
Постоянство положения плоскости движения (перекос) при продольном перемещении револьверного и поперечного суппортов Примечание. Проверке подвергаются поперечные суппорта, имеющие продольное рабочее перемещение |
На суппорте 2(3) (непосредственно или с помощью мостика) перпендикулярно направлению его перемещения устанавливают уровень 1. |
До 12 Св. 12 до 32 |
До 200 Св. 200 до 320 |
На длине хода суппорта 0,02 1000 |
|
|
Суппорт перемещают на всю длину рабочего хода. Замеры производят не реже чем через 300 мм и не менее чем в трех положениях по длине хода суппорта. В станках, у которых ползун револьверного суппорта перемещается по промежуточным салазкам, проверку производят путём перемещения ползуна на всю длину рабочего хода не менее чем в трех положениях салазок с закреплением их на станине, с сохранением указанных допусков. |
Св. 32 до 80 Св. 80 до 200 |
Св. 320 до 500 Св. 500 до 800 |
0,04 1000 |
0,02 1000 |
|
|
Крайние положения ползуна должны соответствовать наименьшему и наибольшему расстоянию от торца шпинделя до плоскости револьверной головки, указанному в паспорте станка. Отклонение определяют как наибольшую алгебраическую разность показаний уровня |
|||||
(Измененная редакция, Изм. № 1).
Проверка 3

|
Что проверяется |
Метод проверки |
Наибольший диаметр, мм |
Допуск, мкм |
||
|
прутка, d |
изделия, устанавливаемого над станиной, D |
Класс точности станка |
|||
|
Н |
П |
||||
|
Радиальное биение наружной центрирующей поверхности шпинделя |
На неподвижной части станка укрепляют индикатор 1 так, чтобы его измерительный наконечник был перпендикулярен центрирующей поверхности шпинделя 2 в точке касания. Шпиндель приводят во вращение. Измерение производят в двух взаимно перпендикулярных плоскостях. Отклонение определяют как наибольшую величину показаний индикатора |
До 12 |
До 200 |
7 |
4 |
|
Св. 12 до 32 |
Св. 200 до 320 |
10 |
6 |
||
|
Св. 32 до 80 |
Св. 320 до 500 |
12 |
8 |
||
|
Св. 80 до 200 |
Св. 500 до 800 |
16 |
10 |
||
Проверка 4

|
Что проверяется |
Метод проверки |
Наибольший диаметр, мм |
Допуск, мкм |
||
|
Прутка, d |
изделия, устанавливаемого над станиной, D |
Класс точности станка |
|||
|
Н |
П |
||||
|
Радиальное биение посадочной поверхности под зажимные цанги |
На неподвижной части станка укрепляют индикатор 1 так, чтобы его измерительный наконечник был перпендикулярен посадочной поверхности 2 под зажимные цанги в точке касания Шпиндель приводят во вращение. Измерение производят в двух взаимно перпендикулярных плоскостях. Отклонение определяют как наибольшую величину показаний индикатора |
До 12 |
До 200 |
7 |
4 |
|
Св. 12 до 32 |
Св. 200 до 320 |
10 |
6 |
||
|
Св. 32 до 80 |
Св. 320 до 500 |
12 |
8 |
||
|
Св. 80 до 200 |
Св. 500 до 800 |
16 |
10 |
||
Проверка 5

|
Что проверяется |
Метод проверки |
Наибольший диаметр, мм |
Допуск, мкм |
||
|
прутка, d |
изделия, устанавливаемого над станиной, D |
Класс точности станка |
|||
|
Н |
П |
||||
|
Торцовое биение опорной поверхности шпинделя |
На неподвижной части станка укрепляют индикатор 1 так, чтобы его измерительный наконечник был перпендикулярен опорной торцовой поверхности шпинделя 2 в точке касания. Шпиндель приводят во вращение. Измерение производят в двух диаметрально противоположных точках. Отклонение определяют как наибольшую величину показаний индикатора. |
До 12 |
До 200 |
10 |
6 |
|
Св. 12 до 32 |
Св. 200 до 320 |
12 |
8 |
||
|
Св. 32 до 80 |
Св. 320 до 500 |
16 |
10 |
||
|
Св. 80 до 200 |
Св. 500 до 200 |
20 |
12 |
||
Проверка 6

|
Что проверяется |
Метод проверки |
Наибольший диаметр, мм |
Допуск, мкм |
||
|
прутка, d |
изделия, устанавливаемого над станиной, D |
Класс, точности станка |
|||
|
Н |
П |
||||
|
Осевое биение шпинделя |
На неподвижной части станка укрепляют индикатор 1 так, чтобы его измерительный наконечник касался шарика 3, вставленного в центровое отверстие короткой оправки 4 или торца короткой оправки 5, установленных в калиброванное отверстие шпинделя 2. Шпиндель приводят во вращение. Отклонение определяют как наибольшую величину показаний индикатора. |
До 12 |
До 200 |
7 |
4 |
|
Св. 12 до 32 |
Св. 200 до 320 |
10 |
6 |
||
|
Св. 32 до 80 |
Св. 320 до 500 |
12 |
8 |
||
|
Св. 80 до 200 |
Св. 500 до 800 |
16 |
10 |
||
Проверка 7

|
Что проверяется |
Метод проверки |
Наибольший диаметр, мм |
Допуск, мкм |
||
|
прутка, d |
изделия, устанавливаемого над станиной, D |
Класс точности станка |
|||
|
Н |
П |
||||
|
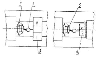
Совпадение осей отверстий для инструментов и для резцедержателей в револьверной головке с осью шпинделя в вертикальной и горизонтальной плоскостях |
В шпинделе 2 укрепляют индикатор 1 так, чтобы его измерительный наконечник был перпендикулярен в точке касания цилиндрической поверхности оправки 3, вставленной в отверстие для инструмента в револьверной головке 5, или цилиндрической поверхности центрирующего отверстия 4 под резцедержатели в револьверной головке. В каждой плоскости измерения производят по двум диаметрально противоположным образующим (шпиндель поворачивают на 180°). Отклонение определяют половиной алгебраической разности показаний индикатора в данной плоскости. Проверке подвергают все отверстия револьверной головки. Примечание. При наличии поперечного перемещения револьверной головки предварительно выверяют оправку в горизонтальной плоскости относительно оси шпинделя. |
До 12 |
До 200 |
16 L = 75 мм |
10 L1 = 50 мм |
|
Св. 12 до 32 |
Св. 200 до 320 |
20 L = 150 мм |
12 L1 = 50 мм |
||
|
Св. 32 до 80 |
Св. 320 до 500 |
25 L = 250 мм |
16 L1 = 50 мм |
||
|
Св. 80 до 200 |
Св. 500 до 800 |
30 L = 300 мм |
20 L1 = 75 мм |
||
Проверка 8

|
Что проверяется |
Метод проверки |
Наибольший диаметр, мм |
Допуск, мкм |
|
|||
|
Класс точности станка |
|||||||
|
прутка, d |
изделия, устанавливаемого над станиной, D |
||||||
|
Н |
П |
|
|||||
|
Перпендикулярность к оси шпинделя боковых граней револьверной головки с вертикальной осью вращения или торцовой поверхности револьверной головки с горизонтальной осью вращения |
Индикатор 1 укрепляют в шпинделе 2 так, чтобы его измерительный наконечник был перпендикулярен в точке касания боковой грани револьверной головки 3 с вертикальной осью вращения (в рабочем положении головки) или торцовой поверхности головки 4 с горизонтальной осью вращения. Шпиндель с индикатором поворачивают на 180°. Отклонение определяют как алгебраическую разность показаний индикатора. В револьверных головках с вертикальной осью вращения проверке подвергают все боковые грани. |
Для станков с вертикальной осью револьверной головки |
|
||||
|
До 12 |
До 200 |
12 |
8 |
|
|||
|
D0 =75 мм |
|
||||||
|
Св. 12 до 32 |
Св. 200 до 320 |
16 |
10 |
|
|||
|
D0 = 100 мм |
|
||||||
|
Св. 32 до 80 |
Св. 320 до 500 |
20 |
12 |
|
|||
|
D0 = 150 мм |
|
||||||
|
Св. 80 до 200 |
Св. 500 до 800 |
25 |
16 |
|
|||
|
D0 = 200 мм |
|
||||||
|
Для станков с горизонтальной осью револьверной головки |
|
||||||
|
До 12 |
До 200 |
16 |
12 |
|
|||
|
D0 = 75 мм |
|
||||||
|
Св. 12 до 32 |
Св. 200 до 320 |
20 |
16 |
|
|||
|
D0 = 100 мм |
|
||||||
|
Св. 32 до 80 |
Св. 320 до 500 |
25 |
20 |
|
|||
|
D0 = 150 мм |
|
||||||
|
Св. 80 до 200 |
Св. 500 до 800 |
30 |
25 |
|
|||
|
D0 = 200 мм |
|
||||||
|
|||||||
Проверка 9

|
Что проверяется |
Метод проверки |
Наибольший диаметр, мм |
Допуск, мкм |
||
|
прутка, d |
изделия, устанавливаемого над станиной, D |
Класс точности станка |
|||
|
Н |
П |
||||
|
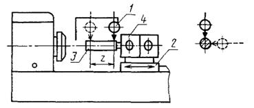
Параллельность оси шпинделя направлению перемещения револьверного и поперечного суппортов в вертикальной и горизонтальной плоскостях |
Индикатор 1 укрепляют последовательно на револьверной головке 3 и поперечном суппорте 4 так, чтобы его измерительный наконечник был перпендикулярен в точке касания цилиндрической поверхности оправки 5, закрепленной на шпинделе 2. Револьверный и поперечный суппорты перемещают на длину L или на всю длину рабочего хода, если она меньше L. Проверку производят на указанной длине или на всей длине рабочего хода. В каждой плоскости измерения производят по двум диаметрально противоположным образующим (шпиндель поворачивают на 180°). В станках, имеющих револьверный суппорт с промежуточными салазками, проверку производят путем перемещения ползуна на всю длину рабочего хода не менее чем в трех положениях салазок с закреплением их на станине, с сохранением указанных допусков. Крайние положения салазок должны соответствовать наименьшему и наибольшему расстояниям от торца шпинделя до плоскости револьверной головки, указанным в паспорте станка. Отклонение определяют как среднюю арифметическую результатов измерений в данной плоскости. |
До 12 |
До 200 |
7 |
5 |
|
L = 75 мм |
|||||
|
Св. 12 до 32 |
Св. 200 до 320 |
10 |
7 |
||
|
L = 150 мм |
|||||
|
Св. 32 до 80 |
Св. 320 до 500 |
20 |
12 |
||
|
L = 300 мм |
|||||
|
Св. 80 до 200 |
Св. 500 до 800 |
25 |
16 |
||
|
L = 300 мм |
|||||
|
В вертикальной плоскости свободный конец оправки может отклоняться только вверх, в горизонтальной - только вперед в сторону инструмента |
|||||
Проверка 10

|
Что проверяется |
Метод проверки |
Наибольший диаметр, мм |
Допуск, мкм |
||
|
прутка, d |
изделия, устанавливаемого над станиной, D |
Класс точности станка |
|||
|
Н |
П |
||||
|
Перпендикулярность к оси шпинделя направления перемещения поперечного и револьверного суппортов и револьверной головки при круговой подаче |
Индикатор 1 укрепляют на поперечном суппорте 3 или револьверной головке 4 так, чтобы его измерительный наконечник был перпендикулярен в точке касания торцовой поверхности контрольной линейки или соответственно контрольного диска 5, закрепленного на шпинделе 2 Поперечные салазки поперечного и револьверного суппортов или револьверную головку перемещают от периферии диска или линейки к центру так, чтобы расстояние от точки начала отсчета до центра равнялось L. Отклонение определяют как среднюю арифметическую результатов двух измерений (при втором измерении шпиндель поворачивают на 180°) |
До 12 |
До 200 |
8 |
5 |
|
L = 50 мм |
|||||
|
Св. 12 до 32 |
Св. 200 до 320 |
10 |
6 |
||
|
L = 75 мм |
|||||
|
Св. 32 до 80 |
Св. 320 до 500 |
12 |
8 |
||
|
L = 100 мм |
|||||
|
Св. 80 до 200 |
Св. 500 до 800 |
16 |
12 |
||
|
L = 130 мм |
|||||
|
Отклонение допускается только в сторону передней бабки при перемещении индикатора к оси шпинделя |
|||||
Проверка 11 (для станков с горизонтальной осью револьверной головки и для станков со сплошной револьверной головкой с вертикальной или наклонной осью)

|
Что проверяется |
Метод проверки |
Наибольший диаметр, мм |
Допуск, мкм |
||
|
прутка d |
изделия, устанавливаемого над станиной, D |
Класс точности станка |
|||
|
Н |
П |
||||
|
Параллельность осей отверстий для инструмента в револьверной головке направлению ее продольного перемещения в вертикальной и горизонтальной плоскостях |
Индикатор 1 укрепляют вне проверяемого узла 2 так, чтобы его измерительный наконечник был перпендикулярен в точке касания цилиндрической поверхности оправки 3, плотно вставленной в отверстие револьверной головки 4. Револьверной головке сообщают продольное перемещение на длину L или на всю длину рабочего хода, если она меньше L. В каждой плоскости отклонение определяют как среднюю арифметическую результатов трех измерений. При последовательных измерениях положение оправки в револьверной головке меняют. Проверке подвергают все отверстия револьверной головки |
До 12 |
До 200 |
8 |
5 |
|
L = 75 мм |
|||||
|
Св. 12 до 32 |
Св. 200 до 320 |
12 |
8 |
||
|
L = 150 мм |
|||||
|
Св. 32 до 80 |
Св. 320 до 500 |
20 |
12 |
||
|
L = 300 мм |
|||||
|
Св. 80 до 200 |
Св. 500 до 800 |
30 |
20 |
||
|
L = 500 мм |
|||||
(Измененная редакция, Изм. № 1).
Проверка 12

|
Что проверяется |
Метод проверки |
Наибольший диаметр, мм |
Допуск, мкм |
||
|
прутка, d |
изделия, устанавливаемого над станиной, D |
Класс точности станка |
|||
|
Н |
П |
||||
|
Точность фиксации при повторных поворотах на каждой позиции: а) резцовой головки; б) револьверной головки |
Индикатор 1 укрепляют на шпинделе 2 так, чтобы его измерительный наконечник был перпендикулярен в точке касания: а) поверхности оправки прямоугольного сечения 3, закрепленной в резцовой головке 4, и был расположен на расстоянии 150 мм от ее оси; б) цилиндрической поверхности оправки 5, закрепленной в револьверной головке 6, и был расположен на расстоянии L от ее грани или торца, при фиксированном положении головок. Головки поворачивают на 360°. Отклонение определяют разностью показаний индикатора при начальном положении головок и по возвращении их в первоначальное положение после поворота на 360°. Отклонение определяют как наибольшую величину результатов пяти измерений. Проверке подвергают все позиции резцовой и револьверной головок |
До 200 |
До 800 |
а |
|
|
32 |
20 |
||||
|
До 32 |
До 320 |
б |
|||
|
12 |
8 |
||||
|
L = 100 мм |
|||||
|
Св. 32 до 80 |
Св. 320 до 500 |
20 |
12 |
||
|
L = 200 мм |
|||||
|
Св. 80 до 200 |
Св. 500 до 800 |
32 |
20 |
||
|
L = 300 мм |
|||||
Проверка 13 (для станков, не имеющих механизма зажима револьверной головки)

|
Что проверяется |
Метод проверки |
Наибольший диаметр, мм |
Допуск, мкм |
||
|
прутка, d |
изделия, устанавливаемого над станиной, D |
Класс точности станка |
|||
|
Н |
П |
||||
|
Постоянство положения револьверной головки в подшипнике и фиксирующем устройстве |
На неподвижной части станка устанавливают индикатор 1 так, чтобы измерительный наконечник его был перпендикулярен в точке касания цилиндрической поверхности оправки 2, закрепленной в револьверной головке 3, и был расположен на расстоянии L от ее торца или грани. На револьверную головку действуют силой р = 5 кгс, приложенной на плече Lt, последовательно в направлении поворота головки и в обратную сторону. Смещение при каждом положении револьверной головки определяют как алгебраическую разность показаний индикатора при нагрузке +Р и -Р. Проверке подвергают все позиции револьверной головки. |
До 12 |
До 200 |
10 |
8 |
|
L = 100 мм |
L1 = 300 мм |
||||
|
Св. 12 до 32 |
Св. 200 до 320 |
10 |
10 |
||
|
L = 100 мм |
L1==300 мм |
||||
|
Св. 32 до 80 |
Св. 320 до 500 |
25 |
16 |
||
|
L = 200 мм |
L1 = 500 мм |
||||
|
Св. 80 до 200 |
Св. 500 до 800 |
40 |
25 |
||
|
L = 300 мм |
L1 = 500 мм |
||||
Проверка 14
При автоматической продольной подаче

При автоматической поперечной подаче

|
Что проверяется |
Метод проверки |
Наибольший диаметр, мм |
Допуск, мкм |
|
||
|
Класс точности станка |
||||||
|
прутка, d |
изделия, устанавливаемого над станиной, D |
|||||
|
Н |
П |
|
||||
|
Точность выключения упорами (при повторных включениях) автоматической продольной подачи револьверного и поперечного суппортов и автоматической поперечной подачи поперечного суппорта и револьверной головки |
На неподвижной части станка устанавливают индикатор 1 так, чтобы его измерительный наконечник был перпендикулярен в точке касания грани револьверной головки 2 и грани резцовой головки поперечного суппорта 3, подведенных к упору на автоматической подаче. Затем проверяемые суппорты отводят от упора и снова включают автоматическую подачу до упора. Отклонение определяют как наибольшую разность показаний индикатора при пяти измерениях |
До 12 |
До 200 |
32 |
20 |
|
|
Св. 12 до 32 |
Св. 200 до 320 |
|
||||
|
Св. 32 до 80 |
Св. 320 до 500 |
|
||||
|
Св. 80 до 200 |
Св. 500 до 800 |
40 |
25 |
|
||
Б. Проверка станка в работе
Проверка 15

D1 ≈ d, где d - наибольший диаметр прутка;
L = 3d, но не более 300 мм;
а = 12 ÷ 15 мм;
![]()
h = 3 ÷ 5 мм.
* Для прутка диаметром менее 20 мм допускается цилиндрический
|
Что проверяется |
Метод проверки |
Наибольший диаметр, мм |
Допуск, мкм |
|
||
|
Класс точности станка |
||||||
|
прутка, d |
изделия, устанавливаемого над станиной, D |
|||||
|
Н |
П |
|
||||
|
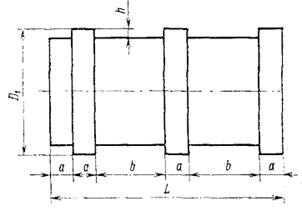
Точность формы наружной цилиндрической поверхности образца после его чистовой обработки на станке: а) постоянство диаметра обработанной поверхности в поперечном сечении; б) постоянство диаметра обработанной поверхности в любом сечении |
Стальной (сталь среднеуглеродистая σ ³ 45 кгс/мм2) ступенчатый валик обрабатывают при закреплении в цанге или патроне (без поддержки задним центром) резцом, закрепленным в револьверной головке и резцовой головке поперечного суппорта (если последний имеет рабочее продольное перемещение). Станки, поставляемые в прутковом исполнении, проверяются на образцах, изготовленных из прутка максимального диаметра и длины для данного станка. После чистовой обработки образец замеряют микрометром или рычажной скобой |
До 12 |
До 200 |
а |
|
|
|
8 |
5 |
|
||||
|
Св. 12 до 32 |
Св. 200 до 320 |
10 |
6 |
|
||
|
Св. 32 до 80 |
Св. 320 до 500 |
12 |
8 |
|
||
|
Св. 80 до 200 |
Св. 500 до 800 |
16 |
10 |
|
||
|
До 12 |
До 200 |
б |
|
|||
|
12 |
8 |
|
||||
|
Св. 12 до 32 |
Св. 200 до 320 |
16 |
10 |
|
||
|
Св. 32 до 80 |
Св. 320 до 500 |
20 |
12 |
|
||
|
Св. 80 до 200 |
Св. 500 до 800 |
25 |
16 |
|
||
|
Отклонение определяют наибольшей разностью диаметров: а) поперечного сечения; б) нескольких (не менее 3) поперечных сечений в пределах длины образца L. |
|
|||||
Проверка 16

но не более 300
мм, где
Dmaх наибольший диаметр обрабатываемого изделия над станиной, d = 0,75 D.
|
Диаметр прутка, мм |
L |
L1 |
L2 |
|
До 12 |
20 |
10 |
40 |
|
Св. 12 до 32 |
30 |
10 |
50 |
|
Св. 32 до 80 |
50 |
15 |
60 |
|
Св. 80 до 200 |
80 |
15 |
80 |
|
Что проверяется |
Метод проверки |
Наибольший диаметр, мм |
Допуск, мкм |
|||
|
прутка, d |
изделия, устанавливаемого над станиной, D |
Класс точности станка |
||||
|
Н |
П |
|||||
|
Прямолинейность торцовой поверхности образца после чистовой обточки резцами, закрепленными в резцовой головке поперечного суппорта и в револьверной головке (при наличии рабочей поперечной подачи) |
У стальной (сталь среднеуглеродистая s ³ 45 кгс/мм2) планшайбы, закрепленной в патроне, обтачивают торцовую поверхность резцом, закрепленным в резцовой головке поперечного суппорта и в револьверной головке (если она имеет поперечную или круговую подачу). После чистовой обточки проверяют прямолинейность обработанной поверхности: а) при помощи линейки и концевых мер или щупа; б) при помощи индикатора, установленного на поперечном суппорте или в револьверной головке, если она имеет круговую подачу, - так, что его измерительный наконечник перемещают по проверяемой поверхности образца от центра до периферии в направлении движения резца при проточке торца. Отклонение определяют половиной разности показаний индикатора |
Для станков с вертикальной осью револьверной головки |
||||
|
До 12 |
До 200 |
10 |
6 |
|||
|
на диаметре 100 мм |
||||||
|
Св. 12 до 32 |
Св. 200 до 320 |
12 |
8 |
|||
|
на диаметре 150 мм |
||||||
|
Св. 32 до 80 |
Св. 320 до 500 |
16 |
10 |
|||
|
на диаметре 200 мм |
||||||
|
Св. 80 до 200 |
Св. 500 до 800 |
20 |
12 |
|||
|
на диаметре 300 мм |
||||||
|
Допускается только вогнутость |
||||||
|
Для станков с горизонтальной осью револьверной головки |
||||||
|
До 12 |
До 200 |
10 |
6 |
|||
|
на диаметре 100 мм |
||||||
|
Cв 12 до 32 |
Св. 200 до 320 |
12 |
8 |
|||
|
на диаметре 120 мм |
||||||
|
Св. 32 до 80 |
Св. 320 до 500 |
16 |
10 |
|||
|
на диаметре 150 мм |
||||||
|
Св. 80 до 200 |
Св. 500 до 800 |
20 |
12 |
|||
|
на диаметре 185 мм |
||||||
|
Допускается только вогнутость |
||||||
В. Проверка станка на жесткость
Проверка 17
Положение узлов, деталей станка и точки приложения силы, а также направление ее действия должны соответствовать чертежу и определяться величинами, указанными в табл. 1 и 2.
I. Проверка станка с поперечным суппортом

II. Проверка станка с револьверной головкой

1 - индикатор для измерения относительных перемещений оправки на шпинделе и поперечного суппорта; 2 - индикатор для измерения относительных перемещений оправки на шпинделе и револьверной головки с вертикальной осью; 3 - индикатор для измерения относительных перемещений оправки на шпинделе и револьверной головки с горизонтальной осью.
Таблица 1
мм
|
при зажимной и подающей трубах |
12 |
18 |
25 |
40 |
65 |
100 |
160 |
|
|
при переднем зажиме |
- |
- |
32 |
50 |
80 |
125 |
200 |
|
|
Расстояние от переднего торца шпинделя до точки приложения силы |
Проверка с поперечным суппортом l1 |
30 |
45 |
60 |
100 |
160 |
250 |
400 |
|
Проверка с револьверной головкой l2 |
40 |
55 |
70 |
110 |
170 |
260 |
410 |
|
|
Диаметр оправки d0 в точке измерения перемещений |
25 |
30 |
35 |
40 |
40 |
45 |
45 |
|
|
Расстояние Н от точки приложения силы P1 до резцедержки |
- |
- |
38 |
50 |
63 |
75 |
90 |
|
|
Расстояние 13 от грани револьверной головки до точки приложения силы Р2 |
85 |
106 |
140 |
190 |
280 |
375 |
560 |
|
Таблица 2
|
Метод проверки |
Станки с наибольшим диаметром обрабатываемого прутка, мм |
Проверка* |
|||||
|
с поперечным суппортом |
с револьверной головкой |
||||||
|
при зажимной и подающей трубах |
при переднем зажиме |
P1, кгс |
Наибольшее допустимое перемещение, мкм** |
Р2, кгс |
Наибольшее допустимое перемещение, мкм** |
||
|
Перемещение под нагрузкой закрепленной на шпинделе оправки относительно поперечного суппорта и револьверной головки |
На шпинделе 4 станка жестко закрепляют оправку 5, основные размеры которой даны в табл. 1. При проверке с поперечным суппортом 7 в левом пазу его резцедержки, а при проверке с револьверной головкой 6 в жесткой стойке, являющейся принадлежностью головки, или в отверстии самой головки (если стойка не предусмотрена конструкцией, например головка с горизонтальной осью вращения) закрепляют устройства для создания нагружающих сил Р1 и P2. Для измерения сил используют рабочие динамометры. Перед каждым испытанием соответственно поперечному суппорту или револьверной головке сообщают перемещение с последующей установкой (движением к шпинделю) в заданное положение, а шпинделю - поворот. При проверке с револьверной головкой последнюю закрепляют. Между оправкой, закрепленной на шпинделе, и поперечным суппортом и затем между оправкой и револьверной головкой создаются плавно возрастающие силы P1 и Р2, направление которых проходит через ось оправки и составляет в первом случае угол 60° с направлением поперечной подачи и во втором случае - угол a = 30° между направлением поперечной подачи и проекцией силы Р2 на горизонтальную плоскость и угол (b = 60° между этой проекцией и самой нагружающей силой. Одновременно с нагружением измеряются перемещения в направлении поперечной подачи оправки, закрепленной на шпинделе, относительно поперечного суппорта и револьверной головки. |
12 |
- |
- |
- |
70 |
60 |
|
18 |
- |
- |
- |
100 |
70 |
||
|
25 |
32 |
400 |
220 |
140 |
80 |
||
|
40 |
50 |
560 |
260 |
200 |
90 |
||
|
65 |
80 |
800 |
310 |
280 |
110 |
||
|
100 |
125 |
1120 |
370 |
400 |
130 |
||
|
160 |
200 |
1600 |
450 |
560 |
160 |
||
|
В первом случае индикаторное устройство закрепляют на поперечном суппорте, а во втором - на револьверной головке. При этом в обоих случаях измерительный наконечник индикатора устанавливают так, чтобы он касался боковой образующей пояска оправки, а его ось была бы горизонтальна и перпендикулярна к оси оправки. За величину относительных перемещений принимают среднее арифметическое результатов двух измерений. Проверку с револьверной головкой производят не менее чем в двух его позициях. |
|||||||
* Для станков класса точности П прилагаемая сила уменьшается в 1,25 раза, а наибольшее допустимое перемещение уменьшается в 1,6 раза.
** Наибольшие допустимые перемещения:
а) уменьшаются на 40 % для станков с ручным зажимом и поворотом револьверной головки;
б) увеличиваются на 20 % для станков с горизонтальной осью вращения револьверной головки;
в) увеличиваются на 30 % для станков, имеющих револьверную головку со станков предыдущего меньшего размера и промежуточные салазки продольного суппорта.