Casting handles of aluminium core boxes. Dimensions

ГОСТ 19371-74

МЕЖГОСУДАРСТВЕННЫЙ СТАНДАРТ

 

РУЧКИ ЛИТЫЕ АЛЮМИНИЕВЫХ
СТЕРЖНЕВЫХ ЯЩИКОВ

РАЗМЕРЫ

 

 

 

ИПК ИЗДАТЕЛЬСТВО СТАНДАРТОВ
Москва

 

 

 

 

 

МЕЖГОСУДАРСТВЕННЫЙ СТАНДАРТ

РУЧКИ ЛИТЫЕ АЛЮМИНИЕВЫХ
СТЕРЖНЕВЫХ ЯЩИКОВ

Размеры

Casting handles of aluminium core boxes.
Dimensions

ГОСТ
19371-74*

Взамен
MH 945-60

* Издание (март 2001 г.) с Изменениями № 1, 2, утвержденными в июле 1980 г., марте 1987 г. (ИУС 9-80, 6-87)

Постановлением Государственного комитета стандартов Совета Министров СССР от 11 января 1974 г. № 89 срок введения установлен

с 01.01.75

Ограничение срока действия снято по протоколу № 2-92 Межгосударственного Совета по стандартизации, метрологии и сертификации (ИУС 2-93)

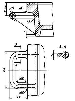
1. Размеры литых ручек должны соответствовать указанным на черт. 1, 2.

Для стержневых ящиков средним габаритным размером до 250 мм

Черт. 1

 

Для стержневых ящиков средним габаритным размером свыше 250 мм

Черт. 2

2. Предельные отклонения размеров: отверстий - по Н15, валов - по hl5, остальных -

(Измененная редакция, Изм. № 1).

3. Технические условия - по ГОСТ 19410-74.

(Измененная редакция, Изм. № 2).