
ГОСУДАРСТВЕННЫЙ СТАНДАРТ СОЮЗА ССР
РЕЗИНА
МЕТОДЫ ОПРЕДЕЛЕНИЯ ТЕПЛООБРАЗОВАНИЯ, ОСТАТОЧНОЙ
ДЕФОРМАЦИИ И УСТАЛОСТНОЙ ВЫНОСЛИВОСТИ
ПРИ МНОГОКРАТНОМ СЖАТИИ
ГОСТ 20418-75
(СТ СЭВ 1218-89)
ГОСУДАРСТВЕННЫЙ КОМИТЕТ СССР ПО СТАНДАРТАМ
МОСКВА
ГОСУДАРСТВЕННЫЙ СТАНДАРТ СОЮЗА ССР
|
РЕЗИНА Методы определения теплообразования, остаточной Rubber. Methods for the determination of heat
generation |
ГОСТ (СТ СЭВ 1218-89) |
Постановлением Государственного комитета стандартов Совета Министров СССР от 16 января 1975 г. № 77 срок действия установлен
с 01.01 1976 г.
Проверен в 1980 г. Срок действия продлен
до 01.01 1986 г.
Несоблюдение стандарта преследуется по закону
Настоящий стандарт распространяется на резину с твердостью 30-85 единиц по Шору А и устанавливает методы определения теплообразования, остаточной деформации и усталостной выносливости при многократном сжатии на флексометре типа Гудрича (А, Б, В).
Сущность метода А заключается в многократном сжатии образца в заданных условиях до установления условного равновесия температуры, когда скорость ее возрастания не превышает 0,5 °С в минуту, и измерении температуры и остаточной деформации образца после «отдыха» в течение определенного времени.
Сущность метода Б заключается в многократном сжатии образца в заданных условиях в течение 25 мин, измерении температуры и остаточной деформации образца после «отдыха» в течение определенного времени.
Сущность метода В заключается в многократном сжатии образца до его разрушения.
Выбор метода определяется назначением резин.
Стандарт полностью соответствует СТ СЭВ 1218-78.
(Измененная редакция, Изм. № 1).
1.1. Прибор для испытаний должен обеспечивать:
многократное сжатие образца с различными частотами до 30 Гц с погрешностью не более 1 % (допускается применять приборы с погрешностью не более 5 %) и установку смещения подвижной площадки с допускаемым отклонением от заданного значения не более ±0,1 мм;
статическую силу, обеспечивающую условное напряжение на образец от 0,6 до 2,0 МПа (от 6 до 20 кгс/см2) с погрешностью не более 3 %;
измерение температуры на торцевой поверхности образца.
(Измененная редакция, Изм. № 1, 2).
1.2. Для проведения испытаний при повышенных температурах прибор снабжают обогревательной камерой, которая должна обеспечивать температуру от 40 до 100 °С.
Допускается погрешность измерительного прибора ±1 °С.
(Измененная редакция, Изм. № 1).
1.3. Приборы могут быть снабжены непрерывной записью температуры образца в процессе испытания.
1.4. Описание одного из возможных вариантов прибора дано в приложении.
1.5. Толщиномер по ГОСТ 11358-89 с нормированным усилием, ценой деления шкалы 0,01 мм и диаметром мерительной площадки 10 мм.
(Введен дополнительно, Изм. № 2).
2.1. Образцы для испытания
2.1.1. Образцы для испытания должны иметь форму цилиндра высотой (25,00 ± 0,25) мм и диаметром 17,80 ± 0,15 мм.
(Измененная редакция, Изм. № 1, 2).
2.1.2. Образцы не должны содержать посторонних включений, пор и других дефектов.
2.1.3. Образцы изготовляют вулканизацией в пресс-форме. Для обеспечения соответствующих размеров рекомендуется применять пресс-форму, гнезда которой должны иметь диаметр (18,00 ± 0,05) мм и высоту (25,40 ± 0,05) мм.
Пресс-форма должна иметь отверстия в верхней и нижней поверхности, обеспечивающие выход резиновой смеси в процессе вулканизации образцов.
Допускается вырезать образцы из резиновой плиты или готовых изделий. Образцы вырезают из плиты с помощью круглого влажного вращающегося ножа внутренним диаметром (17,80 ± 0,03) мм. Для сохранения диаметра образца давление на нож должно быть минимальным.
Расстояние режущей грани ножа от кромки пластинки должно быть не менее 13 мм.
(Новая редакция, Изм. № 2).
2.1.4. Испытание образцов проводят не ранее чем через 16 ч после вулканизации.
2.1.5. Для каждого метода испытания количество образцов должно быть не менее двух.
(Измененная редакция, Изм. № 2).
3.1. Устанавливают заданное значение смещения подвижной площадки. Рекомендуемый ряд смещений: (4,45 ± 0,03); (5,71 ± 0,03); (6,35 ± 0,03) мм.
Допускаются смещения ряда: (4,5 ± 0,1) (5,7 ± 0,1); (6,3 ± 0,1) мм.
(Измененная редакция, Изм. № 2).
3.2. Устанавливают нагрузку на рычаг, обеспечивающую заданное условное напряжение на образец. Рекомендуемый ряд условных напряжений: (0,64 ± 0,02) МПа (6,4 ± 0,2) кгс/см2; (1,00 ± 0,03) МПа (10,0 ± 0,3) кгс/см2; (2,00 ± 0,06) МПа (20 ± 0,6) кгс/см2.
3.1, 3.2. (Измененная редакция, Изм. № 1).
3.3. Устанавливают частоту деформации 30 Гц. Допускается проводить испытания при частотах деформации ряда: 25; 14,5; 17,3 Гц. При испытании образцов из готовых изделий частоту сжатия выбирают исходя из температурных условий работы изделия.
(Новая редакция, Изм. № 2).
3.4. Температуру в камере доводят до заданной.
Рекомендуемые температуры испытания, °С: 23 ± 2; 40 ± 1; 70 ± 1; 100 ± 1.
3.5. После окончания испытания измеряют высоту образца.
(Новая редакция, Изм. № 2).
3.6. (Исключен, Изм. № 1).
3.7. Образцы помещают между верхней подвижной и нижней неподвижной площадками, выдерживают при заданной температуре в течение 30 мин, измеряют температуру на торцовой поверхности и задают установленную статическую нагрузку.
3.8. Во время испытания образец должен находиться в контакте с площадками. При появлении просвета между образцом и площадкой или перекоса образца испытание прекращают.
3.9. По методу А машину включают и измеряют температуру на торцовой поверхности образца через 1, 2, 3, 4, 5, 7, 9, 12, 15, 18, 21, 25 мин и далее, при необходимости через каждые 5 мин до установления скорости возрастания температуры не более 0,5 °С в минуту, записывают конечную температуру, после этого испытание заканчивают.
Образец помещают на теплоизоляционную плиту и выдерживают при 23 ± 2 °С.
3.9.1. Измеряют высоту образца через (1,0 ± 0,3) ч и после окончания испытаний.
(Новая редакция, Изм. № 2).
3.10. По методу Б машину включают, проводят испытание в течение 25 мин ±5 с и измеряют температуру на торцовой поверхности образца. Образец помещают на теплоизоляционную плиту и выдерживают при 23 ± 2 °С и в течение (1,0 ± 0,3) ч и измеряют высоту образца.
Для определения динамической ползучести измеряют высоту образца после 6 или 15 с и 25 мин ±5 с сжатия, не вынимая его из прибора.
(Измененная редакция, Изм. № 1, 2).
3.11. По методу В машину включают и проводят испытание до разрушения, определяемого появлением трещин на боковой поверхности образца. В момент появления трещин измеряют температуру образца и фиксируют число циклов.
4.1. Теплообразование резины характеризуется увеличением температуры образца после многократного сжатия в заданных условиях.
4.2. Увеличение температуры образца (Δts) °C по методу А вычисляют по формуле
Δts = ts - t0,
где ts - конечная температура образца после испытания, °С;
t0 - температура образца до испытания, °С.
4.3. Увеличение температуры образца (Δt25) °C по методу Б вычисляют по формуле
Δt25 = t25 - t0,
где t25 - температура образца после 25 мин ±5 с испытания, °С;
t0 - температура образца до испытания, °С.
(Измененная редакция, Изм. № 1).
4.4. Увеличение температуры образца (ΔtN) °С по методу В вычисляют по формуле
ΔtN = tN - t0,
где tN - температура образца в момент разрушения, °С;
t0 - температура образца до испытания, °С.
4.5. Остаточную деформацию (et) в процентах по методам А и Б вычисляют по формуле
,
где h0 - высота образца до испытания, мм;
h1 - высота образца, измеренная после испытания и отдыха при (23 ± 2) °С в течение (1,0 ± 0,3) ч.
(Измененная редакция, Изм. № 2).
4.6. Усталостная выносливость характеризуется числом циклов до разрушения образца, определяемое по показанию счетчика.
При отсутствии счетчика число циклов (N) вычисляют по формуле
N = v·t,
где v - число колебаний подвижной площадки в 1 мин;
t - время испытания, мин.
4.6а. Динамическую ползучесть (F25) в процентах вычисляют по формуле
,
где h0 - высота образца до испытания, мм;
ht - высота образца после 6 или 15 с циклического сжатия, мм;
h25 - высота образца после 25 мин циклического сжатия, мм.
(Введен дополнительно, Изм. № 1).
(Измененная редакция, Изм. № 2).
4.6б Термины, применяемые в стандарте, и пояснения к ним, приведены в справочном приложении.
(Введен дополнительно, Изм. № 2).
4.7. За результат испытания принимают среднее арифметическое из величин показателей не менее двух образцов. Если разность результатов двух отдельных определений прироста температуры и средним арифметическим превышает 15 %, испытывают новые образцы.
(Измененная редакция, Изм. № 2).
4.8. Результаты испытаний записывают в протокол, который должен содержать следующие данные:
а) обозначение резины;
б) условия изготовления и подготовки образцов;
в) метод проведения испытания;
г) температуру испытания, силу;
д) силу, динамическое смещение, частоту сжатия и продолжительность испытания;
е) результаты испытания;
ж) внешний вид образцов после испытания;
з) дату испытания.
Рекомендуемое

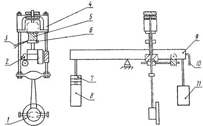
Коромысло 9 своей серединой опирается на призму, установленную на плите чугунной станины. По концам коромысла подвешены постоянные грузы 8 и 11 массой 24 кг, увеличивающие момент инерции коромысла. На один из концов коромысла добавляются сменные грузы 7, служащие для статического сжатия образца 5. На той же плите с призмой находятся две стойки для крепления термокамеры и арретирующего устройства. Арретирующее устройство запирает коромысло при установке образцов, а также удерживает его от качания при пуске. Коромысло снабжено механизмом с микрометром 2 для поддержания его в равновесии. Для фиксации горизонтального положения коромысла риска на его торце должна совпадать с указателем 10, укрепленного на станине.
Многократное сжатие образца осуществляется верхней площадкой 4, которая может перемещаться вдоль вертикальной оси. Верхняя площадка приводится в движение через ременную передачу от электромотора. Установка хода эксцентрика проводится по шкале, расположенной на шайбе 1 эксцентрика, и нониусу.
В нижнюю площадку 6 вмонтирована термопара 3 для замера температуры на торце образца.
Поверхности площадок должны быть покрыты материалом теплопроводностью не более 0,28 Вт/мК (0,24 ккал/ч·м·°С).
(Измененная редакция, Изм. № 1, 2).
Справочное
1. Увеличение температуры (Δts) - разность температур образца до и после циклического сжатия
2. Усталостная выносливость (N) - количество циклов сжатия, после которых образец разрушился
3. Динамическая ползучесть (F25) - изменение деформации образца за 25 мин в результате циклической деформации
4. Остаточная деформация (et) - относительное изменение размеров образца по истечении определенного времени после воздействия циклической деформации.
Приложение № 2 (Введено дополнительно, Изм. № 2).
СОДЕРЖАНИЕ
|
Приложение к ГОСТ 20418-75. Описание флексометра. 4 Приложение 2. Термины, применяемые в стандарте, и пояснения к ним.. 5 |