ГОСТ 22332-93
МЕЖГОСУДАРСТВЕННЫЙ СТАНДАРТ
ПОДЪЕМЫ ПОЛОСОВЫЕ ДЛЯ
ДЕРЕВЯННЫХ ЛИТЕЙНЫХ МОДЕЛЕЙ
КОНСТРУКЦИЯ
МЕЖГОСУДАРСТВЕННЫЙ СОВЕТ
ПО СТАНДАРТИЗАЦИИ, МЕТРОЛОГИИ И СЕРТИФИКАЦИИ
Минск
Предисловие
1 РАЗРАБОТАН Госстандартом России
ВНЕСЕН Техническим секретариатом Межгосударственного Совета по стандартизации, метрологии и сертификации
2 ПРИНЯТ Межгосударственным Советом по стандартизации, метрологии и сертификации 21 октября 1993 г.
За принятие проголосовали:
|
Наименование государства |
Наименование национального органа по стандартизации |
|
Республика Беларусь |
Белстандарт |
|
Республика Кыргызстан |
Кыргызстандарт |
|
Республика Молдова |
Молдова стандарт |
|
Российская Федерация |
Госстандарт России |
|
Республика Таджикистан |
Таджикстандарт |
|
Туркменистан |
Туркменглавгосинспекция |
|
Украина |
Госстандарт Украины |
3 Постановлением Комитета Российской Федерации по стандартизации, метрологии и сертификации от 02.06.94 № 160 межгосударственный стандарт ГОСТ 22332-93 введен в действие непосредственно в качестве государственного стандарта Российской Федерации с 01.01.95
4 ВЗАМЕН ГОСТ 22332-77
МЕЖГОСУДАРСТВЕННЫЙ СТАНДАРТ
|
ПОДЪЕМЫ ПОЛОСОВЫЕ ДЛЯ ДЕРЕВЯННЫХ ЛИТЕЙНЫХ МОДЕЛЕЙ Конструкция Strip lifting screws for wooden cast patterns. Design |
ГОСТ |
Дата введения 01.0195
Требования пп. 1, 3, 4 настоящего стандарта являются обязательными, другие требования настоящего стандарта являются рекомендуемыми.
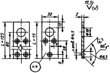
1. Конструкция и размеры полосовых подъемов должны соответствовать указанным на черт. 1 и 2 и в таблице.
Подъемы длиной L до 125 мм
Количество отверстий п для подъемов размерами:
L = 75 мм - 3 отв.;
L = 125 мм - 4 отв.
Допускаемая нагрузка на подъем - 1 кН (100 кгс).
Масса подъемов размерами:
![]()
Черт. 1
Условное обозначение полосового подъема размером L = 75 мм:
Подъем полосовой Г002.297323.004 ГОСТ 22332-93
То же, размером L = 125 мм:
Подъем полосовой Г002.297323.005 ГОСТ 22332-93
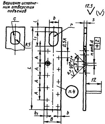
Подъемы длиной L свыше 125 мм
Черт. 2
Примечание. Конец подъема, указанный на чертеже тонкой линией, загибать по модели. Размер l2 определяется конструктивно.
2. Материал подъемов - сталь марки Ст3сп по ГОСТ 380.
3. Неуказанные
предельные отклонения размеров: Н14, h14,
.
4. Маркировать: обозначение полосового подъема и товарный знак предприятия-изготовителя.
Размеры в мм
|
Обозначение подъема |
Допускаемая нагрузка на подъем кН (кгс) |
L |
В |
s |
l |
l1 |
b |
b1 |
d |
D |
A |
A1 |
r |
r1 |
Количество отверстий |
Масса, кг, для справок |
|
Г002.297323.006 |
1,2 (120) |
150 |
42 |
2 |
12 |
36 |
24 |
10 |
4,5 |
8,3 |
51 |
15 |
12 |
20 |
5 |
0,09 |
|
Г002.297323.007 |
200 |
63 |
6 |
0,12 |
||||||||||||
|
Г002.297323.008 |
250 |
71 |
7 |
0,15 |
||||||||||||
|
Г002.297323.009 |
2,5 (250) |
200 |
56 |
3 |
18 |
40 |
28 |
12 |
5,5 |
10,3 |
57 |
14 |
25 |
6 |
0,25 |
|
|
Г002.297323.010 |
250 |
66 |
7 |
0,30 |
||||||||||||
|
Г002.297323.011 |
300 |
72 |
8 |
0,36 |
||||||||||||
|
Г002.297323.012 |
400 |
90 |
9 |
0,50 |
||||||||||||
|
Г002.297323.013 |
500 |
104 |
10 |
0,60 |
||||||||||||
|
Г002.297323.014 |
5,0 (500) |
300 |
67 |
4 |
22 |
50 |
32 |
15 |
6,6 |
12,3 |
66 |
16 |
36 |
8 |
0,52 |
|
|
Г002.297323.015 |
400 |
85 |
9 |
0,70 |
||||||||||||
|
Г002.297323.016 |
500 |
100 |
10 |
0,90 |
||||||||||||
|
Г002.297323.017 |
600 |
110 |
11 |
1,10 |
||||||||||||
|
Г002.297323.018 |
710 |
134 |
1,60 |
|||||||||||||
|
Г002.297323.019 |
850 |
150 |
12 |
1,90 |
||||||||||||
|
Г002.297323.020 |
1000 |
180 |
||||||||||||||
|
Г002.297323.021 |
10 (1000) |
300 |
75 |
6 |
28 |
55 |
32 |
15 |
6,6 |
12,3 |
61 |
20 |
16 |
36 |
8 |
0,95 |
|
Г002.297323.022 |
400 |
80 |
9 |
1,30 |
||||||||||||
|
Г002.297323.023 |
500 |
95 |
10 |
1,65 |
||||||||||||
|
Г002.297323.024 |
600 |
107 |
11 |
2,00 |
||||||||||||
|
Г002.297323.025 |
710 |
130 |
2,35 |
|||||||||||||
|
Г002.297323.026 |
850 |
146 |
12 |
2,85 |
||||||||||||
|
Г002.297323.027 |
1000 |
176 |
3,35 |
|||||||||||||
|
Г002.297323.028 |
1250 |
206 |
13 |
4,20 |
||||||||||||
|
Г002.297323.029 |
16 (1600) |
400 |
95 |
8 |
30 |
70 |
46 |
18 |
9,0 |
16,5 |
73 |
25 |
23 |
50 |
9 |
2,15 |
|
Г002.297323.030 |
500 |
89 |
10 |
2,72 |
||||||||||||
|
Г002.297323.031 |
600 |
101 |
11 |
3,32 |
||||||||||||
|
Г002.297323.032 |
710 |
125 |
3,90 |
|||||||||||||
|
Г002.297323.033 |
850 |
141 |
12 |
4,60 |
||||||||||||
|
Г002.297323.034 |
1000 |
171 |
5,65 |
|||||||||||||
|
Г002.297323.035 |
1250 |
201 |
13 |
7,10 |
||||||||||||
|
Г002.297323.036 |
1500 |
246 |
8.60 |
Пример условного обозначения полосового подъема размерами L = 150 мм, В = 42 мм:
Подъем полосовой Г002.297323.006 ГОСТ 22332-93
ИНФОРМАЦИОННЫЕ ДАННЫЕ
ССЫЛОЧНЫЕ НОРМАТИВНО-ТЕХНИЧЕСКИЕ ДОКУМЕНТЫ
|
Обозначение документа |
Номер пункта |