Sets of square connectors fixture of radioelectronic items. Specifications

ГОСТ 22742-77

МЕЖГОСУДАРСТВЕННЫЙ СТАНДАРТ

 

КОМПЛЕКТЫ КРЕПЛЕНИЯ
ПРЯМОУГОЛЬНЫХ СОЕДИНИТЕЛЕЙ
РАДИОЭЛЕКТРОННЫХ ИЗДЕЛИЙ

ТЕХНИЧЕСКИЕ УСЛОВИЯ

 

 

 

ИПК ИЗДАТЕЛЬСТВО СТАНДАРТОВ

Москва

 

 

МЕЖГОСУДАРСТВЕННЫЙ СТАНДАРТ

КОМПЛЕКТЫ КРЕПЛЕНИЯ ПРЯМОУГОЛЬНЫХ
СОЕДИНИТЕЛЕЙ РАДИОЭЛЕКТРОННЫХ ИЗДЕЛИЙ

Технические условия

Sets of square connectors fixture of radioelectronic items. Specifications

ГОСТ
22742-77*

Постановлением Государственного комитета стандартов Совета Министров СССР от 26 октября 1977 г. № 2487 срок введения установлен

с 01.01.79

Ограничение срока действия снято по протоколу № 3-93 Межгосударственного Совета по стандартизации, метрологии и сертификации (ИУС 5-6-93)

Настоящий стандарт распространяется на комплекты крепления прямоугольных соединителей радиоэлектронных изделий типов 6Р-100, 6Р-150, 7Р-52, 12Р-60 с номинальным напряжением до 500 В, применяемых в стойках и блоках.

1. ТИПЫ, КОНСТРУКЦИЯ И РАЗМЕРЫ

1.1. Типы комплектов креплений прямоугольных соединителей должны соответствовать, указанным в табл. 1.

Таблица 1

Типы комплектов крепления

Типы соединителей

Применяемость

Крепление розетки соединителя на неподвижной части изделия (стойке)

Крепление вилки соединителя на подвижной части изделия (блоке)

К1Р

К1В

6Р-100

7Р-52

К2Р

К2В

6Р-150

К3Р

К3В

12Р-60

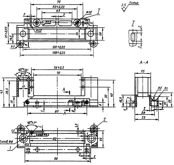
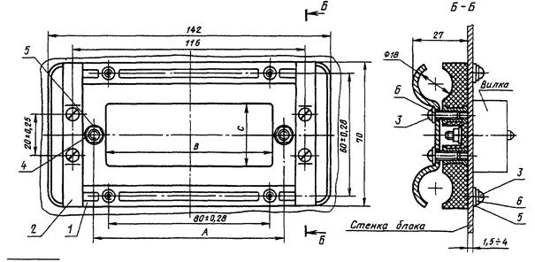
1.2. Конструкция, размеры и состав комплектов типов К1Р и К2Р должны соответствовать указанным на черт. 1 и в табл. 2.

Размеры для справок.

1 - держатель по табл. 2 (1 шт.); 2 - скоба К1Р-2 (2 шт.); 3 - прокладка К1Р-3 (2 шт.); 4 - прокладка К1Р-4 (2 шт.); 5 - прокладка К1Р-5 (2 шт.); 6 - прокладка К1Р-6 (2 шт.); 7 - винт В.М3-6g´12.48.016 ГОСТ 17473-80 (4 шт.); 8 - винт B.M3-6g´14.48.016 ГОСТ 17473-80 (4 шт.); 9 - винт B.M3-6g´16.48.016 ГОСТ 17473-80 (4 шт.); 10 - винт B.M3-6g´20.48.016 ГОСТ 17473-80 (4 шт.); 11 - винт B.M4-6g´10.48.016 ГОСТ 17473-80 (4 шт.); 12 - винт B.M4-6g´12.48.016 ГОСТ 17473-80 (4 шт.); 13 - гайка М4-7Н.5.016 ГОСТ 5927-70 (2 шт.); 14 - шайба 4 04.016 ГОСТ 10450-78 (14 шт.); 15 - шайба 3 65Г 016 ГОСТ 6402-70 (4 шт.)

Черт. 1

Таблица 2

Размеры в мм

Типы комплектов

А (пред. откл. ± 0,2)

В

С

Масса, кг

Поз. 1

Держатель

К1Р

96

86

36

0,072

К1Р-1

К2Р

120

107

41

0,061

К2Р-1

Пример условного обозначения комплекта крепления типа 1 розетки соединителя:

Комплект К1Р ГОСТ 22742-77

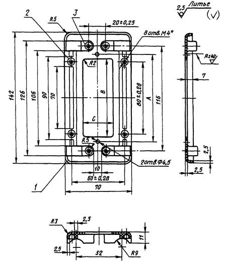
1.3. Конструкция и размеры держателей К1Р-1 и К2Р-1 должны соответствовать указанным на черт. 2 и в табл. 3.

* Размер для справок

1 - держатель; 2 - втулка К1Р-1-1-1 (4 шт.)

Черт. 2

Таблица 3

Размеры в мм

Обозначение держателей

А (пред откл. ± 0,2)

В

С

Масса, кг

К1Р-1

96

86

36

0,048

К2Р-1

120

107

41

0,037

Пример условного обозначения держателя размером А = 96 мм

Держатель К1Р-1 ГОСТ 22742-77

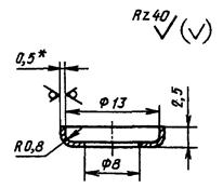
1.4. Конструкция и размеры втулки К1Р-1-1 должны соответствовать указанным на черт. 3.

Масса - 0,001 кг

Черт. 3

Условное обозначение втулки:

Втулка К1Р-1-1 ГОСТ 22742-77

1.2 - 1.4. (Измененная редакция, Изм. № 3).

1.5. Конструкция и размеры скобы К1Р-2 должны соответствовать указанным на черт. 4.

* Размер для справок.

Масса - 0,016 кг

Черт. 4

Условное обозначение скобы:

Скоба К1Р-2 ГОСТ 22742-77

1.6. Конструкция и размеры прокладок К1Р-3, К1Р-4, К1Р-5 и К1Р-6 должны соответствовать указанным на черт. 5 и в табл. 4.

* Размер для справок.

Черт. 5

Таблица 4

Обозначение прокладок

s, мм

Масса, кг

К1Р-3

0,2

0,0009

К1Р-4

0,5

0,0023

К1Р-5

1,0

0,0047

К1Р-6

2,0

0,0093

Пример условного обозначения прокладки размером s = 0,2 мм:

Прокладка К1Р-3 ГОСТ 22742-77

1.7. Конструкция, размеры и состав комплектов типов К1В и К2В должны соответствовать указанным на черт. 6 и в табл. 5.

Размеры для справок.

1 - держатель по табл. 5 (1 шт.); 2 - скоба К1В-2 (2 шт.); 3 - винт В.М4-6g´1048.016 ГОСТ 17473-80 (8 шт.); 4 - гайка М4-7Н.5 016 ГОСТ 5927-70 (2 шт.); 5 - шайба 4.04016 ГОСТ 10450-78 (6 шт.); 6 - шайба 4 65Г 016 ГОСТ 6402-70 (8 шт.)

Черт. 6

Таблица 5

Размеры в мм

Типы комплектов

А (пред. откл. ± 0,2)

В

С

Масса, кг

Поз. 1

Держатель

К1В

96

86

34

0,094

К1В-1

К2В

116

106

39

0,078

К2В-1

Пример условного обозначения комплекта крепления типа 1 вилки соединителя:

Комплект К1В ГОСТ 22742-77

(Измененная редакция, Изм. № 3).

1.8. Конструкция и размеры держателей К1В-1 и К2В-1 должны соответствовать указанным на черт. 7 и в табл. 6.

* Размер для справок.

1 - держатель; 2 - втулка К1В-1-1 (4 шт.); 3 - втулка К1В-1-2 (4 шт.)

Черт. 7

Таблица 6

Размеры в мм

Обозначение держателей

А (пред. откл. ± 0,2)

В

С

Масса, кг

К1В-1

96

86

34

0,070

К2В-1

116

106

39

0,054

Пример условного обозначения держателя размером А = 96 мм:

Держатель К1В-1 ГОСТ 22742-77

1.9. Конструкция и размеры втулок К1В-1-1 и К1В-1-2 должны соответствовать указанным на черт. 8 и в табл. 7.

Черт. 8

Таблица 7

Обозначение втулок

L, мм (пред. откл. h11)

Масса, кг

К1В-1-1

7

0,0009

К1В-1-2

11

0,0014

Пример условного обозначения втулки размером L = 1 мм:

Втулка К1В-1-1 ГОСТ 22742-77

1.10. Конструкция и размеры скобы К1В-2 должны соответствовать указанным на черт. 9.

* Размер для справок.

Черт. 9

Условное обозначение скобы:

Скоба К1В-2 ГОСТ 22742-77

1.11. Конструкция, размеры и состав комплекта крепления типа К3Р должны соответствовать указанным на черт. 10.

Масса - 0,094 кг

* Размеры для справок.

** После установки размера А резьбу на гайках (поз. 7 и 8) стопорить шпатлевкой ЭП-0010 по ГОСТ 10277-90

1 - корпус К3Р-1 (1 шт.); 2 - шина К3Р-2 (2 шт.); 3 - основание К3Р-3 (1 шт.); 4 - втулка К3Р-4 (2 шт.); 5 - упор К3Р-5 (2 шт.) 6 - пружина К3Р-6 (2 шт.); 7 - гайка К3Р-7 (2 шт.); 8 - гайка К3Р-8 (2 шт.); 9 - шайба К3Р-9 (2 шт.); 10 - шайба К3Р-10 (2 шт.); 11 - скоба К3Р-11 (1 шт.); 12 - скоба К3Р-12 (1 шт.); 13 - винт В M2-6g´6.32.033 ГОСТ 17475-80 (4 шт.); 14 - винт B.M3-6g´32036 ГОСТ 17475-80 (2 шт.); 15 - гайка М3-7Н.5 016 ГОСТ 5927-70 (2 шт.); 16 - шайба 3.04.016 ГОСТ 10450-78 (2 шт.)

Черт. 10

Условное обозначение комплекта крепления типа 3 розетки соединителя:

Комплект К3Р ГОСТ 22742-77

1.9 - 1.11. (Измененная редакция, Изм. № 3).

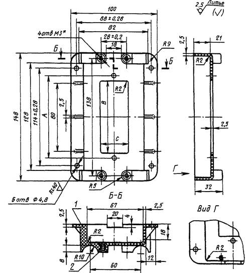
1.12. Конструкция и размеры корпуса К3Р-1 должны соответствовать указанным на черт. 11.

Масса - 0,029 кг

1 - корпус; 2 - втулка К3Р-1-1 (6 шт.)

Черт. 11

Условное обозначение корпуса:

Корпус К3Р-1 ГОСТ 22742-77

(Измененная редакция, Изм. № 2, 3).

1.13. Конструкция и размеры втулки К3Р-1-1 должны соответствовать указанным на черт. 12.

Черт. 12

Условное обозначение втулки:

Втулка К3Р-1-1 ГОСТ 22742-77

(Измененная редакция, Изм. № 3).

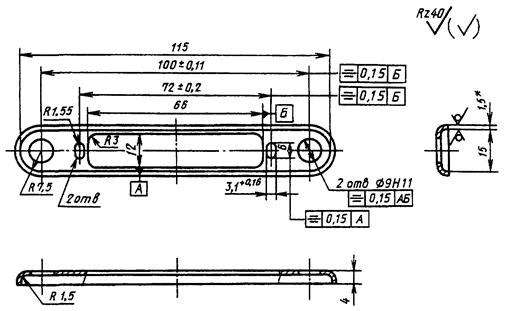
1.14. Конструкция и размеры шины К3Р-2 должны соответствовать указанным на черт. 13.

* Размер для справок.

Черт. 13

Условное обозначение шины:

Шина К3Р-2 ГОСТ 22742-77

1.15. Конструкция и размеры основания К3Р-3 должны соответствовать указанным на черт. 14.

Масса - 0,0053 кг

* Размер для справок

Черт. 14

Условное обозначение основания:

Основание К3Р-3 ГОСТ 22742-77

(Измененная редакция, Изм. № 3).

1.16 Конструкция и размеры втулки К3Р-4 должны соответствовать указанным на черт. 15.

Масса - 0,0079 кг

Черт. 15

Условное обозначение втулки:

Втулка К3Р-4 ГОСТ 22742-77

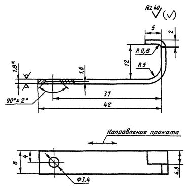
1.17. Конструкция и размеры упора К3Р-5 должны соответствовать указанным на черт. 16.

Масса - 0,0004 кг

Черт. 16

Условное обозначение упора:

Упор К3Р-5 ГОСТ 22742-77

1.16, 1.17. (Измененная редакция, Изм. № 3).

1.18. Конструкция и размеры пружины К3Р-6 должны соответствовать указанным на черт. 17.

Масса - 0,007 кг

* Размеры для справок.

(Измененная редакция, Изм. № 2).

Черт. 17

1.18.1. Модуль сдвига G = 8000 кгс/мм2.

1.18.2. Напряжение касательное при кручении (максимальное) t3 = 52 кгс/мм2

1.18.3. Длина развернутой пружины L = 360 мм

1.18.4. Число рабочих витков п = 12.

1.18.5. Число витков полное п1 = 14.

1.18.3 - 1.18.5. (Измененная редакция, Изм. № 2).

1.18.6. Направление навивки - правое.

Условное обозначение пружины:

Пружина К3Р-6 ГОСТ 22742-77

1.19. Конструкция и размеры гайки К3Р-7 должны соответствовать указанным на черт. 18.

Масса - 0,0013 кг

* Неуказанные предельные отклонения размеров: Н12, h12.

Черт. 18

Условное обозначение гайки:

Гайка К3Р-7 ГОСТ 22742-77

1.20. Конструкция и размеры гайки К3Р-8 должны соответствовать указанным на черт. 19.

Масса - 0,0045 кг

* Неуказанные предельные отклонения размеров: Н12, h12.

Черт. 19

Условное обозначение гайки:

Гайка К3Р-8 ГОСТ 22742-77

1.21. Конструкция и размеры шайбы К3Р-9 должны соответствовать указанным на черт. 20.

Масса - 0,0004 кг

* Размер для справок.

Черт. 20

Условное обозначение шайбы:

Шайба К3Р-9 ГОСТ 22742-77

1.19 - 1.21. (Измененная редакция, Изм. № 3).

1.22. Конструкция и размеры шайбы К3Р-10 должны соответствовать указанным на черт. 21.

* Размер для справок.

Масса - 0,0006 кг

Черт. 21

Условное обозначение шайбы:

Шайба К3Р-10 ГОСТ 22742-77

1.23. Конструкция и размеры скобы К3Р-11 должны соответствовать указанным на черт. 22.

Масса - 0,0052 кг

* Размер для справок.

Черт. 22

Условное обозначение скобы:

Скоба К3Р-11 ГОСТ 22742-77

1.24. Конструкция и размеры скобы К3Р-12 должны соответствовать указанным на черт. 23.

* Размер для справок.

Масса - 0,0052 кг

Черт. 23

Условное обозначение скобы:

Скоба К3Р-12 ГОСТ 22742-77

(Измененная редакция, Изм. № 2).

1.25. Конструкция, размеры и состав комплекта крепления типа К3В должны соответствовать указанным на черт. 24.

Масса - 0,055 кг

Размеры для справок.

1 - корпус КВ-1 (1 шт.); 2 - шина К3В-2 (1 шт.); 3 - шина К3В-3 (1 шт.); 4 - штырь К3В-4 (2 шт.); 5 - скоба К3В-5 (2 шт.); 6 - винт B.M2-6g´32.033 ГОСТ 1491-80 (4 шт.); 7 - гайка М3-7Н.5.016 ГОСТ 5927-70 (2 шт.); 8 - гайка М4-7Н.5.016 ГОСТ 10657-80 (4 шт.); 9 - шайба 2.32.036 ГОСТ 10450-78 (4 шт.); 10 - шайба 3.04.016 ГОСТ 10450-78 (2 шт.); 11 - шайба 4.04.016 ГОСТ 10450-78 (2 шт.)

Черт. 24

Условное обозначение комплекта крепления типа 3 вилки соединителя:

Комплект К3В ГОСТ 22742-77

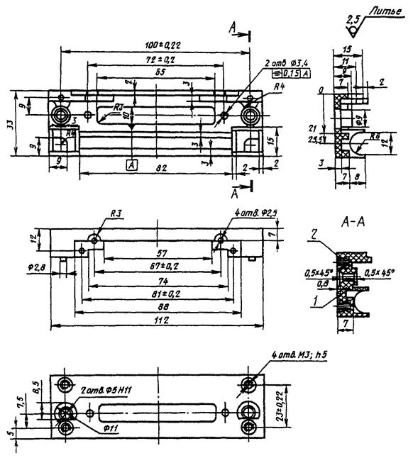
1.26. Конструкция и размеры корпуса К3В-1 должны соответствовать указанным на черт. 25.

Масса - 0,022 кг

1 - корпус; 2 - втулка К3Р-1-1 (4 шт.)

Черт. 25

Условное обозначение корпуса:

Корпус К3В-1 ГОСТ 22742-77

1.25, 1.26. (Измененная редакция, Изм. № 3).

1.27. Конструкция и размеры шин К3В-2 и К3В-3 должны соответствовать указанным на черт. 26 и в табл. 8.

* Размер для справок.

Черт. 26

Таблица 8

Обозначение шин

L, мм (пред. откл. ± 0,2)

Масса, кг

К3В-2

67

0,0017

К3В-3

81

0,0022

Пример условного обозначения шины размером L = 67 мм:

Шина К3В-2 ГОСТ 22742-77

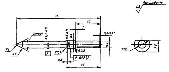
1.28. Конструкция и размеры штыря К3В-4 должны соответствовать указанным на черт. 27.

Масса - 0,0062 кг

Черт. 27

Условное обозначение штыря:

Штырь К3В-4 ГОСТ 22742-77

(Измененная редакция, Изм. № 3).

1.29. Конструкция и размеры скобы К3В-5 должны соответствовать указанным на черт. 28.

Масса - 0,0054 кг

* Размер для справок.

Черт. 28

Условное обозначение скобы:

Скоба К3В-5 ГОСТ 22742-77

(Измененная редакция, Изм. № 2).

2. ТЕХНИЧЕСКИЕ ТРЕБОВАНИЯ

2.1. Комплекты крепления должны изготавливаться в соответствии с требованиями настоящего стандарта по рабочим чертежам, утвержденным в установленном порядке.

2.2. Неуказанные предельные отклонения размеров: Н14, h14,

(Измененная редакция, Изм. № 3).

2.3. Неуказанные отклонения от правильной геометрической формы и взаимного расположения поверхностей допускаются в пределах поля допуска на соответствующие размеры.

2.4. Литейные уклоны до 1° охватывающих размеров в сторону уменьшения, охватываемых - в сторону увеличения.

2.5. Неуказанные литейные радиусы - до 1,5 мм.

2.6. Резьба - по ГОСТ 24705-81 с полем допусков для резьбовых концов 6 g, для резьбовых отверстий при шаге Р < 0,5 мм - 6Н, при шаге 0,5 мм - 7Н по ГОСТ 16093-81.

2.7. Заусенцы и вмятины на резьбе, препятствующие ввинчиванию проходного калибра, не допускаются.

2.8. Рванины и выкрашивание ниток резьбы, выходящие по глубине за пределы среднего диаметра резьбы и превышающие по длине половину витка резьбы, не допускаются.

2.9. Поверхность деталей из пресс-материала и полиамида не должна иметь трещин, вздутий и посторонних включений, не допускаются раковины на выступающих частях глубиной более 0,5 мм, площадью более 1 мм2 в количестве не более 2 шт. на площади 1 см2.

2.10. Шероховатость поверхностей деталей из пресс-материала и полиамида в местах удаления литников и облоя должна быть не ниже Рz 40 мкм.

2.11. Поверхность деталей из металла должна быть чистой без следов коррозии, заусенцев, трещин и вмятин.

2.12. Момент затяжки винтами должен быть, Нм:

диаметр винта М4........................................................ 0,5 - 1,0

       »          »     М3......................................................... 0,2 - 0,6

       »          »     М2......................................................... 0,05 - 0,1

2.13. Крепежные детали комплектов крепления, где не предусмотрены специальные виды контровки, необходимо стопорить шпатлевкой ЭП-0010 по ГОСТ 10277-90.

2.14. Материалы и покрытие деталей комплектов крепления должны соответствовать указанным в табл. 9.

Таблица 9

Обозначение детали комплекта

Материал

Покрытие по ГОСТ 9.306-85

К1Р-1

Пресс-материал АГ-4В ГОСТ 20437-89

Пресс-материал АГ-4С ГОСТ 20437-89

Пресс-материал ДСВ-2-Р-2М марки 0

ГОСТ 17478-95

-

К2Р-1

К1В-1

К2В-1

К1Р-1-1

Латунь марки ЛС59-1 ГОСТ 15527-70

Латунь марки Л63 ГОСТ 15527-70

Хим. Пас

К1В-1-1

К1В-1-2

К3Р-1-1

К1Р-2

Ц15 хр

К1В-2

К1Р-2

Ц15 хр

К1В-2

К1Р-3

Фольга ДПРХМ 0,2 НД АД1 ГОСТ 618-73

Фольга ДПРХМ 0,2 НД АД0 ГОСТ 618-73

Ан.Окс.нхр

К1Р-4

Лист АД1.Н2s* ГОСТ 21631-76

Лист АД0 H2s* ГОСТ 21631-76

Ан.Окс.нхр

К1Р-5

К1Р-6

К3Р-1

Полиамид ПА 610-1-108**

-

К3В-1

К3Р-2

Лист ДПРХТ 1,6 ЛС59-1 ГОСТ 931-90

Лист ДПРХТ 1,6 Л63 ГОСТ 931-90

Н6.Гор.ПОС61

К3В-2

К3В-3

КР-3

Лист АМц.Н2 1,5 ГОСТ 21631-76

Лист АМг2.Н2 1,5 ГОСТ 21631-76

Ан.Окс.тв

К3Р-4***

Сталь марки 20X13 ГОСТ 5632-72

Сталь марки 30X13 ГОСТ 5632-72

Сталь марки 40X13 ГОСТ 5632-72

-

К3Р-7

К3Р-8

К3В-4***

К3Р-5

Сплав марки В95 ГОСТ 4784-97

Ан.Окс.нхр

К3Р-6

Проволока I-II-1,60 ГОСТ 9389-75

Ц15 хр

К3Р-9

-

К3Р-10

-

К3Р-11

Ц15 хр

К3Р-12

К3В-5

Ц15 хр

*s - толщина листа по табл. 4.

** Материал по технической документации, утвержденной в установленном порядке

*** Твердость 30 ... 34 HRCЭ

(Измененная редакция, Изм. № 3).

2.15. Условия применения комплектов крепления должны соответствовать условиям эксплуатации соединителей.

2.16. Размеры отверстий под установку комплектов крепления соединителей и указания по установке соединителей в стойках и блоках даны в приложениях 1 и 2.

3. ПРАВИЛА ПРИЕМКИ

3.1. Предприятие-изготовитель должно проводить приемосдаточные испытания готовых деталей комплектов.

3.2 Детали должны предъявляться на приемосдаточные испытания партиями.

За партию принимают изделия, прошедшие одновременно производственный цикл и одновременно предъявляемые техническому контролю.

3.3. Для приемосдаточных испытаний должно быть отобрано 5 % деталей комплектов от партии, но не менее 5 шт. каждого типоразмера. Выборку производят методом случайного отбора.

Отобранные детали должны быть проверены на соответствие требованиям настоящего стандарта.

Внешний вид контролируют у всех деталей принимаемой партии.

3.4. При получении неудовлетворительных результатов контроля хотя бы по одному из показателей вся партия подвергается 100 % проверке.

3.5. Принятая партия деталей должна иметь на бирке клеймо технического контроля.

3.6. Правила приемки покрытий металлических деталей комплектов крепления - по ГОСТ 9.302-88.

(Измененная редакция, Изм. № 3).

4. МЕТОДЫ КОНТРОЛЯ

4.1. При контроле комплектов на соответствие требованиям настоящего стандарта должны производиться внешний осмотр и проверка размеров.

4.2. Внешний вид деталей и комплектов контролируют визуально. Размеры деталей проверяют предельными калибрами или универсальным измерительным инструментом.

4.3. Шероховатость поверхности контролируют сравнением с эталонами или на приборах, обеспечивающих соответствующую точность измерения.

4.4. Толщину и пористость покрытия определяют по ГОСТ 9.302-88.

5. МАРКИРОВКА, УПАКОВКА, ХРАНЕНИЕ И ТРАНСПОРТИРОВАНИЕ

5.1. Основная деталь комплекта (держатель, корпус) должна иметь следующую маркировку:

обозначение комплекта крепления;

обозначение стандарта;

наименование или товарный знак предприятия-изготовителя.

5.2. Каждая партия комплектов должна иметь на бирке следующую маркировку:

условное обозначение комплекта;

номер партии;

количество комплектов в партии;

месяц и год изготовления.

5.3. Комплекты должны быть упакованы в картонные коробки по ГОСТ 12301-81. Упакованные детали в коробке не должны перемещаться.

Перед упаковкой в коробки металлические детали должны быть завернуты в парафинированную бумагу по ГОСТ 9569-79, а неметаллические детали - в оберточную бумагу по ГОСТ 8273-75.

5.4. На каждую коробку наклеивают этикетку со следующими данными:

наименование или товарный знак предприятия-изготовителя;

наименование комплекта;

обозначение комплекта;

дата выпуска;

количество комплектов;

результаты приемосдаточного испытания;

обозначение стандарта.

5.5. Коробки с комплектами крепления должны быть уложены в фанерные ящики по ГОСТ 5959-80 или плотные дощатые неразборные ящики по ГОСТ 2991-85.

Внутренние стенки ящика должны быть выложены влагонепроницаемой бумагой по ГОСТ 515-77 или другим равноценным материалом.

Для предохранения коробок от перемещения в ящике промежутки между ними и стенками ящика должны быть заполнены гофрированным картоном или другим равноценным упаковочным материалом.

5.6. В каждый ящик должна быть вложена упаковочная ведомость, содержащая:

товарный знак предприятия-изготовителя;

обозначение комплекта; обозначение настоящего стандарта;

количество коробок и общее количество комплектов в ящике;

месяц и год изготовления.

Упаковочная ведомость подписывается лицом, производившим упаковку, и представителем технического контроля.

5.7. Ящики с комплектами должны быть опечатаны или опломбированы представителем технического контроля предприятия-изготовителя.

Примечание. При изготовлении комплектов на предприятии-потребителе выполнение пп. 5.5 - 5.7 необязательно.

5.8. Упакованные комплекты крепления должны храниться в закрытых складских помещениях при температуре окружающего воздуха от +5 до +35 °С, относительной влажности не более 85 % и при отсутствии в воздухе кислотных и других агрессивных примесей. Гарантийный срок хранения комплектов крепления - 12 лет.

5.9. Упакованные комплекты могут перевозиться любым видом транспорта. При транспортировании ящики должны быть защищены от механических повреждений и непосредственного попадания влаги.

6. ГАРАНТИИ ИЗГОТОВИТЕЛЯ

6.1. Предприятие-изготовитель должен гарантировать соответствие комплектов крепления требованиям настоящего стандарта при соблюдении потребителем условий эксплуатации, хранения и транспортирования, установленных стандартом.

6.2. Гарантийный срок эксплуатации - 11 лет с момента ввода в эксплуатацию.

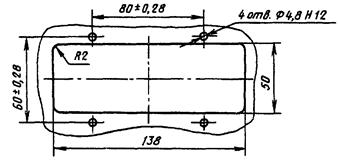
ПРИЛОЖЕНИЕ 1

Обязательное

РАЗМЕРЫ ОТВЕРСТИЙ ПОД УСТАНОВКУ КОМПЛЕКТОВ КРЕПЛЕНИЯ

Комплекты К1Р и К2Р

Комплекты К1В и К2В

Комплект К3Р

Комплект К3В

Примечание. Под комплекты крепления типа К1Р и К2Р в стойках устанавливаются резьбовые втулки для стенок стоек из стали при толщине стенки менее 3 мм и для стенок из алюминиевых сплавов.

ПРИЛОЖЕНИЕ 1. (Измененная редакция, Изм. № 3).

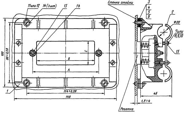
ПРИЛОЖЕНИЕ 2

Обязательное

УКАЗАНИЕ ПО УСТАНОВКЕ СОЕДИНИТЕЛЕЙ В СТОЙКАХ И БЛОКАХ

В плоскостях сочленения вилки и розетки соединителей допуск соосности установочных шпилек розеток и вилок должен быть не более указанного на черт. 1.

Черт. 1

Требования по соосности должны быть обеспечены конструкцией стоек и блоков.

Расстояние между установочными плоскостями вилок и розеток полностью сочлененных соединителей должно соответствовать указанному на черт. 2 и в таблице. При сочленении и расчленении соединителей допуск параллельности установочных плоскостей согласно черт. 2 допускается не более 1 мм на длине 100 мм.

1 - установочная плоскость комплекта крепления розетки соединителя; 2 - установочная плоскость комплекта крепления вилки соединителя

Черт. 2

Типы соединителей

А, мм

Номин.

Пред. откл.

6Р-100; 6Р-150

35,5

-2,5

7Р-52

44,5

12Р-60

20

-1

Расстояние между плоскостями установки вилки и розетки соединителя обеспечивается конструкцией комплектов деталей крепления соединителей.

Это расстояние в комплектах крепления соединителей типов 6Р-100, 6Р-150 и 7Р-52 регулируют подбором прокладок (поз. 3, 4, 5, 6 комплектов крепления типов К1Р и К2Р).

ПРИЛОЖЕНИЕ 2. (Измененная редакция, Изм. № 3).

СОДЕРЖАНИЕ

1. Типы, конструкция и размеры.. 1

2. Технические требования. 19

3. Правила приемки. 21

4. Методы контроля. 22

5. Маркировка, упаковка, хранение и транспортирование. 22

Приложение 1 Размеры отверстий под установку комплектов крепления. 23

Приложение 2 Указание по установке соединителей в стойках и блоках. 24