ГОСУДАРСТВЕННЫЙ СТАНДАРТ СОЮЗА ССР
МУФТЫ ПРОДОЛЬНО-СВЕРТНЫЕ
ОСНОВНЫЕ ПАРАМЕТРЫ. КОНСТРУКЦИЯ И РАЗМЕРЫ
ГОСТ 23106-78
ГОСУДАРСТВЕННЫЙ КОМИТЕТ СССР ПО СТАНДАРТАМ
Москва
ГОСУДАРСТВЕННЫЙ СТАНДАРТ СОЮЗА ССР
|
МУФТЫ ПРОДОЛЬНО-СВЕРТНЫЕ Основные параметры Конструкция и размеры Longitudinal screw cap couplings. Basic parameters. |
ГОСТ Взамен |
Постановлением Государственного комитета стандартов Совета Министров СССР от 5 мая 1978 г. № 1229 срок действия установлен
с 01.01 1979 г.
до 01.01 1984 г.
Несоблюдение стандарта преследуется по закону
1. Настоящий стандарт распространяется на муфты продольно-свертные общемашиностроительного применения, предназначенные для соединения цилиндрических валов по ГОСТ 12080-66 при передаче крутящего момента от 125 до 12500 Н×м без смягчения динамических нагрузок и компенсации смещений, климатических исполнений У и Т и категорий размещения 1, 2, 3 и климатических исполнений УХЛ и О категорий размещения 4 по ГОСТ 15150-69.
(Измененная редакция, Изм. № 1, 2).
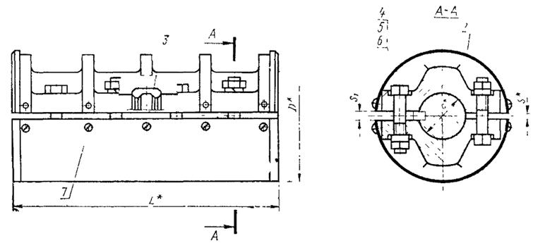
2. Основные параметры, конструкция и размеры муфт должны соответствовать указанным на чертеже и в таблице.
3. Конструкция и размеры деталей, входящих в муфту, должны соответствовать указанным в обязательном приложении 1.
Примечания:
1. При наличии на валах элементов, фиксирующих муфту по продольной оси, фиксирующие полукольца не применять.
2. Размеры канавок на валах под фиксирующие полукольца и крепежные изделия приведены в рекомендуемом приложении 2.
3. Допускается применение муфт без кожуха при условии установки стационарного ограждения.
4. Шпоночные соединения - по ГОСТ 10748-79.
3, 4 (Измененная редакция, Изм. № 1).
5. Допускаемая несоосность валов, соединяемых муфтами, - не более 0,05 мм.
Верхний полукожух не показан
* Размеры для справок.
1 - полумуфта; 2 - полукожух; 3 - фиксирующие полукольца; 4 - болт по ГОСТ 7796-70; 5 - гайка по ГОСТ 5916-70; 6 - шайба по ГОСТ 6402-70; 7 - винт по ГОСТ 17473-80
(Измененная редакция, Изм. № 1).
Размеры в мм
|
d |
D |
L |
s |
s1, (пред. откл. по Н9) |
Частота вращения, с-1 (об/мин), не более |
Динамический момент инерции, кг×м2 |
Масса кг, не более |
Применяемость |
||
|
1-й ряд |
2-й ряд |
|||||||||
|
125 |
25 |
- |
90 |
90 |
2 |
8 |
4,2 (250) |
0,002 |
2,37 |
|
|
28 |
- |
2,04 |
|
|||||||
|
200 |
- |
30 |
105 |
120 |
0,004 |
3,79 |
|
|||
|
32 |
- |
10 |
3,73 |
|
||||||
|
- |
35 |
3,70 |
|
|||||||
|
315 |
110 |
0,006 |
5,31 |
|
||||||
|
36 |
- |
5,29 |
|
|||||||
|
- |
38 |
5,18 |
|
|||||||
|
40 |
- |
120 |
12 |
5,05 |
|
|||||
|
500 |
120 |
0,011 |
6,21 |
|
||||||
|
- |
42 |
5,94 |
|
|||||||
|
45 |
- |
14 |
5,76 |
|
||||||
|
800 |
- |
48 |
140 |
3 |
0,013 |
6,76 |
|
|||
|
50 |
- |
6,40 |
|
|||||||
|
1250 |
55 |
- |
150 |
3 |
16 |
4,2 (250) |
0,020 |
9,32 |
|
|
|
- |
56 |
9,19 |
|
|||||||
|
60 |
- |
170 |
18 |
8,54 |
|
|||||
|
- |
63 |
8,28 |
|
|||||||
|
2000 |
170 |
0,045 |
13,15 |
|
||||||
|
- |
65 |
20 |
12,61 |
|
||||||
|
70 |
- |
12,28 |
|
|||||||
|
- |
71 |
11,51 |
|
|||||||
|
3150 |
- |
75 |
200 |
220 |
20 |
0,116 |
24,50 |
|
||
|
80 |
- |
22 |
23,39 |
|
||||||
|
- |
85 |
22,20 |
|
|||||||
|
5000 |
210 |
0,145 |
25,67 |
|
||||||
|
90 |
- |
25 |
24,43 |
|
||||||
|
- |
95 |
21,30 |
|
|||||||
|
8000 |
100 |
- |
240 |
340 |
28 |
1,6 (100) |
0,228 |
32,55 |
|
|
|
- |
110 |
29,71 |
|
|||||||
|
12500 |
- |
120 |
280 |
32 |
0,646 |
68,08 |
|
|||
|
125 |
- |
66,60 |
|
|||||||
|
- |
130 |
66,50 |
|
|||||||
Примечание. 1-й ряд является предпочтительным для применения.
(Измененная редакция, Изм. № 1, 2).
Пример условного обозначения продольно-свертной муфты с номинальным крутящим моментом Мкр = 125 Н×м, диаметром посадочных отверстий в полу муфтах под валы d = 28 мм, с фиксирующими полукольцами климатического исполнения У категории 3 по ГОСТ 15150-69, климатического исполнения У3 по ГОСТ 15150-69:
Муфта 125-28-1-У3 ГОСТ 23106-78
То же, но без фиксирующих полуколец:
Муфта 125-28-2-У3 ГОСТ 23106-78
(Измененная редакция, Изм. № 1, 2).
6. Маркировать условное обозначение на бирке.
Обязательное
1. Конструкция и размеры полумуфт
1.1. Пример условного обозначения полумуфты с канавкой под фиксирующие полукольца для муфты с номинальным крутящим моментом 125 Н×м, диаметром d = 28 мм, климатического исполнения У, категории 3 по ГОСТ 15150-69.
Примечание. Для муфт без фиксирующих полуколец канавку (поверхность Ж) в полумуфтах не выполнять.
(Новая редакция, Изм. № 2).
1.2. Материал полумуфт - чугун СЧ 20 по ГОСТ 1412-85. Допускается изготовление полумуфт из других материалов с механическими свойствами не ниже, чем у чугуна СЧ20.
(Измененная редакция, Изм. № 1, 2).
1.3. Класс точности размеров отливок - 8 по ГОСТ 26645-85.
Степень коробления отливок - 8 по ГОСТ 26645-85.
Класс точности массы отливок - 13 по ГОСТ 26645-85.
(Новая редакция, Изм. № 2).
1.4. Формовочные уклоны - по ГОСТ 3212-80.
(Измененная редакция, Изм. № 1).
1.5. Литейные радиусы - от 3 до 7 мм.
1.6. Виды покрытий полумуфт и толщина покрытий, в зависимости от условий хранения и эксплуатации муфт - по ГОСТ 9.306-85, ГОСТ 9.303-84 и ГОСТ 7462-73.
(Измененная редакция, Изм. № 2).
1.7. Технические требования к покрытиям полумуфт - по ГОСТ 9.301-86.
(Измененная редакция, Изм. № 1, 2).
1.8. Неуказанные предельные отклонения размеров:
отверстий Н14, валов h14, остальных ![]()
Поз. 1. Полумуфта
Размеры в мм
Таблица 1
|
d (пред. откл. по Н9) |
d1 (пред. откл. по Н13) |
d2 |
d3, (пред. откл. по Н13) |
Кол-во отв. п |
d4 |
Кол-во отв. п1 |
D |
D1 |
D2 |
L |
L1 |
l |
l1 |
l2 |
l3 |
l4 |
l5 |
l6 |
l7 |
l8 (пред. откл. по Н11) |
|
||
|
1-й ряд |
2-й ряд |
|
|||||||||||||||||||||
|
125 |
25 |
- |
32 |
20 |
10,5 |
4 |
M5-7H |
6 |
90 |
87 |
55 |
90 |
84 |
3 |
11,0 |
30 |
8 |
26 |
7 |
38 |
35 |
20 |
|
|
28 |
- |
|
|||||||||||||||||||||
|
200 |
- |
30 |
35 |
26 |
12,5 |
105 |
102 |
65 |
120 |
110 |
5 |
15,0 |
40 |
10 |
35 |
10 |
50 |
49 |
22 |
|
|||
|
32 |
- |
|
|||||||||||||||||||||
|
- |
35 |
40 |
|||||||||||||||||||||
|
315 |
110 |
107 |
|||||||||||||||||||||
|
36 |
- |
|
|||||||||||||||||||||
|
- |
38 |
45 |
|
||||||||||||||||||||
|
40 |
- |
||||||||||||||||||||||
|
500 |
6 |
8 |
120 |
117 |
80 |
170 |
160 |
71 |
28 |
||||||||||||||
|
- |
42 |
50 |
|
||||||||||||||||||||
|
45 |
- |
|
|||||||||||||||||||||
|
800 |
- |
48 |
55 |
30 |
17,0 |
140 |
137 |
90 |
|
||||||||||||||
|
50 |
- |
|
|||||||||||||||||||||
|
1250 |
55 |
- |
65 |
150 |
147 |
105 |
|
||||||||||||||||
|
- |
56 |
|
|||||||||||||||||||||
|
60 |
- |
70 |
|
||||||||||||||||||||
|
1250 |
- |
63 |
75 |
30 |
17,0 |
6 |
М5-7Н |
8 |
150 |
147 |
105 |
170 |
160 |
5 |
15,0 |
40 |
10 |
35 |
10 |
50 |
71 |
28 |
|
|
2000 |
8 |
10 |
170 |
167 |
130 |
220 |
210 |
91 |
38 |
||||||||||||||
|
- |
65 |
80 |
|
||||||||||||||||||||
|
70 |
- |
|
|||||||||||||||||||||
|
- |
71 |
85 |
|
||||||||||||||||||||
|
3150 |
- |
75 |
М6-7Н |
200 |
197 |
140 |
|
||||||||||||||||
|
80 |
- |
90 |
|
||||||||||||||||||||
|
- |
85 |
95 |
|||||||||||||||||||||
|
5000 |
40 |
21,0 |
210 |
207 |
150 |
270 |
260 |
17,0 |
50 |
12 |
42 |
11 |
62 |
112 |
46 |
||||||||
|
90 |
- |
100 |
|
||||||||||||||||||||
|
- |
95 |
105 |
|
||||||||||||||||||||
|
8000 |
100 |
- |
110 |
42 |
25,0 |
240 |
237 |
170 |
340 |
320 |
10 |
25,5 |
61 |
15 |
56 |
18 |
76 |
143 |
54 |
|
|||
|
- |
110 |
120 |
|
||||||||||||||||||||
|
12500 |
- |
120 |
130 |
280 |
277 |
200 |
|
||||||||||||||||
|
125 |
- |
135 |
|
||||||||||||||||||||
|
- |
130 |
140 |
|
||||||||||||||||||||
Размеры в мм
|
d (пред. откл. по Н9) |
r |
B |
B1 |
B2 |
B3 |
E |
h |
h1 |
h2 |
h3 |
u |
u1 |
c |
Пред. откл. D |
s |
s1 (пред. откл. по h9) |
Масса кг, не более |
||
|
1-й ряд |
2-й ряд |
||||||||||||||||||
|
125 |
25 |
- |
2 |
18 |
30 |
85 |
60 |
38 |
16,0 |
1,5 |
10 |
15 |
38 |
76 |
0,5 |
±0,22 |
11,5 |
8,5 |
1,01 |
|
28 |
- |
13,0 |
10,0 |
0,84 |
|||||||||||||||
|
200 |
- |
30 |
25 |
35 |
100 |
68 |
50 |
12 |
17 |
50 |
100 |
1,0 |
14,0 |
11,0 |
1,61 |
||||
|
32 |
- |
15,0 |
1,57 |
||||||||||||||||
|
- |
35 |
16,5 |
12,5 |
1,55 |
|||||||||||||||
|
315 |
40 |
70 |
19,0 |
2,29 |
|||||||||||||||
|
36 |
- |
17,0 |
13,0 |
2,20 |
|||||||||||||||
|
- |
38 |
18,0 |
14,0 |
2,15 |
|||||||||||||||
|
40 |
- |
19,0 |
2,07 |
||||||||||||||||
|
500 |
28 |
110 |
75 |
22,0 |
100 |
150 |
1,5 |
2,60 |
|||||||||||
|
- |
42 |
2,5 |
20,0 |
15,0 |
2,45 |
||||||||||||||
|
45 |
- |
21,5 |
15,5 |
2,37 |
|||||||||||||||
|
800 |
- |
48 |
30 |
80 |
25,0 |
±0,40 |
22,5 |
17,0 |
2,99 |
||||||||||
|
50 |
- |
23,5 |
18,0 |
2,79 |
|||||||||||||||
|
1250 |
55 |
- |
40 |
60 |
130 |
100 |
26,0 |
19,5 |
4,13 |
||||||||||
|
- |
56 |
26,5 |
20,0 |
4,00 |
|||||||||||||||
|
60 |
- |
28,5 |
21,0 |
3,65 |
|||||||||||||||
|
- |
63 |
30,0 |
22,5 |
3,48 |
|||||||||||||||
|
2000 |
- |
63 |
2,5 |
45 |
70 |
150 |
110 |
50 |
35,0 |
2,0 |
12 |
17 |
150 |
200 |
2,0 |
±0,40 |
30,0 |
22,5 |
6,00 |
|
- |
65 |
31,0 |
23,5 |
5,68 |
|||||||||||||||
|
70 |
- |
3,0 |
33,5 |
25,0 |
5,50 |
||||||||||||||
|
- |
71 |
34,0 |
25,5 |
5,10 |
|||||||||||||||
|
3150 |
- |
75 |
50 |
85 |
180 |
130 |
36,0 |
27,5 |
11,26 |
||||||||||
|
80 |
- |
38,5 |
29,0 |
10,63 |
|||||||||||||||
|
- |
85 |
41,0 |
31,5 |
10,03 |
|||||||||||||||
|
5000 |
55 |
90 |
195 |
140 |
62 |
15 |
20 |
186 |
248 |
11,64 |
|||||||||
|
90 |
- |
43,5 |
32,5 |
11,03 |
|||||||||||||||
|
- |
95 |
44,0 |
35,0 |
9,48 |
|||||||||||||||
|
8000 |
100 |
- |
65 |
105 |
210 |
165 |
76 |
39,0 |
228 |
304 |
48,5 |
36,0 |
14,70 |
||||||
|
- |
110 |
4,0 |
53,5 |
41,0 |
12,70 |
||||||||||||||
|
12500 |
- |
120 |
100 |
140 |
240 |
200 |
49,0 |
58,5 |
44,0 |
31,60 |
|||||||||
|
125 |
- |
61,0 |
46,5 |
30,69 |
|||||||||||||||
|
- |
130 |
63,5 |
49,0 |
26,60 |
|||||||||||||||
Примечание. 1-й ряд является предпочтительным для применения.
Пример условного обозначения полумуфты с канавкой под фиксирующие полукольца для муфты с номинальным крутящим моментом 125 Н×м, диаметром d = 28 мм, климатического исполнения У категории размещения 3 по ГОСТ 15150-69:
Полумуфта 125-28-1-У3 ГОСТ 23106-78
То же, но без канавки под фиксирующие полукольца:
Полумуфта 125-28-2-У3 ГОСТ 23106-78
(Измененная редакция, Изм. № 1).
2. КОНСТРУКЦИЯ И РАЗМЕРЫ ПОЛУКОЖУХОВ
2.1. Пример условного обозначения полукожуха муфты с номинальным крутящим моментом 125 Н×м, климатического исполнения У, категории 3 по ГОСТ 15150-69.
(Новая редакция, Изм. № 2).
2.2. Материал полукожухов - Лист ![]()
Допускается изготовление полукожухов из других материалов с механическими свойствами не ниже, чем у стали марки Ст3 по ГОСТ 380-88.
2.3. Виды покрытий полукожухов и толщина покрытий в зависимости от условий эксплуатации муфт - по ГОСТ 9.306-85, ГОСТ 9.303-84 и ГОСТ 7462-73.
(Измененная редакция, Изм. № 2).
2.4. Технические требования к покрытиям полукожухов - по ГОСТ 9.301-86.
(Измененная редакция, Изм. № 1, 2).
2.5. Неуказанные предельные отклонения размеров отверстий
H14, валов h14, остальных ![]()
Поз. 2. Полукожух
* Размер для справок.
Черт. 2
Таблица 2
Размеры в мм
|
L |
l |
l1 |
r |
d |
Кол-во отв. п |
s |
Масса кг, не более |
|
|
125 |
84 |
4 |
38 |
45,0 |
5,3 |
6 |
1,0 |
0,12 |
|
200 |
110 |
5 |
50 |
52,5 |
0,21 |
|||
|
315 |
55,0 |
0,32 |
||||||
|
500 |
160 |
60,0 |
8 |
0,34 |
||||
|
800 |
70,0 |
1,5 |
0,36 |
|||||
|
1250 |
75,0 |
0,53 |
||||||
|
2000 |
210 |
85,0 |
10 |
0,61 |
||||
|
3150 |
100,0 |
6,4 |
0,94 |
|||||
|
5000 |
260 |
6 |
62 |
105,0 |
1,04 |
|||
|
8000 |
320 |
8 |
76 |
120,0 |
1,41 |
|||
|
12500 |
140,0 |
1,84 |
Пример условного обозначения полукожуха муфты с номинальным крутящим моментом 125 Н×м, климатического исполнения У категории размещения 3 по ГОСТ 15150-69:
Полукожух 125-У3 ГОСТ 23106-78
(Измененная редакция, Изм. № 1).
3. КОНСТРУКЦИЯ И РАЗМЕРЫ ФИКСИРУЮЩИХ ПОЛУКОЛЕЦ
3.1. Пример условного обозначения фиксирующего полукольца муфты с номинальным крутящим моментом 125 Н×м, диаметром d = 28 мм, климатического исполнения У, категории 3 по ГОСТ 15150-69.
(Новая редакция, Изм. № 2).
3.2. Материал - сталь 45 по ГОСТ 1050-74.
Допускается изготовление фиксирующих полуколец из материалов, с механическими свойствами не ниже, чем у стали марки 45.
3.3. Виды покрытий полуколец и толщина покрытия в зависимости от условий эксплуатации муфт - по ГОСТ 9.306-85, ГОСТ 9.303-84.
(Измененная редакция, Изм. № 2).
3.4. Технические требования к покрытиям полуколец - по ГОСТ 9.301-86.
(Измененная редакция, Изм. № 1, 2).
3.5. Неуказанные предельные отклонения размеров ![]()
Поз. 3. Фиксирующие полукольца
Таблица 3
Размеры в мм
|
d (пред. откл. по Н9) |
d1 (пред. откл. по Н13) |
d2, (пред. откл. по Н9) |
s, не менее |
l (пред. откл. по D11) |
l1 (пред. откл. по D11) |
r |
с |
c1 |
Масса кг, не более |
|
|
|
125 |
25 |
32 |
22 |
9 |
20 |
4 |
0,2 |
2,5 |
0,5 |
0,04 |
|
|
28 |
0,05 |
|
|||||||||
|
200 |
30 |
35 |
25 |
22 |
5 |
0,4 |
|
||||
|
32 |
11 |
0,05 |
|
||||||||
|
35 |
40 |
30 |
0,06 |
|
|||||||
|
315 |
0,09 |
||||||||||
|
36 |
|
||||||||||
|
38 |
45 |
32 |
0,08 |
|
|||||||
|
40 |
35 |
13 |
28 |
6 |
|||||||
|
500 |
3,0 |
0,14 |
|
||||||||
|
42 |
50 |
38 |
0,17 |
|
|||||||
|
45 |
15 |
0,15 |
|
||||||||
|
800 |
48 |
55 |
40 |
|
|||||||
|
50 |
0,19 |
|
|||||||||
|
1250 |
55 |
65 |
45 |
17 |
6 |
0,6 |
3,0 |
1,0 |
0,22 |
|
|
|
56 |
0,23 |
|
|||||||||
|
60 |
70 |
50 |
19 |
38 |
8 |
0,36 |
|
||||
|
63 |
75 |
53 |
0,38 |
||||||||
|
2000 |
|||||||||||
|
65 |
55 |
0,40 |
|
||||||||
|
70 |
80 |
60 |
21 |
4,0 |
0,41 |
|
|||||
|
71 |
0,44 |
|
|||||||||
|
3150 |
75 |
85 |
65 |
|
|||||||
|
80 |
90 |
70 |
23 |
46 |
10 |
0,59 |
|
||||
|
85 |
95 |
75 |
0,67 |
||||||||
|
5000 |
|||||||||||
|
90 |
100 |
80 |
26 |
0,65 |
|
||||||
|
95 |
105 |
85 |
0,69 |
|
|||||||
|
8000 |
100 |
110 |
90 |
29 |
54 |
12 |
1,0 |
1,6 |
0,73 |
|
|
|
110 |
120 |
100 |
5,0 |
0,97 |
|
||||||
|
12500 |
120 |
130 |
110 |
33 |
1,65 |
|
|||||
|
125 |
135 |
|
|||||||||
|
130 |
140 |
115 |
2,10 |
|
Пример условного обозначения фиксирующего полукольца муфты с номинальным крутящим моментом 125 Н×м, диаметром d = 28 мм, климатического исполнения У категории размещения 3 по ГОСТ 15150-69:
Фиксирующее полукольцо 125-28-У3 ГОСТ 23106-78
(Измененная редакция, Изм. № 1).
Рекомендуемое
1. Размеры канавок валов под фиксирующие полукольца.
Размеры канавок валов под фиксирующие полукольца должны соответствовать указанным на чертеже и в таблице.
* Размер для справок.
Шероховатость, указанная на чертеже, на поверхность А не распространяется.
Таблица 1
Размеры в мм
|
d |
d1 (пред. откл. по Н9) |
l (пред. откл. по Н11) |
l1 (пред. откл. по Н11) |
r |
с |
|
|
125 |
25 |
22 |
4 |
3 |
0,2 |
0,5 |
|
28 |
||||||
|
200 |
30 |
25 |
5 |
4 |
0,4 |
|
|
32 |
||||||
|
35 |
30 |
|||||
|
315 |
35 |
|||||
|
36 |
||||||
|
315 |
38 |
32 |
5 |
4 |
0,4 |
0,5 |
|
40 |
35 |
6 |
5 |
|||
|
500 |
40 |
|||||
|
42 |
38 |
|||||
|
45 |
||||||
|
800 |
48 |
40 |
||||
|
50 |
||||||
|
1250 |
55 |
45 |
0,6 |
1,0 |
||
|
56 |
||||||
|
60 |
50 |
8 |
6 |
|||
|
63 |
53 |
|||||
|
2000 |
63 |
|||||
|
65 |
55 |
|||||
|
70 |
60 |
|||||
|
71 |
||||||
|
3150 |
75 |
65 |
||||
|
80 |
70 |
10 |
8 |
|||
|
85 |
75 |
|||||
|
5000 |
85 |
|||||
|
90 |
80 |
|||||
|
95 |
85 |
|||||
|
8000 |
100 |
90 |
12 |
10 |
1,0 |
1,6 |
|
110 |
100 |
|||||
|
12500 |
120 |
110 |
||||
|
125 |
||||||
|
130 |
115 |
2. КРЕПЕЖНЫЕ ИЗДЕЛИЯ
2.1. Обозначения и количество крепежных деталей должны соответствовать указанным в табл. 2.
Таблица 2
|
Поз. 4 Болт по ГОСТ 7796-70 |
Поз. 5 Гайка по ГОСТ 5916-70 |
Поз. 6 Шайба по ГОСТ 6402-70 |
Поз. 7 Винт по ГОСТ 17473-80 |
|
|
125 |
M10-6g´40.56 кол-во 4 шт. |
М10-6Н.04 кол-во 4 шт. |
10 65Г кол-во 4 шт. |
А.М5-6g´12.56 кол-во 12 шт. |
|
200 |
M12-6g´45.56 кол-во 4 шт. |
М12-6Н.04 кол-во 4 шт. |
12 65Г кол-во 4 шт. |
|
|
315 |
M12-6g´50.56 кол-во 4 шт. |
|||
|
500 |
M12-6g´50.56 кол-во 6 шт. |
М12-6Н.04 кол-во 6 шт. |
12 65Г кол-во 6 шт. |
A.M5-6g´12.56 кол-во 16 шт. |
|
800 |
М16-6g´65.56 кол-во 6 шт. |
М16-6Н.04 кол-во 6 шт. |
16 65Г кол-во 6 шт. |
|
|
1250 |
M16-6g´70.56 кол-во 6 шт. |
|||
|
2000 |
M16-6g´90.56 кол-во 8 шт. |
М16-6Н.04 кол-во 8 шт. |
16 65Г кол-во 8 шт. |
A.M5-6g´12.56 кол-во 20 шт. |
|
3150 |
А.М6-6g´15.56 кол-во 20 шт. |
|||
|
5000 |
M20-6g´95.56 кол-во 8 шт. |
М20-6Н.04 кол-во 8 шт. |
20 65Г кол-во 8 шт. |
|
|
8000 |
M24-6g´10556 кол-во 8 шт. |
М24-6Н.04 кол-во 8 шт. |
24 65Г кол-во 8 шт. |
|
|
12500 |
М24-6g´130.56 кол-во 8 шт. |
(Измененная редакция, Изм. № 2).