
ГОСУДАРСТВЕННЫЙ
СТАНДАРТ
СОЮЗА ССР
СИСТЕМЫ ЭЛЕКТРОСНАБЖЕНИЯ
САМОЛЕТОВ И ВЕРТОЛЕТОВ
МЕТОДИКА РАСЧЕТА ПОКАЗАТЕЛЕЙ БЕЗОТКАЗНОСТИ
ГОСТ 24898-81
ГОСУДАРСТВЕННЫЙ
КОМИТЕТ ПО СТАНДАРТАМ
Москва
ГОСУДАРСТВЕННЫЙ СТАНДАРТ СОЮЗА ССР
|
СИСТЕМЫ ЭЛЕКТРОСНАБЖЕНИЯ САМОЛЕТОВ И ВЕРТОЛЕТОВ Методика расчета показателей безотказности Electrical power system of aircraft and
helicopters. |
ГОСТ |
Постановлением Государственного комитета СССР по стандартам от 31 июля 1981 г. № 3657 срок действия установлен
с 01.01.1983 г.
до 01.01.1988 г.
Несоблюдение стандарта преследуется по закону
Настоящий стандарт распространяется на системы электроснабжения самолетов и вертолетов и устанавливает методику расчета показателей безотказности этих систем на этапе проектирования.
Термины, применяемые в стандарте, и их определения приведены в справочном приложении 1.
1.1. При расчете показателей безотказности систему электроснабжения представляют как систему с несколькими входами и выходами, состоящую из первичной и вторичной систем генерирования, а также систем распределения электроэнергии переменного и постоянного тока.
1.2. Входами системы электроснабжения приняты выходные валы коробок приводов маршевых двигателей или вал несущего винта вертолета и выходной вал коробки приводов двигателя вспомогательной силовой установки (ВСУ).
1.3. Выходами системы электроснабжения приняты шины распределительных устройств (РУ) переменного и постоянного тока.
1.4. Входы первичной системы генерирования совпадают с входами системы электроснабжения.
1.5. Выходами первичной системы генерирования приняты центральные распределительные устройства (ЦРУ).
1.6. Входами вторичной системы генерирования приняты ЦРУ (РУ) системы распределения электроэнергии, к которым подключены входные выводы преобразователей (выпрямительных устройств).
1.7. Выходами вторичной системы генерирования приняты ЦРУ, к которым подключены выходные выводы преобразователей (выпрямительных устройств).
1.8. Входами систем распределения электроэнергии приняты ЦРУ (места подключения генераторов выпрямительных устройств или преобразователей).
1.9. Выходы систем распределения электроэнергии совпадают с выходами системы электроснабжения.
1.10. Методика позволяет определить следующие показатели безотказности:
вероятность безотказной работы системы электроснабжения;
среднюю наработку системы до конкретного вида отказа.
1.11. Расчет показателей безотказности систем электроснабжения производится при следующих условиях:
поток отказов - пуассоновский;
перед каждым полетом обеспечивается исправное состояние системы электроснабжения и ее элементов;
вероятность срабатывания аппаратов защиты сети при коротких замыканиях в зоне работы защиты равна 1.
1.12. При расчете показателей безотказности должны определяться следующие состояния системы электроснабжения:
повышение температуры в системе электроснабжения за допустимые пределы,
нормальная работа,
частичная работа,
аварийная работа и
длительная ненормальная работа системы электроснабжения в целом, а также для каждого и (или) заданного сочетания состояния РУ при всех или заданных несовместных состояниях системы (двигателей).
Виды отказов системы электроснабжения и ее элементов приведены в рекомендуемом приложении 2.
2.1.1. Исходными данными для расчета показателей безотказности являются:
технические требования к системе электроснабжения;
электрическая схема системы электроснабжения;
интенсивность отказов элементов системы электроснабжения;
время полета.
2.1.2. Интенсивности отказов элементов системы электроснабжения должны быть получены на основе статистических данных об отказах этих элементов при эксплуатации.
Резервируемые элементы, когда порядок возникновения их отказов не влияет на работоспособность рассматриваемой системы электроснабжения, должны объединяться в один эквивалентный элемент (узел) с интенсивностью отказов, вычисляемой по формуле
|
|
(1) |
где λ - интенсивность отказов одного из параллельно соединенных элементов;
λэ - эквивалентная интенсивность отказов узла, содержащего параллельно соединенные элементы;
t - время, на которое рассчитывается показатель безотказности узла, системы;
п - число взаиморезервируемых элементов;
т - минимальное число элементов, отказ которых приводит к отказу эквивалентного элемента (узла);
- число
сочетаний из п элементов по т.
2.1.4. При отсутствии в справочниках интенсивностей отказов элементов, входящих в функциональный блок, допускается устанавливать их на основании интенсивностей отказов аналогичных элементов.
2.1.5. Время, на которое рассчитываются показатели безотказности системы электроснабжения, должно соответствовать наибольшему возможному времени полета самолета (вертолета).
2.2. Метод логических схем
2.2.1. Метод логических схем должен применяться для расчета показателей безотказности системы электроснабжения или отдельных ее участков, если порядок возникновения отказов отдельных элементов системы электроснабжения не влияет на ее работоспособность.
2.2.2. При использовании метода логических схем результаты анализа работоспособности системы электроснабжения представляют в виде логических условий появления отказов в зависимости от состояния ее элементов и вычисления вероятностей этих отказов.
2.2.3. Вероятность безотказной работы системы, состоящей из N последовательно соединенных элементов, вычисляют по формуле
где Рi (t) - вероятность безотказной работы элемента.
2.2.4. Вероятность безотказной работы системы, состоящей из параллельно соединенных элементов, вычисляют по формуле
|
|
(3) |
где Qi (t) - вероятность отказа i-го элемента.
2.2.5. Вероятности безотказной работы системы, элементы которой соединены последовательно-параллельно, вычисляют по формулам (2) и (3).
2.3. Табличный метод
2.3.1. Табличный метод должен применяться для расчета показателей безотказности системы или отдельных ее участков, в которых порядок возникновения отказов отдельных элементов системы влияет на ее работоспособность.
2.3.2. При использовании табличного метода результаты анализа показателей безотказности системы электроснабжения или ее части представляют в виде таблицы несовместных состояний системы электроснабжения и последующего вычисления вероятностей этих состояний.
2.3.3. Табличным методом вычисляют вероятности видов отказов канала или системы электроснабжения (генерирования, распределения) с учетом последовательностей их возникновения.
2.3.4. Для составления таблицы несовместных состояний (табл. 1) нумеруют отказы элементов системы и вводят следующие обозначения:
х0 - отсутствие отказов в системе;
xt - i-й отказ элемента системы;
yi - состояние системы электроснабжения или отдельной ее части.
Один элемент системы может иметь несколько видов отказов, при этом каждому виду отказа присваивается свой номер.
2.3.5. Порядок заполнения табл. 1
2.3.5.1. В головке табл. 1 указывают все возможные отказы элементов рассматриваемой системы x1, х2, ..., хп.
2.3.5.2. В заголовки строк таблицы заносятся отказы элементов, при которых система остается в состоянии нормальной или частичной работы, при этом первая строка заголовка строк таблицы соответствует первоначальному состоянию системы, когда все элементы исправны х0. На пересечении этой строки и i-й колонки (хi) указывают состояние системы при отказе xi, соответствующее отказу элемента первого порядка.
Таблица 1
|
Отказы элементов, при которых система остается работоспособной |
Состояние системы при отказах |
Порядок отказов элементов системы |
||||||||||
|
х1 |
х2 |
х3 |
... |
xi |
... |
xr |
... |
xl |
... |
xn |
||
|
х0 |
у1 |
у2 |
Отказы первого порядка |
|||||||||
|
х1 |
- |
уn+1 |
Отказы второго порядка |
|||||||||
|
х2 |
- |
|||||||||||
|
... |
||||||||||||
|
xi |
- |
уi |
||||||||||
|
... |
||||||||||||
|
xn |
- |
|||||||||||
|
x1 x2 |
- |
- |
Отказы третьего порядка |
|||||||||
|
x1 x3 |
- |
- |
||||||||||
|
... |
||||||||||||
|
x1 xi |
- |
- |
||||||||||
|
... |
||||||||||||
|
x1 xn |
- |
- |
||||||||||
|
x2 x1 |
- |
- |
||||||||||
|
x2 x3 |
- |
- |
||||||||||
|
... |
||||||||||||
|
x2 xn |
- |
|||||||||||
|
... |
||||||||||||
|
xi x1 |
- |
- |
||||||||||
|
... |
||||||||||||
|
xi xk |
- |
- |
||||||||||
|
... |
||||||||||||
|
xn-1 xn |
- |
|||||||||||
|
x1 x2 x3 |
- |
- |
- |
Отказы четвертого порядка |
||||||||
|
... |
||||||||||||
|
x1 x2 ... xm-1 |
Отказы m-го порядка |
|||||||||||
|
... |
||||||||||||
Примечание. Работоспособное состояние соответствует нормальной или частичной работе системы.
2.3.5.3. Из полученной первой строки выбирают состояния, соответствующие нормальной или частичной работе, и заносят в заголовки строк (2, 3-й и т.д.), на пересечении полученных строк и колонок заносят состояния системы, соответствующие указанным в заголовках строк и головке таблицы отказам элементов, например, на пересечении строки xi и колонки xk указывают состояние системы yi при появлении отказа xi, затем xk и называемое состояние системы, соответствующее отказу элементов второго порядка.
2.3.5.4. Формирование состояний системы, соответствующих отказам элементов третьего порядка, производят аналогично, т.е. все состояния второго порядка, соответствующие нормальной или частичной работе при отказах элементов хi и xk указывают в заголовках строк, следующих за строками второго порядка, на пересечении полученных новых строк и тех же колонок таблицы заносят состояния системы, соответствующие отказам элементов третьего порядка xi, xk, xl и т.д.
2.3.5.5. Если сочетание отказов, указанных в заголовке строки и головке колонки, невозможно, то на пересечении этой строки и этой колонки ставят знак «-», например на пересечении строки x1, х3 и колонок х1 и x3 ставят знак «-», так как отказы x1 и x3 элементов уже произошли (см. строку x1, х3) и повторно они не могут возникнуть.
2.3.6. Вероятность состояния системы уj определяют как сумму вероятностей состояний, обозначенных в табл. 1 и соответствующих данному виду отказа (уi)
|
|
(4) |
2.3.7. Вероятность состояния системы yi, находящегося в первой строке таблицы и соответствующего виду отказа элемента xi (отказ первого порядка), вычисляют по формуле
|
|
(5) |
где ![]()
L0 - сумма интенсивностей всех видов отказов элементов системы;
λi - интенсивность i-го отказа (xi) элемента системы.
При L0 £ 0,01 формула упрощается
|
|
(6) |
2.3.8. Вероятность состояния системы yi, находящегося во второй и последующих строках таблицы и соответствующего видам отказов элементов xt и хk (отказ второго порядка), вычисляют по формуле
|
|
(7) |
где

λk - интенсивность k-го отказа (хk) элемента системы при наличии отказа хi, если
![]()
|
|
(8) |
2.3.9. В общем случае вероятность состояний системы yi второго, третьего и т.д. порядков, соответствующая рассматриваемому виду отказа системы, вычисляют по формуле
|
|
(9) |
где λi, λk, λl, ... λm - интенсивности i, k, l ... m-го отказов элементов системы;
-
сумма интенсивностей отказов xp за
исключением хi и
хk;
-
сумма интенсивностей отказов xp за исключением хi, xk, xl.
Если после i-го отказа (i и k и т.д.) отказы a, g ... r невозможны, то в сумму Li (Lik) не входят также интенсивности отказов λa, λg ... λr

2.3.10. Относительную погрешность, обусловленную ограничением расчета отказами элементов порядка r0, вычисляют по формуле
|
|
(10) |
где r0 - наибольшее число отказов элементов, принятое при расчете;
Q - полученная вероятность состояния системы.
Для конкретного вида отказа системы, который может произойти только при наличии определенных видов отказов элементов среди r0 ± 1 отказов, относительную погрешность вычисляют по формуле
|
|
(11) |
где
-
сумма интенсивностей тех видов отказов элементов, без которых невозможен
рассматриваемый вид отказа системы;
Qв.о. - вероятность конкретного вида отказа системы.
2.6. Среднюю наработку системы до конкретного вида отказа вычисляют по формуле
|
|
(12) |
где
P = 1 - Qв.о.
2.7. Порядок расчета показателей безотказности
2.7.2. Отдельные участки схемы системы электроснабжения следует рассматривать как самостоятельные схемы со своими входами и выходами.
2.7.3. Для каждого заданного состояния входов определяют вероятности следующих состояний системы электроснабжения:
нормальной работы,
аварийной работы,
длительной ненормальной работы,
а также вероятности состояний каждой шины и сочетаний шин, обеспечивающих работу приемников 1 и 2-й категорий (частичная работа системы электроснабжения).
Таблица 2
|
Значение показателей безотказности системы электроснабжения |
|||||||||||||||||||
|
Все входы исправны |
Отказ одного входа |
Отказ одного из входов |
Отказ двух входов |
Отказ всех входов |
Исправен один вход |
Исправен один из входов |
Отказ всех двигателей |
||||||||||||
|
1 |
2 |
3 |
4 |
1 и 2 |
1 и 3 |
1 и 4 |
2 и 3 |
2 и 4 |
3 и 4 |
1 |
2 |
3 |
4 |
||||||
|
Нормальная работа |
|||||||||||||||||||
|
Частичная работа |
|||||||||||||||||||
|
Аварийная работа |
|||||||||||||||||||
|
Длительная ненормальная работа |
|||||||||||||||||||
2.7.4. Результаты расчета состояний системы электроснабжения оформляют в виде табл. 2, а результаты расчета состояний каждой шины или сочетания шин могут быть представлены аналогично табл. 2.
2.7.5. Вероятность повышения температуры за допустимые пределы из-за выхода из строя подшипников в системе генерирования и неустраненных коротких замыканий на ЦРУ определяют по формуле
|
Qп.т. =1 - (1 - |
(13) |
где
- вероятность повышения
температуры в канале системы генерирования за допустимые пределы;
п - число каналов системы электроснабжения.
2.7.6. Пример расчета показателей безотказности приведен в справочном приложении 3.
Справочное
ТЕРМИНЫ, ПРИМЕНЯЕМЫЕ В СТАНДАРТЕ, И ИХ ОПРЕДЕЛЕНИЯ
|
Термин |
Определение |
|
Система электроснабжения самолета или вертолета |
ГОСТ 19705-81 |
|
Система генерирования электроэнергии |
ГОСТ 19705-81 |
|
Система распределения электроэнергии |
ГОСТ 19705-81 |
|
Приемник электрической энергии |
ГОСТ 19431-81 |
|
Нормальная работа системы электроснабжения |
|
|
Нормальная работа |
ГОСТ 19705-81 |
|
Частичная работа системы электроснабжения Частичная работа |
ГОСТ 19705-81 |
|
Аварийная работа системы электроснабжения |
ГОСТ 19705-81 |
|
Ненормальная работа системы электроснабжения Ненормальная работа |
ГОСТ 19705-81 |
|
Длительная ненормальная работа системы электроснабжения Длительная ненормальная работа |
Ненормальная работа системы электроснабжения длительностью более 7 с |
|
Центральное распределительное устройство |
Устройство, к которому подключают выходные силовые цепи и цепи контроля системы генерирования, входные цепи системы распределения и линии электропитания приемников электроэнергии |
|
Распределительное устройство |
Устройство, к которому подключают линии питания приемников электроэнергии |
|
Расщепленная линия |
Линия передачи электроэнергии, содержащая в каждой фазе два или более параллельно соединенных проводов |
|
Нерасщепленная линия |
Линия передачи электроэнергии, содержащая в каждой фазе один провод |
Рекомендуемое
ВИДЫ ОТКАЗОВ
1. Виды отказов систем электроснабжения устанавливаются по их влиянию на качество электроэнергии на шинах РУ или на тепловой режим элементов системы электроснабжения.
2. Виды отказов системы электроснабжения (первичной системы генерирования)
2.1. Повышение температуры в системе за допустимые пределы.
2.2. Повышение модуляции напряжения за допустимые для нормальной работы пределы (автоколебания напряжения).
2.3. Повышение модуляции частоты за допустимые для нормальной работы пределы (автоколебания частоты).
2.4. Повышение напряжения за допустимые для нормальной или аварийной работы пределы.
2.5. Понижение напряжения за допустимые для нормальной или аварийной работы пределы.
2.6. Повышение частоты за допустимые для нормальной или аварийной работы пределы.
2.7. Понижение частоты за допустимые для нормальной или аварийной работы пределы.
2.8. Увеличение искажений формы кривой переменного напряжения за допустимые пределы.
2.9. Увеличение небаланса напряжений за допустимые для нормальной или аварийной работы пределы.
2.10. Повышение пульсаций постоянного напряжения за допустимые пределы.
2.11. Отключение определенного числа каналов системы электроснабжения.
3. Виды отказов вторичной системы генерирования постоянного тока соответствуют видам, указанным в пп. 2.1; 2.4; 2.5; 2.10; 2.11.
4. Виды отказов системы распределения электроэнергии соответствуют видам, указанным в пп. 2.1; 2.5; 2.11.
5. Виды отказов элементов (функциональных блоков) системы генерирования приведены в табл. 1.
Таблица 1
|
Вид отказа |
Обозначение |
|
|
Привод постоянной частоты вращения |
Снижение частоты за допустимые для нормальной работы пределы, но не ниже допустимого предела для длительной ненормальной работы |
СЧ1 |
|
Снижение частоты за допустимые для длительной ненормальной работы пределы |
СЧ2 |
|
|
Повышение частоты за допустимые для нормальной работы пределы, но не более допустимого предела для длительной ненормальной работы |
ПЧ1 |
|
|
Повышение частоты за допустимые для длительной ненормальной работы пределы |
ПЧ2 |
|
|
Повышение модуляции частоты за допустимые пределы |
мч |
|
|
Повышение температуры за допустимые пределы |
птп |
|
|
Генератор переменного (постоянного) тока |
Короткое замыкание в якоре генератора |
Г1 |
|
Снижение напряжения на выходе генератора (в точке регулирования) за допустимые для длительной ненормальной работы пределы |
Г2 |
|
|
Отказ подшипников |
Г3 |
|
|
Обрыв обмотки переменного (постоянного) тока |
Г4 |
|
|
Фидер генератора |
Обрыв фидера генератора |
Ф1 |
|
Короткое замыкание фидера генератора |
Ф2 |
|
|
Регулятор напряжения |
Снижение напряжения в точке регулирования за допустимые пределы для длительной ненормальной работы |
РН1 |
|
Повышение напряжения в точке регулирования за допустимые для длительной ненормальной работы пределы |
РН2 |
|
|
Нарушение распределения реактивных мощностей (для постоянного тока активных мощностей) |
РН3 |
|
|
Повышение модуляции напряжения за допустимые пределы |
РН4 |
|
|
Отказ ограничителя напряжения |
РН5 |
|
|
Снижение напряжения в точке регулирования за допустимые для нормальной работы пределы, но не ниже допустимого предела для длительной ненормальной работы |
РН6 |
|
|
Повышение напряжения в точке регулирования за допустимые для нормальной работы пределы, но не более допустимого предела для длительной ненормальной работы |
РН7 |
|
|
Корректор частоты |
Повышение частоты за допустимые для нормальной работы пределы, но не более допустимого для длительной ненормальной работы предела |
КР1 |
|
Повышение модуляции частоты за допустимые пределы |
КР2 |
|
|
Ложное отключение от параллельной работы |
КР3 |
|
|
Понижение частоты за допустимые для нормальной работы пределы, но не ниже допустимого предела для длительной ненормальной работы |
КР4 |
|
|
Нарушение распределения активной мощности |
КР5 |
|
|
Выпрямительное устройство |
Короткое замыкание обмоток трансформатора |
В1 |
|
Повышение пульсаций напряжения за допустимые пределы |
В2 |
|
|
Отказ вентилятора |
В3 |
|
|
Трансформатор тока |
Отказ защиты от короткого замыкания |
ТТ1 |
|
Отказ трансформатора системы регулирования активной мощности |
ТТ2 |
|
|
Отказ трансформатора защиты по полной мощности |
ТТ3 |
|
|
Отказ трансформатора системы регулирования реактивной мощности |
ТТ4 |
|
|
Аппаратура защиты и управления каналом генерирования |
Ложное отключение канала |
ЗУ1 |
|
Несрабатывание защиты от короткого замыкания |
ЗУ2 |
|
|
Несрабатывание защиты от повышения напряжения |
ЗУ3 |
|
|
Несрабатывание защиты от понижения напряжения |
ЗУ4 |
|
|
Несрабатывание защиты от несимметрии напряжения |
ЗУ5 |
|
|
Несрабатывание защиты от повышения частоты, если частота в системе находится в диапазоне 420 - 480 Гц или понижения частоты, если частота в системе находится в диапазоне 380 - 320 Гц |
ЗУ6 |
|
|
Несрабатывание защиты от понижения частоты до значения менее 320 Гц |
ЗУ7 |
|
|
Несрабатывание защиты от повышения частоты до значения более 480 Гц |
зу8 |
|
|
Ложное отключение от повышенного или пониженного напряжения из-за несрабатывания дискриминатора |
ЗУ9 |
|
|
Невключение контактора параллельной работы |
ЗУ10 |
|
|
Потеря сигнала на включение контактора параллельной работы |
ЗУ11 |
|
|
Несрабатывание логики защиты от неравномерного распределения токов в каналах системы (DI) |
ЗУ12 |
|
|
Отсутствие расшунтирования уравнительных цепей защиты по DI |
ЗУ13 |
|
|
Отказ общей части всех видов защиты канала генерирования |
ЗУ14 |
|
|
Аккумуляторная батарея |
Понижение напряжения за допустимые для аварийной работы пределы |
А1 |
|
Повышение температуры за допустимые пределы |
А2 |
|
|
Преобразователь |
Понижение напряжения и (или) частоты за допустимые для аварийной работы пределы |
ПР1 |
|
Повышение температуры за допустимые пределы |
ПР2 |
6. Виды отказов элементов системы распределения электроэнергии приведены в табл. 2.
Таблица 2
|
Вид отказа |
Обозначение |
|
|
Шины РУ |
Короткое замыкание (КЗ) шины на корпус |
Ш1 |
|
Электрические провода |
Короткое замыкание |
П1 |
|
Обрыв провода |
П2 |
|
|
Электрические соединители, болтовые соединения, пайки и другие элементы электрических соединений |
Обрыв цепи |
Б1 |
|
Аппараты защиты |
Обрыв цепи |
АЗ1 |
|
Коммутационный аппарат-контактор (реле) |
Обрыв обмотки контактора |
К1 |
|
Замыкание нормально-разомкнутых контактов |
К2 |
|
|
Незамыкание нормально-разомкнутых контактов |
К3 |
|
|
Аппарат переключения шин |
Выдача ложного сигнала на переключение шины |
АПП1 |
|
Потеря управления исполнительными цепями |
АПП2 |
Справочное
ПРИМЕР РАСЧЕТА ПОКАЗАТЕЛЕЙ БЕЗОТКАЗНОСТИ
1. Описание функционирования системы электроснабжения
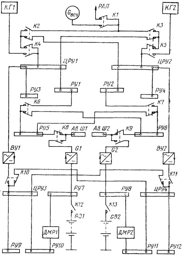
1.1. В качестве примера рассматривается типовая двухканальная система электроснабжения (черт. 1). Первичная система электроснабжения переменного тока состоит из двух каналов, которые могут работать раздельно или параллельно. Вторичная система электроснабжения постоянного тока также состоит из двух раздельно работающих каналов. Каждый канал системы электроснабжения переменного и постоянного тока состоит из системы генерирования и системы распределения электроэнергии соответственно переменного и постоянного тока.
1.2. В состав канала системы генерирования переменного тока (КГ1, КГ2) входят:
привод постоянной частоты вращения (ППЧВ);
генератор переменного тока (ГТ);
блок регулирования напряжения (БРН);
блок защиты и управления (БЗУ);
блок регулирования частоты (БРЧ);
блок трансформаторов тока (БТТ).
Кроме того, в состав системы генерирования для удобства расчета включена коммутационная аппаратура, фильтры локализации радиопомех, ЦРУ, линии и аппаратура переключения ЦРУ.
Черт. 1
В состав канала системы распределения электроэнергии переменного тока входят:
РУ, соединенные линиями с соответствующими ЦРУ, в данном примере в один канал входят РУ1, РУ3 и РУ5, а в другой - РУ2, РУ4, РУ6 (см. черт. 1);
трехфазные линии, соединяющие соответствующие РУ и ЦРУ;
аппаратура коммутации и защиты сети;
автоматы переключения шин (АПШ).
Следует учитывать, что основные линии расщепленные, каждая фаза содержит три провода; резервные линии нерасщепленные.
В состав канала системы генерирования постоянного тока (ВУ1, ВУ2) входят:
выпрямительное устройство (ВУ), питающееся от ЦРУ (или РУ) соответствующего канала системы электроснабжения переменного тока;
аппаратура и линии переключения ЦРУ постоянного тока;
ЦРУ постоянного тока;
аппаратура защиты фидера ВУ и линий переключения.
В состав канала системы распределения электроэнергии постоянного тока входят:
РУ, соединенные линиями с соответствующими ЦРУ, в данном примере в один канал входят РУ7, РУ9, РУ10, а в другой - РУ8, РУ11, РУ12 (см. черт. 1);
линии соединяющие РУ и ЦРУ соответствующего канала системы распределения электроэнергии;
аппаратура защиты и коммутации сети.
Каждый канал системы электроснабжения переменного тока может работать независимо от другого канала. При выходе из строя одного из каналов системы генерирования (генератора, привода, двигателя и т.д.) аппаратура защиты системы генерирования (БЗУ) выдает сигнал на отключение и подключение его к исправному каналу системы генерирования (исправному ЦРУ). В системе распределения электроэнергии переменного тока предусмотрено резервирование питания РУ5 и РУ6. При отклонениях напряжения и частоты за допустимые ГОСТ 19705-81 пределы для нормального режима АПШ выдает сигнал на отключение РУ5 (РУ6) от соответствующего канала системы распределения электроэнергии и подключение его к РУ6 (РУ5) другого канала системы распределения электроэнергии.
В системе электроснабжения имеются также аварийные источники электроэнергии - аккумуляторные батареи (GB1, GB2) и статические преобразователи (G1, G2), работа которых необходима при отказе основных источников электроэнергии - генераторов переменного тока и (или) других элементов системы генерирования, приводящих к обесточиванию ЦРУ1 и ЦРУ2.
Для обеспечения электропитанием оборудования при подготовке полета или наземной отладке оборудования устанавливается вспомогательный источник электроэнергии (Gвсу), который может использоваться также при частичной работе, после его запуска от аккумуляторной батареи.
2. Разделение системы электроснабжения на отдельные функциональные части
Требуемое качество электроэнергии должно поддерживаться на выводах приемников по ГОСТ 19705-81, при этом соответствующее качество электроэнергии в точке регулирования (на ЦРУ) обеспечивается системой генерирования. Таким образом, система генерирования обеспечивает качество электроэнергии на ЦРУ, соответствующее требованиям ГОСТ 19705-81 для точки регулирования, а качество электроэнергии на выводах приемников обеспечивает система распределения электроэнергии при условии, что в точке регулирования качество электроэнергии соответствует требованиям ГОСТ 19705-81.
В соответствии с п. 2.7.1 настоящего стандарта система электроснабжения должна быть разделена на систему генерирования и систему распределения электроэнергии. В данном примере имеются первичная и вторичная системы электроснабжения (соответственно переменного и постоянного тока), поэтому схема (см. черт. 1) разделена на четыре части:
система генерирования переменного тока;
система распределения электроэнергии переменного тока;
система генерирования постоянного тока;
система распределения электроэнергии постоянного тока.
3. Система генерирования переменного тока
3.1. Из схемы (см. черт. 1) видно, что система генерирования переменного тока имеет четыре входа и четыре выхода, причем входы, работающие в аварийном режиме, не зависят от входов основных систем генерирования, поэтому схема при питании от основных источников может рассматриваться отдельно от схемы системы генерирования, работающей в аварийном режиме. Часть схемы, включающая генератор, установленный на вспомогательной силовой установке (Gвсу), розетку аэродромного питания (РАП), контактор К1, нормально-разомкнутые контакты контакторов К2 и К3, а также линии, соединяющие Gвсу, РАП, K1, K2 и К3, работает при отключенных каналах системы генерирования КГ1 и КГ2. Это позволяет схему системы генерирования яри нормальной работе представить как указано на черт. 2.
Для расчета показателей безотказности работы схемы (см. черт. 2) предварительно определяют вероятность безотказной работы одного раздельно работающего КГ1 (КГ2), до контактов контактора К4 (К5).
Черт. 2
3.2. Принятые при расчете интенсивности отказов отдельных элементов (блоков) канала системы генерирования до включающего контактора приведены в табл. 1.
Таблица 1
|
Вид отказа |
Условное обозначение |
Интенсивность отказа, 1/ч |
|
|
Привод постоянной частоты вращения |
Снижение частоты ниже 380 Гц, но не ниже 320 Гц |
СЧ1 |
0,300 · 10-4 |
|
Повышение частоты выше 420 Гц, но не более 480 Гц |
ПЧ1 |
0,150 · 10-4 |
|
|
Снижение частоты до значения менее 320 Гц |
СЧ2 |
0,250 · 10-4 |
|
|
Повышение частоты до значения более 480 Гц |
ПЧ2 |
0,200 · 10-4 |
|
|
Генератор |
Короткое замыкание в якоре генератора |
П |
0,020 · 10-4 |
|
Снижение напряжения до значения менее 101 В |
Г2 |
0,013 · 10-4 |
|
|
Отказ подшипников |
Г3 |
0,039 · 10-4 |
|
|
Обрыв обмотки переменного тока |
Г4 |
0,013 · 10-4 |
|
|
Фидер генератора длиной 20 м |
Обрыв фидера генератора |
Ф1 |
0,003 · 10-4 |
|
Короткое замыкание фидера генератора |
Ф2 |
0,003 · 10-4 |
|
|
Регулятор напряжения |
Снижение напряжения до значения менее 101 В |
РН1 |
0,854 · 10-4 |
|
Повышение напряжения до значения более 133 В |
РН2 |
0,370 · 10-4 |
|
|
Повышение модуляции напряжения за допустимые пределы |
РН4 |
0,036 · 10-4 |
|
|
Отказ ограничителя напряжения |
РН5 |
0,029 · 10-4 |
|
|
Корректор частоты |
Повышение частоты |
KP1 |
1,690 · 10-4 |
|
Повышение модуляции частоты за допустимые пределы |
КР2 |
0,127 · 10-4 |
|
|
Понижение частоты |
КР4 |
1,690 · 10-4 |
|
|
Трансформаторы тока |
Отказ защиты от короткого замыкания |
ТТ1 |
0,436 · 10-4 |
|
Аппаратура защиты и управления каналом системы генерирования |
Ложное отключение канала |
ЗУ1 |
1,120 · 10-4 |
|
Несрабатывание защиты от короткого замыкания |
ЗУ2 |
0,056 · 10-4 |
|
|
Несрабатывание защиты от повышения напряжения |
ЗУ3 |
0,089 · 10-4 |
|
|
Несрабатывание защиты от понижения напряжения |
ЗУ4 |
0,081 · 10-4 |
|
|
Несрабатывание защиты от несимметрии напряжения |
ЗУ5 |
0,100 · 10-4 |
|
|
Несрабатывание защиты от повышения частоты, срабатывающей в диапазоне 412 - 480 Гц, или понижения частоты, срабатывающей в диапазоне 380 - 320 Гц |
ЗУ6 |
0,101 · 10-4 |
|
|
Несрабатывание защиты от понижения частоты до значения менее 320 Гц |
ЗУ7 |
0,129 · 10-4 |
|
|
Несрабатывание защиты от повышения частоты до значения более 480 Гц |
ЗУ8 |
0,143 · 10-4 |
|
|
Отказ общей части всех видов защиты канала системы генерирования |
ЗУ14 |
0,140 · 10-4 |
|
|
Электрический провод межблочных соединений канала системы генерирования |
Обрыв одного из двух проводов питания контактора (включение генератора) |
П2гр |
0,002 · 10-4 |
|
Короткое замыкание одного из двух проводов питания контактора (включение генератора) |
П1гр |
0,002 · 10-4 |
3.3. Для составления таблицы несовместных состояний канала системы генерирования необходимо группировать отдельные виды отказов элементов, приводящих к одинаковым состояниям канала системы генерирования, независимо от порядка их возникновения.
В табл. 2 приняты следующие обозначения:
х1 - отказ подшипников
λ1 = λГ3 = 0,039 · 10-4, 1/ч;
х2 - появление недопустимой модуляции напряжения
λ2 = λPH4 + λKP2 = 0,039 · 10-4, 1/ч;
x3 - повышение напряжения
λ3 = λPH2 = 0,37 · 10-4, 1/ч;
x4 - короткое замыкание якоря генератора
λ4 = λГ1 = 0,02 · 10-4, 1/ч;
х5 - снижение напряжения
λ5 = λГ2 + λPH1 + λП2гр + λП1гр = 0,871 · 10-4, 1/ч;
х6 - обрыв обмотки переменного тока генератора
λ6 = λГ4 = 0,013 · 10-4, 1/ч;
х7 - понижение частоты
λ7 = λКР4 + λСЧ1 = 1,99 · 10-4, 1/ч;
x8 - повышение частоты
λ8 = λКР1 + λПЧ1 = 1,84 · 10-4, 1/ч;
х9 - снижение частоты до значения менее 320 Гц
λ9 = λСЧ2 = 0,25 · 10-4, 1/ч;
х10 - повышение частоты до значения более 480 Гц
λ10 = λПЧ2 = 0,20 · 10-4, 1/ч;
х11 - отказ защиты от короткого замыкания
λ11 = λЗУ2 + λТТ1 = 0,492 · 10-4, 1/ч;
х12 - несрабатывание защиты от повышения напряжения
λ12 = λЗУ3 = 0,20 · 10-4, 1/ч;
х13 - несрабатывание защиты от понижения напряжения
λ13 = λЗУ4 = 0,081 · 10-4, 1/ч;
х14 - несрабатывание защиты от несимметрии напряжения
λ14 = λЗУ5 = 0,1 · 10-4, 1/ч;
х15 - несрабатывание защиты от повышения частоты, срабатывающей в диапазоне 420 - 480 Гц, или понижения частоты, срабатывающей в диапазоне 380 - 320 Гц
λ15 = λЗУ6 = 0,101 · 10-4, 1/ч;
х16 - несрабатывание защиты от понижения частоты до значения менее 320 Гц
λ16 = λЗУ7 = 0,129 · 10-4, 1/ч;
х17 - несрабатывание защиты от повышения частоты до значения более 480 Гц
λ17 = λЗУ8 = 0,143 · 10-4, 1/ч;
х18 - отказ ограничения напряжения
λ18 = λРН5 = 0,029 · 10-4, 1/ч;
х19 - отказ общей части всех видов защиты канала генерирования
λ19 = λЗУ14 = 0,14 · 10-4, 1/ч;
03 - канал генерирования неисправен и есть сигнал на отключение канала;
1 - работоспособное состояние канала (качество электроэнергии соответствует требованиям ГОСТ 19705-79 для нормальной или частичной работы);
ПТ - повышение температуры за допустимые пределы;
М - недопустимая модуляция (автоколебания);
ПН - повышение напряжения;
СН - понижение (снижение) напряжения;
ПЧ - повышение частоты;
СЧ - понижение (снижение) частоты;
НН - недопустимый небаланс напряжений.
В табл. 2 не включены отказы, связанные с ложным отключением канала (ЗУ1), так как этот вид отказа удобнее сгруппировать с отказами контакторов K1 (K2) - незамыканием нормально разомкнутых контактов и. обрывом обмотки.
Вероятности возникновения возможных видов отказов канала (см. табл. 2) вычисляют по формулам:
![]()
где ![]()
Q03 = 16,67 × 10-4;
![]()
![]()
![]()
![]()
![]()
![]()
![]()
Относительную погрешность расчета вероятности того, что канал системы генерирования выйдет из строя и будет сигнал на его отключение (отказ «03»), обусловленная ограничением расчета отказами второго порядка вычисляют по формуле (10) настоящего стандарта:

где ![]()
r0 - наибольшее принятое число отказов элементов, приводящих к отказу канала системы генерирования;
t - время, в течение которого определяется показатель безотказности.
В данном примере r0 = 2, t = 3 ч;
Q03 - вероятность отказа канала системы генерирования и наличия сигнала на его отключение, в данном примере Q03 = 16,67 · 10-4.
Таблица 2
|
Отказы элементов, при которых система генерирования остается работоспособной |
Состояние канала системы генерирования при отказах его элементов |
||||||||||||||||||
|
х1 |
х2 |
х3 |
х4 |
х5 |
х6 |
х7 |
х8 |
х9 |
х10 |
х11 |
х12 |
х13 |
х14 |
х15 |
х16 |
х17 |
х18 |
х19 |
|
|
х0 |
пт |
м |
03 |
03 |
03 |
03 |
03 |
03 |
03 |
03 |
1 |
1 |
1 |
1 |
1 |
1 |
1 |
1 |
1 |
|
х11 |
пт |
м |
03 |
пт |
03 |
03 |
03 |
03 |
03 |
03 |
- |
1 |
1 |
1 |
] |
1 |
1 |
1 |
1 |
|
х12 |
пт |
м |
ПН |
03 |
03 |
03 |
03 |
03 |
03 |
03 |
1 |
- |
1 |
1 |
1 |
1 |
1 |
1 |
1 |
|
х13 |
пт |
м |
03 |
03 |
сн |
03 |
03 |
03 |
03 |
03 |
1 |
1 |
- |
1 |
1 |
1 |
I |
1 |
1 |
|
х14 |
пт |
м |
03 |
03 |
03 |
нН |
03 |
03 |
03 |
03 |
1 |
1 |
1 |
- |
1 |
1 |
1 |
1 |
1 |
|
х15 |
пт |
м |
03 |
03 |
03 |
03 |
сч |
пч |
03 |
03 |
1 |
1 |
1 |
1 |
- |
1 |
1 |
1 |
1 |
|
х16 |
пт |
м |
03 |
03 |
03 |
03 |
03 |
03 |
сч |
03 |
1 |
1 |
1 |
1 |
1 |
- |
1 |
1 |
1 |
|
х17 |
пт |
м |
03 |
03 |
03 |
03 |
03 |
03 |
03 |
пч |
1 |
1 |
1 |
1 |
1 |
1 |
- |
1 |
1 |
|
х18 |
пт |
м |
03 |
03 |
03 |
03 |
03 |
03 |
03 |
03 |
1 |
1 |
1 |
1 |
1 |
1 |
1 |
- |
1 |
|
х19 |
пт |
м |
ПН |
пт |
сн |
нН |
сч |
пч |
сч |
пч |
1 |
1 |
1 |
1 |
1 |
1 |
1 |
1 |
- |
Относительную погрешность расчета вероятностей видов отказов канала системы генерирования, обусловленную ограничением расчета отказами второго порядка, будем определять по формуле (11) настоящего стандарта.
Повышение температуры возможно при отказе подшипников генератора (λ1) или при коротком замыкании внутри генератора (λ4), (см. табл. 2), поэтому:
![]()
![]()

dr0 £ 1,2 · 10-5.
Аналогичным способом оценивают относительные погрешности расчета недопустимых модуляций напряжения, повышения напряжения и т.д.
Для повышения частоты:
![]()
![]()

dr0 £ 2,08 · 10-2.
Для недопустимого небаланса напряжений:
![]()
![]()

dr0 £ 2,05 · 10-2.
Полученная относительная погрешность вполне приемлема, поэтому отказы более высокого порядка (отказы 3-х, 4-х и т.д. элементов) можно не учитывать.
Значения вероятностей возникновения отказов канала системы генерирования приведены в табл. 3.
3.4. Для составления таблицы несовместных состояний ЦРУ, при условии безотказной работы двигателей, виды отказов каждого канала системы генерирования, приведенных в табл. 3, необходимо дополнить отказами контакторов К1 и К2 резервирующих линий и шин ЦРУ1 и ЦРУ2, табл. 4.
Таблица 3
|
Вероятность отказа, 1/ч |
|
|
03 |
16,670 · 10-4 |
|
пт |
0,117 · 10-4 |
|
м |
0,489 · 10-4 |
|
ПН |
0,381 · 10-8 |
|
сн |
0,865 · 10-8 |
|
пч |
2,250 · 10-8 |
|
сч |
2,470 · 10-8 |
|
нн |
0,014 · 10-8 |
Таблица 4
|
Вид отказа |
Условное обозначение |
Интенсивность отказа λ, 1/ч |
|
|
Контактор K1 (K2) |
Обрыв обмотки контактора |
К11 |
0,08 · 10-6 |
|
(К12) |
|||
|
Замыкание нормально разомкнутых контактов |
К21 |
0,40 · 10-6 |
|
|
(К22) |
|||
|
Незамыкание нормально-разомкнутых контактов |
К31 |
0,50 · 10-6 |
|
|
(К32) |
|||
|
Аппаратура защиты и управления |
Ложное отключение канала |
ЗУ1 |
1,12 · 10-4 |
|
Резервирующая линия ЦРУ и (ЦРУ2) |
Обрыв провода |
П21 |
0,31 · 10-4 |
|
(П22) |
|||
|
Шины ЦРУ1 (ЦРУ2) |
Короткое замыкание шины на корпус |
Ш11 |
0,01 · 10-4 |
|
(Ш12) |
Если требуется рассчитать вероятность возникновения каждого из видов отказов длительной ненормальной работы М, ПН, ПЧ, СЧ, НН, то в таблицу следует включать все виды отказов канала системы генерирования (см. табл. 3).
Расчет вероятностей состояний ЦРУ1 и ЦРУ2 выполнен аналогично расчету (см. табл. 2). В табл. 5 каждая клетка состояния ЦРУ1 и ЦРУ2 разделена горизонтальной линией, верхняя клетка соответствует состоянию ЦРУ1, а нижняя ЦРУ2.
В табл. 5, 6 и 9 приняты следующие обозначения:
0 - напряжение на ЦРУ (РУ) пониженное, соответствующий канал системы генерирования отключен;
1 - работоспособное состояние ЦРУ (РУ);
К - короткое замыкание на ЦРУ;
01 - напряжение на ЦРУ пониженное, соответствующий канал системы генерирования не отключен;
02 - напряжение на ЦРУ ненормальное (любое кроме пониженного), канал системы генерирования не отключен.
Таблица 5
|
Состояния ЦРУ1 и ЦРУ2 при нормальной работе двигателей и отказах элементов системы генерирования |
||||||||||||||
|
x1 |
x2 |
x3 |
x4 |
x5 |
x6 |
x7 |
x8 |
x9 |
x10 |
x11 |
x12 |
x13 |
x14 |
|
|
x0 |
1 |
1 |
1 |
1 |
1 |
1 |
1 |
1 |
к |
1 |
01 |
1 |
02 |
1 |
|
1 |
1 |
1 |
1 |
1 |
1 |
1 |
1 |
1 |
к |
1 |
01 |
1 |
02 |
|
|
x1 |
- |
0 |
1 |
- |
0 |
1 |
0 |
1 |
к |
0 |
- |
0 |
- |
0 |
|
- |
0 |
1 |
- |
0 |
1 |
1 |
1 |
1 |
к |
- |
01 |
- |
02 |
|
|
x2 |
0 |
- |
0 |
1 |
1 |
- |
1 |
1 |
к |
1 |
01 |
- |
02 |
- |
|
0 |
- |
0 |
1 |
1 |
- |
1 |
0 |
0 |
к |
0 |
- |
0 |
- |
|
|
x3 |
- |
0 |
- |
- |
0 |
1 |
0 |
1 |
к |
0 |
- |
0 |
- |
0 |
|
- |
0 |
- |
- |
0 |
1 |
1 |
1 |
1 |
к |
- |
01 |
- |
02 |
|
|
x4 |
01 |
1 |
- |
- |
1 |
1 |
1 |
1 |
пт |
1 |
01 |
1 |
02 |
1 |
|
1 |
1 |
- |
- |
1 |
1 |
1 |
1 |
1 |
к |
1 |
01 |
1 |
02 |
|
|
x5 |
0 |
- |
0 |
1 |
- |
- |
1 |
1 |
к |
1 |
01 |
- |
02 |
- |
|
0 |
- |
0 |
1 |
- |
- |
- |
0 |
0 |
к |
0 |
- |
0 |
- |
|
|
x6 |
1 |
1 |
1 |
1 |
- |
- |
1 |
1 |
к |
1 |
01 |
1 |
02 |
1 |
|
1 |
01 |
1 |
1 |
- |
- |
1 |
1 |
1 |
пт |
1 |
01 |
1 |
02 |
|
|
x7 |
0 |
1 |
0 |
1 |
1 |
1 |
- |
1 |
к |
- |
01 |
1 |
02 |
1 |
|
1 |
1 |
1 |
1 |
1 |
1 |
1 |
1 |
1 |
к |
1 |
01 |
1 |
02 |
|
|
x8 |
1 |
1 |
1 |
1 |
1 |
1 |
- |
- |
к |
1 |
01 |
1 |
02 |
1 |
|
1 |
0 |
1 |
- |
0 |
- |
1 |
- |
1 |
- |
1 |
01 |
1 |
02 |
|
|
x9 |
- |
- |
1 |
- |
- |
- |
- |
- |
- |
- |
- |
- |
- |
- |
|
1 |
0 |
- |
- |
0 |
1 |
- |
1 |
- |
к |
1 |
01 |
1 |
02 |
|
|
x10 |
0 |
1 |
0 |
1 |
1 |
- |
1 |
1 |
к |
- |
01 |
1 |
02 |
1 |
|
1 |
- |
- |
- |
- |
- |
- |
- |
- |
- |
- |
- |
- |
- |
|
|
x11 |
- |
- |
- |
- |
- |
- |
- |
- |
- |
- |
- |
- |
- |
- |
|
- |
0 |
1 |
1 |
0 |
1 |
i |
1 |
1 |
к |
- |
01 |
- |
02 |
|
|
x12 |
0 |
- |
0 |
1 |
1 |
1 |
1 |
1 |
к |
1 |
01 |
- |
02 |
- |
|
- |
- |
- |
- |
- |
- |
- |
- |
- |
- |
- |
- |
- |
- |
|
|
x13 |
- |
- |
- |
- |
- |
- |
- |
- |
- |
- |
- |
- |
- |
- |
|
- |
0 |
1 |
1 |
0 |
1 |
1 |
1 |
1 |
к |
- |
01 |
- |
02 |
|
|
x14 |
0 |
- |
0 |
1 |
1 |
1 |
1 |
1 |
к |
1 |
01 |
- |
02 |
- |
|
- |
- |
- |
- |
- |
- |
- |
- |
- |
- |
- |
- |
- |
- |
|
Отказы элементов системы в табл. 5 обозначены:
x1 (x2) - отказ первого (второго) канала системы генерирования и есть сигнал на его отключение
(λ1 = λ3 = 5,56 · 10-4, 1/ч);
x3 (x5) - ложное отключение первого (второго) канала системы генерирования
(λ3 = λ5 = 1,12 · 10-4, 1/ч);
x4 (x6) - замыкание нормально-разомкнутых контактов контактора К4 (К5)
(λ4 = λ6 = 0,4 · 10-6, 1/ч);
x7 (x8) - обрыв резервирующей линии ЦРУ1 (ЦРУ2)
(λ7 = λ8 = 0,12 · 10-6, 1/ч);
x9 (x10) - снижение напряжения на ЦРУ1 (ЦРУ2) до нуля
(λ9 = λ10 = 0,001 · 10-6, 1/ч);
x11 (x12) - пониженное напряжение первого (второго) канала системы генерирования и нет сигнала на его отключение
(λ11 = λ12 = 0,288 · 10-8, 1/ч);
x13 (x14) - напряжение первого (второго) канала ненормальное (любое кроме пониженного) и нет сигнала на его отключение
(λ13 = λ14 = 0,163 · 10-4, 1/ч);
Отказы контакторов К4 и К5, приводящие к незамыканию нормально-разомкнутых контактов, объединены с ложным отключением канала системы генерирования ЗУ1,
(λ3 = λ5 = λКЗ + λК1 + λЗУ1 = 1,12 · 10-4, 1/ч).
Определение эквивалентной интенсивности отказа резервной линии по п. 1.4.2.
Отказы отдельных каналов системы генерирования до контакторов К4 и K5 объединены следующим образом:
λ11 = λ12 = λCH = 0,288 · 10-8, 1/ч,
λ13 = λ14 = λM + λПН + λПЧ + λСЧ + λНН = 0,163 · 10-4, 1/ч.
3.5. При отказе одного из двигателей соответствующий канал системы генерирования отключается, схема генерирования приведена на черт. 3
Как видно из схемы, состояние контактора К4 будет постоянное: нормально-замкнутые контакты его будут замкнуты, замыкание нормально-разомкнутых контактов невозможно.
Резервирующая линия ЦРУ2 не влияет на состояние ЦРУ1 и ЦРУ2, поэтому при составлении табл. 6 принято во внимание восемь видов отказов, (см. черт. 3):
х1 - отключение канала
λ1 = 5,58 · 10-4, 1/ч;
х2 - понижение напряжения, канал не отключен
λ2 = 0,288 · 10-8, 1/ч;
Черт. 3
Таблица 6
|
Состояния ЦРУ1 и ЦРУ2 при отказе одного двигателя и отказах элементов системы генерирования |
||||||||
|
x1 |
x2 |
x3 |
x4 |
x5 |
x6 |
x7 |
x8 |
|
|
x0 |
0 |
0 |
0 |
0 |
1 |
0 |
к |
0 |
|
0 |
01 |
02 |
0 |
1 |
1 |
1 |
к |
|
|
x5 |
0 |
0 |
0 |
- |
- |
0 |
к |
0 |
|
01 |
01 |
02 |
- |
- |
1 |
1 |
к |
|
|
x6 |
- |
- |
02 |
- |
- |
- |
- |
- |
|
0 |
01 |
- |
0 |
1 |
- |
1 |
к |
|
|
x7 |
- |
- |
- |
- |
- |
- |
- |
- |
|
0 |
01 |
02 |
0 |
1 |
1 |
- |
к |
|
x3 - повышение напряжения, частоты, канал не отключен
λ3 = 0,518 · 10-8, 1/ч;
x4 - незамыкание контактов К5 с учетом ложной работы аппаратуры защиты канала системы генерирования
λ4 = 1,13 · 10-4, 1/ч;
x5 - замыкание нормально-разомкнутых контактов контактора К5
λ5 = 0,4 · 10-6, 1/ч;
x6 - обрыв резервирующей линии ЦРУ1
λ6 = 31 · 10-6, 1/ч;
х7 - короткое замыкание на шинах ЦРУ1
λ7 = 0,1 · 10-8, 1/ч;
x8 - короткое замыкание на шинах ЦРУ2
λ8 = 0,1 · 10-8, 1/ч.
Результаты расчета условных вероятностей сочетаний состояний ЦРУ1 и ЦРУ2, приведенных в табл. 5 и 6, сведены в табл. 7, при этом все отказы, при которых на ЦРУ1 и ЦРУ2 напряжение соответствует длительной ненормальной работе и хотя бы один канал системы генерирования не отключен, объединены.
Если требуется определить вероятность безотказной работы системы генерирования с учетом отказов двигателя, то для заданной вероятности отказа двигателя Qд ее определяют по формуле
Рсг = Р2д · Рсг/2д + 2Р1д · Рсг/1д + Род · Рсг/од,
где
Р2д = (1 - Q2д)2 - вероятность безотказной работы двух двигателей;
Р1д = Рд · Qд = (1 - Qд) Qд - вероятность того, что отказал только один двигатель (из двух);
Рсг/1д - вероятность безотказной работы системы генерирования при отказе одного двигателя;
Рсг/од - вероятность безотказной работы системы генерирования при отказе двух двигателей;
Род = Q2д - вероятность отказа двух двигателей;
Рсг/2д - условная вероятность безотказной работы системы, генерирования при исправных двух двигателях и т.д.
Аналогично может быть определена вероятность отказа системы генерирования.
Вероятность отказа одного канала системы генерирования из двух составляет 1,9 · 10-6 (при исправных двигателях). Если при этом возникает необходимость отключать часть приемников электроэнергии, то вероятность 1,9 · 10-6 будет вероятностью частичной работы системы электроснабжения. Полученная вероятность, равная 2,2 · 10-10 длительной ненормальной работы, когда каналы системы генерирования не отключаются, являются одним из слагаемых вероятности длительной ненормальной работы системы электроснабжения.
4. Система распределения электроэнергии переменного тока
4.1. Система распределения электроэнергии переменного тока (черт. 4) включает в себя РУ1, РУ2, РУ3, РУ4, РУ5 и РУ6, причем РУ5 и РУ6 резервированы и могут обеспечиваться электроэнергией от обоих независимых каналов системы электроснабжения. Если напряжение на шинах РУ5 снизится за допустимые ГОСТ 19705-81 пределы, то АПШ выдает сигнал на контактор К6, который переключает шины РУ5 на питание от второй системы переменного тока через РУ6. При выходе параметров качества электроэнергии на РУ5 и РУ6 за допустимые ГОСТ 19705-81 пределы, включаются контакторы К8 и К9 и аварийные секции шин РУ5 и РУ6 обеспечиваются электроэнергией от преобразователей с выходным напряжением 115/200 В, частотой 400 Гц, при этом контакторы К8 и К9 отключают аварийные секции шин РУ5 и РУ6 от остальной системы распределения электроэнергии. Виды отказов элементов системы распределения электроэнергии приведены в табл. 8.
Таблица 7
|
Условная вероятность сочетаний состояний ЦРУ |
Состояние системы генерирования |
|||||
|
ЦРУ1 |
ЦРУ2 |
Двигатели исправны |
Отказал только 1-й двигатель |
Отказал только 2-й двигатель |
Отказали оба двигателя |
|
|
Нормальная работа |
Нормальная работа |
0,999994 |
0,9978 |
0,9978 |
0 |
Нормальная работа |
|
Нормальная работа |
Длительная ненормальная работа |
0,95 · 10-6 |
0 |
0,93 · 10-4 |
0 |
Частичная работа |
|
Длительная ненормальная работа |
Нормальная работа |
0,95 · 10-6 |
0,93 · 10-4 |
0 |
0 |
Частичная работа |
|
Длительная ненормальная работа |
Длительная ненормальная работа |
4,10 · 10-6 |
2,04 · 10-3 |
2,04 · 10-3 |
1 |
Длительная ненормальная работа каналов генерирования, установленных на маршевых двигателях |
|
Каналы генерирования отключены |
||||||
|
Длительная ненормальная работа |
Длительная ненормальная работа |
2,20 · 10-10 |
12,30 · 10-8 |
12,30 · 10-8 |
0 |
Длительная ненормальная работа системы |
|
Канал (каналы) генерирования не отключены |
генерирования |
|||||
Черт. 4
Таблица 8
|
Вид отказа |
Условное обозначение вида отказа |
Интенсивность отказов, λ, 1/ч |
|
|
Электрический провод длиной 1 м |
Обрыв провода |
П2 |
0,01 · 10-6 |
|
Короткое замыкание |
П1 |
0,01 · 10-6 |
|
|
Предохранитель |
Обрыв цепи |
А31пр |
0,01 · 10-4 |
|
Трехфазный автомат защиты |
A31 |
0,15 · 10-4 |
|
|
Болтовое соединение |
Б1 |
0,08 · 10-6 |
|
|
Контактор |
Обрыв обмотки |
К1 |
0,08 · 10-6 |
|
Замыкание нормально-разомкнутых контактов |
К2 |
0,40 · 10-6 |
|
|
Незамыкание нормально-разомкнутых контактов |
К3 |
0,50 · 10-6 |
|
|
Автомат переключения шин |
Выдача ложного сигнала на переключение шины |
АПШ1 |
0,50 · 10-4 |
|
Потеря управления исполнительными цепями |
АПШ2 |
0,40 · 10-4 |
|
|
Шины РУ |
Короткое замыкание на корпус |
Ш1 |
0,01 · 10-7 |
4.2. Линии питания одной фазы конкретного РУ, например, РУ1, РУ2, РУ3 и РУ4 приведены на черт. 5. Все возможные отказы элементов линии приводят к обрыву цепи (провода), включая короткое замыкание на корпус, так как при коротком замыкании срабатывают предохранители.
Черт. 5
Последовательно с каждым проводом включены два предохранителя, укрепленные четырьмя болтами. Интенсивность отказов последовательно соединенных проводов, предохранителей (или автомата защиты), болтовых соединений вычисляют по формулам:
λ1П = (λП2 + λП1)l + 2λА31пр + 4λБ1
- если провод защищен предохранителями с двух сторон или
λ1П = (λП2 + λП1)l
- автомат защиты при этом учитывается при определении интенсивности отказа линии (см. ниже).
Для РУ1 (РУ2), при длине линии l = 10 м, провод защищен с двух сторон предохранителями
λ1П1 = [(0,01 + 0,01) · 10 + 10 · 2 + 0,08 · 4] · 10-6 1/ч = 20,54 · 10-6, 1/ч.
Для РУ3 (РУ4), при длине l = 25 м, провод защищен с двух сторон
λ1П3 = [(0,01 + 0,01) · 25 + 10 · 2 + 0,08 · 4] · 10-6 1/ч = 20,82 · 10-6, 1/ч.
Линии, соединяющие ЦРУ1 с РУ1 и РУ3, а также ЦРУ2 с РУ2 и РУ4, расщепленные, в каждой фазе линии проложено по три провода, при этом отказ линии наступает при отказе любых двух проводов фазы линии. В соответствии с п. 2.1.3 настоящего стандарта интенсивность отказа любой фазы основной линии будет равна:
для РУ1 (РУ2)
![]()
для РУ3 (РУ4)
![]()
Нерасщепленная резервирующая линия РУ5 (РУ6), защищенная трехфазным автоматом защиты с одной стороны, при длине линии 6 м, будет иметь интенсивность отказов, равную
λ1ФПрез = [(0,01 + 0,01) · 10-6] · 6 = 0,12 · 10-6, 1/ч
(без учета аппаратуры защиты)
4.3. Отказ трехфазной линии происходит при отказе любой из трех однофазных линий, поэтому для основных линий интенсивность отказа будет равна:
λЛ1 = 3λЛФ1 = 3,78 · 10-9 · 3 = 11,3 · 10-9, 1/ч;
λЛ3 = 3λЛФ3 = 3,92 · 10-9 · 3 = 11,8 · 10-9, 1/ч;
для резервных линий
λЛ3р = 3λ1Фрез + λА31 + 2λБ1 = 15,52 · 10-6, 1/ч.
4.4. Вероятности безотказной работы РУ1, РУ2, РУ3 и РУ4 для различных состояний ЦРУ1 и ЦРУ2 могут быть определены непосредственно по интенсивностям отказов линий и возникновению коротких замыканий на этих РУ.
При исправном состоянии ЦРУ1:
![]()
![]()
где Р1 и P3 - вероятности безотказной работы соответственно РУ1 и РУ3.
Для РУ2 и РУ4 величины будут такие же:
Р2 = Р1 и P4 = P3.
4.5. Распределительные устройства РУ5 и РУ6 имеют между собой связи через резервирующие линии и контакторы К6 и К7, управляемые автоматами переключения шин АПШ1 и АПШ2.
При составлении табл. 9 несовместных состояний РУ5 и РУ6 приняты следующие обозначения:
x1 - короткое замыкание на РУ5
(λ1 = 0,001 · 10-6, 1/ч);
x2 - короткое замыкание на РУ6
(λ2 = 0,001 · 10-6, 1/ч);
х3 - отказ линии РУ5, включая отказ контактора К6 (незамыкание, обрыв обмотки)
(λ3 = 1,3 · 10-6, 1/ч);
x4 - отказ линии РУ6, включая отказ контактора К7 (незамыкание, обрыв обмотки)
(λ4 = 1,3 · 10-6, 1/ч);
x5 - отказ резервирующей линии РУ5 с учетом замыкания нормально-разомкнутых контактов К6
(λ5 = 15,52 · 10-6, 1/ч);
x6 - отказ резервирующей линии РУ6 с учетом замыкания нормально-разомкнутых контактов К7
(λ6 = 15,52 · 10-6, 1/ч);
x7 - ложное срабатывание АПШ1
(λ7 = 50 · 10-6, 1/ч);
x8 - потеря сигнала АПШ1 на переключение шин
(λ8 = 40 · 10-6, 1/ч);
х9 - ложное срабатывание АПШ2
(λ9 = 50 · 10-6, 1/ч);
x10 - потеря сигнала АПШ2 на переключение шин
(λ10 = 40 · 10-6, 1/ч).
Таблица 9
|
Отказы элементов, при которых РУ5 (РУ6) остается работоспособным |
Состояния РУ5 и РУ6 при нормальной работе ЦРУ1 и ЦРУ2 и отказах элементов системы распределения |
|||||||||
|
x1 |
x2 |
x3 |
x4 |
x5 |
x6 |
x7 |
x8 |
x9 |
x10 |
|
|
x0 |
0 |
1 |
1 |
1 |
1 |
1 |
1 |
1 |
1 |
1 |
|
1 |
0 |
1 |
1 |
1 |
1 |
1 |
1 |
1 |
1 |
|
|
x1 |
- |
- |
- |
- |
- |
- |
- |
- |
- |
- |
|
- |
0 |
1 |
0 |
1 |
1 |
1 |
1 |
0 |
1 |
|
|
x2 |
0 |
- |
0 |
1 |
1 |
1 |
0 |
1 |
1 |
1 |
|
- |
- |
- |
- |
- |
- |
- |
- |
- |
||
|
x3 |
0 |
0 |
- |
0 |
0 |
1 |
- |
- |
0 |
1 |
|
1 |
0 |
- |
0 |
1 |
1 |
- |
- |
0 |
1 |
|
|
x4 |
0 |
1 |
0 |
- |
1 |
1 |
0 |
1 |
- |
- |
|
0 |
0 |
0 |
- |
1 |
0 |
0 |
1 |
- |
- |
|
|
x5 |
0 |
1 |
0 |
1 |
- |
1 |
0 |
1 |
1 |
1 |
|
1 |
0 |
1 |
1 |
- |
1 |
1 |
1 |
1 |
1 |
|
|
x6 |
0 |
1 |
1 |
1 |
1 |
- |
1 |
1 |
1 |
1 |
|
1 |
0 |
1 |
0 |
1 |
- |
1 |
1 |
0 |
1 |
|
|
x7 |
0 |
0 |
1 |
0 |
0 |
1 |
- |
- |
1 |
1 |
|
1 |
0 |
1 |
0 |
1 |
1 |
- |
- |
1 |
1 |
|
|
x8 |
0 |
1 |
0 |
1 |
1 |
1 |
- |
- |
1 |
1 |
|
1 |
0 |
1 |
1 |
1 |
1 |
- |
- |
1 |
1 |
|
|
x9 |
0 |
1 |
0 |
1 |
1 |
1 |
1 |
1 |
- |
- |
|
0 |
0 |
0 |
1 |
1 |
0 |
1 |
1 |
- |
- |
|
|
x10 |
0 |
1 |
1 |
1 |
1 |
1 |
1 |
1 |
- |
|
|
1 |
0 |
1 |
0 |
1 |
1 |
1 |
1 |
- |
- |
|
Расчет (см. табл. 9) показывает, что при условии нормальной работы РУ1 и РУ2 условные вероятности состояний РУ5 и РУ6 будут равны:
|
нормальная работа обоих РУ (РУ5 и РУ6) |
- 0,9999994 |
|
нормальная работа только РУ5 |
- 0,3 · 10-6 |
|
нормальная работа только РУ6 |
- 0,3 · 10-6 |
|
длительная ненормальная работа обоих РУ (РУ5 и РУ6) |
- 2,63 · 10-10. |
При отказе одного из РУ, например РУ1, автомат АПШ1 переключает РУ5 на электропитание от РУ6, система распределения переменного тока при этом будет иметь вид, приведенный на черт. 6.
Черт. 6
Система распределения электроэнергии будет иметь один вход со стороны ЦРУ2, поэтому отказы x3, x6, x7, x8 и x10 (см. табл. 9) не будут влиять на состояния РУ5 и РУ6.
Порядок возникновения оставшихся видов отказов не влияет на состояния РУ5 и РУ6, поэтому расчет системы распределения электроэнергии (см. черт. 6) может быть выполнен методом логических схем.
Условная вероятность отказа РУ6 будет равна:
Q6 = (λ2 + λ4 + λ9) · t = (0,001 + 1,30 + 50) · 10-6 · 3 = 1,54 · 10-4.
Условная вероятность отказа РУ5 будет равна:
Q5 = (λ2 + λ4 + λ9 + λ1 + λ4) · t = 1,58 · 10-4.
Условная вероятность отказа одновременно РУ3 и РУ4 при питании от ЦРУ2 (исправен вход 2 (см. черт. 6):
Q5,6 = Q6 = 1,54 · 10-4.
При отказе ЦРУ2 и исправном ЦРУ1 величины вероятностей отказов не изменяются, при этом значения вероятностей состояний РУ3 и РУ4 поменяются местами.
4.6. Состояния РУ1, РУ2, РУ3 и РУ4 для заданного состояния ЦРУ1 и ЦРУ2 следует считать независимыми одно от другого, а также от состояний РУ5 и РУ6.
При исправном ЦРУ1 (ЦРУ2) условная вероятность отказа РУ1, РУ3 (РУ2, РУ4) равна соответственно 3,61 · 10-8 и 3,63 · 10-8 независимо от состояния ЦРУ2 (ЦРУ1). Отказ ЦРУ1 (ЦРУ2) приводит к отказу РУ1 и РУ3 (РУ2 и РУ4) (см. табл. 10).
Таблица 10
|
Сочетание состояний |
Условная вероятность сочетаний состояний РУ1 и РУ2 |
||
|
РУ1 |
РУ2 |
||
|
Нормальная работа ЦРУ1 и ЦРУ2 |
Нормальная работа |
Нормальная работа |
0,9999999278 |
|
Нормальная работа |
Длительная ненормальная работа |
3,61 · 10-8 |
|
|
Длительная ненормальная работа |
Нормальная работа |
3,61 · 10-8 |
|
|
Длительная ненормальная работа |
Длительная ненормальная работа |
13,03 · 10-16 |
|
|
Нормальная работа только ЦРУ1 |
Нормальная работа |
Нормальная работа |
0 |
|
Нормальная работа |
Длительная ненормальная работа |
0,9999999639 |
|
|
Длительная ненормальная работа |
Нормальная работа |
0 |
|
|
Длительная ненормальная работа |
Длительная ненормальная работа |
3,61 · 10-8 |
|
|
Нормальная работа только ЦРУ2 |
Нормальная работа |
Нормальная работа |
0 |
|
Нормальная работа |
Ненормальная работа |
0 |
|
|
Длительная ненормальная работа |
Нормальная работа |
0,9999999639 |
|
|
Длительная ненормальная работа |
Длительная ненормальная работа |
3,61 · 10-8 |
|
|
Длительная ненормальная работа ЦРУ1 и ЦРУ2 |
Длительная ненормальная работа |
Длительная ненормальная работа |
1 |
Для распределительных устройств РУ3 и РУ4 может быть составлена таблица, аналогичная табл. 10, при этом вместо РУ1 следует записать РУ3, а вместо РУ2 - РУ4. Вероятности также будут близкие соответствующим вероятностям табл. 10, при этом вместо 0,9999999278; 3,61 · 10-8 и 13,03 · 10-16 должны быть внесены соответственно 0,9999909274; 3,63 · 10-8 и 13,18 · 10-16.
В табл. 11 приведены условные вероятности сочетания состояний распределительных устройств РУ5 и РУ6 для различных состояний РУ1 и РУ2.
Таблица 11
|
Сочетание состояний |
Условная вероятность сочетания состояний РУ |
||
|
РУ5 |
РУ6 |
||
|
РУ1 нормальная работа |
Нормальная работа |
Нормальная работа |
0,9999994 |
|
Нормальная работа |
Длительная ненормальная работа |
0,3 · 10-6 |
|
|
РУ2 нормальная работа |
Длительная ненормальная работа |
Нормальная работа |
0,3 · 10-6 |
|
Длительная ненормальная работа |
Длительная ненормальная работа |
2,63 · 10-10 |
|
|
РУ1 нормальная работа |
Нормальная работа |
Нормальная работа |
0,999842 |
|
Нормальная работа |
Длительная ненормальная работа |
4 · 10-6 |
|
|
РУ2 длительная ненормальная работа |
Длительная ненормальная работа |
Нормальная работа |
0 |
|
Длительная ненормальная работа |
Длительная ненормальная работа |
1,54 · 10-4 |
|
|
РУ1 длительная ненормальная работа |
Нормальная работа |
Нормальная работа |
0,999842 |
|
Нормальная работа |
Длительная ненормальная работа |
0 |
|
|
РУ2 нормальная работа |
Длительная ненормальная работа |
Нормальная работа |
4 · 10-6 |
|
Длительная ненормальная работа |
Длительная ненормальная работа |
1,54 · 10-4 |
|
|
РУ1, РУ2 длительная ненормальная работа |
Длительная ненормальная работа |
Длительная ненормальная работа |
1 |
С помощью табл. 7, 10, 11 и элементарных формул теории вероятностей можно определить вероятности нормальной, частичной, аварийной и длительной ненормальной работы любого заданного сочетания РУ для заданных состояний входов (двигателей).
Для расчета вероятностей состояний РУ5 и РУ6 рассчитывают вероятности состояний РУ1 и РУ2 при исправных двигателях по формуле
Р1,2 = РЦРУ1,2 · Р1,2/ЦРУ1,2 + РЦРУ1 · Р1,2/ЦРУ1 + РЦРУ2 · Р1,2/ЦРУ2,
где Р1,2 - вероятность нормальной работы РУ1 и РУ2;
Р1,2/ЦРУ1,2 - условная вероятность нормальной работы РУ1 и РУ2 при нормальной работе ЦРУ1 и ЦРУ2;
Р1,2/ЦРУ1 - условная вероятность нормальной работы РУ1 и РУ2 при нормальной работе только ЦРУ1 (и отказе ЦРУ2);
Р1,2/ЦРУ2 - условная вероятность нормальной работы РУ1 и РУ2 при нормальной работе только ЦРУ2 (и отказе ЦРУ1);
РЦРУ1,2 - условная вероятность нормальной работы ЦРУ1 и ЦРУ2 при нормальной работе двигателей;
РЦРУ1 - условная вероятность нормальной работы только ЦРУ1 и (отказ ЦРУ2) при нормальной работе двигателей;
РЦРУ2 - условная вероятность нормальной работы только ЦРУ2 (и отказ ЦРУ1) при нормальной работе двигателей.
Подставляя из табл. 7 и 10 значения вероятностей получим:
Р1,2 = (1 - 6 · 10-6) (1 - 7,22 · 10-8)
+ 0,95 · 10-6 · 0 + 0,95 · 10-6 · 0 = 1 - 6 · 10-6
-
- 7,22 · 10-8 + 6 · 7,22 · 10-14;
Вероятность нормальной работы только РУ1 (P1) (и длительная ненормальная работа РУ2);
Р1 = РЦРУ1,2 · Р1/ЦРУ1,2 + РЦРУ1 · Р1/ЦРУ1 + РЦРУ2 · Р1/ЦРУ2 = (1 - 6 · 10-6) · 3,61 · 10-8 + 0,95 · 10-6 (1 - 3,61 · 10-8) = 3,61 · 10-8 - 6 · 3,61 · 10-14 + 0,95 · 10-6 - 0,95 · 3,61 · 10-14.
Р1 = 0,9861 · 10-6; Р2 = Р1 = 0,9861 · 10-6.
При отказе одного из РУ будет иметь место частичная работа этих РУ, так как часть приемников электроэнергии будет отключена, вероятность такого события равна сумме:
Р1 + Р2 = 1,9722 · 10-6.
Вероятность длительной ненормальной работы РУ1 и РУ2
QРУ1,2 = РЦРУ1,2 · QРУ1,2/ЦРУ1,2 + РЦРУ1 · QРУ1,2/ЦРУ1 + РЦРУ2 · QРУ1,2/ЦРУ2 + QЦРУ1,2 · QРУ1,2/ЦРУ00,
где QРУ1,2/ЦРУ1,2 - вероятность длительной ненормальной работы РУ1 и РУ2 при нормальной работе ЦРУ1 и ЦРУ2;
QЦРУ1,2 - вероятность длительной ненормальной работы ЦРУ1 и ЦРУ2;
QРУ1,2/ЦРУ00 - вероятность длительной ненормальной работы РУ1 и РУ2 при длительной ненормальной работе ЦРУ1 и ЦРУ2.
Подставляя значения вероятностей, получим:
QРУ1,2 = (1 - 6 · 10-6) · 13,03 · 10-16 + 0,95 · 10-6 · 3,61 · 10-8 + 0,95 · 10-6 · 0 + 4,1 · 10-6 · 1;
QРУ1,2 = 4,1 · 10-6.
Аналогично рассчитываются нормальная, частичная и длительная ненормальная работа при отказах двигателей. Результаты этих расчетов приведены в табл. 12.
Для РУ5 и РУ6 вероятность аварийной работы равна нулю (см. табл. 12), это объясняется тем, что при аварийной работе системы электроснабжения подключены только аварийные шины (см. черт. 1), все остальные шины, включая РУ5 и РУ6, отключены.
Для отдельного РУ, например РУ5, не будет и частично работы, если во вторичной системе распределения электроэнергии не предусмотрено отключение части приемников электроэнергии при отказе одного из каналов системы генерирования.
Таблица 12
|
Значение вероятности состояний РУ5 и РУ6 |
|||||
|
Оба двигателя исправны |
Отказ двигателя |
Отказ одного из двух двигателей |
Отказ двух двигателей |
||
|
1-го |
2-го |
||||
|
Нормальная работа |
0,9999939278 |
0,9978 |
0,9978 |
0,9956 |
0 |
|
Частичная работа |
1,9722 · 10-6 |
0,09 · 10-3 |
0,09 · 10-3 |
0,18 · 10-3 |
0 |
|
Аварийная работа |
0 |
0 |
0 |
0 |
0 |
|
Длительная ненормальная работа |
4,1 · 10-6 |
2,11 · 10-3 |
2,11 · 10-3 |
4,22 · 10-3 |
1 |
В табл. 13 приведены результаты расчетов состояний РУ5 при условии, что выход из строя одного из каналов системы генерирования ведет к отключению части приемников электроэнергии, питающихся от РУ5.
Таблица 13
|
Значение вероятности состояний РУ5 |
Отказ двух двигателей |
|||
|
Оба двигателя исправны |
Отказ двигателя |
|||
|
1-го |
2-го |
|||
|
Нормальная работа |
0,9999948139 |
0 |
0 |
0 |
|
Частичная работа |
0 |
0,9978 |
0,99789 |
0 |
|
Длительная ненормальная работа |
5,0861 · 10-6 |
2,20 · 10-3 |
2,11 · 10-3 |
1 |
Расчет показателей безотказности системы электроснабжения постоянного тома проводят аналогично приведенному расчету системы электроснабжения переменного тока, при этом в качестве входов служат ЦРУ1 и ЦРУ2 - места подключения входных цепей преобразователей (ВУ).
5. Расчет вероятностей состояний системы электроснабжения в целом
5.1. Нормальная работа системы электроснабжения в целом будет при нормальной работе всех РУ и нормальной работе двух каналов системы генерирования.
Из табл. 11 следует, что вероятность нормальной работы РУ5 и РУ6 при нормальной работе РУ1 и РУ2 равна 0,9999994, а из табл. 10 вероятность нормальной работы РУ1 и РУ2 при нормально работающих ЦРУ1 и ЦРУ2 равна 0,9999999276.
Вероятность нормальной работы РУ3 и РУ4 при нормальной работе ЦРУ1 и ЦРУ2 равна 0,9999999274. Учитывая, что вероятность нормальной работы ЦРУ1 и ЦРУ2 при исправных двигателях равна 0,999994 и что оба канала системы генерирования будут исправны, вероятность нормальной работы всех РУ и ЦРУ будет равна:
Рнорм.СЭС = (1 - 6 · 10-6) · (1 - 6 · 10-7) · (1 - 7,22 · 10-8) · (1 - 7,26 · 10-8),
Рнорм.СЭС = 1 - 6,75 · 10-6 = 0,99999325.
5.2. Аварийная работа системы электроснабжения будет иметь место при отказе всех каналов системы генерирования, установленных на маршевых двигателях (в данном случае двух), и успешном переключении аварийных шин на электропитание от аварийных источников (см. черт. 1). Успешное переключение аварийных шин на аварийные источники может произойти в случае, если имеется сигнал на переключение (см. табл. 7) или отказ ЦРУ1, ЦРУ2, РУ1, РУ2, РУ5 и РУ6 при частичной или нормальной работе канала системы генерирования. Отказы ЦРУ1 и ЦРУ2 и отключение каналов системы генерирования происходят с вероятностью:
4,1 · 10-6 - если исправны оба двигателя;
2,04 · 10-3 - если отказал конкретный двигатель;
1 - если отказали оба двигателя.
Эти вероятности являются слагаемыми общей вероятности переключения аварийных шин на аварийные источники. Помимо этого, переключение аварийных шин произойдет при отказе РУ5 и РУ6 и нормальной работе всех или части оставшихся РУ. Однако эти состояния следует отнести к частичной работе системы электроснабжения, т.к. в этом случае помимо аварийных шин будет нормально работать хотя бы одно ЦРУ.
Таким образом, вероятность перехода системы электроснабжения в аварийную или длительную ненормальную работу при исправных двигателях равна 4,1 · 10-6.
Вероятность аварийной работы системы электроснабжения вычисляют по формуле
Рав.р.СЭС = QЦРУ1,2;РУ1-6(t1) · РАПШ(t1) · РАБЗ(t1) · РАБР(t2) · РПР(t2),
где Рав.р.СЭС - вероятность переключения системы электроснабжения на аварийную работу;
QЦРУ1,2;РУ1-6 - вероятность длительной ненормальной работы всех РУ;
Рабз, Рабр - вероятность безотказной работы аккумуляторной батареи (включая фидер аккумулятора, аппарат защиты и контактор) соответственно в режиме заряда и разряда;
РпР - вероятность безотказной работы преобразователя (включая линию питания преобразователя, болтовые соединения, аппараты защиты и контактора);
t1 - время от начала полета до обесточивания шин переменного (постоянного) тока;
t2 - время аварийной работы системы электроснабжения;
Рапш - вероятность безотказной работы АПШ, управляющего контакторами К8 и К9.
Принимая вероятности безотказной работы:
РАПШ(t1) = 1 - 1,2 · 10-4 = 0,99988;
РАБЗ(t1) = 1 - 1,5 · 10-3 = 0,9985;
РАБР(t2) = 1 - 0,7 · 10-3 = 0,9993;
РПР(t2) = 1 - 4,5 · 10-4 = 0,99955.
получим:
Рав.р.СЭС = 4,1 · 10-6(1 - 1,2 · 10-4)(1 - 1,5 · 10-3)(1 - 0,7 · 10-3)(1 - 4,5 · 10-4) = 4,1 · 10-6[1 - 7,06 · 10-4] » 4,1 · 10-6.
Таким образом, вероятность аварийной работы системы электроснабжения равна 4,1 · 10-6.
5.3. Вероятность длительной ненормальной работы системы электроснабжения вычисляют по формуле
QСЭС = Q02 + QЦРУ1,2;РУ1-6(t1)[1 - РАПШ(t1) · РАБЗ(t1) · РАБР(t2) · РПР(t2)],
где QСЭС - вероятность длительной ненормальной работы системы электроснабжения;
Q02 - вероятность длительной ненормальной работы системы генерирования и отсутствия сигнала на отключение каналов системы генерирования (табл. 7).
QСЭС = 2,2 · 10-10 + 4,1 · 10-6 · 7,06 · 10-3 = (2,2 + 28,9) · 10-10,
QСЭС = 31,1 · 10-10 = 3,11 · 10-9.
5.4. Вероятность частичной работы системы электроснабжения вычисляют по формуле
Рч.р.СЭС = 1 - Рнорм.СЭС - Рав.р.СЭС - QСЭС = 1 - (1 - 6,75 · 10-6) - 4,1 · 10-6 - 3,11 · 10-9,
Рч.р.сэс = 2,65 · 10-6.
Для случая отказа одного или двух двигателей расчет производится аналогично, при этом вероятность нормальной работы системы электроснабжения будет равна нулю, а вероятности перехода на аварийную или длительную ненормальную работу будут практически равны соответствующим вероятностям длительной ненормальной работы системы генерирования (см. табл. 7) при отказах двигателей.
Результаты расчетов вероятностей состояний системы электроснабжения для различных состояний двигателей приведены в табл. 14.
Таблица 14
|
Значение вероятности состояний системы |
Отказ двух двигателей |
||||
|
Оба двигателя исправны |
Отказ двигателя |
Отказ одного из двигателей |
|||
|
1-го |
2-го |
||||
|
Нормальная работа |
0,90999325 |
0 |
0 |
0 |
0 |
|
Частичная работа |
2,65 · 10-6 |
0,99780 |
0,99789 |
0,99578 |
0 |
|
Аварийная работа |
4,1 · 10-6 |
2,11 · 10-3 |
2,11 · 10-3 |
4,22 · 10-3 |
0,999294 |
|
Длительная ненормальная работа |
3,11 · 10-9 |
12,3 · 10-8 |
12,3 · 10-8 |
24,6 · 10-8 |
7,06 · 10-4 |
5.5. Для самолетов, оборудованных ВСУ, аварийная работа имеет место при длительной ненормальной работе каналов системы генерирования, установленных на маршевых двигателях, и (или) всех РУ в процессе снижения самолета до высоты запуска ВСУ, при этом система электроснабжения питается от аккумуляторных батарей и преобразователей, расчет этого режима аналогичен п. 5.2.
После запуска ВСУ в системе наступит частичная работа системы электроснабжения.
5.6. Вероятность аварийной работы системы электроснабжения, оборудованной ВСУ, определяется по формуле
Рав.р.СЭС = QЦРУ1,2;РУ1-6(t1) · РАПШ(t1) · РАБР(t2) · РАБЗ(t1) · РПР(t2) · Рзап.ВСУ · РСЭСВСУ(t3),
где Рзап.ВСУ - вероятность успешного запуска ВСУ от аккумуляторных батарей (после снижения до высоты запуска);
Рсэсвсу - вероятность безотказной работы системы электроснабжения при питании ее от генератора ВСУ;
t3 - время от момента включения генератора в бортовую сеть до завершения посадки.
5.7. Вероятность длительной ненормальной работы системы электроснабжения, оборудованной ВСУ, определяется по формуле
QСЭС = Q02 + QЦРУ1,2;РУ1-6(t1)[1 - РАПШ(t1) · РАБЗ(t1) · РАБР(t2) · РПР(t2) · Рзап.ВСУ · РСЭСВСУ(t3)].
5.8. Вероятность повышения температуры системы электроснабжения за допустимые пределы вычисляют по формуле
QПТСЭС = 1 - (1 - QПТ)2 = 0,234 · 10-4.
СОДЕРЖАНИЕ