ГОСТ 25021-93
МЕЖГОСУДАРСТВЕННЫЙ СТАНДАРТ
МУФТЫ УПРУГИЕ
С ПРОМЕЖУТОЧНЫМ
ДИСКОМ
ПАРАМЕТРЫ И РАЗМЕРЫ
МЕЖГОСУДАРСТВЕННЫЙ СОВЕТ
ПО СТАНДАРТИЗАЦИИ, МЕТРОЛОГИИ И СЕРТИФИКАЦИИ
Минск
Предисловие
1 РАЗРАБОТАН Научно-исследовательским и проектно-конструкторским институтом редукторостроения (НИИредуктор) Минмашпрома Украины
ВНЕСЕН Государственным комитетом Украины по стандартизации, метрологии и сертификации
2 ПРИНЯТ Межгосударственным Советом по стандартизации, метрологии и сертификации (протокол № 4-93 от 21 октября 1993 г.)
За принятие проголосовали:
|
Наименование государства |
Наименование национального органа по стандартизации |
|
Республика Азербайджан |
Азгосстандарт |
|
Республика Армения |
Армгосстандарт |
|
Республика Белоруссия |
Белстандарт |
|
Республика Грузия |
Грузстандарт |
|
Республика Казахстан |
Госстандарт Республики Казахстан |
|
Киргизская Республика |
Киргизстандарт |
|
Республика Молдова |
Молдовастандарт |
|
Российская Федерация |
Госстандарт России |
|
Республика Узбекистан |
Узгосстандарт |
3 Постановлением Комитета Российской Федерации по стандартизации, метрологии и сертификации от 10 января 1996 г. № 4 межгосударственный стандарт ГОСТ 25021-93 введен в действие непосредственно в качестве государственного стандарта Российской Федерации с 1 июля 1996 г.
4 ВЗАМЕН ГОСТ 25021-77
ГОСТ 25021-93
МЕЖГОСУДАРСТВЕННЫЙ СТАНДАРТ
МУФТЫ УПРУГИЕ С ПРОМЕЖУТОЧНЫМ ДИСКОМ
Параметры и размеры
Disk flexible couplings.
Parameters and dimensions
Дата введения 1996-07-01
Настоящий стандарт распространяется на упругие муфты с промежуточным диском общемашиностроительного применения, предназначенные для соединения валов при передаче крутящего момента от 4 до 200 Н · м, уменьшения динамических нагрузок и компенсации смещения валов, климатических исполнений У и Т для категорий 1 - 3, климатических исполнений УХЛ и О для категории 4 по ГОСТ 15150.
Требования настоящего стандарта являются обязательными.
1 Муфты должны изготовляться в зависимости от формы посадочного отверстия следующих исполнений:
1 - с цилиндрическими отверстиями для длинных концов валов по ГОСТ 12080;
2 - с цилиндрическими отверстиями для коротких концов валов по ГОСТ 12080;
3 - c коническими отверстиями для длинных концов валов по ГОСТ 12081;
4 - с коническими отверстиями для коротких концов валов по ГОСТ 12081.
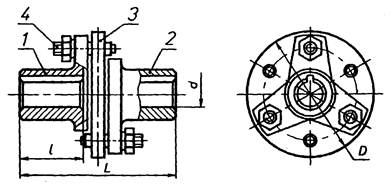
2 Основные параметры, габаритные и присоединительные размеры должны соответствовать указанным на рисунке 1 и в таблице 1.
Примечание. Допускается уменьшать длину посадочной части полумуфт в соответствии с ГОСТ 12080.
3 Размеры и предельные отклонения шпоночных пазов полумуфт исполнений 1 и 2 - по ГОСТ 23360 и ГОСТ 10748.
4 Размеры и предельные отклонения шпоночных пазов полумуфт исполнений 3 и 4 - по ГОСТ 12081.
5 Допуски углов конусов отверстий d1 - АТα' 9 - по ГОСТ 8908.
6 Полумуфты следует изготавливать из чугуна марки СЧ 20 по ГОСТ 1412. Допускается изготавливать полумуфты из других материалов с механическими свойствами не хуже чем у чугуна марки СЧ 20 по ГОСТ 1412.
7 Пальцы следует изготавливать из стали с механическими свойствами не хуже чем у стали марки 35 по ГОСТ 1050.
8 Промежуточный диск следует изготавливать из резины со следующими физико-механическими свойствами:
предел прочности при разрыве не менее 10 МПа;
относительное удлинение при разрыве, определенное по ГОСТ 270, - не менее 150 %;
твердость, определенная по ГОСТ 263, - от 55 до 70 условных единиц;
относительное остаточное удлинение, определенное по ГОСТ 270, - не более 30 %.
9 Общие технические требования к материалу промежуточного диска муфт, предназначенных для эксплуатации в условиях тропического климата, - по ГОСТ 15152.
10 Допускается сочетать полумуфты разных исполнений с различными диаметрами посадочных отверстий в пределах одного номинального крутящего момента.
По заказу потребителя допускается выполнять посадочное отверстие меньшего диаметра в одной из полумуфт до любого значения, установленного таблицей для других номинальных крутящих моментов при условии обеспечения прочности полумуфт.
11 Допускаются другие виды соединений муфт с валами.
ИСПОЛНЕНИЯ I и 2
ИСПОЛНЕНИЯ 3 и 4
Остальное см. исполнения 1 и 2

1, 2 - полумуфты; 3 - диск; 4 - палец
Рисунок 1
Примечание - Рисунок не определяет конструкцию полумуфты
Таблица 1
Размеры, мм
|
d Н7 |
d1 Н9 |
d Н7 |
d1 Н9 |
D, не более |
L, не более, для исполнений |
L, не более, для исполнений |
Максимальный крутящий момент при кратковременной перегрузке, Н · м |
Частота вращения, с-1, не более |
Допускаемое смещение осей валов, не более |
Масса, кг, не более |
||||||||
|
Ряд 1 |
Ряд 2 |
1 |
2 |
3 |
4 |
1 |
2 |
3 |
4 |
угловое |
радиальное |
|||||||
|
4,0 |
8 |
- |
56 |
65 |
- |
45 |
- |
22 |
- |
15 |
- |
10 |
100 |
1,0* |
0,40 |
0,4 |
||
|
9 |
- |
|||||||||||||||||
|
10 |
- |
70 |
65 |
55 |
- |
35 |
22 |
18 |
- |
|||||||||
|
11 |
- |
|||||||||||||||||
|
8,0 |
10 |
- |
63 |
20 |
83 |
0,50 |
0,6 |
|||||||||||
|
11 |
- |
|||||||||||||||||
|
12 |
- |
90 |
80 |
65 |
- |
32 |
28 |
22 |
- |
|||||||||
|
14 |
- |
|||||||||||||||||
|
16,0 |
12 |
- |
80 |
40 |
83 |
1,0* |
0,75 |
0,8 |
||||||||||
|
14 |
- |
|||||||||||||||||
|
16 |
- |
110 |
90 |
85 |
63 |
42 |
30 |
32 |
20 |
|||||||||
|
18 |
- |
|||||||||||||||||
|
31,5 |
16 |
- |
100 |
80 |
67 |
0,75* |
1,00 |
1,4 |
||||||||||
|
18 |
- |
|||||||||||||||||
|
- |
19 |
|||||||||||||||||
|
20 |
- |
135 |
105 |
105 |
80 |
52 |
38 |
40 |
26 |
|||||||||
|
31,5 |
22 |
- |
100 |
135 |
105 |
105 |
80 |
52 |
38 |
40 |
26 |
80 |
67 |
0,75* |
1,00 |
1,4 |
||
|
63,0 |
20 |
- |
125 |
160 |
2,8 |
|||||||||||||
|
22 |
- |
|||||||||||||||||
|
- |
24 |
|||||||||||||||||
|
25 |
- |
160 |
125 |
125 |
90 |
63 |
44 |
46 |
28 |
|||||||||
|
28 |
- |
|||||||||||||||||
|
125,0 |
25 |
- |
160 |
320 |
50 |
1,25 |
3,5 |
|||||||||||
|
28 |
- |
|||||||||||||||||
|
30 |
- |
205 |
160 |
165 |
125 |
82 |
60 |
63 |
40 |
|||||||||
|
32 |
- |
|||||||||||||||||
|
35 |
- |
|||||||||||||||||
|
36 |
- |
|||||||||||||||||
|
200,0 |
30 |
- |
180 |
500 |
1,50 |
6,2 |
||||||||||||
|
32 |
- |
|||||||||||||||||
|
35 |
- |
|||||||||||||||||
|
36 |
- |
|||||||||||||||||
|
200,0 |
- |
38 |
180 |
205 |
160 |
165 |
125 |
82 |
60 |
63 |
40 |
500 |
50 |
0,75* |
1,50 |
6,2 |
||
|
40 |
- |
265 |
210 |
230 |
175 |
112 |
84 |
88 |
60 |
|||||||||
|
- |
42 |
|||||||||||||||||
Примечание - Ряд 1 диаметров посадочных отверстий полумуфт является предпочтительным
12 Пример условного обозначения упругой муфты с промежуточным диском, с номинальным крутящим моментом 125 Н · м, диаметром посадочного отверстия полумуфты 32 мм, исполнения 1, климатического исполнения У и категории 3:
Муфта 125-32-1-У3 ГОСТ 25021-93
То же, исполнения 2:
Муфта 125-32-2-У3 ГОСТ 25021-93
То же, диаметром посадочного отверстия одной полумуфты 32 мм, исполнения 1, диаметром посадочного отверстия другой полумуфты 36 мм, исполнения 4, климатического исполнения Т и категории 2:
Муфта 125-32-1-36-4-Т2 ГОСТ 25021-93
ИНФОРМАЦИОННЫЕ ДАННЫЕ
ССЫЛОЧНЫЕ НОРМАТИВНО-ТЕХНИЧЕСКИЕ ДОКУМЕНТЫ
|
Обозначение НТД, на который дана ссылка |
Номер пункта |
|
Вводная часть |
|
Ключевые слова: упругая муфта с промежуточным диском, параметр, размер