ГОСУДАРСТВЕННЫЙ СТАНДАРТ СОЮЗА ССР
КЛЮЗЫ ПАЛУБНЫЕ И БОРТОВЫЕ
ЛИТЫЕ
ТЕХНИЧЕСКИЕ УСЛОВИЯ
ГОСТ
25056-81
(СТ СЭВ 1586-89)
ГОСУДАРСТВЕННЫЙ КОМИТЕТ СССР ПО СТАНДАРТАМ
Москва
ГОСУДАРСТВЕННЫЙ СТАНДАРТ СОЮЗА ССР
|
КЛЮЗЫ ПАЛУБНЫЕ И Технические условия Cast deck and hawses. Specifications |
ГОСТ
(СТ СЭВ 1586-89) |
Постановлением Государственного комитета СССР по стандартам от 22 декабря 1981 г. № 5571 срок действия установлен
с 01.07. 1982 г.
до 01.07. 1987 г.
Несоблюдение стандарта преследуется по закону
(Измененная редакция, Изм. № 3).
Настоящий стандарт распространяется на палубные и бортовые клюзы для швартовых устройств, применяемые на надводных кораблях, судах и плавучих средствах.
Стандарт не распространяется на клюзы, применяемые на специальных быстроходных катерах и кораблях с динамическими принципами поддержания.
(Измененная редакция, Изм. № 3).
1.1. Устанавливаются пять типов клюзов:
1 - палубные;
2 - бортовые с креплением сваркой;
3 - бортовые с рогами с креплением сваркой;
4 - бортовые с креплением заклепками или болтами;
5 - бортовые уменьшенные с креплением заклепками или болтами.
Клюзы типа 2 могут применяться в буксирных устройствах.
1.2. Конструкция, основные параметры и размеры клюзов должны соответствовать указанным на черт. 1 - 5 и табл. 1 - 5.
Тип 1
Черт. 1. (Измененная редакция, Изм. № 3).
Тип 2
r3 = S3
r4 = S4
Таблица 1
Размеры, мм
|
b1 |
е |
h1 |
h2 |
L |
r1 |
r2 |
s1 |
s2 |
s3 |
W1 |
W2 |
Максимальное разрывное усилие канатов в целом, кН |
Масса, кг, не более |
|
|
3 |
160 |
118 |
260 |
135 |
285 |
45,0 |
80 |
10 |
15 |
5 |
125 |
90 |
63 |
20 |
|
4 |
200 |
150 |
325 |
168 |
360 |
57,5 |
100 |
12 |
18 |
6 |
160 |
115 |
100 |
30 |
|
5 |
250 |
185 |
400 |
205 |
450 |
70,0 |
125 |
14 |
21 |
7 |
200 |
140 |
160 |
48 |
|
6 |
300 |
235 |
500 |
260 |
550 |
90,0 |
150 |
16 |
24 |
8 |
250 |
180 |
250 |
85 |
|
7 |
390 |
305 |
640 |
330 |
725 |
115,0 |
195 |
18 |
27 |
9 |
335 |
230 |
460 |
150 |
|
8 |
440 |
350 |
730 |
375 |
840 |
135,0 |
220 |
20 |
30 |
10 |
400 |
270 |
640 |
230 |
|
9 |
520 |
420 |
870 |
450 |
1020 |
160,0 |
260 |
22 |
33 |
11 |
500 |
320 |
1000 |
350 |
|
10 |
620 |
505 |
1050 |
540 |
1240 |
200,0 |
310 |
24 |
36 |
12 |
620 |
400 |
1250 |
560 |
|
11 |
720 |
570 |
1200 |
610 |
1440 |
230,0 |
360 |
28 |
39 |
13 |
720 |
460 |
1600 |
780 |
Таблица 2
Размеры, мм
|
b1 |
b2 |
b3 |
h2 |
h4 |
L |
r1 |
r2 |
r5 |
s1 |
s2 |
s3 |
W1 |
W2 |
Максимальное разрывное усилие каната в целом, кН |
Масса, кг, не более |
|
|
3 |
160 |
65 |
20 |
250 |
175 |
285 |
45,0 |
80 |
12 |
10 |
15 |
5 |
125 |
90 |
63 |
18 |
|
4 |
200 |
70 |
25 |
315 |
225 |
360 |
57,5 |
100 |
12 |
12 |
18 |
6 |
160 |
115 |
100 |
26 |
|
5 |
250 |
75 |
32 |
390 |
275 |
450 |
70,0 |
125 |
16 |
14 |
21 |
7 |
200 |
140 |
160 |
42 |
|
6 |
300 |
80 |
38 |
480 |
340 |
550 |
90,0 |
150 |
16 |
16 |
24 |
8 |
250 |
180 |
250 |
74 |
|
7 |
390 |
100 |
49 |
620 |
440 |
725 |
115,0 |
195 |
20 |
18 |
27 |
9 |
335 |
230 |
460 |
130 |
|
8 |
440 |
110 |
55 |
710 |
500 |
840 |
135,0 |
220 |
20 |
20 |
30 |
10 |
400 |
270 |
640 |
185 |
|
9 |
520 |
130 |
65 |
840 |
595 |
1020 |
160,0 |
260 |
25 |
22 |
33 |
11 |
500 |
320 |
1000 |
285 |
|
10 |
620 |
150 |
75 |
1020 |
720 |
1240 |
200,0 |
310 |
25 |
24 |
36 |
12 |
620 |
400 |
1250 |
490 |
|
11 |
720 |
180 |
90 |
1180 |
835 |
1440 |
230,0 |
360 |
30 |
28 |
39 |
13 |
720 |
460 |
1600 |
775 |
|
12 |
770 |
195 |
95 |
1345 |
950 |
1590 |
287,5 |
385 |
35 |
32 |
48 |
16 |
820 |
575 |
2000 |
1100 |
Табл. 1, 2. (Новая редакция, Изм. № 3).
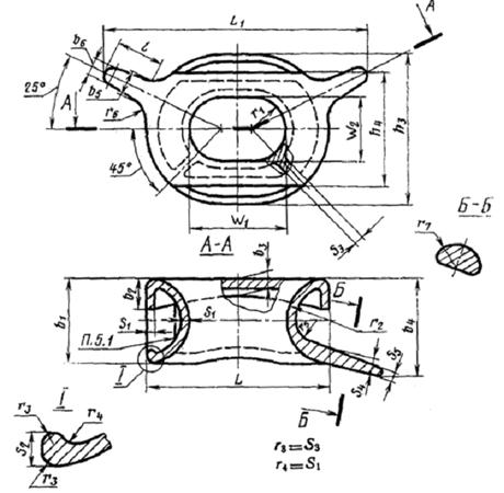
Тип 3
Таблица 3
Размеры, мм
|
b1 |
b2 |
b3 |
b4 |
b5 |
b6 |
h3 |
h4 |
L |
L1 |
l |
r1 |
r2 |
r5 |
r6 |
r7 |
s1 |
s2 |
s3 |
s4 |
s5 |
W1 |
W2 |
Максимальное разрывное усилие каната в целом, кН (кгс) |
Масса, кг, не более |
|
|
3 |
160 |
65 |
20 |
175 |
42 |
16 |
250 |
175 |
285 |
400 |
75 |
45,0 |
80 |
40 |
25 |
22 |
10 |
15 |
8 |
20 |
7 |
125 |
90 |
63 (6420) |
15,5 |
|
4 |
200 |
70 |
25 |
225 |
55 |
25 |
315 |
225 |
360 |
515 |
100 |
57,5 |
100 |
60 |
35 |
30 |
12 |
18 |
10 |
25 |
10 |
160 |
115 |
100 (10200) |
29,5 |
|
5 |
250 |
75 |
32 |
280 |
70 |
32 |
390 |
275 |
450 |
640 |
125 |
70,0 |
125 |
80 |
50 |
36 |
14 |
21 |
12 |
35 |
15 |
200 |
140 |
160 (16300) |
51,5 |
|
6 |
300 |
80 |
38 |
335 |
95 |
50 |
480 |
340 |
550 |
815 |
170 |
90,0 |
150 |
100 |
70 |
50 |
16 |
24 |
13 |
45 |
25 |
250 |
180 |
250 (25500) |
84,0 |
Таблица 4
Размеры, мм
|
b1 |
b2 |
b3 |
h3 |
h4 |
h5 |
L |
L1 |
r1 |
r2 |
r4 |
r5 |
r6 |
s1 |
s2 |
s3 |
W1 |
W3 |
n |
d |
Максимальное разрывное усилие каната в целом, кН (кгс) |
Масс*, кг, не более |
||
|
Номин. |
Пред. откл. |
||||||||||||||||||||||
|
5 |
250 |
40 |
22 |
390 |
275 |
470 |
450 |
530 |
70,0 |
125 |
40 |
85 |
215 |
14 |
21 |
11 |
200 |
140 |
12 |
14 |
±0,3 |
160 (16300) |
65 |
|
6 |
300 |
50 |
25 |
480 |
340 |
580 |
550 |
650 |
90,0 |
150 |
50 |
100 |
265 |
16 |
24 |
13 |
250 |
180 |
12 |
18 |
250 (25500) |
82 |
|
|
7 |
360 |
58 |
30 |
585 |
415 |
685 |
680 |
780 |
112,5 |
180 |
60 |
122 |
318 |
18 |
27 |
15 |
320 |
225 |
16 |
18 |
400 (40800) |
172 |
|
Тип 5
Таблица 5
Размеры, мм
|
b1 |
b2 |
b3 |
h4 |
h5 |
L |
L1 |
r1 |
r3 |
r5 |
r6 |
s1 |
W1 |
W2 |
n |
d |
Максимальное разрывное усилие каната в целом, кН (кгс) |
Масса, кг, не более |
||
|
Номин. |
Пред. откл. |
||||||||||||||||||
|
5 |
110 |
40 |
22 |
240 |
320 |
300 |
380 |
70,0 |
58 |
20 |
140 |
18 |
200 |
140 |
12 |
14 |
160 (16300) |
22,0 |
|
|
6 |
160 |
50 |
25 |
320 |
420 |
390 |
490 |
90,0 |
84 |
30 |
185 |
22 |
250 |
180 |
12 |
18 |
±0,3 |
250 (25500) |
49,0 |
|
7 |
175 |
58 |
30 |
370 |
470 |
465 |
565 |
112,5 |
96 |
45 |
215 |
25 |
320 |
225 |
16 |
18 |
400 (40800) |
67,0 |
|
1. Клюзы рассчитаны для применения стальных канатов диаметром до 37,5 мм с маркировочной группой по временному сопротивлению разрыву 1570 МПа (160 кгс/мм2) и диаметром 45 - 65 мм - 1370 МПа (140 кгс/мм2) по ГОСТ 3083-80; для растительных канатов: пеньковых смоленых специальных - по ГОСТ 483-75 и сизальских повышенных - по ГОСТ 1088-71; для капроновых канатов повышенной прочности - по ГОСТ 10293-77.
2. Клюзы типоразмера 7 - 11 соответствуют требованиям прохождения Панамского канала; при этом типоразмер 7 соответствует одинарному клюзу, а типоразмеры 8 - 11 - двойному клюзу.
3. Клюзы типа 5 предназначены для установки только на судах внутреннего плавания.
Примеры условного обозначения
Клюз типа 1, с размером в свету 200´140, для эксплуатации со стальными и растительными канатами:
Клюз 1-200´140 ГОСТ 25056-81
То же, для эксплуатации с синтетическими канатами:
Клюз 1-200´140 С ГОСТ 25056-81
Клюз типа 1, типоразмера 5, поставляемым в страны - члены СЭВ:
Клюз 1-5 СТ СЭВ 1586-79
(Измененная редакция, Изм. № 2).
1.3. Коды ОКП приведены в справочном приложении 2.
2.1. Клюзы должны изготовляться в соответствии с требованиями настоящего стандарта по конструкторской документации, утвержденной в установленном порядке.
Клюзы, поставляемые в страны-члены СЭВ, должны изготовляться из стального литья прочностью не ниже 400 МПа и содержанием углерода не выше 0,23 %.
(Измененная редакция, Изм. № 2, 3).
2.2. Клюзы изготовляют в климатическом исполнении ОМ, категории I по ГОСТ 15150-69.
2.3. Клюзы типов 1, 2 и 3 изготовляют из стали марки 20Л или 25Л по ГОСТ 977-75; типов 4 и 5 - из чугуна марки СЧ21 - по ГОСТ 1412-85.
2.4. Требования к отливкам клюзов из стали 20Л - по группе II ГОСТ 977-75; из чугуна СЧ21 - по ГОСТ 1412-85.
2.3, 2.4. (Измененная редакция, Изм. № 1, 2).
2.5. Класс точности размеров и массы отливок клюзов должен назначаться по ГОСТ 26645-85 в зависимости от их типоразмера.
(Новая редакция, Изм. № 2).
2.6. Параметры шероховатости рабочей поверхности клюзов Rz для эксплуатации со стальными и растительными канатами не должны быть более 500 мкм, с капроновым - 40 мкм.
2.7. На рабочих поверхностях клюзов все имеющиеся дефекты должны быть исправлены электросваркой с последующей зачисткой.
На нерабочих поверхностях допускается оставлять без исправления отдельные дефекты, размеры, число и расположение которых - по нормативно-технической документации, утвержденной в установленном порядке.
(Новая редакция, Изм. № 2).
2.8. Клюзы после маркировки должны иметь защитное покрытие по конструкторской документации, утвержденной в установленном порядке. Внешний вид - по VI классу ГОСТ 9.032-74 при условии эксплуатации по группе ОМ1 ГОСТ 9.104-79.
(Измененная редакция, Изм. № 2).
2.9. Назначенный срок службы клюзов до заводского ремонта - 10 лет.
2.10. Назначенный срок службы клюзов до списания - 25 лет.
2.9, 2.10. (Новая редакция, Изм. № 2).
(Измененная редакция, Изм. № 2).
3.1. Для проверки соответствия клюзов требованиям настоящего стандарта проводят приемо-сдаточные и периодические испытания.
3.2. Клюзы принимают партиями или поштучно. Партия должна состоять из клюзов одного типоразмера и не должна быть менее 2 шт.
3.3. На приемо-сдаточные испытания должны быть предъявлены клюзы, прошедшие операционный контроль по пп. 2.3 - 2.9.
3.4. При приемо-сдаточных испытаниях клюзы должны подвергаться сплошному контролю на соответствие требованиям по пп. 1.2 (размеры r1, r2, W1 и W2); 2.8; 2.9 и 5.1 настоящего стандарта.
3.5. При приемке клюзов на соответствие остальных размеров требованиям настоящего стандарта проверке должны подвергаться 5 % клюзов от партии, но не менее 2 шт.
При приемке клюзов на соответствие массы требованиям настоящего стандарта проверке подвергается один клюз из партии.
3.6. Если при приемке будут обнаружены клюзы, не соответствующие хотя бы одному из требований настоящего стандарта, всю партию возвращают для устранения дефектов; после чего клюзы предъявляются на повторную приемку. Для повторной приемки должны быть отобраны клюзы в количестве 10 % от партии, но не менее 2 шт.
Результаты повторных испытаний считаются окончательными.
3.7. Клюз считается принятым после нанесения клейма приемки и оформления сопроводительной документации.
3.8. Периодическим испытаниям должны подвергаться клюзы в количестве 3 шт. не реже одного раза в 3 года в объеме приемосдаточных испытаний с проверкой всех размеров и массы.
4.1. Контроль конструкции и размеров проводят сличением с чертежами и измерением инструментами, обеспечивающими требуемую в чертежах точность.
4.2. Марки и качество материалов должны подтверждаться документами качества.
4.3. Внешний вид, качество покрытия и маркировку проверяют визуально.
4.4. Шероховатости поверхностей клюзов контролируются по ГОСТ 9378-75.
4.5. Массу клюзов проверяют взвешиванием на весах с погрешностью ±1 %.
5.1. На каждом клюзе должна быть нанесена маркировка, содержащая:
товарный знак предприятия-изготовителя;
обозначение клюза;
максимальное расчетное разрывное усилие каната в целом, кН (кгс);
номер клюза по системе предприятия-изготовителя;
клеймо приемки ОТК и представителя заказчика на предприятии-изготовителе;
дату изготовления.
(Измененная редакция, Изм. № 1).
5.2. На каждом клюзе, поставляемом в страны - члены СЭВ, маркировка должна содержать:
наименование предприятия-изготовителя или его товарный знак;
тип и типоразмер клюза;
максимальное разрывное усилие каната в целом в кН;
обозначение стандарта СЭВ.
5.3. Маркировку на клюзах следует выполнять литьем или ударным способом. Место маркировки на необработанной поверхности должно быть зачищено. Глубина маркировки не менее 0,3 мм.
5.5. Грузовое место должно быть снабжено этикеткой, выполненной по ГОСТ 2.601-68.
5.6. Клюзы транспортируют в поддонах складной (разборной) конструкции типа 4Я по ГОСТ 9570-84.
Требования к транспортированию клюзов в поддонах - по ГОСТ 19848-74.
Допускается транспортировать клюзы в контейнерах по ГОСТ 18477-79. Контейнеры следует загружать до полной грузоподъемности. Укладка и раскрепление клюзов в контейнере должны исключать механические повреждения обеспечивать сохранность клюзов при их транспортировании.
(Новая редакция, Изм. № 2).
5.7. Клюзы хранят на открытых площадках. Условия хранения клюзов в части воздействия климатических факторов - 8 (ОЖ3) по ГОСТ 15150-69.
(Введен дополнительно, Изм. № 1).
5.8, 5.9. (Исключены, Изм. № 2).
6.1. Изготовитель гарантирует соответствие качества клюзов требованиям настоящего стандарта при соблюдении условий хранения и транспортирования.
(Измененная редакция, Изм. № 1).
6.2. Гарантийный срок эксплуатации - 24 мес со дня ввода в эксплуатацию.
(Новая редакция, Изм. № 2).
Справочное
|
СТ СЭВ 1586-89 |
|||
|
Пункт |
Содержание требований |
Пункт |
Содержание требований |
|
Вводная часть |
Требования к клюзам, применяемым на специальных быстроходных катерах и кораблях с динамическими принципами поддержания не регламентируются. |
Вводная часть |
Регламентируются требования к клюзам, применяемым на судах плавучих средствах всех типов и назначений. |
|
Регламентируются 3, 4 и 5 типы бортовых клюзов |
- |
- |
|
|
Регламентируется климатическое исполнение клюзов |
- |
- |
|
|
Регламентируется назначенный срок службы клюзов до заводского ремонта |
- |
- |
|
|
Регламентируется назначенный срок службы клюзов до списания |
- |
- |
|
|
Разд. 3 |
Регламентируются правила приемки клюзов |
- |
- |
|
Разд. 4 |
Регламентируются методы контроля клюзов |
- |
- |
|
Разд. 5 |
Регламентируются требования к упаковке, транспортированию и хранению клюзов |
- |
- |
|
Разд. 6 |
Регламентируются гарантии изготовителя клюзов |
- |
- |
Приложение 1. (Новая редакция, Изм. № 3).
Справочное
|
Типоразмер |
Материал |
Код ОКП |
||
|
для стальных и растительных канатов |
для синтетических канатов |
|||
|
1 |
3 |
Сталь 20Л-II и 25Л-II |
64 1221 610300 |
64 1221 710307 |
|
4 |
Сталь 20Л-II и 25Л-II |
64 1221 610410 |
64 1221 710406 |
|
|
5 |
Сталь 20Л-II и 25Л-II |
64 1221 610509 |
64 1221 710505 |
|
|
6 |
Сталь 20Л-II и 25Л-II |
64 1221 610608 |
64 1221 710604 |
|
|
7 |
Сталь 20Л-II и 25Л-II |
64 1221 610707 |
64 1221 710703 |
|
|
8 |
Сталь 20Л-II и 25Л-II |
64 1221 610806 |
64 1221 710802 |
|
|
9 |
Сталь 20Л-II и 25Л-II |
64 1221 610905 |
64 1221 710901 |
|
|
10 |
Сталь 20Л-II и 25Л-II |
64 1221 611001 |
64 1221 711008 |
|
|
11 |
Сталь 20Л-II и 25Л-II |
64 1221 611001 |
64 1221 711107 |
|
|
2 |
3 |
Сталь 20Л-II и 25Л-II |
64 1221 112910 |
64 1221 212708 |
|
4 |
Сталь 20Л-II и 25Л-II |
64 1221 113006 |
64 1221 212807 |
|
|
5 |
Сталь 20Л-II и 25Л-II |
64 1221 113105 |
64 1221 212906 |
|
|
6 |
Сталь 20Л-II и 25Л-II |
64 1221 113204 |
64 1221 213002 |
|
|
7 |
Сталь 20Л-II и 25Л-II |
64 1221 113303 |
64 1221 213101 |
|
|
8 |
Сталь 20Л-II и 25Л-II |
64 1221 113402 |
64 1221 213201 |
|
|
9 |
Сталь 20Л-II и 25Л-II |
64 1221 113501 |
64 1221 213310 |
|
|
10 |
Сталь 20Л-II и 25Л-II |
64 1221 113600 |
64 1221 213409 |
|
|
3 |
3 |
Сталь 20Л-II и 25Л-II |
64 1221 315610 |
64 1221 415408 |
|
4 |
Сталь 20Л-II и 25Л-II |
64 1221 315709 |
64 1221 415507 |
|
|
5 |
Сталь 20Л-II и 25Л-II |
64 1221 315808 |
64 1221 415606 |
|
|
6 |
Сталь 20Л-II и 25Л-II |
64 1221 315907 |
64 1221 415705 |
|
|
4 |
5 |
Чугун |
64 1221 130710 |
64 1221 230706 |
|
6 |
Чугун |
64 1221 130809 |
64 1221 230805 |
|
|
7 |
Чугун |
64 1221 130908 |
64 1221 230904 |
|
|
5 |
5 |
Чугун |
64 1221 131103 |
64 1221 231110 |
|
6 |
Чугун |
64 1221 131202 |
64 1221 231209 |
|
|
7 |
Чугун |
64 1221 212708 |
64 1221 315610 |
|
(Измененная редакция, Изм. № 2).
СОДЕРЖАНИЕ
|
1. Типы, основные параметры и размеры.. 1 5. Маркировка, упаковка, транспортирование и хранение. 9 Приложение 1 Данные о соответствии требований ГОСТ 25056-81 требованиям СТ СЭВ 1586-89. 10 |