ГОСТ 25310-94
МЕЖГОСУДАРСТВЕННЫЙ СТАНДАРТ
КРЫШКИ СУДОВЫХ СВЕТОВЫХ
ЛЮКОВ
ТЕХНИЧЕСКИЕ УСЛОВИЯ
МЕЖГОСУДАРСТВЕННЫЙ
СОВЕТ
ПО СТАНДАРТИЗАЦИИ, МЕТРОЛОГИИ И СЕРТИФИКАЦИИ
МИНСК
Предисловие
1 РАЗРАБОТАН Украинским государственным научно-исследовательским институтом стандартизации и сертификации в судостроении
ВНЕСЕН Государственным Комитетом Украины по стандартизации, метрологии и сертификации
2 ПРИНЯТ Межгосударственным Советом по стандартизации, метрологии и сертификации 21 октября 1994 г.
За принятие проголосовали:
|
Наименование государства |
Наименование национального органа по стандартизации |
|
Азербайджанская Республика |
Азгосстандарт |
|
Республика Армения |
Армгосстандарт |
|
Республика Белоруссия |
Белстандарт |
|
Республика Казахстан |
Госстандарт Республики Казахстан |
|
Республика Молдова |
Молдовастандарт |
|
Республика Грузия |
Грузстандарт |
|
Киргизская Республика |
Киргизстандарт |
|
Российская Федерация |
Госстандарт Украины |
|
Республика Узбекистан |
Узгосстандарт |
3 Постановлением Комитета Российской Федерации по стандартизации, метрологии и сертификации от 13.06.96 № 372 межгосударственный стандарт ГОСТ 25310-94 введен в действие непосредственно в качестве государственного стандарта Российской Федерации с 1 июля 1996 г.
4 ВЗАМЕН ГОСТ 25310-82
СОДЕРЖАНИЕ
ГОСТ 25310-94
МЕЖГОСУДАРСТВЕННЫЙ СТАНДАРТ
|
КРЫШКИ СУДОВЫХ СВЕТОВЫХ ЛЮКОВ Технические условия Covers of skylights. Specifications |
Дата введения 1996-07-01
Настоящий стандарт распространяется на стальные водонепроницаемые крышки световых судовых люков (далее - крышки), применяемые на кораблях, судах и плавсредствах.
Стандарт не распространяется на крышки, применяемые на кораблях и судах с динамическими принципами поддержания.
Возможность применения крышек в районах 1 и 2 (согласно «Правилам о грузовой марке морских судов») должна быть рассмотрена и согласована с классификационным обществом, осуществляющим надзор за постройкой судна в каждом конкретном случае.
По стандарту производят изготовление, приемку и поставку крышек для потребностей экономики страны и экспорта.
Стандарт пригоден для целей сертификации.
В настоящем стандарте использованы ссылки на следующие стандарты:
ГОСТ 9.014-78 ЕСЗКС. Временная противокоррозионная защита изделий. Общие требования
ГОСТ 9.402-80 ЕСЗКС. Покрытия лакокрасочные. Подготовка металлических изделий перед окрашиванием
ГОСТ 26.020-80 Шрифты для средств измерений и автоматизации. Начертания и основные размеры
ГОСТ 2712-75 Смазка АМС. Технические условия
ГОСТ 2789-73 Шероховатость поверхности. Параметры и характеристики
ГОСТ 2991-85 Ящики дощатые неразборные для грузов массой 500 кг. Общие технические условия
ГОСТ 8026-92 Линейки поверочные. Технические условия
ГОСТ 9569-79 Бумага парафинированная. Технические условия
ГОСТ 10905-86 Плиты поверочные и разметочные. Технические условия
ГОСТ 13837-79 Динамометры общего назначения. Технические условия
ГОСТ 14192-77 Маркировка грузов
ГОСТ 14771-76 Дуговая сварка в защитном газе. Соединения сварные. Основные типы, конструктивные элементы и размеры
ГОСТ 15150-69 Машины, приборы и другие технические изделия. Исполнения для различных климатических районов. Категория, условия эксплуатации, хранения и транспортирования в части воздействия климатических факторов внешней среды
ГОСТ 18477-79 Контейнеры универсальные. Типы, основные параметры и размеры
ГОСТ 24597-81 Пакеты тарно-штучных грузов. Основные параметры и размеры
ГОСТ 24643-81 Основные нормы взаимозаменяемости. Допуски формы и расположения поверхностей. Условные обозначения
ГОСТ 29329-92 Весы для статического взвешивания. Общие технические требования
3.1 Стандарт устанавливает два типа крышек в зависимости от способа задраивания:
А - с барашковыми задрайками;
Б - с клиновыми задрайками
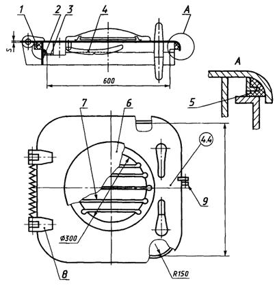
3.2 Основные параметры и размеры крышек - в соответствии с рисунками 1 - 3 и таблицами 1 и 2.
1 - полотно; 2 - комингс; 3 - стопор; 4 - скоба; 5 - прокладка; 6 - иллюминатор, 7 - предохранительный щиток; 8 - петля; 9 - барашковая задрайка; 10 - обушок для замка
Рисунок 1 - Крышка типа А

Размеры в свету Размеры в свету
600´900 мм 900´900 мм

Размеры в свету
900´1200 мм
Рисунок 2 - Схемы расположения иллюминаторов, задраек и петель на крышках типа А
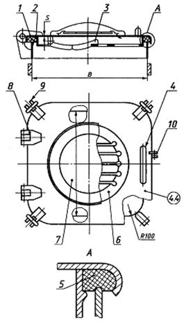
1 - полотно; 2 - комингс; 3 - клиновая задрайка; 4 - стопор; 5 - прокладка; 6 - предохранительный щиток; 7 - иллюминатор; 8 - петля; 9 - обушок для замка
Рисунок 3 - Крышка типа Б
Таблица 1
|
Размеры в свету, L´B, мм |
S, мм |
Иллюминатор |
Количество задраек, шт. |
Тип стопорного устройства |
Код ОКП |
Масса, кг, не более |
|
|
Диаметр в свету, мм |
Количество, шт. |
||||||
|
600´600 |
3 |
300 |
1 |
4 |
Привод |
64 2331 7001 |
42,0 |
|
6 |
64 2331 7002 |
59,0 |
|||||
|
3 |
Стопор |
64 2331 7003 |
42,0 |
||||
|
6 |
64 2331 7004 |
59,0 |
|||||
|
600´900 |
3 |
2 |
6 |
64 2331 7006 |
63,0 |
||
|
900´900 |
200 |
4 |
8 |
64 2331 7008 |
80,0 |
||
|
900´1200 |
6 |
64 2331 7013 |
103,0 |
||||
Таблица 2
|
S, мм |
Код ОКП |
Масса, кг, не более |
|
3 |
64 2331 7016 |
64,0 |
|
6 |
64 2331 7017 |
73,0 |
Пример условного обозначения:
Крышка типа А с размерами в свету - 600´600 мм, толщиной полотна - 3 мм, обеспечивающая присоединение привода дистанционного управления:
Крышка А 600´600´3-П ГОСТ 25310-94
То же, с размерами в свету 900´1200 мм со стопором:
Крышка А 900´1200´3-С ГОСТ 25310-94
Крышка типа Б с размерами в свету 600´600 мм, с толщиной полотна 6 мм:
Крышка Б 600´600´6 ГОСТ 25310-94
То же, для заказчика:
Крышка Б 600´600´6(3) ГОСТ 25310-94
Перечень обозначений крышек световых судовых люков приведен в приложении А.
4.2.1.1 Крышки предназначены для закрытия проемов световых судовых люков, обеспечивающих доступ дневного света и воздуха в служебные помещения и коридоры.
4.2.2.1 Назначенный общий срок службы со дня сдачи судна в эксплуатацию - не менее 25 лет.
4.2.2.2 Назначенный срок службы до заводского ремонта - не менее 10 лет.
4.2.2.3 Срок сохраняемости изделий должен быть:
при условии хранения 2(С) по ГОСТ 15150 с переконсервацией через 5 лет - 20 лет;
при условии хранения 5(ОЖ4) по ГОСТ 15150 с переконсервацией через 1 год - 20 лет.
4.2.2.4 Безотказная работа изделия в течение назначенного срока должна обеспечиваться путем периодического обновления покрытий, замены прокладок и смазки узлов трения.
4.2.3.1 Крышки и их уплотнения должны быть стойкими к воздействию морской воды, ультрафиолетовых лучей и соответствовать климатическому исполнению ОМ категории 1 по ГОСТ 15150.
4.2.3.2 Допускается в технически обоснованных случаях, по согласованию с заказчиком, применять уплотнения с другими интервалами рабочих температур по сравнению с указанными в ТУ на конкретные изделия.
4.2.5.1 Типы и конструктивные элементы сварных швов - по ГОСТ 14771.
4.2.5.2 Параметр шероховатости Ra обрабатываемых поверхностей деталей крышек не должен превышать 25 мкм (ГОСТ 2789).
По требованию заказчика допускается изготовление крышек без иллюминаторов.
4.2.6.2 Уплотнительная прокладка к полотну крышек типа А должна крепиться приклеиванием.
Уплотнительная прокладка (шнур) к полотну крышек типа Б должна крепиться специальным держателем.
4.2.6.3 Допуск плоскостности уплотняющей поверхности по периметру комингса не должен превышать 1 мм.
4.2.6.4 В закрытом положении крышки уплотнительная прокладка должна равномерно прилегать к комингсу.
4.2.6.6 Защита деталей от коррозии - согласно нормативному документу. Поверхности трения должны быть покрыты смазкой АМС-3 по ГОСТ 2712. Подготовка поверхности под грунтовку - по ГОСТ 9.402.
4.2.6.7 Отклонение фактической массы крышек от расчетной, указанной в конструкторских документах, не должно превышать 3 %; нижний предел массы не ограничивается.
4.2.6.8 Предельные отклонения размеров - по конструкторской документации.
4.3.1 Крышки следует поставлять комплектно.
В комплект поставки должны входить крышка в сборе и комплект запасных принадлежностей (ЗИП).
Комплект ЗИП, кроме резины и стекла, должен храниться в коробочке, жестко прикрепленной к каждой крышке.
4.3.2 Комплект ЗИП крышек типа А должен содержать:
- шайбу для петли;
- уплотнительную прокладку из расчета 1,0 м на каждую крышку, но не менее 4,0 м;
- одно стекло на каждые 10 и менее иллюминаторов одного типоразмера.
4.3.3 Комплект ЗИП крышек типа Б должен содержать:
- шайбу для петли;
- шайбу под задрайку;
- уплотнительное кольцо для оси задрайки;
- две регулировочные прокладки;
- одну уплотнительную прокладку в виде состыкованного кольца на каждые 5 и менее крышек одного типоразмера;
- одно стекло на каждые 10 и менее иллюминаторов.
4.4.1 Каждая крышка должна иметь маркировку, содержащую:
- наименование или товарный знак предприятия-изготовителя;
- обозначение основного конструкторского документа (для изделий заказчика - дополнительно букву «З»);
- дату изготовления (месяц, год);
- клеймо отдела технического контроля.
На крышках типа Б должны быть нанесены знаки, указывающие направление задраивания.
4.4.2 Каждая крышка, поставляемая на экспорт, должна иметь маркировку, содержащую:
- символ страны-изготовителя;
- товарный знак предприятия-изготовителя;
- обозначение основного конструкторского документа;
- дату изготовления (месяц, год);
- клеймо отдела технического контроля.
4.4.3 Маркирование следует выполнять ударным способом шрифтом 6-Пр3 по ГОСТ 26.020. Знаки маркировки должны быть четкими и легко читаемыми.
4.4.4 При транспортировании крышек контейнерами или пакетами к каждому из них должен быть жестко прикреплен ярлык с нанесенной несмываемой краской транспортной маркировкой, содержащей основные, дополнительные и информационные надписи в соответствии с ГОСТ 14192.
4.4.5 Транспортная маркировка ящиков со стеклами должна содержать основные, дополнительные, информационные надписи и манипуляционные знаки: «Хрупкое. Осторожно», «Верх», «Беречь от влаги» в соответствии с ГОСТ 14192.
4.5.1 Консервацию узлов трения крышек следует проводить по варианту временной защиты изделий ВЗ-4, внутреннюю упаковку - по ВУ-0 в соответствии с ГОСТ 9.014.
4.5.2 Крышки потребителю поставляют повагонно без упаковки в универсальных контейнерах по ГОСТ 18477 или пакетами в сварных металлических каркасах, изготовленных по конструкторским документам, утвержденным в установленном порядке.
Размеры и масса пакетов - по ГОСТ 24597. Наибольший габаритный размер пакета - 1240´840´1350 мм.
При формировании вагона, пакета или контейнера крышки могут устанавливаться вертикально или горизонтально. При этом они должны быть прочно раскреплены прокладками, исключающими их перемещение, а уплотнительные прокладки должны быть обжаты на глубину не более 1,0 мм.
4.5.3 Каждая партия крышек должна иметь сопроводительный документ, содержащий:
- наименование или товарный знак предприятия-изготовителя;
- наименование и обозначение основных конструкторских документов;
- количество крышек в партии;
- дату отгрузки (месяц, год);
- объем единичного комплекта ЗИП, поставляемого с партией крышек.
4.5.4 Стекла иллюминаторов должны быть упакованы в ящики типа III-1 по ГОСТ 2991.
Каждое стекло перед упаковыванием в ящик должно быть обернуто бумагой по ГОСТ 9569.
Стекла в ящиках устанавливают в вертикальном положении и раскрепляют деревянными перегородками для исключения их перемещения.
4.5.5 В каждый ящик со стеклами должен быть вложен упаковочный ярлык, содержащий:
- наименование и марку стекла, размеры, количество;
- обозначение документа на изготовление стекла;
- дату упаковки.
5.1 В открытом положении крышки должны надежно стопориться.
5.2 Острые кромки деталей крышек должны быть скруглены, сварные швы - зачищены.
Лакокрасочное покрытие должно быть равномерным и сплошным.
На поверхности деталей не должно быть подтеков смазки.
5.3 Усилие при открывании крышек должно быть не более 0,16 кН (16 кгс).
5.4 Усилие для закрывания крышек типа Б должно быть не более 0,4 кН (40 кгс).
5.5 Время задраивания крышек типа Б должно быть не более 5 с.
6.1 Для проверки соответствия крышек требованиям настоящего стандарта проводят приемо-сдаточные испытания.
6.2 Крышки на приемо-сдаточные испытания предъявляют партиями. Партия должна состоять из крышек одного типоразмера. Количество крышек в партии не должно превышать 100 шт.
6.3 При приемо-сдаточных испытаниях сплошному контролю на соответствие требованиям 3.2, 4.1 (кроме массы), п. 4.2.5.3, 4.2.6.2, 4.2.6.4, 4.2.6.5, 4.3, 4.4, 5.1, 5.2 подвергают всю партию крышек, прошедших операционный контроль на соответствие 4.2.6.3, и выборочному контролю на соответствие 3.2 (в части массы), 5.5 - по одной крышке от партии, 5.3 и 5.4 - 10 % крышек от партии.
6.4 Требования 4.2.2.1 - 4.2.2.3, 4.2.3.1 обеспечиваются конструкцией и выбором материала крышек.
6.5 Результаты приемо-сдаточных испытаний считают положительными, если все крышки партии соответствуют требованиям настоящего стандарта. Если при испытаниях обнаружатся крышки, не соответствующие требованиям настоящего стандарта, всю партию забраковывают и возвращают для устранения дефектов. После устранения дефектов партию подвергают повторным приемо-сдаточным испытаниям. Допускается повторные испытания проводить по пунктам, по которым было выявлено несоответствие.
6.6 Результаты повторных испытаний являются окончательными.
6.7 Крышки, изготовляемые для заказчика, подлежат приемке его представителем.
6.8 Крышку считают принятой после нанесения клейма отдела технического контроля предприятия-изготовителя или заказчика и оформления приемо-сдаточной документации.
7.1 Контроль размеров крышек (3.2) проводят при помощи измерительных инструментов, обеспечивающих требуемую точность, и сличением результатов со значениями, указанными в конструкторской документации.
7.2 Контроль марок материалов изготовляемых деталей и комплектующих изделий крышек (4.2.6.1) проверяют по сертификатам предприятия-изготовителя или по заключению лаборатории.
7.3 Контроль внешнего вида (4.1, 4.2.4.1, 4.2.5.3, 4.2.6.2, 4.2.6.5, 4.2.6.6, 5.1, 5.2), комплектности (4.3), маркировки (4.4) крышек проводят внешним осмотром.
7.4 Контроль массы (3.2) проводят взвешиванием на весах среднего класса точности по ГОСТ 29329 с ценой деления не более 0,5 кг.
7.5 Допуск плоскостности уплотняющей поверхности комингса (4.2.6.3) проверяют по ГОСТ 24643 щупом, путем наложения комингса изделия на поверочную плиту по ГОСТ 10905 или наложением кромки линейки по ГОСТ 8026 на уплотняющую кромку комингса.
7.6 Качество нанесения защитных лакокрасочных покрытий и консервирующей смазки (4.2.6.6) проверяют внешним осмотром. Покрытия должны быть равномерными, сплошными.
7.7 Контроль усилия при открывании (задраивании) крышек (5.3 и 5.4) проводят пружинным динамометром ДПУ-0,1-2 1-го класса точности по ГОСТ 13837, прикрепляемым к ручке задрайки на расстоянии 40 мм от торца ручки.
7.8 Время задраивания (5.5) проверяют при помощи секундомера.
7.9 Равномерность прилегания уплотнительной прокладки к комингсу (4.2.6.4) проверяют по меловому отпечатку при плавном закрывании и задраивании крышки на глубину не более 1 мм. При этом крышка должна быть установлена в горизонтальное положение. Разрывы мелового отпечатка не допускаются.
7.10 Контроль водонепроницаемости проводят поливанием из брандспойта с выходным отверстием диаметром не менее 16 мм струей воды высотой не менее 10 м, направленной перпендикулярно к полотну, с расстояния не более 3 м.
Крышка считается водонепроницаемой, если во время испытаний на ее контрольной поверхности не будет наблюдаться течи в виде струй, потеков или капель.
8.1 Транспортирование крышек может осуществляться железнодорожным транспортом в крытых вагонах при соблюдении условий хранения 5 (ОЖ4) по ГОСТ 15150 или открытым подвижным составом при соблюдении условий хранения 8 (ОЖ3) по ГОСТ 15150.
Транспортирование крышек в контейнерах или пакетами с размерами 1240´840´1350 мм и более осуществляется открытым подвижным составом.
Вид отправки (мелкий или повагонный) устанавливает предприятие-изготовитель крышек в зависимости от объема отправляемой партии.
При повагонных отправках крышек должно быть обеспечено максимальное использование грузоподъемности и грузовместимости транспортных средств.
8.2 Транспортирование стекол иллюминаторов крышек световых люков осуществляют в ящичной упаковке железнодорожными вагонами.
Размещение и крепление ящиков со стеклами в вагонах должно соответствовать требованиям «Технических условий погрузки и крепления грузов», утвержденных в установленном порядке.
8.3 Допускается транспортирование крышек и стекол иллюминаторов автомобильным или водным транспортами в соответствии с «Правилами перевозок грузов», действующими для данного вида транспорта при соблюдении условий хранения 5 (ОЖ4) или 8 (ОЖ3) по ГОСТ 15150.
8.4 Крышки следует хранить у изготовителя (потребителя) в вертикальном положении (на ребро) в закрытом, но не задраенном состоянии при условии хранения 2 (С) по ГОСТ 15150.
9.1 Монтаж крышек световых люков на судне должен проводиться согласно нормативному документу.
Рекомендуемые размеры вырезов в корпусе судна и узлы крепления крышек к палубе приведены в приложениях Б и В.
9.2 Техническое обслуживание крышек в период эксплуатации осуществляется согласно нормативному документу.
9.3 Ремонт крышек необходимо выполнять по техническим условиям на ремонт, утвержденным в установленном порядке.
10.1 Изготовитель гарантирует соответствие крышек требованиям настоящего стандарта при соблюдении условий транспортирования, хранения и эксплуатации, установленных стандартом.
10.2 Гарантийный срок эксплуатации крышек - 14 мес. со дня подписания приемочного акта на судно. Для крышек, поставляемых для заказчика, - 5 лет с момента подписания приемочного акта на заказ. При этом гарантийный срок эксплуатации крышек должен быть не менее гарантийного срока эксплуатации корабля (судна) после его постройки и подписания приемочного акта или приемосдаточного акта на его переоборудование или ремонт.
Гарантийный срок эксплуатации крышек, поставляемых на экспорт, - 24 мес. с момента проследования их через границу государства-изготовителя.
(справочное)
Таблица А.1
|
Тип крышки |
Стопорное устройство |
Размеры в свету, толщина полотна, мм |
Обозначение |
|
А |
Привод |
600´600´3 |
РИДФ.364132.009-04 |
|
600´600´6 |
РИДФ.364132.009-05 |
||
|
Стопор |
600´600´3 |
РИДФ.364132.009-06 |
|
|
600´600´6 |
РИДФ.364132.009-07 |
||
|
600´900´3 |
РИДФ.364132.010-03 |
||
|
900´900´3 |
РИДФ.364132.011-03 |
||
|
900´1200´3 |
РИДФ.364132.012-07 |
||
|
Б |
600´600´3 |
РИДФ.364131.001 |
|
|
600´600´6 |
РИДФ.364131.001-01 |
(обязательное)

Рисунок Б.1
Таблица Б.1
|
Тип крышки |
Размеры в свету, L´B, мм |
Размеры выреза в корпусе, мм |
||
|
l |
b |
R |
||
|
А |
600´600 |
600 |
600 |
100 |
|
600´900 |
900 |
|||
|
900´900 |
900 |
|||
|
900´1200 |
1200 |
|||
|
Б |
600´600 |
635 |
635 |
168 |
(обязательное)

Рисунок В.1 - Для крышек типа А

Рисунок В.2 - Для крышек типа Б
Ключевые слова: крышка, полотно, комингс, уплотнительная прокладка, иллюминатор, стекло иллюминатора, световой люк