
ГОСУДАРСТВЕННЫЙ СТАНДАРТ СОЮЗА ССР
ВИНТЫ ГРЕБНЫЕ
ТЕРМИНЫ И ОПРЕДЕЛЕНИЯ
ГОСТ 25815-83
(СТ СЭВ 3042-81)
ГОСУДАРСТВЕННЫЙ КОМИТЕТ СССР ПО СТАНДАРТАМ
Москва
ГОСУДАРСТВЕННЫЙ СТАНДАРТ СОЮЗА ССР
|
ВИНТЫ ГРЕБНЫЕ Термины и определения Propellers. Terms and definitions |
ГОСТ (СТ СЭВ 3042-81) |
Постановлением Государственного комитета СССР по стандартам от 30 мая 1983 г. № 2433 срок введения установлен
с 01.01.84
Настоящий стандарт устанавливает применяемые в науке, технике и производстве термины и определения понятий гребных винтов.
Термины, установленные стандартом, обязательны для применения в документации всех видов, научно-технической, учебной и справочной литературе.
Стандарт полностью соответствует СТ СЭВ 3042-81.
Для каждого понятия установлен один стандартизованный термин. Применение терминов-синонимов стандартизованного термина запрещается.
В случаях, когда необходимые и достаточные признаки понятия содержатся в буквальном значении термина, определение не приведено, и, соответственно, в графе «Определение» поставлен прочерк.
В стандарте приведен алфавитный указатель содержащихся в нем терминов.
|
Чертеж |
Позиция |
Определение |
|
ОСНОВНЫЕ ВИДЫ ГРЕБНЫХ ВИНТОВ |
|||
|
1. Гребной винт |
- |
- |
Судовой движитель, состоящий из двух или более лопастей, расположенных на ступице гребного винта радиально Примечание. Ось вращения гребного винта совпадает с направлением создаваемого упора |
|
2. Гребной винт фиксированного шага |
- |
- |
Гребной винт, лопасти которого неподвижно закреплены на ступице |
|
3. Цельнолитой гребной винт |
- |
- |
Гребной винт фиксированного шага, изготовленный без применения сборочных операций |
|
4. Сварной гребной винт |
- |
- |
Гребной винт фиксированного шага, изготовленный с применением сварочных операций |
|
5. Гребной винт со съемными лопастями |
- |
- |
Гребной винт фиксированного шага, у которого лопасти прикреплены к ступице гребного винта разъемным способом |
|
6. Гребной винт регулируемого шага |
- |
- |
Гребной винт с плавной или ступенчатой регулировкой шага во время его работы |
|
7. Гребной винт правого вращения |
- |
- |
Гребной винт, вращающийся по часовой стрелке, если смотреть на него в направлении перемещения судна, вызванного вращением гребного винта |
|
8. Гребной винт левого вращения |
- |
- |
Гребной винт, вращающийся против часовой стрелки, если смотреть на него в направлении перемещения судна, вызванного вращением гребного винта |
ЭЛЕМЕНТЫ И РАЗМЕРЫ ГРЕБНЫХ ВИНТОВ |
|||
|
9. Лопасть |
- |
||
|
10. Концевая кромка лопасти |
- |
||
|
11. Корневая часть лопасти |
- |
||
|
12. Галтель перехода лопасти к ступице |
- |
||
|
13. Входящая кромка |
- |
||
|
14. Выходящая кромка |
- |
||
|
15. Откидка лопасти |
- |
||
|
16. Угол откидки лопасти |
- |
||
|
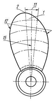
17. Габарит лопасти |
- |
||
|
18. Превышение наибольшей ширины габарита лопасти за ступицу |
- |
||
|
19. Смещение осевой линии лопасти |
- |
||
|
20. Проектированный контур лопасти |
- |
||
|
21. Спрямленная поверхность лопасти |
- |
||
|
22. Спрямленный контур лопасти |
- |
||
|
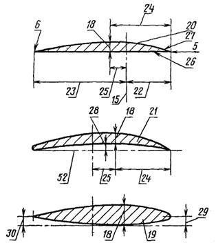
23. Осевая линия лопасти |
- |
||
|
24. Линия наибольших толщин |
- |
||
|
25. Сечение по линии наибольших толщин |
- |
||
|
26. Наибольшая толщина сечения |
- |
||
|
27. Двояковыпуклое сечение лопасти |
- |
||
|
28. Плоско-выпуклое сечение лопасти |
- |
||
|
29. Выпукло-вогнутое сечение лопасти |
- |
||
|
30. Расстояние от осевой линии лопасти до входящей кромки |
- |
||
|
31. Расстояние от осевой линии лопасти до выходящей кромки |
- |
||
|
32. Расстояние от линии наибольших толщин до входящей кромки |
- |
||
|
33. Расстояние от осевой линии лопасти до линии наибольших толщин |
- |
||
|
34. Нагнетательная сторона сечения лопасти |
- |
||
|
35. Засасывающая сторона сечения лопасти |
- |
||
|
36. Расстояние от наружной хорды до нагнетательной стороны сечения лопасти |
- |
||
|
37. Подъем входящей кромки |
- |
||
|
38. Подъем выходящей кромки |
- |
||
|
39. Скругленная входящая кромка |
- |
||
|
40. Заостренная входящая кромка |
- |
||
|
41. Плоскость винта |
- |
||
|
42. Радиус галтели |
- |
||
|
43. Заостренная выходящая кромка |
- |
||
|
44. Ступица |
- |
||
|
45. Диаметр носового торца ступицы |
- |
||
|
46. Диаметр кормового торца ступицы |
- |
||
|
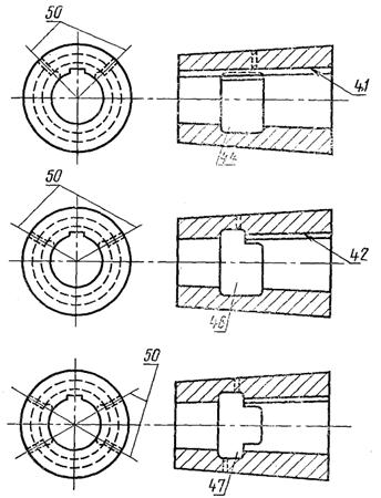
47. Конусное бесшпоночное отверстие ступицы |
- |
||
|
48. Прерванный шпоночный паз |
- |
||
|
49. Шпоночный паз по всей длине ступицы |
- |
||
|
50. Укороченный шпоночный паз |
- |
||
|
51. Центральная кольцевая проточка ступицы |
- |
||
|
52. Сегментная проточка ступицы |
- |
||
|
53. Две сегментные проточки ступицы |
- |
||
|
54. Сегментно-кольцевая проточка ступицы |
- |
||
|
55. Две сегментно-кольцевые проточки ступицы |
- |
||
|
56. Проточка для противотросового кожуха |
- |
||
|
57. Расточка под уплотнение гребного вала |
- |
||
|
58. Отверстие для подвода масла и воздуха |
- |
||
|
59. Проточка под обтекатель |
- |
||
|
60. Наружная хорда |
- |
||
|
61. Осевая линия профиля |
- |
||
|
Винт гребной 1 Винт гребной левого вращения 8 Винт гребной правого вращения 7 Винт гребной регулируемого шага 6 Винт гребной сварной 4 Винт гребной со съемными лопастями 5 Винт гребной фиксированного шага 2 Винт гребной цельнолитой 3 Габарит лопасти 17 Галтель перехода лопасти к ступице 12 Диаметр кормового торца ступицы 46 Диаметр носового торца ступицы 45 Контур лопасти проектированный 20 Контур лопасти спрямленный 22 Кромка входящая 13 Кромка входящая заостренная 40 Кромка входящая скругленная 39 Кромка выходящая 4 Кромка выходящая заостренная 43 Кромка лопасти концевая 10 Линия лопасти осевая 23 Линия наибольших толщин 24 Линия профиля осевая 61 Лопасть 9 Отверстие для подвода масла и воздуха 58 Отверстие ступицы бесшпоночное конусное 47 Откидка лопасти 15 Паз шпоночный по всей длине ступицы 49 Паз шпоночный прерванный 48 Паз шпоночный укороченный 50 Плоскость винта 41 Поверхность лопасти спрямленная 21 Подъем входящей кромки 37 Подъем выходящей кромки 38 Превышение наибольшей ширины габарита лопасти за ступицу 18 Проточка для противотросового кожуха 56 Проточка под обтекатель 59 Проточка ступицы кольцевая центральная 51 Проточка ступицы сегментная 52 Проточка ступицы сегментно-кольцевая 54 Проточки ступицы сегментные две 53 Проточки ступицы сегментно-кольцевые две 55 Радиус галтели 42 Расстояние от линии наибольших толщин до входящей кромки 32 Расстояние от наружной хорды до нагнетательной стороны сечения лопасти 36 Расстояние от осевой линии лопасти до входящей кромки 30 Расстояние от осевой линии лопасти до выходящей кромки 31 Расстояние от осевой линии лопасти до линии наибольших толщин 33 Расточка под уплотнение гребного вала 57 Сечение лопасти выпукло-вогнутое 29 Сечение лопасти двояковыпуклое 27 Сечение лопасти плоско-выпуклое 28 Сечение по линии наибольших толщин 25 Смещение осевой линии лопасти 19 Сторона сечения лопасти засасывающая 35 Сторона сечения лопасти нагнетательная 34 Ступица 44 Толщина сечения наибольшая 26 Угол откидки лопасти 16 Хорда наружная 60 Часть лопасти корневая 11 |
Сечения лопасти
Типы кромок лопасти
Типы ступиц гребных винтов
СОДЕРЖАНИЕ