
ГОСУДАРСТВЕННЫЙ СТАНДАРТ
СОЮЗА ССР
МНЕМОСХЕМЫ АВИАЦИОННЫЕ
ОБЩИЕ ЭРГОНОМИЧЕСКИЕ ТРЕБОВАНИЯ
ГОСТ 28392-89
ГОСУДАРСТВЕННЫЙ
КОМИТЕТ СССР ПО УПРАВЛЕНИЮ
КАЧЕСТВОМ ПРОДУКЦИИ И СТАНДАРТАМ
Москва
ГОСУДАРСТВЕННЫЙ СТАНДАРТ СОЮЗА ССР
|
МНЕМОСХЕМЫ АВИАЦИОННЫЕ Общие эргономические требования Aircraft mnemo-schemes. |
ГОСТ |
Дата введения 01.01.91
Настоящий стандарт распространяется на неэкранные и экранные мнемосхемы, размещаемые на рабочих местах членов экипажа самолетов (вертолетов) для контроля работы и управления функциональными системами, и устанавливает эргономические требования к ним.
Термины, применяемые в стандарте, и их пояснения приведены в приложении 1.
1.1. Общие требования
1.1.1. Мнемосхема должна наглядно отображать состояние и деление системы на части (подсистемы, каналы) или объекты (агрегаты), управляемые членом экипажа, указывать последовательность их использования, сигнализировать состояние (положение) основных объектов (агрегатов) и все существенные нарушения в работе контролируемой системы.
1.1.2. Мнемосхема должна представлять органическое сочетание минимального числа элементов, т.е. только тех средств отображения информации, органов управления, мнемознаков и соединительных линий, относящихся к одной функциональной системе, размещаемых на одной панели или щитке управления либо их изображений на экране индикатора, которые необходимы экипажу в процессе контроля и управления системой как при нормальной ее работе, так и в случае отказов.
1.1.3. Для упрощения контроля и управления работой систем должны использоваться мнемосхемы информационно-управляющие.
1.1.4. В пространственных или пространственно-временных мнемосхемах «вид сверху (снизу)» или «вид сзади», должно строго выдерживаться пространственное соответствие относительно продольной плоскости симметрии самолета (вертолета) (далее по тексту - самолета).
Выдерживание пространственного соответствия между размещением элементов мнемосхем и расположением агрегатов в реальной системе в продольном направлении не является обязательным.
1.1.5. Для контроля и управления системами, в которых происходит расход рабочего вещества, используют пространственно-временные мнемосхемы.
1.1.6. При построении мнемосхем должен выбираться тот их вид (сверху, снизу, сзади, сбоку), который обеспечивает членам экипажа наиболее быстрое и точное выполнение операций контроля и управления. При необходимости на мнемосхеме наносят символ самолета.
1.1.7. Число каналов, используемых в мнемосхемах, должно соответствовать числу каналов реальной системы.
1.1.8. Одинаковые средства управления и контроля, входящие в мнемосхему системы с несколькими одинаковыми по составу и назначению каналами, представляют на мнемосхеме идентично как по виду, так и по расположению. При этом все средства отображения информации и средства управления (или их изображения на экране), относящиеся к одному каналу, размещают на одной вертикали, а одинаковые средства должны размещаться на общих горизонталях.
1.1.9. При одновременном использовании на самолете для контроля и управления какой-либо системы экранной и неэкранной мнемосхем они должны быть согласованы между собой: должны иметь аналогичные структурные схемы построения и взаимное положение элементов, аналогичные направления движения рабочего вещества и основные соединительные линии магистралей.
1.1.10. При компоновке элементов мнемосхемы исходными должны являться требования мнемоники, а также привычные ассоциации и стереотипы действий членов экипажа.
1.1.11. Элементы и группы элементов мнемосхемы, которые наиболее существенны для контроля и управления системы - используются при отказах системы или в аварийной ситуации - необходимо выделять расположением, размерами, формой, цветом или другим способом.
Части системы, имеющие автономное управление или используемые для дополнительного контроля системы, должны быть обособлены на мнемосхеме (например, размещены в нижней части мнемосхемы или сбоку).
1.1.12. Входящие в мнемосхему системы средства отображения информации и управления (или изображения элементов системы на экране) должны компоноваться таким образом, чтобы направление движения рабочего вещества (агента) у всех мнемосхем было одинаковым; при этом направление движения рабочего вещества у всех мнемосхем должно быть снизу вверх (кроме топливной системы, для которой допускается также направление движения сверху вниз). Совпадение движения рабочего вещества в реальной системе и на мнемосхеме не обязательно.
1.1.13. Направление движения рабочего вещества указывают стрелками или другими способами.
1.1.14. На мнемосхеме должны быть указаны соединительные линии, необходимые для надежного управления системой, упрощенно воспроизводящие связи, существующие между объектами системы. При необходимости функциональное состояние магистрали (например, трубопроводы - при наличии или отсутствии давления, шины - под током или в обесточенном состоянии) выделяется соединительными линиями, изменяющими свой вид (наличие подсвета, цвет и т.п.).
Для многоцветных экранных мнемосхем соединительные линии должны изменять свой цвет в зависимости от функционального состояния магистрали.
1.1.15. Соединительные линии, обозначающие трубопроводы и электрические связи, на мнемосхеме должны быть сплошными, одинарными или двойными и должны иметь простую конфигурацию; линии должны быть возможно короче и иметь наименьшее количество пересечений.
Соединительные линии мнемосхем не должны иметь разрывов (за исключением пересечений линий и мест пересечений с органами управления, индикаторами и сигнализаторами).
1.1.16. Если в мнемосхеме предусматривается использование мнемознаков, то число их в одной мнемосхеме должно быть минимально необходимым и они должны иметь характерные отличительные признаки того элемента системы, который они представляют на мнемосхеме.
1.1.17. Мнемознаки сходных по функциям объектов и элементов одной системы должны быть максимально унифицированы.
Мнемознаки одинакового назначения (например, «открыто - закрыто», «работает - не работает», насосы, краны), используемые в мнемосхемах разных систем, должны иметь одинаковый вид и начертание.
Мнемознаки или средства управления агрегатов, имеющие аналогичное назначение и относящиеся к одному каналу (магистрали), должны располагаться симметрично по обе стороны соединительной линии.
1.1.18. Используемые в мнемосхемах стрелки, надписи и соединительные линии не должны пересекать контур мнемознака или каким-либо другим образом затруднять его восприятие.
1.1.19. Размеры мнемознаков (диаметр окружности, сторона квадрата, ромба или треугольника) должны быть в пределах от 4 до 7 мм.
1.1.20. В верхней части панели или экрана, на которых представляется мнемосхема, при необходимости, указывается полное или сокращенное наименование системы, к которой она относится.
1.1.21. Если на одной панели или экране представлены мнемосхемы разных систем, то между ними в случае необходимости проводят разделительные линии.
1.1.22. На мнемосхеме должно предусматриваться минимальное число лаконичных надписей и цифр, поясняющих назначение или принадлежность средств отображения информации и управления (или их изображений).
1.1.23. Индексация двигателей и других агрегатов (каналов) системы на мнемосхемах «вид сверху» или «вид сзади» должна производиться слева направо при любом положении рабочего места члена экипажа относительно этих агрегатов (системы) на самолете.
1.1.24. Сигналы состояния объекта («работает - не работает», «открыто - закрыто») должны различаться особенно четко цветом, формой или другими признаками.
1.2. Требования к неэкранным мнемосхемам
1.2.1. Состав средств отображения информации и средств управления, используемых в неэкранных мнемосхемах, должен выбираться в зависимости от того, применяется данная мнемосхема совместно с экранной или она является единственной для контроля и управления системой.
1.2.2. Неэкранные мнемосхемы, устанавливаемые на рабочих местах экипажа наряду с экранными и используемые совместно с ними, должны состоять в основном из органов управления и соединительных линий и могут включать светосигнальные и индикационные устройства.
Эти мнемосхемы должны обеспечивать возможность управления работой систем как в случае нормальной работы экранных индикаторов, так и в случае их отказа.
1.2.3. В мнемосхемах предпочтительнее использовать вместо рычажных кнопочные переключатели со световой сигнализацией.
Целесообразно нанесение мнемознаков на органы управления.
1.2.4. Надписи, индикаторы и сигнализаторы на пультах управления располагают таким образом, чтобы они не закрывались рукой члена экипажа при работе с соответствующими органами управления.
1.2.5. Толщина соединительных линий на мнемосхемах должна быть не менее:
одинарных ... 2 мм,
двойных ... 1 мм при расстоянии между линиями не менее 2 мм.
Соединительные линии должны наноситься матовой краской, быть контрастными фону панели и должны быть различимы в ночных условиях. Они должны быть значительно толще линии контура символа самолета.
1.2.6. Разделительные линии между мнемосхемами должны наноситься белой матовой краской толщиной не менее 2 мм.
1.2.7. Надписи и знаки на панели мнемосхемы должны наноситься белой матовой краской (с коэффициентом отражения не менее 0,7) и должны быть видны в ночных условиях.
1.2.8. Размеры панели, на которой должна размещаться мнемосхема, должны соответствовать размерам корпусов пультов по НТД.
1.2.9. Поверхности панели мнемосхемы, находящиеся в поле зрения членов экипажа, должны быть матовыми и иметь цвет, соответствующий цвету приборной доски или панели, на которой она установлена.
Коэффициент отражения окрашенных поверхностей должен быть не более 0,2.
1.3. Требования к экранным мнемосхемам приведены в приложении 2.
1.4. Примеры выполнения неэкранных и экранных мнемосхем приведены в приложении 3.
2.1. При компоновке мнемосхем на рабочих местах членов экипажа не должно нарушаться мнемоническое соответствие между размещением средств контроля и управления на мнемосхеме и их размещением или последовательностью использования в реальной системе на самолете. При этом размещении мнемосхем на рабочих местах членов экипажа должно использоваться правило «параллельного переноса», заключающееся в том, что ориентация мнемосхемы относительно члена экипажа должна сохраняться неизменной независимо от ее местоположения на рабочем месте - без поворота относительно оси, перпендикулярной плоскости мнемосхемы.
2.2. Мнемосхемы «вид сверху», располагающиеся на горизонтальных и наклонных панелях бортовых пультов и центральном пульте кабины должны размещаться так, чтобы передняя (верхняя) часть мнемосхемы была направлена вперед по полету, а располагающиеся на потолочной панели - передней частью назад - против направления полета.
При установке этих мнемосхем на приборных досках и вертикальных пультах, включая и приборные доски и пульты членов экипажа, располагающихся боком к направлению полета, верхняя (передняя) часть мнемосхемы должна находиться вверху.
Экранные мнемосхемы этого типа должны размещаться на экране индикатора передней частью вверх.
2.3. Мнемосхемы «вид сзади» должны размещаться вертикально на приборных досках и вертикальных панелях бортовых пультов, а также экранах и верхней частью вперед по полету - на горизонтальных панелях пультов.
2.4. Мнемосхемы «вид сбоку» должны размещаться на бортовых пультах и быть ориентированы по полету.
2.5. Мнемосхемы, устанавливаемые в общих зонах рабочей области обоих летчиков или нескольких членов экипажа, должны размещаться таким образом, чтобы сохранялось мнемоническое подобие для каждого члена экипажа.
Справочное
|
Термин |
Пояснение |
|
Авиационная мнемоническая схема |
По ГОСТ 22686 |
|
Мнемосхема |
|
|
Информационная мнемосхема |
Мнемосхема, состоящая только из средств отображения информации (индикаторов и сигнализаторов) или индицируемая на экранном индикаторе |
|
Управляющая мнемосхема |
Мнемосхема, включающая в свой состав только органы управления |
|
Информационно-управляющая мнемосхема |
Мнемосхема, состоящая из средств отображения информации и органов управления или обеспечивающая на одном экране контроль и управление системой |
|
Пространственная мнемосхема |
Мнемосхема, построенная по принципу пространственного соответствия между расположением управляемых объектов на самолете в реальной системе и положением средств отображения информации и органов управления на мнемосхеме или их изображением на экране |
|
Временная мнемосхема |
Мнемосхема, обеспечивающая временное соответствие между процессом движения (протекания) рабочего вещества (агента) в реальной функциональной системе и его отображением на мнемосхеме |
|
Пространственно-временная мнемосхема |
Мнемосхема, при построении которой использованы принципы пространственного и временного соответствия |
|
Мнемосхема «вид на самолет сверху (снизу)» |
Мнемосхема, представляющая собой изображение системы для наблюдателя, смотрящего на самолет сверху или снизу |
|
Мнемосхема «вид сверху (снизу)» |
|
|
Мнемосхема «вид на самолет сзади» |
Мнемосхема, представляющая собой изображение системы для наблюдателя, смотрящего на самолет сзади |
|
Мнемосхема «вид сзади» |
|
|
Мнемосхема «вид на самолет слева (справа)» |
Мнемосхема, представляющая собой изображение системы для наблюдателя, смотрящего на самолет слева или справа |
|
Мнемосхема «вид слева (справа)» |
|
|
Одноканальная мнемосхема |
Мнемосхема, все средства контроля и управления которой образуют один канал |
|
Многоканальная (двух, трех, четырехканальная) мнемосхема |
Мнемосхема, содержащая два, три или четыре параллельно работающих канала, в каждом из которых содержится одинаковое или разное количество средств контроля и управления |
|
Неэкранная мнемосхема |
Мнемосхема, включающая в свой состав механические и электромеханические средства отображения информации и средства управления, а также графические элементы в виде соединительных линий, нанесенных на поверхности пульта |
|
Экранная мнемосхема |
Мнемосхема, индицируемая на экране индикатора любого принципа действия |
|
Смешанная мнемосхема |
Мнемосхема, включающая как электромеханические, так и электронные элементы (например, соединительные линии, выполненные с помощью светодиодов или электролюминесцентных элементов |
|
Привычные ассоциации |
По ГОСТ 21480 |
Рекомендуемое
ТРЕБОВАНИЯ К ЭКРАННЫМ МНЕМОСХЕМАМ
1. Рекомендуется, чтобы все мнемосхемы, представляемые на одном или нескольких экранных индикаторах данного самолета, имели единый внешний вид (конфигурацию), например, «вид сверху».
2. Органы управления, а также другие элементы систем должны индицироваться на экранных индикаторах в виде мнемознаков, близких им по конфигурации.
Следует использовать следующие мнемознаки:
- для кранов (кольцевания, противопожарного)
- для насосов (подкачки, перекачки), насосных станций
- для вентиляторов
- для баков (топливных, гидросистемы)
- для элементов систем
- для выпрямителей
- для генераторов переменного тока
3. В экранных мнемосхемах (на лицевой части экранов) рекомендуется использовать сенсорные переключатели; при этом должны быть предусмотрены меры, исключающие возможность их непроизвольного включения.
4. Индикацию запаса рабочего вещества (агента) или его параметров рекомендуется осуществлять с помощью цифровых счетчиков. Одновременно должен индицироваться приближенно и уровень вещества в баках.
5. Цветовое кодирование элементов экранных мнемосхем должно выполняться в следующих цветах: красном, желтом, зеленом, голубом (синем) и белом.
При нормальной работе системы и исправности всех ее элементов цвет представленных на экране элементов мнемосхемы должен быть зеленым. Для привлечения внимания члена экипажа к отказавшим элементам системы необходимо изменять цвет или яркость или вводить мерцание соответствующих элементов (мнемознаков) на мнемосхеме.
6. Сигнальную информацию (например, команды управления), а также рекомендации по действиям экипажа, которые могут воспроизводиться наряду с мнемосхемой, рекомендуется выдавать в верхней части экрана.
7. Следует изменять цвет элементов мнемосхемы на экране, с течением времени утративших свое значение для экипажа (например, соединительные линии магистралей, идущих от полностью выработанных топливных баков, должны быть белыми).
8. Рекомендуется, чтобы мнемосхема занимала всю площадь экрана индикатора. Количество надписей на мнемосхеме должно быть минимальным.
9. Индикационные элементы (стрелки, счетчики, индексы, шкалы, буквы, цифры и т.п., используемые в мнемосхемах, должны выполняться в соответствии с требованиями ГОСТ 27626.
10. Яркость и равномерность яркости элементов мнемосхемы должны соответствовать ГОСТ 27626.
11. Дополнительная информация, выдаваемая на экране, не должна затруднять контроль работы системы по мнемосхеме.
Справочное
ПРИМЕРЫ ВЫПОЛНЕНИЯ НЕЭКРАННЫХ И ЭКРАННЫХ МНЕМОСХЕМ
1. Пример выполнения неэкранной мнемосхемы топливной системы приведен на черт. 1.
1 - края кольцевания; 2 - кнопочный переключатель управления противопожарным краном; 3 - кран аварийного питания при отказе автомата; 4 - кнопочный переключатель для включения насоса; 5 - кнопочные переключатели управления подачей нейтрального газа; 6 - соединительная линия; 7 - кнопочный переключатель открытия струйного насоса 0-й очереди
Черт. 1
2. Пример выполнения неэкранной мнемосхемы системы кондиционирования воздуха приведен на черт. 2.
1 - кнопочные переключатели для ручного регулирования температуры воздуха в кабине и салонах; 2 - кнопочные переключатели для ручного регулирования температуры на выходе из турбохолодильной установки; 3 - кнопочный переключатель управления заслонкой турбохолодильной установки; 4 - кнопочный переключатель со светосигнальным полем для управления отбором воздуха от двигателя; 5 - кнопочный переключатель управления краном кольцевания; 6 - кнопочный переключатель со светосигнальным полем для включения автомата управления подачей воздуха и сигнализации; 7 - кнопочный переключатель со светосигнальным полем
Черт. 2
3. Пример выполнения экранной мнемосхемы системы кондиционирования воздуха приведен на черт. 3.
1 - счетчик; 2 - отметки шкалы указателя расхода воздуха; 3 - указатель расхода воздуха; 4 - коллектор; 5 - система кондиционирования воздуха; 6 - магистрали отбора воздуха от двигателя; 7 - двигатель 1; 8 - кран кольцевания; 9 - вспомогательная силовая установка; 10 - вентилятор; 11 - контур кабины; +15, +20, +40, +41, +42, +43 - значения температуры в коллекторе, трубопроводах, салонах; 0, 2, 4 - оцифровка шкалы указателя расхода воздуха
Черт. 3
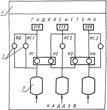
4. Пример выполнения экранной мнемосхемы гидросистемы приведен на черт. 4.
1 - часть экрана для индикации сигнальной информации; 2 - насосы; 3 - баки с гидрожидкостью; ВД - ветродвигатель; НС1, НС2, НС3 - насосные станции; H1, Н2, Н3, Н4 - основные насосы от двигателя; 210, 215, 209 - значения давления в гидросистеме
Черт. 4
ИНФОРМАЦИОННЫЕ ДАННЫЕ
1. РАЗРАБОТАН И ВНЕСЕН Министерством авиационной промышленности
РАЗРАБОТЧИКИ
М.И. Юровицкий, канд. техн. наук (руководитель темы); Р.Н. Юдакова; М.И. Исаев; В.И. Константинов; Г.А. Жегалина, А.М. Самохин
2. УТВЕРЖДЕН И ВВЕДЕН В ДЕЙСТВИЕ Постановлением Государственного комитета СССР по управлению качеством продукции и стандартам от 21.12.89 № 3924
3. Срок первой проверки - 1994 г.;
периодичность проверки - 5 лет
4. ВВЕДЕН ВПЕРВЫЕ
5. ССЫЛОЧНЫЕ НОРМАТИВНО-ТЕХНИЧЕСКИЕ ДОКУМЕНТЫ
|
Обозначение НТД, на который дана ссылка |
Номер пункта, приложения |
|
приложение 1 |
|
|
приложение 1 |
|
|
приложение 2 |
СОДЕРЖАНИЕ